HALCYON EX383 UPS Underwater LED Spot Instruction Manual
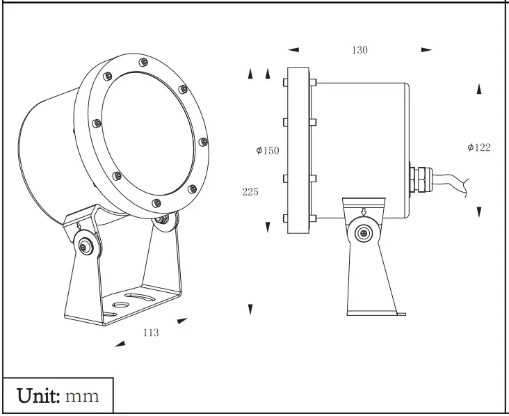
OUTLINE DIMENSION

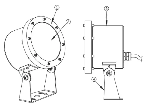
BOM

- Front ring
- Reflector
- Housing
- Bracke
FEATURES
- Applicable environment temperature: -20°C… +40°C
- Do not install in depths greater than 1m
- Do not install above water line, operation above water will cause overheating and failure.
- Input voltage 24VDC. When installing the product please check the data label on the product and cable. Total demand of power is according to total power consumption +total power of cable impedance consumption. All installation work must be carried out by a registered electrician.
- 316 Stainless Steel, do not install this product in saltwater or in the environment which is high salt or high acid.
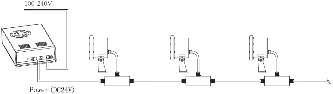
WIRING DIAGRAM
Low voltage single colour fitting: use external power supply, the input voltage of power supply must be consistent with the requested input voltage of the fitting, as the fitting is constant voltage input type. The power consumption of power supply must be decided by installer according to the requirements from the site.

24VDC: Circuit of product

SPECIFICATIONS
Material specification.
Housing: Molding shaped stainless steel 316L#
Front cover: Molding shaped stainless steel 316#
Reflector: Optical lens, efficiency≥85%
PCB: Excellent heat conductivity aluminum.coefficient of heat Conductivity≥2.0w/mk
PMMA: 8mm
Gasket: Silicone Gasket
Driver: Constant current output Single color LED=1-circuit output
Electrical parameters
| Item No. | Light source | Reflector | Degree (°) | Input Voltage | Typical operating current (mA) | Typical Consumption (w) | Typical luminance (lm) |
| EX383 UPS | 1×20W | R19 | 22 | 24VDC | 1000 | 24 | 1478 |

















