AKASA AK-LC4003HP01 SOHO Liquid CPU Cooler

Contents
Intel

AMD


Fan & Radiator
SOHO 240

SOHO 360

Intel Mounting
The Intel® bracket is universal for LGA2066 / 2011 / 1700 / 1200 / 1150 / 1151 / 1155 / 1156.
Hole Position
- LGA2066 / 2011 (80×80 mm)
- LGA1700 (78×78 mm)
- LGA1200 / 115X (75×75 mm)

LGA2066/2011

LGA1700 / 1200 / 115X

AMD AM4 Mounting

AM4

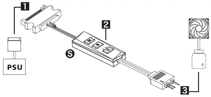
Connector Types
- Pump 3-pin connector
- Fan 4-pin connector
- RGB connector

Fan Splitter Cable
SOHO 240

SOHO 360

Addressable RGB LED Splitter Cable

Manual Addressable RGB Controller

- SATA power connector
- Button
- M Switch between modes
- S Control brightness and speed
(In Constant Mode (single colour) used to adjust brightness. Whereas Dynamic Mode is used to control the speed). - C Toggle colour
- Addressable RGB connector
WARNING
Improper installation will result in damage to the processor. Never switch on the computer system until the fan is connected to the motherboard power connector.
Caution
Electrostatic discharge (ESD) can damage system components. Use an ESD-controlled workstation. If such a workstation is not available, wear an antistatic wrist strap or touch an earthed surface before handling any PC components.




















