
Power10 Elliptical Rower
Instruction Manual
ASSEMBLY & USE INSTRUCTIONS
Power10 Elliptical Rower
FASTER, BETTER RESULTS WITH TEETER SUPPORT & COACHING
![]() | ASSEMBLE FASTER The free BILT app puts easy 3-D instructions at your fingertips. Search ‘Teeter Power10’ in BILT to get started. | Find BILT in App Storehttp://onelink.to/6kbg3g |
![]() | REACH YOUR GOALS Access on-demand, trainer-led programs with the free Teeter Move ™ app for fun, challenging and effective workouts. | ![]() Find Teeter Move™ in your App Store http://MOBIBRIX.COM/QQC7NS |
![]() | GET SUPPORT Easily access support through the Video Portal to get the most from your Power10. | Go to teeter.com/videos http://MOBIBRIX.COM/BMZ38T |
NEED HELP? CONTACT US.
Phone: 800-847-0143
Email: [email protected]
Live Chat: teeter.com
WELCOME TO THE TEETER FAMILY
Congratulations on your purchase of the Teeter Power10™
For the best experience, it is critical that you follow, read, and fully understand the Assembly & Use Instructions. The Power10 is a multiple-user, reusable device for home use, intended to provide a comfortable, free-motion strength training workout for adults.
We’ve Got Your Back!
If you have any questions concerning assembly or if any parts are missing,
DO NOT RETURN THE ITEM TO THE STORE OR CONTACT THE RETAILER.
Our dedicated product service experts can help! Contact Teeter Customer Service at 800-847-0143, or via online forms or Live Chat at teeter.com.
Trust Teeter for unmatched quality and performance, backed by our industry-leading warranty coverage. To register your product warranty, go to teeter.com/warranty.
BEFORE YOU BEGIN: Review all steps before beginning assembly and read all precautions before using the Teeter Power10™
Carefully adhere to the Assembly Instructions and User Guide to help ensure safety and product integrity.
IMPORTANT SAFETY INSTRUCTIONS
READ ALL INSTRUCTIONS BEFORE USING THE TEETER POWER10™
WARNING
! FAILURE TO FOLLOW INSTRUCTIONS AND WARNINGS COULD RESULT IN SERIOUS INJURY OR DEATH.
To reduce the risk of injury:
- Read and understand all the instructions, review all other accompanying documents, and inspect the equipment before use. It is your responsibility to familiarize yourself with the proper use of this equipment and the inherent risks of exercise equipment if these instructions are not followed, such as pinching, entrapment, equipment failure, or aggravating a pre-existing medical condition. It is the responsibility of the owner to ensure that all users of the product are fully informed about the proper use of the equipment and all safety precautions.
- ALWAYS consult with your doctor before beginning any exercise or weight-loss program, especially if you are over the age of 35 or have any known pre-existing medical problems. This may include injury or illness, but also the side effects of any drug or supplement (prescribed or over-the-counter) .
- The instructions and advice presented in this User Guide are in no way intended as a substitute for medical advice or counseling.
- DO NOT continue using the equipment if you feel pain, discomfort, shortness of breath, chest tightness, or become light-headed or dizzy while exercising. STOP and seek medical advice. Call 911 if you are having an emergency health condition.
- DO NOT use if you are over 300 lbs . (136 kg) . Structural failure and physical injury could occur.
- ALWAYS ensure that all adjustable features are accurately adjusted to the users’ body proportions and that all parts are fully tightened and secured before use. ALWAYS secure both feet to the Foot Platform with the Foot Straps when in use. ALWAYS hold the Handles when mounting or dismounting.
- DO NOT place hands or feet near linkages while in use. The linkages are flywheel driven and can cause serious injury, entrapment, or death. DO NOT allow pets or children to approach the linkage while it is moving.
- DO NOT place any objects within a 24” (61 cm) radius of the machine. Do not place any objects or body parts behind the pivot area Rear Linkage Assembly or Handles.
- ALWAYS reduce rowing speed in a controlled manner. Handles and Seats continue to move when you stop rowing.
- ALWAYS set the resistance level to the maximum while not in use to prevent unintentional movement of the equipment.
- DO NOT allow children to use this machine. Keep children, bystanders, and pets away from machines at all times, and DO NOT allow children to be left unattended in the same room as the equipment. The equipment is not intended for use by persons with reduced physical, sensory or mental capabilities unless they are given supervision and instruction concerning the use of the machine by a person responsible for their safety.
- ALWAYS wear appropriate clothing while exercising with the machine. DO NOT wear loose clothing that could get entangled in the equipment. ALWAYS wear athletic shoes to protect your feet while exercising with the machine.
- ALWAYS store indoors and on a level surface. This equipment is not intended for outdoor use.
- DO NOT use in any commercial, rental or institutional setting. This product is intended for home use only.
- ALWAYS use this equipment only for its intended use as described in this manual. DO NOT use attachments not recommended by the manufacturer.
- DO NOT drop or insert any object into any opening or place any sharp objects near the equipment. Keep body parts, hair, loose clothing, and jewelry clear of all moving parts.
- DO NOT operate equipment while under the influence of drugs, alcohol, or medication that may cause drowsiness or disorientation.
- ALWAYS inspect the equipment prior to use. Make sure all fasteners are secure and adjustable settings are secure.
- ALWAYS replace defective components immediately and/or keep the equipment out of use until repaired.
- ALWAYS position equipment on a level surface and away from water or ledges that could lead to accidental immersion or falls.
- ALWAYS use a damp cloth when cleaning. DO NOT use abrasive soaps or solvents to clean as this could cause damage to the machine.
- Refer to additional warning notices posted on the equipment. If a product label or User Guide should become lost, damaged, or illegible, contact Customer Service for a replacement.
SAVE THESE INSTRUCTIONS
ITEMS FOR ASSEMBLY
Items not shown to scale. Hardware drawings are located on the Hardware Kit insert.
| ITEM NO. | ITEM NAME |
| Base Assembly | |
| XR1101 XR1102 XR1101A HK1056 HK1057 HK1058 HK1061 HK1065 | Base with Upper Left Handle Rear Linkage Fork Joint Cover Step 1 Hardware Kit Step 2 Hardware Kit Step 3 Hardware Kit Step 6 Hardware Kit Step 10 Hardware Kit |
| Foot Platform Assembly | |
| XR1106 XR1106A HK1059 HK1060 | Foot Platform Foot Platform Joint Cover Step 4 Hardware Kit Step 5 Hardware Kit |
| Seat Assembly | |
| XR1105 HK1064 | Seat Step 9 Hardware Kit |
| Handle Assembly | |
| XR1104L XR1104R XR1103R HK1062 HK1063 HK1066 HK1067 | Lower Left Handle Lower Right Handle Upper Right Handle Step 7 Hardware Kit Step 8 Hardware Kit Step 11 Hardware Kit Step 12 Hardware Kit |
| Console Assembly | |
| XR1107 HK1068 | Console Step 13 Hardware Kit |
| Tools | |
| XR1129 EP1128A XR1130 XR1131 | 4mm Allen Wrench 6mm Allen Wrench 8mm Allen Wrench Phillips Head Screwdriver |
| Base with Upper Left Handle Use with Step 1, 6 & 10 Hardware Kits (HK1056 / HK1061 / HK1065) | ![]() |
| Rear Linkage Use with Step 2 Hardware Kit (HK1057) | ![]() |
| Foot Platform Use with Step 4 Hardware Kit (HK1059) | ![]() |
| Fork Joint Cover Use with Step 3 Hardware Kit (HK1058) | ![]() |
| Foot Platform Joint Cover Use with Step 5 Hardware Kit (HK1060) | ![]() |
| Lower Handles (left / right) Use with Step 7, 8 & 11 Hardware Kit (HK1062 / HK1063 / HK1066) | ![]() |
| Seat Use with Step 9 Hardware Kit (HK1064) | ![]() |
| Upper Right Handle Use with Step 12 Hardware Kit (HK1067) Items not shown to scale. | ![]() |
| Console Use with Step 13 Hardware Kit (HK1068) and Batteries | ![]() |
| Tools | ![]() |
UNDERSTANDING YOUR POWER10
Before reading further, study the drawing below to familiarize yourself with the important components of your Teeter Power10. 
Identifying Parts and Components
| 1 | Console |
| 2 | Console Support |
| 3 | Battery Compartment |
| 4 | Foot Platform |
| 5 | Foot Strap |
| 6 | Foot Platform Joint Cover |
| 7 | Base |
| 8 | Transport Wheel |
| 9 | Media Holder |
| 10 | Base Fork |
| 11 | Base Joint |
| 12 | Fork Joint Cover |
| 13 | Upper Handle |
| 14 | Lower Handle |
| 15 | Resistance Dial |
| 16 | Handle Support Bar |
| 17 | Cable |
| 18 | Seat |
| 19 | Seat Adjustment Knob |
| 20 | Rear Linkage |
| 21 | Leveling Foot |
| 22 | Handle Adjustment Knob |
| 23 | Rear Handle |
SAFETY WARNING LABELS & PRODUCT SPECIFICATIONS
IMPORTANT: Please review all labels and supporting materials before using your Power10.
This drawing indicates the locations of the warning labels found on your product. If a label is missing, illegible, or removed, contact Teeter Customer Service to request a complimentary replacement label. NOTE: The image and labels below are not shown in actual size.
Assembled Non-Use Dimensions:
Base Width: 62 .75 x 43 .25 x 20 .375 in (159 .38 x 109 .85 x 51 .75 cm)
Handle Width: 62 .75 x 43 .25 x 37 .5 in (159 .38 x 109 .85 x 95 .25 cm)
Weight (approx.): 180 .0 lb (81 .65 kg)
* Specifications may vary from this image and are subject to change without notice.
LET’S GET STARTED
Unpack and Prepare Your Workspace
- If possible, assemble the equipment at or near the space in which you intend to use it to avoid moving it later.
- Unpack all parts and support materials. Set aside packing materials and clear your work area.
- Locate the Hardware Kits packaged with the manuals. They are labeled to correspond with the assembly process.
BASE ASSEMBLY
NOTE: Always hand tighten all hardware in each step before fully tightening with the wrench or screwdriver. The Front, Back, Right and Left of the equipment is labeled in the drawing on Page 3 . The Left Upper Handle is attached to the Base with a Cable. Use caution and DO NOT pinch or pull on the Cable to avoid damage during assembly.
IMPORTANT: The Rear Linkage has multiple pivot points. Use caution to avoid pinching.
Figure 1: Turn the Leveling Foot at the bottom of the Base counterclockwise so that it supports the Base Joint off the ground.
Support the Rear Linkage with one hand holding the Rear Handle and the other hand holding the bottom support bar. Align the Rear Linkage to the Base and insert it at the Base Joint.
Figure 2: Use the Step 1 Hardware Kit to attach the Base to the Rear Linkage.
Hand tightens 4 × Bolts with 4 × Washers on the Base Joint.
DO NOT fully tighten the bolts with the wrench at this time. This will be done later in the assembly process.
Figure 3: Align the Base Fork with the Rear Linkage Arm by first rotating the Base Fork and then rotating the Rear Linkage Arm on top so they connect at the Fork Joint.
Figure 4: Use the Step 2 Hardware Kit to attach the Base Fork to the Rear Linkage Arm at the Fork Joint. Hand tightens 6 × Bolts with 6 × Washers on the Fork Joint.
Proceed to fully tighten the (4) short bolts M10 x 60 with the 8mm Allen Wrench and the (2) long bolts M10 x 100 with the 6mm Allen Wrench.
Figure 5: Align the Fork Joint Cover over the Fork Joint.
Figure 6: Use the Step 3 Hardware Kit to attach the Fork Joint Cover over the Fork Joint and fully tighten the 2 × Screws with the Screwdriver provided. 
FOOT PLATFORM ASSEMBLY
IMPORTANT: Use caution to ensure the Cables on the Foot Platform and Foot Platform Joint do not get pinched or pulled while attaching the Platform Assembly.
Figure 7: Align the Foot Platform with the Base and insert it over the Foot Platform Joint.
Figure 8: Use the Step 4 Hardware Kit to attach the Foot Platform to the Foot Platform Joint. Hand tightens 6 × Bolts with 6 × Washers on the Platform Joint.
Proceed to fully tighten the bolts with the 6mm Allen Wrench.
Figure 9: Connect the Cables at the Foot Platform Joint by snapping the two ends of the Cables together. 
IMPORTANT: Use caution to ensure the Cable does not get pinched or pulled while attaching the Foot Platform Joint Cover.
Figure 10: Slide the top of the Foot Platform Joint Cover so that it fits inside the front of the Foot Platform and then rotate the bottom of the Foot Platform Joint Cover into place so that it rests on top of the Base, enclosing the Foot Platform Joint.
Figure 11: Use the Step 5 Hardware Kit to attach the Foot Platform Joint Cover over the Foot Platform Joint and fully tighten 2 × Screws with the Screwdriver provided.
FINISH BASE ASSEMBLY
CAUTION
Use caution to avoid injury or tipping when lifting heavy objects.
Figure 12: To have better access while proceeding to the next steps of assembly, position the Power10 to rest on its front side by lifting up on the Rear Handle and rotating on the Transport Wheels until the Foot Platform is resting on the ground.
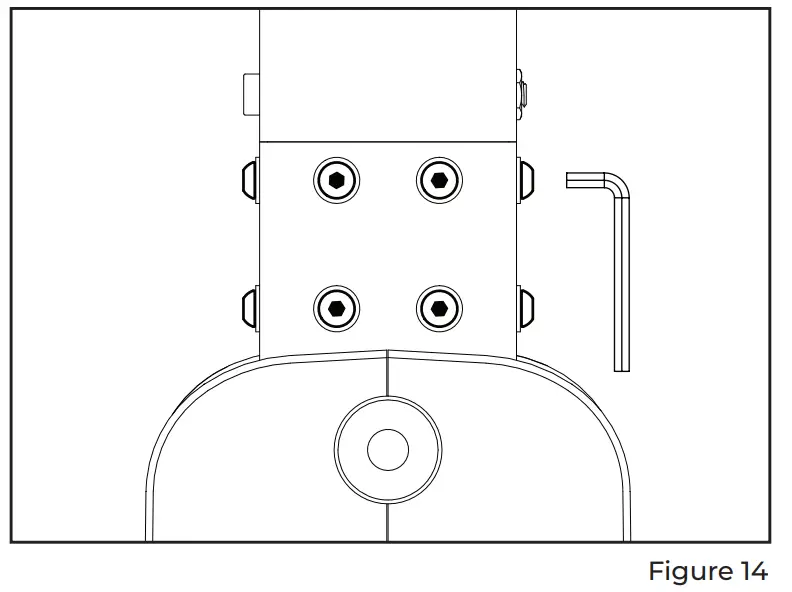
Figure 13: Use the Step 6 Hardware Kit to finish assembling the Base Joint .
Hand tightens 4 × Bolts with 4 × Washers on the Platform Joint.
Figure 14: Proceed to fully tighten all 8 × Bolts on the Base Joint with the 6mm Allen Wrench.
LOWER HANDLE ASSEMBLY
Figure 15a & 15b: While the Power10 remains tipped upward, align the Lower Left Handle with the Handle Support Bar on the Rear Linkage. 
Figure 16: Use the Step 7 Hardware Kit to attach the Lower Left Handle to the Handle Support Bar. Hand tightens 4 × Bolts with 4 × Washers through the Lower Left Handle and into the Handle Support bar.
DO NOT fully tighten the bolts with the wrench at this time. This will be done later in the assembly process. 
Figure 17a & 17b: Slide the base of the Lower Right Handle over the base of the Lower Left Handle until it aligns with the Handle Support Bar. 
Figure 18: Use the Step 8 Hardware Kit to attach the Lower Right Handle to the Handle Support Bar and Lower Left Handle. Hand tightens 5 × Bolts with 5 × Washers through the Lower Right Handle and into the Handle Support Bar and Lower Left Handle. Proceed to fully tighten all 9 × Bolts that attach the Lower Handles to the Handle Support Bar with the 6mm Allen Wrench. 
SEAT ASSEMBLY
Figure 19a & 19b: While the Power10 remains tipped upward, align the Seat with the Seat Support on the Rear Linkage.
Figure 20: Use the Step 9 Hardware Kit to attach the Seat to the Seat Support.
Hand tightens 4 × Bolts with 4 × Washers through theSeat Support and into the Seat.
Proceed to fully tighten all 4 × Bolts with the 6mm Allen Wrench.
UPPER HANDLE ASSEMBLY
Figure 21: Return the Power10 to the in-use position by pulling down on the Rear Handle and rotating the Transport Wheels until the Rear Linkage is resting on the ground.
IMPORTANT: Use caution to ensure The cable that attaches to the Upper Left
Handle to the Base does not get pinched or pulled during assembly.
Figure 22: Slide the Upper Left Handle into the top of the Lower Left Handle and align the screw holes.
Figure 23: Use the Step 10 Hardware Kit to attach the Upper Left Handle.
Hand tightens 4 × Bolts through the Upper Left Handle and into the Lower Left Handle.
Proceed to fully tighten all 4 × Bolts with the 4mm Allen Wrench.
Figure 24a & 24b: Use the Step 11 Hardware Kit to attach the Cable to the Lower Left Handle.
First, open each of the 3 × Clips and insert the Cable into the rounded end of the Clips.
Position each Clip over a hole in the Lower Left Handle and hand tighten 3 × Bolts through the Clips and into the Lower Left Handle.
Proceed to fully tighten all 3 × Bolts with the Phillips Screwdriver.
Figure 25: Slide the Upper Right Handle into the top of the Lower Right Handle and align the screw holes.
Figure 25
Figure 26: Use the Step 12 Hardware Kit to attach the Upper Right Handle.
Hand tightens 4 × Bolts through the Upper Right Handle and into the Lower Right Handle.
Proceed to fully tighten all 4 × Bolts with the 4mm Allen Wrench.
CONSOLE ASSEMBLY
IMPORTANT: The batteries can be installed and replaced without removing the console. However, for easier access, we recommend inserting the batteries before installing the console. Open the Battery
The compartment is located on the back of the console. Ensure that the battery contacts and compartment are clean. Locate the 2 × included batteries (AA 1 .5 V Alkaline) and install them in the back of the Console in the Battery Compartment, noting (+) and (-) symbols.
IMPORTANT: Use caution to ensure the Sensor wire on the Console does not get pinched or pulled during assembly.
Figure 27: Guide the Sensor Wire through the opening in the Console Support while aligning the Console.
Figure 28: Use the Step 13 Hardware Kit to attach the Console.
Hand tightens 4 × Bolts through the Console and into the Console Support.
Proceed to fully tighten all 4 × Bolts with the Phillips Screwdriver.
Figure 29: Connect the Console Cables by snapping together the two ends of the Cables. 
CONSOLE USE
The Power10 console is equipped with a non-coded wireless heart rate receiver that allows you to monitor your heart rate while wearing a compatible¹ chest strap. For optimal performance, we recommend using the included wireless heart rate monitor chest strap. The included chest strap² is compatible with the Power10 console and can also pair via Bluetooth to 3rd party apps and other Bluetooth-equipped devices.
Pulse: If using a compatible¹ heart rate monitor, your heart rate will display on the Power10 console automatically when you are within range of the console. No pairing is required.
Age: You may input your age in order to adjust the calorie counter accordingly.
Entering Age:
a) Press and Hold the UP + DOWN button for 2 seconds.
b) AGE will begin to blink. The default is 35. Adjust the age using the arrow keys.
c) After reaching your age, hit the MODE button to save this information to the computer.
Strokes: During a workout, the counter will indicate how many repetitions have been made.
Distance: Keeps track of the total distance traveled during a workout in either miles or meters. Units may be defined by pressing and holding down the UNIT button for 5 seconds.
Calories: Accumulates calorie consumption during training from 0 up to 999 .9 calories.
Note: The user must use a heart rate monitor in order for the calorie counter to function.
- The Power10 console heart rate receiver is compatible with Polar GymLink and other heart rate monitors that operate on the non-coded 5khz frequency. The Power10 console is not Bluetooth compatible.
- The included chest strap wirelessly transmits your heart rate to the Power10 console over the 5khz frequency when within range. The included strap also offers Bluetooth connectivity allowing you to pair the chest strap with other 3rd party devices and apps. Please refer to instructions included with the chest strap or the 3rd party app for more information on Bluetooth pairing and usage.
Buttons
2 min: During or at the start of a workout the time will count down from 02:00 minutes.
5 min: During or at the start of a workout the time will count down from 05:00 minutes.
10 min: During or at the start of a workout the time will count down from 10:00 minutes.
Mode: Turns on the console. Toggles between TIME, CALORIES, and DISTANCE so users may set their own limits.
Reset: Press and hold for 3 seconds to reset the console and all values.
Unit: You can switch between miles and meters by pressing and holding the button for 4 seconds.
STORAGE
Lift up on the Rear Handle to tip the Power10 onto the Transport Wheels to move to the storage location.
Continue lifting up on the Rear Handle and rotating on the Transport Wheels until the Foot Platform is resting on the ground.
Ensure the Power10 is stored on a flat, stable surface near a wall, if possible. 
USER ADJUSTMENTS
Seat Adjustment
The seat offers twelve (12) settings to accommodate various heights. To ensure a safe and comfortable experience, adjust the seat to a setting that allows for a slight bend in your knees at full extension(Figure 30). Your legs should not be locked out at full extension to avoid injury.
Figure 31: Turn the Seat Adjustment Knob counterclockwise to loosen. Pull out on the knob as you slide the seat to your selected height setting. Release the knob and ensure it is fully engaged into a hole setting before turning it clockwise to tighten.
Handle Adjustment
Figure 32: The handles can be adjusted into three (3) settings to control their depth of movement at the finish of the stroke. Once you find your seat setting, you’ll want to test the handle set to fit your body type and the amount of layback (lean of the upper body) you desire. The A setting offers the greatest movement; the C setting offers the least.
Figure 33: Turn the Handle Adjustment Knob counterclockwise to loosen. Pull out on the Handle Adjustment Knob with one hand as you assist the movement of the Handle Adjustment Bar with your other hand. Release the knob and ensure it is fully engaged into a hole setting before turning it clockwise to tighten.
Note: it is easier to slide up and down when the handles are pushed forward all the way to the rear post is straight up and down.
Resistance Adjustment
Figure 34: The Resistance Adjustment Dial can be adjusted from setting 1 (least resistance) to setting 7 (greatest resistance). Turn the dial until your desired resistance level is visible in the window. You can easily adjust your resistance during your workout at any time.
ROWING DIRECTION
The bi-directional resistance with unique elliptical motion allows you to work both sides of your body, targeting specific muscle groups in one direction while you rest and recover others. This gives you the ultimate full-body workout while allowing you to maintain high intensity without muscle burnout.
Determine your direction by focusing your attention on the movement of the fork arms around the base wheel. We refer to the top of the wheel as the top of the “hill .”
REVERSE
Fork arms are moving from FRONT to REAR over the top of the hill.
Action: Similar to a traditional rowing motion. Focus on pulling with your upper body over the hill; rest on the downward momentum .
Targets: Back, biceps, rear deltoids, forearms, quads, calves .
Getting Started: Begin in the layback position, with the handles at your chest. Push and ride the momentum down the hill, then pull over the hill.
Changing Direction: As you ride the momentum down the hill, begin to slow your speed. When the fork nears the top of the wheel at the front, gently push forward to reverse direction. Ride the momentum down the hill to the rear of the wheel, then push over the hill.
FORWARD
Fork arms are moving from REAR to FRONT over the top of the hill.
Action: Opposite of a traditional rowing motion.
Focus on pushing with your upper body over the hill; rest on the downward momentum .
Targets: Chest, triceps, front deltoids, hamstrings, glutes, abs
Getting Started: Begin leaning forward, with the handles at your feet. Pull and ride the momentum down the hill, then push over the hill.
Changing Direction: As you ride the momentum down the hill, begin to slow your speed. When the fork nears the top of the wheel at the rear, gently push forward to reverse
direction. Ride the momentum down the hill to the front of the wheel, then pull over the hill.
MUSCLE TARGETING
CHANGE YOUR FOCUS
While you’ll never be able to fully rest your legs, vary your workouts to rest some muscle groups while focusing on others. Simply power more with your arms, power more with your legs, or focus on engaging your core more. This ability to change focus on the fly helps maintain your intensity while avoiding muscle fatigue.
LEGS ONLY
Amp up your lower body workout – place your hands at your sides to use only your legs to power the motion .
CHANGE YOUR GRIP
Vary your upper body workout by changing your grip to target different muscle groups:
Explore More on the Teeter Video Portal
Access free video support, tips, and workouts online at teeter.com/videos or by scanning the QR code.
WARRANTY & REGISTRATION
The Teeter warranty set forth below and on Teeter’s website applies to US and Canadian customers only. For international customers, please consult your local distributor for
warranty information, which will vary depending on the country.
Teeter warrants this product to be free from defects in workmanship and material, under normal use and service conditions, during the period starting with the day of retail purchase and continuing for: ninety (90) days for the Base of the product (including the drive mechanism and all moving parts therein) and one (1) year for the rest of the product (excluding the Base), including any defects in materials, workmanship, fabrics, and padding. If a repair or replacement is not commercially practical or cannot timely be made, then Teeter will, at the Original Purchaser’s option, replace the product or the applicable portion of the product with a comparable product or refund the purchase price.
Handling and transportation costs related to product warranty service only are covered by this warranty. This warranty does not cover damage resulting from improper handling, assembly, or installation, repairs made by others, accident, misuse, or abuse. Under no circumstances shall Teeter, or any other party involved in the sale of this product, have any liability for incidental or consequential damage arising from breach of an express or implied warranty on any Teeter product.
EXCEPT AS SET FORTH ABOVE, NO WARRANTY IS GIVEN WITH RESPECT TO ANY TEETER PRODUCT, AND ALL EXPRESS WARRANTIES ARE DISCLAIMED. To the extent this warranty is found not to be enforceable, it shall be deemed revised to the extent necessary to make it enforceable. This warranty and any controversy or claim arising out of this warranty or its interpretation shall be governed by the laws of the State of Washington, USA. Any controversy or claim arising out of or relating to this warranty, its interpretation, or any alleged breach thereof, which cannot be amicably settled between Teeter and the owner within sixty (60) days of written notice by the aggrieved party to the other, shall be finally settled by arbitration submitted to three (3) arbitrators selected from the panels of the arbitrators of the American Arbitration Association located closest to Teeter’s principal place of business . Some states do not allow the exclusion of incidental or consequential damage from a warranty, so the above limitation or exclusion may not apply to you. Some states do not allow limitations on how long an implied warranty lasts, so the above limitation may not apply to you . This warranty gives you specific legal rights, and you may also have other rights which may vary from state to state . This warranty is completely transferable to any and all future owners of this product, provided no alterations have been made to the product.
HOW TO SUBMIT YOUR REGISTRATION:
Step 1
Fill out this information for your own records.
Step 2
Go online to teeter.com to register your warranty.
Date of Purchase………………………
Product & Model…………………..
Dealer Name…………………..
Serial No…………………………
If you are unable to go online, you can request a warranty card to be mailed to you by calling Customer Service at 800-847-0143.
Please DO NOT mail this to Teeter.
If you are unable to go online, you can request a warranty card to be mailed to you by calling Customer Service at 800-847-0143.
Please DO NOT mail this to Teeter.
| LX9 ™ Inversion Table The premier Teeter Inversion Table features the FlexTech ™ 8-Pt Floating Suspension Bed that flexes as you move, Deluxe EZ-Reach ™ Handle to reduce the need for bending, and so much more! | ![]() |
| FitForm ™ Cable Trainer Total body strengthening in one small package! Work your arms, legs and core with micro-adjusting resistance up to 65 lb. | ![]() |
| Better Back™ Foam Rollers Prepare the body for movement, accelerate recovery, minimize muscular imbalances, and improve overall flexibility with the Teeter collection of textured Foam Rollers. | ![]() |
| FreeStep ® Recumbent Cross Trainer Zero-impact cardio and strength! The ONLY home-use machine with patented smooth-stride technology is found in high-end seated physiotherapy steppers. | ![]() |
| T3™ Massager Countless options for self-massage, trigger point therapy, and myofascial release to resolve tension and pain gently and naturally. | ![]() |
| Neck Relax & Restore Duo™ Provides support of the upper neck/cervical spine for self-administered suboccipital release, a technique to reduce tension in the supporting muscles. | ![]() |
If you have any trouble assembling the equipment or have questions about its use, please contact customer service.
USA: 800-847-0143 or [email protected]
International: [email protected]
9713 233rd Ave E, Suite A
Bonney Lake, WA 98391
Toll-Free: 800-847-0143
Fax: 800-847-0188
teeter.com | [email protected]
U .S . and Foreign Patents Apply. Teeter and Teeter’s logo are registered trademarks of Teeter. Specifications are subject to change without notice.
© COPYRIGHT 2020 Teeter. International Law Prohibits Any Copying. XR1040 0221-1

Find BILT in App Store


Go to 









FINISH BASE ASSEMBLY





















