Breezary 27020-GD-A1 72 Inch Ceiling Fan

72 INCH CEILING FAN
Product Information:
- The 72-inch ceiling fan is designed for indoor dry or damp locations only.
- The product is suitable for use with solid-state speed controls.
- The fan must be mounted with the fan blades at least 10 feet from the floor to prevent accidental contact with the ceiling fan.
- The product is designed to use only those parts supplied with this product and/or accessories designated specifically for use with this product.
- The fan base must be securely mounted and capable of reliably supporting at least 35 lbs.
- This product must be grounded as a precaution against possible electrical shock.
Product Usage Instructions:
- Before wiring, ensure that electricity is turned off at the fuse box.
- Follow the recommended instructions for the proper method of wiring your ceiling fan. If you do not have adequate electrical knowledge or experience, have your fan installed by a licensed electrician.
- Install the fan base securely and ensure that it can support at least 35 lbs.
- Mount the fan with the fan blades at least 10 feet from the floor.
- Use only parts supplied with this product and/or accessories designated specifically for use with this product.
- Do not bend the blade bracket (flange or blade holder) when installing the brackets, balancing the blades, or cleaning the fan.
- Do not insert foreign objects in between rotating fan blades.
- Operate the ceiling fan only by remote control, following the instructions provided in the manual.
- If you encounter any issues, refer to the troubleshooting section of the manual.
WARNING
READ AND SAVE THESE INSTRUCTIONS
To avoid fire, shock and serious personal injury, follow these instructions
- Read your owmer’s manual and safety information before installing your new fan. Review the accompanying assemblydiagrams.
- Before servicing or cleaning unit, switch power off at service panel and lock service panel disconnecting means toprevent power from being switched on accidentally. When the service disconnecting means cannot be locked, securelyfasten a warning device, such as a tag. to the service panel
- Be careful of the fan and blades when cleaning, painting, or working near the fan. Always tum off the power to the ceiling fan before servicing
- Do not insert anything into the fan blades while the fan is operating
- The appliance is not intended for use by young children or infirm persons without supervision. Young children should’ve supervised to ensure that they do not play with the appliance.
ADDITIONAL SAFETY INSTRUCTIONS
- To avoid possible shock, be sure electricity is turned off at the fuse box before wiring,and do not operate fan without blades.
- All viring and installation procedures must satisfy National Electrical Codes (ANSI/NFPA 70) and Local Codes.
- The ceiling fan must be grounded as a precaution against possible electrical shock. Electrical installation should be made or approved by a licensed electrician.
- The fan base must be securely mounted and capable of reliably supporting at least 35 lbs.(fan and accessories not to exceed 35 lbs. or 15. 9 kgs.). See page 5 of owner’s manual for support requirements. Consult a qualified electrician if in doubt.
- The fan must be mounted with the fan blades at least 10feet from the floor to prevent accidental contact with the ceiling fan.
- Follow the recommended instructions for the proper method of wiring your ceiling fan, If you do not have adequate electrical knowledge or experience, have your fan installed by a licensed electrician.
- Suitable for use with solid-state speed controls.
- This fan is to be used in indoor dry or damp location only.
- For supply connections, if the conductor of a fan is identified as a grounded conductor, then it should be connected to a grounded conductor power supply. If the conductor of a fan is identified as an ungrounded conductor, then it should be connected to an unground-ed conductor power supply. If the conductor of a fan is identified for equipment grounding, then it should be connected to an equipment-grounding conductor.
CAUTION: Changes or modifications not expressly approved by the party responsible for compliance could void the user’s authority tooperate the equipment.
WARNING: To reduce the risk of electric shock, thisfan must be installed with a general use, isolatingwall.
This product is designed to use only those parts supplied with this product and/or accessories designated specifically for use with this product. Using parts and/or accessories not designated for use with this product could result in personal injury or property damage.
To reduce the risk of personal injury, do not bend the blade bracket (flange or blade holder) when installing the brackets, balancing the blades, or cleaning the fan. Do not insert foreign objects in between rotating fan blades.
Mount to an outlet box marked acceptable for fansupport of 15. 9 kg (35 lbs) or Less.
WARNING: Do not operate this fan with a variable(Rheostat)wall controller or dimmer switch Doing so could result in damage to the ceiling fan’s remote control unit.
This device complies with Part 15 of the FCC Rules Operation is subject to the following two condition:
so(1) This device may not cause harmful interference,and(2)this device must accept any interference received,including interference that may cause undesired operation. if the intentional radiator con be classified as a Class B digital device or a PC peripheral,then shall include the following or equivalent
NOTE: This equipment has been tested one found to comply with tho limits for Class B digital device,pursuant to part 15 of the FCC Rules, These limits ore designed to provide reasonable protection against harmful interference in residential installation
This equipment generates,uses one can radiate radio frequency energy and,if nor installed and used in accordance with the instructions, may cause harmful interference to radio or television reception,which can be determined by turning the equipment off and on,the user is encouraged to try to correct the interference by one or more of the following measures:
- Reorient or relocate the receiving antenna.
- Increase the separation between the equipment and the receiver.
- Connect the equipment into an outlet on a circuit different from that to which the receiver is connected.Consult the dealer or an experienced radio/TV technician for help.
For a Class A digital device,statements of 15.105(a)must be included when appropriate for the device in questionh
WARRANTY
We warrant the fan motor to be free from defects in workmanship and material present at time of shipment from the factory for a period of lifetime after the date of purchase by the original purchaser.We also warrant the light kit,to be free from defects in workmanship and material present at time of shipment from the factory for a period of five years after the date of purchase by the original purchaser,excluding any glass or acrylic components and wooden blades,to be free from defects in workmanship and material at the time of shipment from the factory for a period of two years after the date of purchase by the original purchaser.We agree to correct such defects without charge or at our option replace with a comparable or superior model if the product is returned. To obtain warranty service,you must present a copy of the receipt as proof of purchase. All costs of removing and reinstalling the product are your responsibility. Damage to any part such as by accident,misuse,improper installation or by affixing any accessories, is not covered by this warranty. Because of varying climatic conditions this warranty does not cover any changes in brass finish,including rusting,pitting,corroding,tarnishing or peeling. Brass finishes of this type give their longest useful life when protected from varying weather conditions.A certain amount of ”wobble”is normal and should not be considered a defect. Servicing performed by unauthorized persons shall render the warranty invalid. There is no other express warranty. We hereby disclaim any and all warranties,including but not limited to those of merchant ability and fitness for a particular purpose to the extent permitted by law. The duration of any implied warranty which cannot be disclaimed is limited to the time period as specified in the express warranty. Some states do not allow limitation on how long an implied warranty lasts, so the above limitation may not apply to you.The manufacturer shall not be liable for incidental,consequential, or special damages arising out of or in connection with product use or performance except as may otherwise be accorded by law. Some states do not allow the exclusion of incidental or consequential damages,so the above exclusion or limitation may not apply to you. This warranty gives specific legal rights,and you may also have other rights which vary from state to state. This warranty supersedes all prior warranties. Shipping costs for any return of product as part of a claim on the warranty must be paid by the customer.
EXPLODED REVIEW ILLUSTRATION
NOTE:
The illustration shown is not scale or its actual con guration may vary.Product/parts are subject to change with out notice.
UNPACKING INSTRUCTIONS
WARNING:
Do not install or use fan if any part is damaged or missing. This product isdesigned to use only those parts supplied with this product and/or anyaccessories designated specifically for use with this product by earngroup.Substitution of parts or accessories not designated for use with thisproduct by erangroup could result in personal injury or property damage.
- Check to see that you have received the following parts:
NOTE:If you are uncertain of part description,refer to exploded view illustration provided on the last page of this install manual.
Fan Parts Included

Quantity
- Mounting Bracket 1
- Canopy 1
- Canopy Cover 1
- Yoke Cover 1
- Diffuser 1
- LED module 1
- Motor Assembl 1
- Blade Bracket A 8
- Blade Bracket B 8
- Hanger Ball Assembly1+1
- Metal cover 1
- Remote Control
( Batteries not included) 1 - Fan blade 8
Hardware Included

REPLACEMENT AND DISASSEMBLY DIAGRAM OF FAN BLADES
Fan blade cleaning and disassembly installation diagram,wipe with dry cloth Do not wash with watar.


HANGER INSTALLATIO N AN D ENER GY SAVING UTILIZATION OF CEILIN G FAN
Ceiling fan performance and energy savings rely heavily on the proper installation and use of the ceiling fan.Here are a few tips to ensure efficient product performance.
Choosing the Appropriate Mounting Location
Ceiling fans should be installed,or mounted, in the middle of the room and at least 10 feet from floor to the blade and 18 inches from wall to the blade. If ceiling height allows, install the fan 8-9 feet from floor to the blade for optimal airflow. Consult your erangroup Retailer for optional mounting accessories.
Turn Off When Not in the Room
lf the room is unoccupied,turn off the ceiling fan to save energy.
Using The Ceilng Ran Year Round
Summer Season: Use the ceiling fan in the clockwise direction.The airflow produced by the ceiling fan creates a wind-chill effect,making you ”feel”cooler. Select a fan speed that provides a comfortable breeze, lower speed consume less energy.
Winter Season:Reverse the motor and operate the ceiling fan at low speed in the counter clock-wise direction.This produces a gentle updraft,which forces warm air near the ceiling down into the occupied space. Remember to adjust your thermostat when using
your ceiling fan-additional energy and dollar savings could be realized with this simple steps!
ELECTRICAL AND STRUCTURAL REQUIREMNTS
Your new ceiling fan will require a grounded electrical supply line of 120 volts AC,60 Hz,15 Amp Circuit. Electrical code requires use of a fan-rated outlet box to support the extra weight and motion associated with a ceiling fan.A fan-rated box will be labeled as such and typically supports up to a 70lbs ceiing fan. Fan-Rated Outlet Boxes vary in ratings and design. Ensure the ratings of your ceiling fan outlet box meet
the requirements for the ceiling fan being installed. Figure 1,Figure 2 and Figure 3 depicts different structural configurations that may be used for mounting the outlet box.
Low-profile use (Figure 1)
A 12-in-deep pancake box is meant to be screwed to a joist or block. It’s used if only one cable is coming into the box. It is also available in a saddle-mount configuration.

Deep-profile use(Figure 2)
A 2-1-in-deep box can be attached to blocking between joists and is roomy enough to hande more than one cable.

Brace use (Figure 3
Paired with a deep box,this hanger is meant to span between two joists and takes the place of wooden blocking.
WARNING:To reduce the risk of fire,electrical shock,or personal injury,mount fan to outlet box marked acceptable for fan support of 15.9 kg(35 Ibs)or less. Use screws supplied with outlet box. Most outlet boxes commonly used for support of light fixtures are not acceptable for fan support and may need to be replaced. Consult a qualified electrician f in doubt.
lf your fan is to replace an existing light fixture,turn electricity off at the main fuse box at this time and remove the existing light fixture.

WARNING:
Turning off wall switch is not sufficient. To avoid possible electrical shock,be sure electricity is turned off at the main fuse box before wiring.
All wiring must be in accordance with National and Local code sand the ceiling fan must be properly grounded as a precaution against possible electrical shock.
WARNING:
To avoid fire or shock,follow all wiring instructions carefully.Any electrical work not described in these instructions should be done or approved by a licensed electrician.
NOTE : You may need a longer downrod (10 IN down rod) to maintain proper clearance when installing on steep,slop edceiling.
WARNING:
Do not operate this fan with a variable (Rheostat) wall controller or dimmer switch . Doing so could result in damage to the ceiling fan’s remote control unit.
TOOLS REQUIRED FOR CEILING FAN INSTALLATION
This manual is designed to make it as easy as possible for you to assemble,install, operate and maintain your ceiling fan Tools Needed for Assembly(Not Included)

MATERIALS NEEDED
Wiring outlet and connectors of type required by the local code.The miniu m wire would be a3-c on (2-wi re with ground) of the following size:

NOTE: Place the parts from the loose parts bags in a small container to keep them from being lost.If any parts are missing contact your local retailer.
WARNING:
Before assembling your ceiling fan, refer to section on proper method of wiring your fan (pa g e10). If you feel you do not have enough wiring knowled g or experience, have your fan installed by a licensed electrician.
HOW TO ASSEMBLE YOUR CEILING FAN
- Remove the hanger ball portion from the down rod/hanger ball assembly by looseni ng the set screw in the hanger ball until the ball falls freely down the do wnrod.
- Remove thepin from the downrod, then remove the hangerball.Retain the pin and hanger ball for reinstallation in Step 6 . ( Figure 1 ) Remove the hairpin clip and clevis pin from the bottom of the downrod. Retain the pin and clip for reinstallation in Step 4. ( Figure 2)
- Loosen the two set screws in the downrod support of the motor assembly.Route the black, white and blue wires through the downrod. (Figure 3)
- Thread downr od int o the downrod support on t op of t hemotor.Install the clevis pi n by aligning the hole sin the downrod support wit h hol es in the downr od. Sec ure clevis pin wit h hairpin clip. Tighten the two setscrew within the downrod support. ( Figure 4)


WARNING:
It is critical that the clevis pin in the downrod support is properly installed and the setscrews are securely tightened.Failure to do so could result in the far falling.
- Route wires through motor couplingcover, canopy screw cover and celling canopy. (Figure 5)

HOW TO ASSEMBLE YOUR CEILING FAN(CONTINUED)
- Reinstall the hanger ball on the downrod as follows.Route the black, white and blue wires through the hanger ball.Position the pin through the two holes in the downrod and align the hanger ball so the pin is captured in the groove in the top of the hanger ball.Pull the hanger ball up tight against the pin.Securely tighten the set screw in the hanger ball.A loose setscrew could create fan wobble.(Figure 6)

- Cut off excess lead wire approximately 6 to 9 inches above top of the downrod. Strip insulation off 1/2 inch form the end of each lead wire.((Figure 7)
CAUTION:
All set screws must be checked,and retightened where necessary before installation. - Remove one of the two shoulder screws in the hanger bracket and retain the screw for later. Loosen the second shoulder screw without fully removing it.(Figure 8)

HOW TO HANG YOUR CEILING FAN
WARNING:
To avoid possible re o r shock,be su re el ec tricity is turned off at the ma in fuse box before hanging.(Figure 1)
NOTE:
If you are not sure if the outlet box is grounded,contact a licensed electricion for advice. as it must be grounded for safe operation.
WARNING: The fan must be hung with at least 11.5 ft.of clearance from floor to ceiling fan. (Figure 2)
Securely attach the hanger bracket to the outlet box using the outlet box screws and washers supplied with the outlet box. (Figure 3)
WARNING:
The outlet box must be securely anchored.Hanger bracket must seat rmly against outlet box. If the outlet box is recessed, remove wall board until bracket contacts box . If bracket and / or outlet box are not securely attached , the fon could wobble or fall.
Carefully lift the fan and seat the downrod/hanger ba assembly onto the hanger bracket that was just attached to the outlet box.Be sure the groove in the ball is lined up with tab on the hanger bracket.
( Figure4 ) This fan is intended for standard and angled mounting options only. Close mount and flust mount options are not available. For angled ceilings, note the angle can be no more than 16°

WARNING:
Failure to seat tab in groove could cause damage to electrical wires and possible shock or re-hazard.
WARNING:
o avoid possible shock, do not pinch wires between the hanger ball assembly and the hanger bracket.
CEILING FAN WIRING

- Slide the receiver into the hanger.
- Use a wire connector to connect the green wire of the hanger, lower link and filter to the bare ( grounded ) wire.
- Use a wire connector to connect the red wire of the braided filter unit marked “AC IN L” to the power cord.
- Use the wire connector to connect the black wire of the filter unit marked “AC IN N” to the white power cord.
- Connect the receiver red wire to the red wire of the fan motor.
- Connect the black wire of the receiver to the black wire of the fan motor.
- Connect the receiver pink wire to the pink wire of the fan motor.
- Finally, connect the blue and white wires of the receiver unit to the blue and white fan lamp wires using the wire connectors provided by the receiver unit. (Figure 3)

NOTE:
If you feel that you do not have enough electrical wiring knowled e or experience,have your fan installed by a licensed electrician.
EXPLODED REVIEW ILLUSTRATION
WARNING:
Check to see that all connections are tight, including ground, and that no bare wire is visible at the wire connectors except for the ground wire. Do not operate fan until the blades are in place. Noise and motor damage could result.
- After connections have been made,turn leads up ward and carefully push leads into the outlet box, with the white and green leads to one side of the box and the black leads to the othersisde. (Figure 4)

After the wires are connected. bundle the wires with cable ties. And then place the receiver in the hanger. - Use bandage to extend into the wave filter mounting hole and the screw hole of the hanger bracket, and tighten bandage(for subsequent installation of the ceiling Canopy). (Figure 5)

HOW TO INSTALL YOUR CANOPY HOUSING
NOTE:
This step is a pplicable after then ecessary wiring is completed.
Assemble canopy by rotating key slot in canopy over shoulder screw in hanger bracket, taking care not to pinch the wires. Tighten shoulder screw. Fully assemble and tighten second shoulder screw that was previously removed.
(Figure 1 )
WARNING:
To avoid possible fire or shock, make sure that the electrical wires are completely inside the canopy housing and not pinched between the housing and the ceiling.
Securely attach and tighten the three “L” tabs of canopy screw cover over the three slots of canopy utilizing the key slot twist-lock feature. Figure 2 )
HOW TO OPERATE CEILING FAN BY REMOTE CONTROL
- IMPORTANT:
Using a full-range dimmer switch (notincluded) to control fan speed will damage the fan.To reduce the risk of fire or electrical shock,do not use a full-range dimmer switch to control the fan speed. (Figure 1) - Restore electrical power to the outlet box by turning the electricity on at the main fuse box. (Figure 2)

WARNING:
- Check to see that all connections are tight,including ground,and that no bare wire is visible at the wire connectors, except for the ground wire. Do not operate fan until the blades are in place. Noise and fan damage could result.
- Do not operate this fan with a variable (Rheostat) wall controller or dimmer switch.
Doing so could result in damage to the ceiling fan’s remote control unit.
NOTE:
- The remote unit has 16 different code combinations. To prevent possible interference from or to other remote units, simply change the combination code in there mote and receiver.
- Factory default setting is dip switches all up.Do not use this position.

HOW TO OPERATE CEILING FAN BYREMOTE CONTROL

- Switch indicator
- Speed Controller Fan
- Shutdown
- Fan Reverse
- Natural wind
- Lamp Switch
- Timer
- Battery For Switch AAA ( 1. 5V)
(Batteries not included)
Actual use shall be subject to the real product Learning method of remote control:
Power on the receiver,press the
key at the emitter at once. The learning is succeed , when hear doule beep ringing from the loudspeaker.
- RF wireless digital transmission technology is adopted to realize the one-to-one control providing a rate of coincident code less than 1 / 50000 . Same code number is attached to the back of the emitter and the receiver.lt is required to return a pair of the same code number of emitter/receiver to the manufacturer for repair service in case of any damage.
- In a sufficient space you can use the receiver at any angle, no worry about the direction
Notices:
- When the emitter is unable to remotely control the receiver please check whether the switch batteries are in good contact, whether they are fixed properly and whether they run out of use.
- hen the emitter iS unable to remotely control the receiver, please check whether there is other remote control products around the space and check whether the keys are pressed down, because same nature of remote control product may cause interference with each other resulting in poor receiving effect. Taking away such articles will normalize the remote control function. (the infrared remote controller is not included).
- Please use this product under applicable voltage. Too low voltage will lead to failure of the remote controller to work (Please refer to the product label for the voltage range and related parameters )
- Please take out the batteries if you will not use this product for a long time.
NOTE:
Wait for the fan to stop before reversing the direction of the blade rotation.
If airflow is desired in the opposite direction,turn the fan off and wait for the blades to stop turning,Slide the reverse switch on top of motor assembly to the opposite position and turn fan on again (Figure 6)



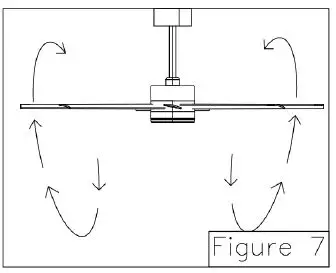
Warm weather·(Forward) A downward airflow creates a cooling effect as shown in.(Figure 7)This allows you to set your air conditioner on a higher setting without affecting your comfort.
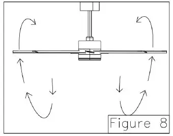
- Cool-weather-(Reverse)An upward airflow moves warm air off the ceiling area as shown in.(Figure 8) This allows you to set your heating unit on a lower setting without affecting your comfort.
MAINTENANCE
Periodic cleaning of your new ceiling fan is the only maintenance that is needed. When cleaning,use only soft brush or lint-free cloth to avoids cratching the finish.Abrasive cleaning agents are not required and should be avoided to prevent damage to finish.
CAUTION
Do not use water when cleaning your ceiling fan.It could damage the motor or the finish and create the possibility of electrical shock.
TROUBLESHOOTING
WARNING:
For your own sa fery turn off power at fuse box or circuit breaker before troubles hooting your fan .

Customer Service: [email protected]
























