24013-SN 52 Inch Ceiling Fan
Instruction Manual
WARNING
READ AND SAVE THESE INSTRUCTIONS
To avoid fire, shock and serious personal injury, follow these instructions
- Read your owner’s manual and safety information before installing your new fan. Review the accompanying assembly diagrams.
- Before servicing or cleaning unit,switch power off at service panel and lock service panel disconnecting means to prevent power from being switched on accidentally. When the service disconnecting means cannot be locked,securely fasten a warning device,such as a tag.to the service panel.
- Be careful of the fan and blades when cleaning,painting,or working near the fan. Always turn off the power to the ceiling fan before servicing.
- Do not insert anything into the fan blades while the fon is operating
- The appliance is not intended for use by young children or infirm persons without supervision. Young children should be supervised to ensure that they do not play with the appliance.
ADDITIONAL SAFETY INSTRUCTIONS
- To avoid possible shock,be sure electricity is turned off at the fuse box before wiring,and do not operate fan without blades.
DAIl wiring and installation procedures must satisfy National Electrical Codes (ANSI/NFPA 70) and Local Codes.
The ceiling fan must be grounded as a precaution against possible electrical shock. Electrical installation should be made or approved by a licensed electricicn.
The fan base must be securely mounted and capable of reliably supporting at leost 35 Ib. (fan ond accessories not to exceed 35 lb or 15.9 kg) . See page 5 of owner’s manual for support requirements.
Consult a qualified electricion if in doubt. - The fan must be mounted with the fan blodes at least 10feet above the floor to prevent accidental contact with the ceiling fon.
- Follow the recommended instructions for the proper method of wiring your ceiling fan, If you do not have adequate electrical knowledge or experience,have your fan installed by licensed electricion.
- Suitable for use with solid-state speed controls.
- This fan is to be used in indoor dry location only.
- F or supply connections,if the conductor of a fan is identified as a grounded conductor,then it should be connected to o grounded conductor power supply. If the conductor of a fon is identified as an ungrounded conductor,then it should be connected to an grounded conductor power supply. If the conductor of a fan is identified for equipment grounding,then it should be connected to an equipment—grounding conductor.
CAUTION: Changes or modificotions not expressly approved by the party S responsible for compliance could void the user’s authority to operate the equipment.
WARNING: To reduce the risk of electric shock,this fon must be instolled with o general s use,isolating wall. This product is designed to use only those parts supplied with this product and/or accessories designoted specifically for use with this product. Using parts and/or accessories not designoted for use with this product could result in personal injury or property damage.
To reduce the risk of personal injury, do not bend the blade bracket (flange or blade holder) when installing the brackets,balancing the blades,or cleaning the fan. Do not insert foreign objects in between rotating fon blades.
Mount to an outlet box marked acceptable for fon support of 15.9kg (35 Ibs) or Less.
ENERGY EFFICIENT USE OF CEILING FANS
Ceiling fan performance and energy savings rely heavily on the proper installation and use of the ceiling fan. Here are a few tips to ensure efficient product performance.
Choosing the Appropriate Mounting Location Ceiling fans should be installed, or mounted, in the middle of the room and at least 10 feet from floor to the blade and 18 inches from wall to the blade. If ceiling height allows, install the fan 8-9 feet from floor to the blade for optimal airflow.
Turn Off When Not in the Room
Using the Ceiling Fan Year Round Summer Season: Use the ceiling fan in the clockwise direction. The airflow produced by the ceiling fan creates a wind—chill effect,making you “feel” cooler. Select a fan speed that provides a comfortable breeze, lower speed consume less energy. Winter Season: Reverse the motor and operate the ceiling fan at low speed in the counter clock—wise direction. This produces a gentle updraft, which forces warm air near the ceiling down into the occupied space. Remember to adjust your thermostat when using your ceiling fan—additional energy and dollar savings could be realized with this sim le ste•s!
ELECTRICAL AND STRUCTURAL REQUIREMENTS
Your new ceiling fan will require a grounded electrical supply line of 120 volts AC, 60 HZ, 15 Amp Circuit.
Electrical code requires use of a fan—rated outlet box to support the extra weight and motion associated with a ceiling fan. A fan—rated box will be labeled as such and typically supports up to a 7Olb ceiling fan.Fan—Rated Outlet Boxes vary in ratings and design. Ensure the ratings of your ceiling fan outlet box meet the requirements for the ceiling fan being installed. Figure 1, Figure 2 and Figure 3 depicts different structural configurations that may be used for mounting the outlet box.
Low-profile use (Figure 1)
A 12in. deep pancake box is meant to be screwed to a joist or block. It’s used if only one cable is coming into the box. It is also available in a saddile—mount configuration.
Deep-profile use (Figure 2)
A 2\1in. deep box can be attached to blocking between joists and is roomy enough to handle more than one cable.
Brace use (Figure 3)
Paired with a deep box,(his hanger is meant to span between two joists and takes the place of wooden blocking.
WARNING: Turning off wall switch is not sufficient. To avoid possible electrical shock,be sure electricity is turned off at the main fuse box before wiring. All wiring must be in accordance with National and Locol code sand the ceiling fan must be properly grounded as a precaution against possible electrical shock. 
WARNING: To avoid fire or shock, follow all wiring instructions carefully. Any electrical work not described in these instructions should be done or approved by a licensed electrician. 
WARNING: Do not operate this fan with a variable (Rheostat) wall controller or dimmer switch.Doing no could result in damage to the ceiling fan’s remote control unit.
Angled ceiling use place (Figure 4) Angled ceiling maximum 16 angle .
PRE-INSTALLATION
This manual is designed to make it as easy as possible for you to assemble,install, operate and maintain your ceiling fan Tools Needed for Assembly (Not Included)

MATERIALS NEEDED
Wiring outlet and connectors of type required by the local code. The minium wire would be o 3—con (2—wire with ground) of the following size:
Installed wire length Wire Size A. W. G Up to 50 ft. 12 50-100 ft. 12
NOTE: Place the parts from the loose ports bags in o smell container to keep them from being lost. If any ports ore missing contact your local retailer.
WARNING: Before assembling your ceiling fan,refer to section on proper method of wiring your fan (pagel2). If you feel you do not have enough wiring knowledge or experience,have your fan installed by a licensed electrician.
PACKAGE CONTENTS
For your convenience,check—off boxes are provided next to each step. As each step is completed, place a check mark in the box. This will insure that all steps have been completed and will be helpful in finding your place should you be interrupted.
WARNING:
Do not install or use fon if any part is damaged or missing. This product is designed to use only those parts supplied with this product and/or any accessories designated specifically for use with this product by earn group.Substitution of parts or accessories not designated for use could resul in personal injury or property damage.
1. Check to see that you have received the following parts:
NOTE: If you are uncertain of part description,refer to exploded view illustration provided on the last page of this install manual.
For further questions, please contact customer service [email protected]
EXPLODED REVIEW ILLUSTRATION

NOTE: E12 Bulb(Not Include)
The illustration shown is not scale or its actual configuration may be different.Product/parts are subjec to change without notice.
REPLACEMENT AND DISASSEMBLY DIAGRAM OF FAN BLADES
Install the fan blade and blade arm on the motor in turn.
The installation insights are as follows.

HOW TO ASSEMBLE YOUR CEILING FAN
Remove the hanger ball portion from the downrod/hanger ball assembly by loosening the set screw in the hanger ball until the ball falls freely down the downrod.Remove the pin from the downrod,then remove the hanger ball. Retain the pin and hanger ball for reinstallation in Step 6. (Figure 1)
Remove the hairpin clip and clevis pin from the bottom of the downrod. Retain the pin and clip for reinstallation in Step 4. (Figure 2)
Loosen the two set screws in the down rod support of the motor assembly. Route the black,white and blue wires through the down rod (Figure 3)
Thread down rod into the down rod support on top of the motor. Install the clevis pin by aligning the hole sin the down rod support with holes in the down rod. Secure clevis pin with hairpin clip. Tighten the two setscrews with in the down rod support. Figure 4)
It is critical that the clevis pin in the down rod support is properly installed and the setscrews are securely tightened. Failure to do so could result in the fan falling.
Route wires through motor coupling cover,canopy screw cover and ceiling canopy. (Figure 5)
Reinstall the hanger ball on the down rod as follows.Route the black,white and blue wires through the hanger ball. Position the pin through the two holes in the down rod and align the hanger ball so the pin is captured in the groove in the top of the hanger ball.Pull the hanger ball up tight against the pin. Securely tighten the set screw in the hanger ball. A loose setscrew could create fan wobble. (Figure 6) 
Cut off excess lead wire approximately 6 to 9 inches above top of the down rod. Strip insulation off 1/2 inch form the end of each lead wire. ( (Figure 7)
CAUTION: :eiti;gteg:rcl”,:er:lusne Igs:reyettri-ed instaiiation. 
Remove one of the two shoulder screws in the hanger bracket and retain the screw for later. Loosen the second shoulder screw without fully removing it. (Figure 8) 
HOW TO HANG YOUR CEILING FAN
WARNING: To avoid possible fire or shock,be .sure electricity is turned off at the main fuse box before hanging. (Figure 1)
NOTE: If you are not sum if the outlet box is grounded,contact a licensed electrician for advice,as it must be grounded for safe operation.
WARNING:The fan crust be hung with , at least 11,55,,from floor to ceiling fan. (Figure 2) 
Securely attach the hanger bracket to the outlet box using the outlet box screws and washers supplied with the outlet box (Figure 3)
WARNING: The outlet box must be securely anchored.Hanger bracket most seat firmly against outlet box. If the outlet box is recessed,remove wall board until bracket contacts box. If bracket and/or outlet box are not securely attached,the fan could wobble or fall. 
Carefully lift the fan and seat the down rod/hanger ball assembly onto the hanger bracket that was just attached to the outlet box. Be sure the groove in the ball is lined up with tab on the hanger bracket. (Figure 4)This fan is intended for standard and angled mount’, options .1y. Close mount and flush mount options are not available. For angled ceilings,note the angle .n be no more than 16.
WARNING: Failure to seat tab in groove could cause damage to electrical wires and possble shock or re hazard.
WARNING: To avoid possible shock,do not pinch wires between the hanger ball assembly and the hanger bracket. 
WIRING YOUR CEILING FAN

Slide the receiver into the hanger bracket.
Connect green wires from hanger bracket and down rod and wave filter to bare (ground) wire using wire connector.
Connect black wire from wove filter unit marked “AC IN L”to block supply wire using wire connector.
Connect white wire from wave filter unit marked “AC IN N”to white supply wire using wire connector.
Connect white wire from receiver unit marked”TO MOTOR N”to white wire from fan using wire connector supplied with receiver unit.
Connect black wire from receiver unit marked”TO MOTOR L”to black wire from fan using wire connector supplied with receiver unit, JLastly,connect blue wire from receiver unit to the blue fan light wire using wire connector supplied with receiver unit. (Figure 3) 
NOTE:
If you feel that you do not have enough electrical wiring knowledge or experience,have your fan installed by a licensed electrician.
WARNING: Check to see that all connections ore tight,including ground,and that no bare wire is visible at the wire connectors exc p or the ground wire. Do noteotpefrote fon until the blades are in place. Noise and motor damage could result.
After connections have been made,turn leads upward and carefully push leads into the outlet box,with the white and green leads to one side of the box and the black leads to the other side. (Figure 4) 
Use bandage to extend into the can filter mounting hole and the screw hole of the hanger bracket, and tighten bandage (for subsequent installation of the ceiling Canopy) . (Figure 5)
HOW TO INSTALL YOUR CANOPY HOUSING
NOTE:
This step is applicable after the necessary wiring is completed.
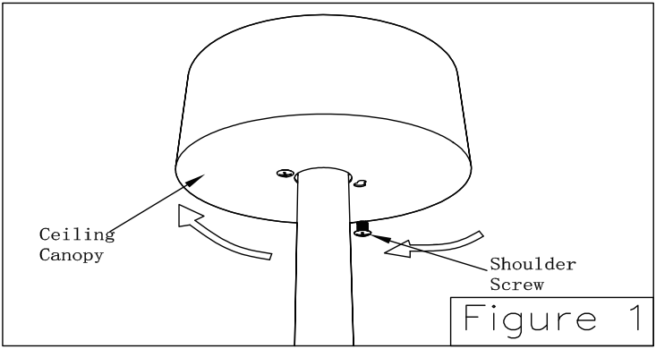
Assemble canopy by rotating key slot in canopy ove shoulder screw in hanger bracket, taking care mot t pinch the wires, Tighten shoulder screw. Fully assemble and tighten second shoulder screw that was previously removed. (Figure 1)

WARNING:
To avoid possible fire or shock,make sure that the electrical wires are completely inside the canopy housing and not pinched between the housing and the ceiling.
Securely attach and tighten the three”L” tabs of canopy screw cover over the three slots of canopy utilizing the key slot twist—lock feature. (Figure 2)
HOW TO OPERATE YOUR CEILING FAN
IMPORTANT: Using a full range dimmer switch (not included) to control fan speed will damage the fan.To reduce the risk of fire or electrical shock,do not use a full range dimmer switch to control the fan speed. (Figure 1) 
Restore electrical power to the outlet box by turning the electricity on at the main Use box. (Figure 2)
WARNING: Check to see that all connections are tight,including ground,and that no bare wire is visible at the wire connectors,except for the ground wire. Do not operate fan until the blades are in place. Noise and fan damage could result. 
WARNING: Do not operate this fan with a variable (Rheostat) wall controller or dimmer switch.Doing so could result in damage to the ceiling fan’s remote control unit.
NOTE: The remote unit has 16 different code combinations. To prevent possible interference from or to other remote Jnits,simply change the combination code in there mote and receiver.
NOTE: “actory default setting is dip switches all Jp.Do not use this position.
To set the remote code same positions as the receiver with a small screwdriver or ball point pen (neither included) ,slide dip switches firmly up or down. (Figure 4) 
NOTE: Wait for the fan to stop before reversing the direction of the blade rotation.
If airflow is desired in the opposite direction,turn the fan off and wait for the blades to stop turning, Slide the reverse switch on top of motor assembly to the opposite position and turn fan on again (Figure 6) 
| Reverse Switch Information | ||
| Season | Sea son Direction | Switch Position |
| Summer | Clockwise | Left |
| Winter | Counter—Clockwise | Right |
Warm weather-(Forward) A downward air flow creates a cooling effect as shown in. (Figure 7)This allows you to set your air conditioner on a higher setting without affecting your comfort.
Cool weather- (Reverse) An upward airflow moves warm air off the ceiling area as shown in. (Figure 8)This allows you to set your heating unit on a lower setting without affecting your comfort.
MAINTENANCE
Periodic cleaning of your new ceiling fan is the only maintenance that is needed. When cleaning.use only soft brush or lint free cloth to avoids cratching the finish. Abrasive cleaning agents are not required and should be avoided to prevent damage to finish.
CAUTION
Do not use water when cleaning your ceiling fan It could damage \the motor or the finish and create the possibility of electrical shock.
ORemote functions: (Figure 5) *olndicator LED light: When the remote control is operated to send commands,the indicator light is on normally (if the indicator light is not on when sending the command,the battery may be low or the remote control may be damaged)
ON/OFF: Turn fans ON/OFF
HI: High speed
MED: Medium speed
LOW: Low Speed
OFF: Turn light ON/OFF
Dimmer: Press and hold the button to set the desired brightness.
(Note: This dimmer function works only with dimmable bulbs)
IMPORTANT POINTS:
- Please read this instruction, and save it for further use.
- Before installation, TURN OFF THE POWER TO YOUR CEILING FAN (at the main switch box or fuse box).
- Please note that all wiring appliances should be installed by a qualified electrician.
- This unit is to be used in aAC110V~120V 50Hz/60Hz supply only. (Rating: max. 100W, Min. 15W for fan motor; max. 300W, Min. SW for light kits)
- Do not install in damp locations or immerse in water. (For indoor use only.)
- Do not pull on or cut leads shorter.
- Do not drop or bump the unit.
- PLEASE NOTE: The battery will weaken with age and should be replaced before leaking takes place as this will damage the transmitter.
- The batteries must be removed from the transmitter before it is scrapped and the batteries shall be disposed of safety.
- The switch shall be mounted at a height greater than 5.6ft.
- The electric shock protection of the RF. receiver shall be depended on its installation.
- The RF. Remote controller shall be used within its rating range, otherwise overheating and dangerous phenomenon may occur.
- CAUTION: To reduce the risk of fire or injury, do not use this product in conjunction with any variable (rheostat) wall control.
Remote control only: Install the two ‘AAA’ 1.5 volt batteries(NOT included)
When operate ceiling fan by remote controller, you should note that code switch must be set atthe same ;,, both receiver and transmitter.
TROUBLESHOOTING
WARNING: For your own safety turn off power at fuse box or circuit breaker before trouble shooting your fan.
| TROUBLE | PROBABLE CAUSE | SUGGESTED REMEDY |
| 1. FAN WILL INU1 START | 1. Fuse or circuit breaker blown. t-ietn”orP7oesre lisn:itccrinw7reti°” t° connect’ions in the switch housing 3.Dead battery in remote control. 4.Reversing switch in neutral position. | CAUTION: Make sure main power is ttumed off! 1.Check moin ond branch circuit fuses or circuit breakers. 2.Check line wire connections to fan and switch wire connections in the switch housings. 3.Replace with new battery. 4.Make sure reversing switch position is all the way to one side. |
| 2. FAN SOUNDS | NOISYeach 1.Loose screws in motor housing. 2.Wire connectors inside housing rattling. 3.M°t°r n°ise caused hY sc)lid state variable speed control | CAUTION: Make sure main power is turned off! 1. check to make sure all screws in motor h2Vegckarteo Miolee’riretirrecrc7ntrYct in switch housing are not rattling against other or against the interior wall of TeSosmwletchfon”musointor’s are sensitive to signals from solid—state variable speed controls. Solid—state controls ore not rrre,:cznended,choose an alternative control |
| 3. FAN WOBBLES EXCESSIVELY | 1.Set screw in down rod support is loose. 2.Setscrew in down rod/hanger bal asseniblY IS 1°0″. 3.Hanger bracket and/or ceiling outlet box is not securely fastened. | 1.Tighten both setscrews securely indownrod support. 2.Tighten the setscrew in the downrod/hanger ball assembly. 3.Tighten the hanger bracket screws tothe outlet box,and secure °utiet b°0. |
| 4.NOT ENOUGH AIRMOVEMENT | 1. If possible,consider using a longer 10 is down rod(include) |
For further questions, please contact customer service
[email protected]

















