
BREEZISM BF9453L56SL Alameda 56 Inch Ceiling Fan
Safety Information
READ AND SAVE THESE INSTRUCTIONS
- To reduce the risk of electric shock, ensure electricity has been turned off at the circuit breaker or fuse box before you begin.
- All wiring must be in accordance with the National Electrical Code “ANSI/NFPA 70” and local electrical codes. Electrical installation should be performed by a qualified licensed electrician.
- The outlet box and support structure must be securely mounted and capable of reliably supporting a minimum of 35 lbs (15.9 kg). Use only UL Listed outlet boxes marked “Acceptable for Fan Support of 35 lbs. (15.9 kg) or less.”
- Do not place objects in the path of the blades.
- Do not use water or detergents when cleaning the fan or fan blades. A dry dust cloth or lightly dampened cloth will be suitable for most cleaning.
- After making electrical connections, spliced conductors should be turned upward and pushed carefully up into the outlet box. The wires should be spread apart with the grounded conductor and the equipment-grounding conductor on one side of the outlet box and ungrounded conductor on the other side of the outlet box.
- All setscrews must be checked and retightened where necessary before installation.
- WARNING:To reduce the risk of electrical shock or fire, not use this fan with any solid-state fan speed control device. It will permanently damage the electronic circuitry.
- WARNING:To reduce the risk of personal injury, do not bend the blade brackets when installing the brackets balancing the blades, or cleaning the fan. Do not insert foreign objects in between rotating fan blades.
- WARNING: To reduce the risk of fire, electric shock or personal injury, mount to outlet box marked “ acceptable for fan support of 35 lbs. (15.9Kg) or less” and use screws provided with the outlet box.
- WARNING: To avoid possible electrical shock, turn the electricity off at the main fuse box before wiring.
- CAUTION: To reduce the risk of personal injury, use only the screws provided with the outlet box.
- CAUTION: To avoid personal injury or damage to the fan and other items, use caution when working around or cleaning the fan.
- CAUTION: The fan must be mounted with a minimum of 7 ft (2.1 m) clearance from the trailing edge of the blades to the floor.
- CAUTION: Changes or modifications not expressly approved by the party responsible for compliance could void the user’s authority to operate the equipment.
- WARNING: To reduce the risk of electrical shock, this must be installed with an lsolating wall control/switch.
Warranty
We warrant the fan motor to be free from defects in workmanship and material present at time of shipment from the factory for a period of lifetime after the date of purchase by the original purchaser. We also warrant the light kit, to be free from defects in workmanship and material present at time of shipment from the factory for a period of five years after the date of purchase by the original purchaser, excluding any glass or acrylic components and wooden blades, to be free from defects in workmanship and material at the time of ship-ment from the factory for a period of two year after the date of purchase by the original purchaser. We agree to correct such defects without charge or at our option replace with a comparable or superior model if the product is returned. To obtain warranty service, you must present a copy of the receipt as proof of purchase. All costs of removing and reinstalling the product are your responsibility. Damage to any part such as by accident, misuse, improper installation or by affixing any accessories, is not covered by this warranty. Because of varying climatic conditions this warranty does not cover any changes in brass finish, including rusting, pitting, corroding, tarnishing or peeling. Brass finishes of this type give their longest useful life when protected from varying weather conditions, A certain amount of “wobble” is normal and should not be considered a defect. Servicing performed by unauthorized persons shall render the warranty invalid. There is no other express warranty. We hereby disclaim any and all warranties, including but not limited to those of merchantability and fitness for a particular purpose to the extent permitted by law. The duration of any implied warranty which cannot be disclaimed is limited to the time period as specified in the express warranty. Some states do not allow limitation on how long an imolied warranty lasts, so the above limitation may not apply to you. The retailer shall not be liable for incidental, consequential, or special damages arising out of or in connection with product use or performance except as may otherwise be accorded by law. Some states do not allow the exclusion of incidental or consequential damages, so the above exclusion or limitation may not apply to you. This warranty gives specific legal rights, and you may also have other rights which vary from state to state. This warranty supersedes all prior warranties. Shipping cost s for any return of product as part of a claim on the warranty must be paid by the customer.
Pre-Installation
SPECIFICATIONS
| Fan size | Speed | Volts | Amps | Watts | RPM | CFM N.W. G.W. C.F. |
| ||
| LOW | 0.056 | 3.2 | 70 | 2632 | |||||
| 52 in. | MED | 120 | 0.2 | 13 | 130 | 4645 5.4kgs 6.9 kgs 3.23cu ft. | |||
| HIGH | 0.38 | 28 | 170 | 5590 (11.9lbs) (15.2 lbs) | |||||
NOTE: These are approximate measures. They do not include amps and wattage used by the light kit.
TOOLS REQUIRED

HARDWARE INCLUDED

NOTE: Hardware shown to actual size
| Quantity | ||
| Blade screw (preassembled) | 6+1 spare | |
| (preassembled) | 6+1 spare | |
| 3 | ||
| DD | 3 | |
| EE | 2 | |
| FF | 2 | |
| GG | (preassembled) | 1 |
| HH | Light kit screw (preassembled) | 3 |
PACKAGE CONTENTS

| Part | Description | Quantity |
| A | Blade | 3 |
| B | Mounting bracket (preassembled) | 1 |
| C | Canopy (preassembled) | 1 |
| D | Canopy cover (preassembled) | 1 |
| E | Hanger ball (preassembled) | 1 |
| F | Downrod (preassembled) | 1 |
| G | Light kit assembly | 1 |
| H | Fan motor assembly | 1 |
| Part | Description | Quantity |
| I | Light kit plate | 1 |
| J | Plastic shade | 1 |
| K | Receiver | 1 |
| L | Remote control | 1 |
| M | Remote control holder | 1 |
| N | 12V Battery | 1 |
| O | Extension lead wire | 1 |
Installation
MOUNTING OPTIONS
WARNING: To reduce the risk of fire, electric shock, or personal injury, mount the fan to an outlet box marked acceptable for fan support. An outlet box commonly used for the support of lighting fixtures may not be acceptable for fan support and may need to be replaced. If in doubt, consult a qualified electrician.
If your ceiling fan does not have an existing UL-listed mounting box, then install one using the following instructions:
- Disconnect the power by removing the fuses or turning off the circuit breakers.
- Secure the outlet box (1) (not included) directly to the building structure. Use appropriate fasteners and materials (not included). The outlet box and its bracing must be able to fully support the weight of the moving fan (at least 35 lbs.). Do not use a plastic outlet box.
- The illustrations to the right show three different ways to mount the outlet box (not included).
- To hang your fan where there is an existing fixture but no ceiling joist, you may need an installation hanger bar (3)(not included), as shown.
NOTE: You may need a longer downrod to maintain proper blade clearance when installing on a steep, sloped ceiling. The maximum angle allowable is 18°. If the canopy touches the downrod, remove the decorative canopy bottom cover and turn the canopy 180° before attaching the canopy to the mounting plate (2).
Assembly
Attaching the mounting bracket/ Attaching the Fan Blades
Attaching the mounting bracket to the electrical box
WARNING: To reduce the risk of fire, electric shock, or other personal injury, mount the fan only to an outlet box or supporting system marked acceptable for fan support and use the mounting screws provided with the outlet box.
- Secure the mounting bracket (B) to the ceiling outlet box with the screws and washers provided with your outlet box.

Fastening the blades to the fan motor assembly
- Remove the six blade screws (AA) from the fan motor assembly (H).
- Remove the six flywheel screws (BB) from the fan motor assembly

Fastening the blades to the fan motor assembly
- Attach the fan blades (A) to the fan motor assembly (H). Fasten the blade screws (AA) one by one.
- Fasten the flywheel screws (BB) one by one.

Fastening the light kit plate to the fan motor assembly
- Loosen three preassembled light kit plate screws (DD) on the fan motor assembly (H).
- Attach the light kit plate (I) to the fan motor assembly (H). Tighten light kit plate screws (DD) securely.

Fastening the Light kit assembly and Plastic shade to the fan motor assembly
- Loosen one of preassembled light kit screws (HH),Connect the light lead wire, align the light kit (G) with the light kit plate (I) until the screws (HH) engage to the slots on the light kit (G).
- Place the plastic shade (J) into the light kit plate (I), aligning the three flat areas on the top flange of the the plastic shade (J) with the raised dimples in the light kit plate(I).
- Turn the plastic shade (J) clockwise until it stops.

Hanging the fan motor assembly to the mounting bracket
- Lift the fan motor assembly (H) into position, and place the hanger ball (E) into the mounting bracket (B). Rotate the fan motor assembly (H) until the check groove drops into the registration slot and seats firmly. The downrod(F) should not rotate if this is done correctly.

Making the electrical connections

WARNING: To avoid possible electrical shock, ensure the electricity is turned off at the circuit breaker or main fuse box before wiring.
WARNING: Check to see that all connections are tight, including the ground, and that no bare wire is visible at the wire nuts, except for the ground wire.
- Insert the receiver (K) into the mouting bracket (B) with the flat side of the receiver (K) facing the ceiling. Follow the steps below to connect the fan to your house supply wires. Secure the wire nuts (EE) supplied with your fan by wrapping the connections with electrical tape.
- Plug one lead wire of ligh (with 2P connector) and one lead wire of fan (with 3P connector) into the receiver (K).
- Connect the black (hot) wire from the ceiling to the black wire from the receiver (K).
- Connect the white (neutral) wire from the ceiling to the white wire from the receiver (K).
- If your outlet box (1) has a ground wire (green/yellow or bare copper),connect it to the fan ground wires; otherwise, connect the hanger ball (E) ground wire to the mounting bracket (B).
- Secure the wire connection with a plastic wire nut (EE) provided with the electrical hardware.
- After connecting the wires, spread them apart so that the green/yellow and white wires are on one side of the outlet box (1) and the black wires are on the other side. Carefully tuck the wire connections up into the outlet box (1).
NOTE: Extension lead wire (O) is available when your fan installed with a longer downrod.
Securing the fan motor assembly to the mounting bracket
- Remove two mounting bracket screws (EE) from the mounting bracket (B).
- Attach the canopy (D) to the mounting bracket (B) by using the two mounting bracket screws (EE) previously removed.
- Tighten the mounting bracket screws (EE) .
- Align the oval shape on the canopy (C) with canopy cover (D). Push up the canopy cover (D) until the screw (EE) heads engage to the slots on the canopy cover (D), and rotate the canopy cover (D) until it is attached to the bottom of the canopy (C) properly.

Operation
REMOTE CONTROL OPERATING INSTRUCTIONS
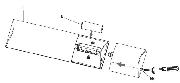
Install a 12V battery (N) into the remote control (L). Fasten the battery cover screw (GG) after installation. To prevent damage to the remote control, remove the battery if not used for long periods of time.
WARNING : Do not short-circuit, disassemble, heat up, connect improperly, or dispose of used batteries in fire. Do not recharge or mix batteries with used or other battery types. Immediately remove used batteries.
WARNING: Chemical Burn Hazard. Keep batteries away from children. This product contains a lithium button/coin cell battery. If a new or used lithium button/coin cell battery is swallowed or enters the body, it can cause severe internal burns and can lead to death in as little as 2 hours. Always completely secure the battery compartment. If the battery compartment does not close securely, stop using the product, remove the batteries, and keep it away from children. If you think batteries might have been swallowed or placed inside any part of the body, seek immediate medical attention.
WARNING: a)The cells shall be disposed of properly, including keeping them away from children; and b) Even used cells may cause injury.
LEARNING PROCESS

NOTE: After the AC power is on, do not press any other button on the remote control before pressing the (FAN ON/OFF) button. Doing so will cause the procedure to fail.
NOTE: After turning the AC power back on, do not press any other button on the remote control before pressing the button. Doing so will cause the learning procedure to fail and the power to the fan will have to be turned off again to start over.
Turn main power to fan back on and within 30 seconds press and hold the button on the remote for 5 seconds to sync the transmitter to the fan Once the fan has detected the remote, the light on the fan will blink twice to indicate your fan is now ready to use. Fans without light-kits have no indicator but will be ready to use after holding the button for the 5 seconds.
NOTE: On start up your ceiling fan will oscillate back and forth. This is NORMAL OPERATION for DC ceiling fan as it goes through its calibration cycle. The fan is NOT DEFECTIVE.

- Fan button.-Press and release the button to turn the fan on or off.
- Fan off. The fan memory function will store the current setting for the next time the fan is in use.
- 1,2,3,4,5,6 buttons:
- These six buttons are used to set the fan sped as follows:
1=low speed 2=medium low speed
3=medium speed 4=medium high speed
5=high speed 6=Extra high speed
- These six buttons are used to set the fan sped as follows:
- Light functions
- Press and release button one time will turn the light on or off.
- Press to increase the desired light level.
- Press to decrease the desired light level.
- Fan reverse button (Must be Pushed when the fan is in operation)
- (Counterclockwise Direction) A downward air flow creates a cooling effect. This allows you to set your air conditioner on a higher setting without affecting your comfort.
- (Clockwise Direction) An upward air flow moves warm air off the ceiling. This allows you to set your heating unit on a lower setting without affecting your comfort.
INSTALLING THE REMOTE CONTROL HOLDER
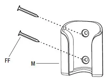
- Attach the remote control holder (M) with the two remote control holder mounting screws (FF).

Care and Cleaning
Do
- Check the support connections, brackets, and blade attachments twice a year. Ensure they are secure. Because of the fan’s natural movement, some connections may become loose over time. It is not necessary to remove the fan from the ceiling.
- Clean your fan periodically. Use only a soft brush or lint-free cloth to avoid scratching the finish. The plating is sealed with a lacquer to minimize discoloration or tarnishing.
- (Optional) Apply a light coat of furniture polish to the wood blades.
- (Optional) Cover small scratches with a light application of shoe polish.
Do not
- Do not use water when cleaning. Water could damage the motor, or the wood, or possibly cause an electrical shock.
- Do not apply oil to your fan or motor. The motor has permanently-lubricated sealed ball bearings.
Troubleshooting
WARNING: Ensure the power is off at the electrical panel box before you attempt any repairs. Refer to the section “Making the Electrical Connections”.
| Problem | Solution |
|
The fan will not start. | □ Check main and branch circuit fuses or breakers. |
| □ Check line wire connections to the fan and switch wire connections in the switch housing. | |
| □ Reset the transmitter by going through the transmitter “LEARNING PROCESS”. | |
|
The fan sounds noisy. | □ Make sure all motor housing screws are snug. |
| □ Make sure the screws that attach the fan blade arm to the motor hub are tight. | |
| □ Make sure wire nut connections are not rattling against each other or the interior wall of the switch housing. | |
| □ Allow a 24-hour “breaking-in” period. Most noises associated with a new fan disappear during this time. | |
| □ If using the ceiling light kit, make sure the screws securing the glassware are tight. Check that the light bulb is also secure. | |
| □ Make sure there is a short distance from the ceiling to the canopy. It should not touch the ceiling. | |
| □ Make sure your ceiling box is secure and rubber isolator pads are used between the mounting bracket and outlet box. | |
| The remote control is not working. | □ Do not connect the fan with wall mounted variable speed control(s). |
| □ Check the battery in the remote control. | |
| □ Ensure you are in the normal range of 10-20 feet. | |
| □ Make sure the receiver has been matched. | |
|
The fan wobbles. | □ Check that all blade and blade arm screws are secure. |
| □ Most fan wobble problems are caused when blade levels are unequal. Check this level by selecting a point on the ceiling above the tip of one of the blades. Measure from a point on the center of each blade to the point on the ceiling. Rotate the fan until the next blade is positioned for measurement. Repeat for each blade. Measurements deviation should be within 1/8 in. Run the fan for 10 minutes. | |
| Fan moves backwards and forwards when turned on. | □ This is normal start-up procedure for DC motor fans. The partial movement during start-up is the result of the DC motor aligning the internal magnetic poles for proper motor operation. This design saves electricity and allows the fan to operate much quieter than standard AC motor fans. |
FCC Statement
This equipment has been tested and found to comply with the limits for a Class B digital device, pursuant to Part 15 of the FCC Rules. These limits are designed to provide reasonable protection against harmful interference in a residential installation. This equipment generates uses and can radiate radio frequency energy and, if not installed and used in accordance with the instructions, may cause harmful interference to radio communications. However, there is no guarantee that interference will not occur in a particular installation. If this equipment does cause harmful interference to radio or television reception, which can be determined by turning the equipment off and on, the user is encouraged to try to correct the interference by one or more of the following measures:
- Reorient or relocate the receiving antenna.
- Increase the separation between the equipment and receiver.
- Connect the equipment into an outlet on a circuit different from that to which the receiver is connected.
- Consult the dealer or an experienced radio/TV technician for help.
CAUTION:
This device complies with Part 15 of the FCC Rules. Operation is subject to the following two conditions:
- This device may not cause harmful interference, and
- this device must accept any interfe
The following responsible party designated in FCC §2.909 is responsible for this declaration:
Model Number: BF9453L56SL/BF9453L56BKDK
Company Name:Breezism LLC
Company Address: 1579, S Bellaire St, Denver, CO, 80222, US
Telephone Number:1-303-500-8801



















