Minka Lavery 2449-66a Cascade 4-light Coal Oval Pendant Light Instruction Manual

Minka Lavery 2449-66a Cascade 4-light Coal Oval Pendant Light Instruction Manual

MINKA LAVERY logo

INSTALLATION INSTRUCTIONS
For Item#2448/2449-66A (New. 2022/07/01)
READ AND SAVE THESE INSTRUCTIONS
WARNING ! SHUT POWER OFF AT FUSE OR CIRCUIT BREAKER .

2449-66A Cascade 4-Light Coal Oval Pendant Light with White Linen Shades

MINKA LAVERY 2449-66A Cascade 4-Light Coal Oval Pendant Light with White Linen Shades

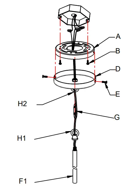
PREPARATION (Fig.1&Fig. 3)

  1. Shut off power at the fuse box or circuit breaker box and remove the old fixture including the mounting hardware.
  2. Carefully unpack your new fixture and lay out all the parts in a clean area. Take care not to misplace any small parts necessary for installation.
  3. Secure rod (J) onto all thread (I) on top of fixture body.
  4. Determine the desired hanging height and thread rods (F1, F2 and F3) to all thread on rod (J). Screw loop (H1) onto rod (F1). Pass the wires carefully through each rod as you assemble
  5. Attach quick link (G) to loop (H1) and loop (H2) on the canopy (D). Carefully feed the wire through loop (H1), quick link (G), and loop (H2).
  6. Attach mounting plate (A) to the junction box (not included) with mounting screws (B) (Size: #8-32N*L0.5”). The side of the mounting plate (A) with “GND” marked on it and two convex points must face out.
    CONNECTING THE WIRES (Fig. 2)
  7. Connect the electrical wires as shown in fig 2, making sure that all wire connectors are secured. If your junction box has a ground wire (green or bare copper), connect the fixture’s ground wire to it. Otherwise, connect the fixture’s ground wire directly to the mounting plate (A) using the green screw provided.
  8. Tuck wire connectors neatly into the junction box.
    COMPLETING THE INSTALLATION (Fig. 1)
  9. Slide canopy (D) over mounting plate (A) and secure with screws (E).
  10. Thread all thread (P) to coupling (K) and tighten with hex nut (Q). Adjust hex nut position if necessary.
  11. Install (4) four medium base bulbs (L) up to 100 watts each or CFL or LED equivalent (not included) in accordance with the fixture specification—DO NOT
    EXCEED THE MAXIMUM WATTAGE RATING! (NE PAS DEPASSER LA PUISSANCE NOMINALE MAXIMALE!).
  12. Place larger metal ring (M), cloth shade (N), smaller metal ring (O), washer (R), plastic washer (S), glass shield (T), metal washer (V) over all thread (P) and secure with finial (U).

MINKA LAVERY 2449-66A Cascade 4-Light Coal Oval Pendant Light with White Linen Shades - fig 1

Your installation is now complete. Return power to the junction box and test the fixture.
Note: Illustration (Fig. 1) on this manual is for installation purposes only. It may or may not be identical to the fixture purchased.

MINKA LAVERY 2449-66A Cascade 4-Light Coal Oval Pendant Light with White Linen Shades - fig 2

MINKA LAVERY 2449-66A Cascade 4-Light Coal Oval Pendant Light with White Linen Shades - fig 3

a. Hardware Bag:
A. Mounting Plate *1
B. Mounting Screw*2
D. Canopy *1
E. Screw*2
G. Quick Link*1
H. Loop*2

MINKA LAVERY 2449-66A Cascade 4-Light Coal Oval Pendant Light with White Linen Shades - fig 4

b. Hardware Bag:
F1. ROD 12″*1
F2. ROD 12″*2
F3. ROD 6″*1

MINKA LAVERY 2449-66A Cascade 4-Light Coal Oval Pendant Light with White Linen Shades - sambol 1

Documents / Resouces

Download manual
Here you can download full pdf version of manual, it may contain additional safety instructions, warranty information, FCC rules, etc.


Related Manuals