BH1EU3000 Trolly Jack
Instruction Manual

BH1EU3000 Trolly Jack






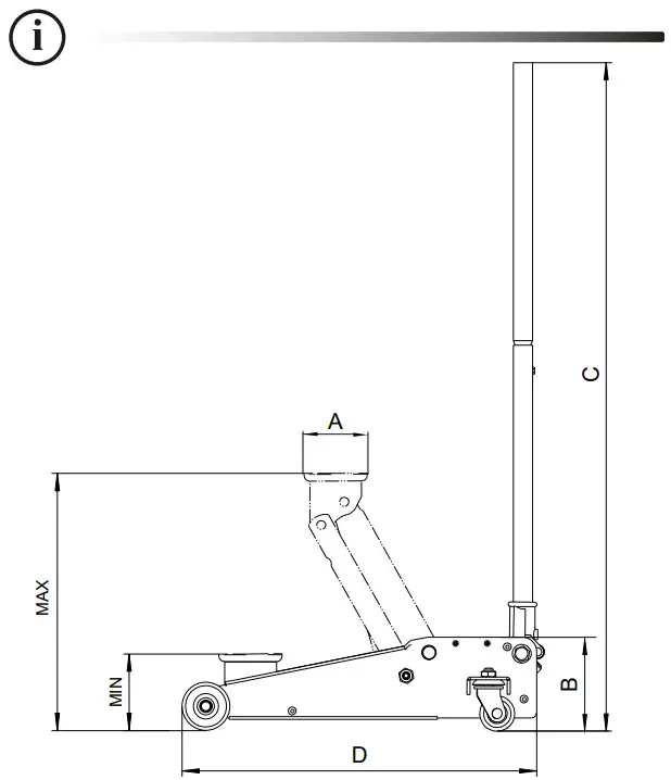
| Ref | MAX (mm) | MIN (mm) | A | B | C | D | |
| BH1EU3000 | 3000 | 462 | 130 | 119 | 157 | 1400 | 617 |
Warnings:
- Study, understand and follow all instructions before operating this jack.
- Do not exceed rated capacity.
- Use only on hard-level surfaces.
- Do not move or transport the vehicle while on the jack.
- Lifting device only. Immediately after lifting, support the vehicle with support stands.
- Lift only on areas of the vehicle as specified by the vehicle manufacturer, and only centrally on the lifting saddle.
- No person shall remain in, on, or get bodily under a load that is being jacked or is supported only by a jack.
- Only original accessories and spare parts shall be used.
- No alterations shall be made to this jack.
- Failure to follow these warnings may result in personal injury and/or property damage.
- Maintenance and repair must always be carried out by qualified personnel.
a. Daily: Inspect jack for damages.
b. Monthly: Lubricate all mechanical parts with a few drops of oil. - Trouble shootings:
a. The jack does not lift to maximum position: refill with oil ISO VG15.
b. The load is dropping due to leaking pump valves or worn seals: Contact your distributor. - According to national legislation – a minimum of once a year through – the jack must be inspected by a professional: damages, wear and tear, adjustment of the safety valve, and hydraulic unit for leakages.
Possible faults and how to overcome them. - Disposal: Oil must be drained off and legally disposed of.
EC DECLARATION OF CONFORMITY
SNA Europe SAS
BP 20104 Eragny
F.95613 Cergy Pontoise- France
Hereby declares that./ The device:
| Type(S) | BH1EU225 | Product | Hydraulic jack | Year | 2015 | |
Was manufactured in conformity with the provisions in the:
2006/42/EC +BS EN1494
| A person authorized to compile the technical file: | SERGIOCAL VO Quality manager NA Europe SAS BP 20104 Eragny F.95613 Cergy Pontolse Franc Date 01/11/2015 |
SERGIO

















