BRABEREQ 35.400.102 Hydraulic Floor Jack

DIMENSION
| MODEL NO. | TYPE | BASE SIZE | MIN. HEIGHT | MAX. HEIGHT | TOTAL LIFT |
| 35.400.102 | 2 TON LOW PROFILE | 36”x14.6” | 2.7” | 24” | 21.3” |
| 35.400.002 | 2 TON STANDARD | 29.6”x14.4” | 4.4” | 20” | 15.6” |
| 35.400.035 | 3-1/2 TON STANDARD | 28.7”x14.4” | 5.2” | 21” | 15.8” |
SAFETY & WARNING INFORMATION
- This is the safety notification symbol. This symbol will notify you of any potential injury hazards. Please follow all instructions that follow this symbol to avoid possible injuries or death.
- Indicates a hazardous situation. If proper steps are not followed, death or serious injury could result.
IMPORTANT: READ ALL INSTRUCTIONS BEFORE USE
- Before operating this device, be sure to read all content within this manual, ensuring that you understand the operating procedures, maintenance requirements and all safety warnings.
- The owner and/or operator shall have an understanding of the product, its operating characteristics, and safety instructions before utilizing this device. Safety information shall be emphasized and understood. If the operator is not fluent in English, the product and safety instructions shall be read to and discussed with the operator in the operator’s native language by the purchaser/owner or his designee, making sure that the operator comprehends their contents.
WARNING: ACTIONS TO HELP PREVENT DANGEROUS SITUATIONS
- The study, understand and follow all instructions before opera ng this device.
- Do not exceed the rated capacity stated.
- Use only on hard-level surfaces.
- This item is to be used as a lifting device only. Immediately after lifting, support the vehicle with appropriate means.
- Do not move or dolly the vehicle while it is on the jack.
- Lift only on areas of the vehicle as specified by the vehicle manufacturer.
- No alterations shall be made to this product.
- Failure to heed these markings may result in serious personal injury and/or property damage.\
SETUP, OPERATION & PREVENTIVE MAINTENANCE
- SETUP
- Prior to each use, visual inspection (See Pg. 5) shall be made to the device by checking for abnormal conditions, such as cracked welds, leaks, and damaged, loose, or missing parts.
- Consult the vehicle owner’s manual to determine the location of lift points.
- Be sure to set the vehicle in park with the emergency brake on and wheels securely chocked.
- Be sure that the vehicle and the jack are on a hard, level surface.
- ASSEMBLY
- If two piece handles are provided, assemble the upper section into the lower section, line up the holes, insert and tighten the screw.
- Insert the bottom end of handle into handle fork and securely tighten the bolt and washer.
Ensure the handle can turn freely.
- LIFTING
- Turn the handle/release valve clockwise to the closed position. Do not over tighten.
- Position the jack under the specified lift point.
- Begin lifting by pumping the handle up and down.
- Immediately after lifting, support the vehicle with appropriately rated jack stands.
- Turn the handle/release valve slowly counterclockwise to lower the vehicle onto jack stands.
- LOWERING
- Turn the handle/release valve clockwise to the closed position. Do not over tighten.
- Pump the handle up and down to lift vehicle o jack stands.
- Remove the jack stands. Do not get under or let anyone get under the vehicle while lowering.
- Turn the handle/release valve slowly counterclockwise to lower the vehicle onto the ground.
MAINTENANCE
NOTICE:
Use high grade hydraulic oil only. Never use brake fluid, motor oil, transmission fluid, turbine oil or any other fluids. ISO-VG22 or equivalent hydraulic oil is recommended.
- CHECK AND REFILL OIL
- With the jack in the fully lowered, level position remove the oil filler screw.
- Proper oil level should be even with the bottom of the oil filling hole.
- Do not overfill. Always fill with new, clean hydraulic jack oil as recommended above.
- Reinstall oil filler screw, and then reinstall unit cover.
- Full replacement of oil is recommended every year for maximum life. To completely drain oil out of the system, follow step one above and then lay the jack on its side allowing the oil to drain into an appropriate container. Once completed, refill the oil reservoir as indicated in step two. Properly dispose of used oil.
- LUBRICATION AND CLEANING
Periodically clean and lubricate all moving parts and pivot points. - AIR VENTING PROCEDURES
- With the jack in the fully lowered position, release valve open, remove oil filler plug.
- Pump the handle rapidly several times. Reinstall oil filler plug.
- Turn the handle/release valve clockwise to the closed position.
- Pump the handle until the lift arm reaches maximum height and continue to pump several times to remove trapped air in the system.
- Turn the handle/release valve counterclockwise in one full turn and lower lift arm to the lowest position. Use force on saddle if necessary.
- Carefully and slowly loosen oil filler plug to release pressurized air.
- Repeat above steps until trapped air is completely vented.
- DAMAGED EQUIPMENT
Any jack that appears to be damaged in any way, is found to be worn, or operates abnormally SHALL BE REMOVED FROM SERVICE UNTIL REPAIRED. It is recommended that necessary repairs be made by a manufacturer’s or supplier’s authorized repair facility if repairs are permitted by the manufacturer or supplier. - ALTERATIONS
Because of potential hazards associated with this type of equipment, no alterations shall be made to the product. - ATTACHMENTS AND ADAPTERS
Only a attachments and/or adapters supplied by the manufacturer shall be used.
INSPECTION, STORAGE & TROUBLESHOOTING
INSPECTION
- Visual inspection shall be made before each use of the device by checking for abnormal conditions, such as cracked welds, leaks, and damaged, loose, or missing parts.
- Other inspections shall be made per product operating instructions.
- This device shall be inspected immediately if the device is believed to have been subjected to an abnormal load or shock. It is recommended that this inspection be made by a manufacturer’s or supplier’s authorized repair facility.
- Owners and/or operators should be aware that repair of this equipment may require specialized knowledge and facilities. It is recommended that an annual inspection of the product be made by a manufacturer’s or supplier’s authorized repair facility and that any defective parts, decals, or safety labels or signs be replaced with manufacturer’s or supplier’s specified parts.
STORAGE
This Jack should be stored in a dry location on a level surface.
TROUBLESHOOTING
| SYMPTOM | POSSIBLE CAUSES | SOLUTION |
| Jack will not lift the load. | 1. Release valve not tightly closed. 2. Low oil level. 3. Defective or worn internal parts. 4. Load exceeds maximum allowance. | 1. Tighten release valve. 2. Check and add oil. Follow “Check and Refill Oil” instructions on Pg.4. 3. Discontinue use and contact a local repair center. 4. Use a higher capacity jack. |
| Jack will not hold the load. | 1. Release valve not tightly closed. 2. Power unit malfunction. | 1. Tighten release valve. 2. Discontinue use and contact a local repair center. |
| Jack will not descend to minimum height, or will not remain in lowered position. | 1. Air trapped in system. 2. Reservoir oil overfilled. | 1. Vent air out of system. Follow “Air Venting Procedures” above. 2. Check and ensure proper oil level. Follow “Check and Refill Oil” instruction on Pg.4. |
| Jack will not lift to max height. | 1. Low oil level. | 1. Check and ensure proper oil level. Follow “Check and Refill Oil” instructions above. |
| Jack will not function properly after tried solution. | 1. Internal malfunction or structural damage. | 1. Discontinue use and contact an authorized repair center. |
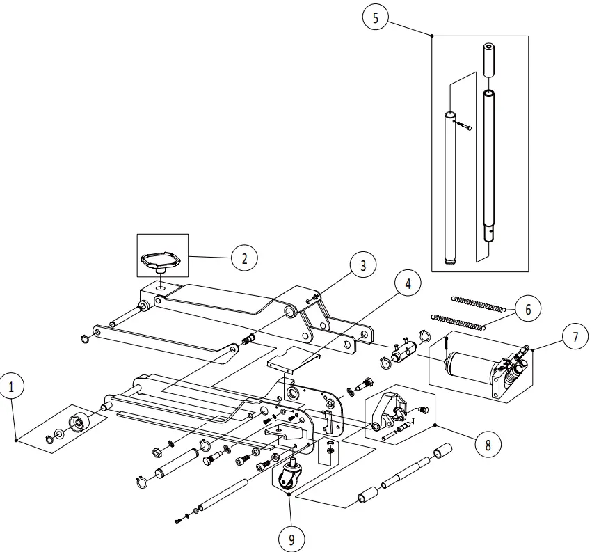
REPLACEABLE PART LIST

| REF | 35.400.102 | 35.400.002 | 35.400.035 | DESCRIPTION | QTY |
| 1 | 105.106B.001 | 105.107B.001 | 105.108B.001 | Front wheel assembly | 2 |
| 2 | 105.106B.002 | 105.107B.002 | 105.108B.002 | Saddle | 1 |
| 3 | Grease Fitting | 1 | |||
| 4 | Cover | 1 | |||
| 5 | 105.106B.003 | 105.107B.003 | 105.108B.003 | Handle Assembly | 1 |
| 6 | Return Spring | 2 | |||
| 7 | 105.106B.004 | 105.107B.004 | 105.108B.004 | Power Unit Assembly | 1 |
| 8 | Handle Fork Assembly | 1 | |||
| 9 | 105.106B.005 | 105.107B.005 | 105.108B.005 | Rear Caster Assembly | 2 |
| 105.106B.006 | 105.107B.006 | 105.108B.006 | Saddle Pads |
WARRANTY INFORMATION
TWO YEARS LIMITED WARRANTY
- For a period of two (2) years from your purchase date, BE AG & INDUSTRIAL will repair or replace (at its option) without charge, your BE AG & INDUSTRIAL product if it was purchased new and the product has failed due to a defect in material or workmanship which you experienced during normal use of the product. This limited warranty is your exclusive remedy.
- If this BE AG & INDUSTRIAL product is altered, abused, misused, modified, or undergoes service by an unauthorized technician, your warranty will be void. We are not responsible for damage to ornamental designs you place on this BE AG & INDUSTRIAL product and such ornamentation should not cover any warnings or instructions or they may void the warranty. This warranty does not cover scratches, superficial dents, and other abrasions to the paint finish that occur under normal use.
- To access the benefits of this warranty, contact the dealer or retailer where the unit was purchased. For further assistance, you can contact BE AG & INDUSTRIAL at [email protected] for confirmation that this warranty applies. Thereafter, you may be advised to return the product under warranty, freight prepaid, to the dealer or directly to the BE AG & INDUSTRIAL service department.
- Subject to the law in your state:
- Your sole and exclusive remedy is repair or replacement of the defective product as described above.
- BE AG & INDUSTRIAL is not liable for any incidental damages, including but not limited to, lost profits and unforeseeable consequences.
- The repair and replacement of this product under the express limited warranty described above is your exclusive remedy and is provided in lieu of all other warranties, express or implied. All other warranties, including implied warranties and warranties of merchantability or fitness for a particular purpose are disclaimed and, if disclaimer is prohibited, these warranties are limited to two years from your date of purchase of this product.
ABOUT COMAPNY
- [email protected]
- TOLL FREE PHONE: 1-877-588-3311


















