
STRONG – ARM

BOTTLE JACK
MODEL NO: CBJ32
PART NO: 7620052
OPERATION AND MAINTENANCE
INSTRUCTIONS

ORIGINAL INSTRUCTIONS
DL0122 – ISS 2
INTRODUCTION
Thank you for purchasing this CLARKE Bottle Jack. Before attempting to use this product, please read this manual thoroughly and follow the instructions carefully. In doing so you will ensure the safety of yourself and that of others around you and you can look forward to your purchase giving you long and satisfactory service. Keep these instructions for future reference.
GUARANTEE
This product is guaranteed against faulty manufacture for a period of 12 months from the date of purchase. Please keep your receipt which will be required as proof of purchase. This guarantee is invalid if the product is found to have been abused or tampered with in any way, or not used for the purpose for which it was intended. Faulty goods should be returned to their place of purchase, no product can be returned to us without prior permission. This guarantee does not affect your statutory rights.
SPECIFICATIONS
| Rated Load | 32 tonne |
| Min Height of saddle | 230 mm |
| Max Height of saddle | 360 mm |
| Number of pump actions from rest to max height Oil type | 146 |
| Pump oil capacity | ISO13 Hydraulic jack oil |
| Dimensions (L x W x H) mm | 0.52 L |
| Weight | 170 x 130 x 230 |
| Length of Operating Handle | 15.9 kg |
SAFETY PRECAUTIONS
- DO NOT exceed the rated capacity of the jack.
- DO NOT let anyone operate the jack unless they have read these safety precautions.
- DO NOT operate the jack if damaged in any way.
- Use the jack in a well-lit work area.
- Keep the work area clean and tidy and free from unrelated items.
- Only use the jack on the level and solid ground, preferably concrete. Never use it on soft/unmade ground as the jack may sink in.
- Make sure that non-essential persons keep a safe distance whilst the jack is in use.
- Make sure there are no people or obstructions under the vehicle before lowering.
- DO NOT work below the vehicle until it is fully supported by axle stands.
- Keep your hands clear of the vehicle until lifting is complete.
- Make sure that you can see the saddle and jacking point throughout the jacking operation in case there is any relative movement.
- ALWAYS make sure that the jack saddle is centered and stable on the lifting the point before lifting and position the jack to avoid operating it from under the vehicle.
- Check the vehicle weight and location of the lifting points by referring to the vehicle owner’s manual.
- DO NOT tamper with the jack or modify it in any way, as this could prove to be dangerous and will invalidate the guarantee.
- Only use the jack for the purpose for which it is intended.
- Use applicable safety equipment, such as protective footwear, when you use this jack.
- Make sure that the jack is correctly maintained and lubricated at all times, and that no corrosion is allowed to weaken any part of it.
- If the jack has been subjected to an abnormal load or shock, it should be removed from service immediately and fully inspected by qualified personnel, and passed as serviceable, before being used again.
- When not in use, store the jack, fully lowered, in a safe, dry, childproof area.
- ALWAYS examine the jack before use. Make sure that all parts are in good condition and operating smoothly, and that no cracks or distortion is apparent. If in doubt do not use.
- DO NOT push a vehicle off the jack or start the engine while supported only by the jack.
- DO NOT use if an oil leak is apparent. Consult the Clarke Service Department.
- If more than one jack is used in unison, they must all be of the same rating and be raised at the same speed to reduce the possibility of the load slipping.
LIFTING OPERATIONS AND LIFTING EQUIPMENT REGULATIONS 1998
This jack, depending on use, may fall within the scope of LOLER. It is the owner’s responsibility to determine whether or not it does and, if so, to comply with any applicable requirements in LOLER, for having the jack thoroughly examined.
ENVIRONMENTAL PROTECTION
- ALWAYS take care to ensure that if hydraulic oil is spilled that it is cleaned away using sand or treated with absorbent granules designed for the purpose.
- ALWAYS make every effort to contain any spillage and prevent ingress into the local water course.
- DO NOT allow any spilled oil to penetrate the ground or soil.
- ALWAYS dispose of any old oil at a local recycling center.
OVERVIEW

| 1 | Ram |
| 2 | Actuating Lever |
| 3 | 3 x Handle Tubes |
| 4 | Release Valve |
| 5 | Oil Filler Plug (behind unit) |
UNPACKING
During transit or storage, it is possible that an air pocket may have developed within the hydraulic ram, and the ram action may therefore appear to be ‘spongy’. In this case, the jack may require purging as described on page 8.
If the jack does not reach its full height, the oil level may require topping up as described in the Maintenance section on page 7.
OPERATION
WARNING: MAKE SURE THAT THE SAFETY PRECAUTIONS ARE STRICTLY FOLLOWED. NO RESPONSIBILITY CAN BE ACCEPTED FOR INCORRECT USE OF THE JACK
RAISING A VEHICLE
- Make sure that the vehicle is stable and is on firm level ground with the wheels chocked before positioning the jack directly below the lifting point.
DO NOT rely upon the vehicle handbrake alone to prevent vehicle movement. - Make sure that the jack is on solid ground. If not, place a piece of solid wood of sufficient size to provide sufficient support below the jack.
- Consult the vehicle owner’s manual to ascertain the location of the lifting points and position the jack below the designated lifting point.
- Locate the slotted end of the jack handle onto the release valve and turn fully clockwise to close the valve.
- Pump the handle and raise the ram so that the jack and lifting point is in full contact. Before proceeding further, make one last check to make sure that:
• the jack is vertical and stable.
• there are no obstructions to the lift and the handle can move freely up and down.
• all personnel are in a safe position. - When satisfied, continue to pump the handle and lift the load to the height required.
- Do not let anyone reach or work below the vehicle until it is firmly supported on suitable axle stands.
LOWERING THE VEHICLE
WARNING: ALWAYS LOWER IN A SLOW AND CONTROLLED MANNER, AND CHECK THAT THERE ARE NO OBSTACLES IN THE PATH OF THE LOAD’S DESCENT. BE VERY CAREFUL WHEN LOWERING HEAVY LOADS.
- The lowering speed is controlled by the amount you turn the release valve. With the axle stands removed, check to make sure that there is no personnel in the immediate vicinity before removing the handle from its housing, and engaging it with the release valve.
- Very slowly turn the handle counterclockwise to open the release valve, and let the jack lower the load, under complete control. Do not open the valve suddenly.
MAINTENANCE
IMPORTANT: Only fully qualified personnel should attempt to repair the jack.
INSPECTION
- Always examine the jack before use, to ensure that all parts are correctly located and secure. Check for hydraulic leaks, signs of damage, or worn parts. Do not use the jack unless it is perfectly serviceable.
• A slight dampness on the ram is normal, but where the leakage is found, the ram seals must be renewed by your CLARKE Spares Department. - The jack must be fully inspected annually:
• Check for cracks and deformation of components.
• Check operation and top up the oil level. (see below).
• Remove rust or corrosion and repaint to prevent corrosion. - After use, store the jack with the ram in its lowest position. This not only releases the pressure in the hydraulic ram but also prevents any possibility of corrosion to the ram.
- Do not leave the jack in the open, exposed to the weather. Keep under cover. If stored for long periods, examine before use, clean, and re-oil. For servicing, speak to your CLARKE dealer or CLARKE Service department.
TOPPING UP THE OIL
It can be necessary from time to time to top up the hydraulic oil level as follows.
- Turn the release valve counterclockwise and let the ram retract to its lowest position.
• It can be necessary to apply force to the saddle for lowering without any weight on the jack. - With the jack in the level position, remove the filler plug and stand upright.
• The oil should be level with the bottom of the oil filler hole. - If below this, top-up.
- Do not overfill. Only use the correct type of oil such as CLARKE hydraulic oil, part number 3050830 (1 liter).
- Replace the filler plug.
- Check the jack for correct operation and purge any air from the system as described below.
PURGING AIR FROM THE JACK
- Turn the release valve counterclockwise one full turn to open.
- Pump the handle eight full strokes.
- Turn the release valve clockwise to close the valve.
- Pump the handle until the ram reaches maximum height and continue to pump several times to remove trapped air.
- Turn the release valve counterclockwise one full turn and lower the ram to its lowest position. Apply pressure if necessary.
- Turn the release valve clockwise to the closed position and check for correct operation. It may be necessary to perform the procedure more than once to evacuate all the air.
TROUBLESHOOTING
| Problem | Reason | Solution |
| Jack will not lift to full height | Low oil level | Check oil level & top up as necessary. |
| Jack will not hold the load | Release valve not closing Hydraulic oil-contaminated Pump valves not sealing Cylinder ram binding | Speak to the CLARKE Service Department |
| Jack piston will not lower | Cylinder ram binding Internal parts worn Internal damage | Speak to the CLARKE Service Department |
| Jack feels spongy when lifting | Air trapped in the hydraulic system | See the air purging procedure above |
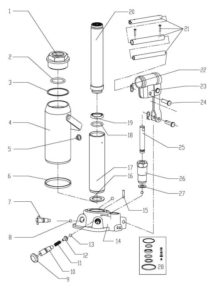
PARTS DIAGRAM

PARTS LIST
| NO | DESCRIPTION |
| 1 | Top cup |
| 2 | O-ring |
| 3 | Rectangular ring |
| 4 | Reservoir |
| 5 | Oil plug |
| 6 | T-ring |
| 7 | Release valve assembly |
| 8 | Ball 6mm |
| 9 | Plastic plug |
| 10 | Adjusting screw assembly |
| 11 | Spring |
| 12 | Spring holder |
| 13 | Steel ball 3mm |
| 14 | Base parts |
| 15 | Oil filter pipe |
| 16 | Cylinder ring |
| 17 | Cylinder |
| 18 | O-Ring |
| 19 | Bowl washer |
| 20 | Piston rod assembly |
| 21 | Handle assembly and Hexagon bolts |
| 22 | Cutter pin |
| 23 | Handle socket assembly |
| 24 | Pin |
| 25 | Pump plunger assembly |
| 26 | Pump |
| 27 | Washer |
| 28 | Seal kit |
DECLARATION OF CONFORMITY

A SELECTION FROM THE VAST RANGE OF

QUALITY PRODUCTS
![]() | AIR COMPRESSORS From DIY to industrial, Plus air tools, spray guns, and accessories.GENERATORS Prime duty or emergency standby for business, home, and leisure.POWER WASHERS Hot and cold, electric and engine driven – we have what you need WELDERS METALWORKING WOODWORKING HYDRAULICS WATER PUMPS POWER TOOLS STARTERS/CHARGERS | ![]() |
PARTS & SERVICE: 0208 988 7400
Parts Enquiries
[email protected]
Servicing & Technical Enquiries
[email protected]
SALES: UK 01992 565333 or Export 00 44 (0)1992 565335
Clarke INTERNATIONAL Hemnall Street, Epping, Essex CM16 4LG
www.clarkeinternational.com





















