
HEAVY-DUTY BOTTLE JACK

| 56736 – 4 Ton 56684 – 8 Ton 56737 – 12 Ton Low Profile 56738 – 12 Ton | 56734 – 20 Ton Low Profile 56735 – 20 Ton 56736 – 30 Ton |
Visit our website at: http://www.harborfreight.com
Email our technical support at: [email protected]
When unpacking, make sure that the product is intact and undamaged. If any parts are missing or broken, please call 1-888-866-5797 as soon as possible.
Copyright© 2021 by Harbor Freight Tools ®. All rights reserved.
No portion of this manual or any artwork contained herein may be reproduced in any shape or form without the express written consent of Harbor Freight Tools.
Diagrams within this manual may not be drawn proportionally. Due to continuing improvements, the actual product may differ slightly from the product described herein. Tools required for assembly and service may not be included.
WARNING
Read this material before using this product. Failure to do so can result in serious injury.
SAVE THIS MANUAL.
Owner’s Manual & Safety Instructions
Save This Manual Keep this manual for the safety warnings and precautions, assembly, operating, inspection, maintenance, and cleaning procedures. Write the product’s serial number in the back of the manual near the assembly diagram (or month and year of purchase if the product has no number).
Keep this manual and the receipt in a safe and dry place for future reference.
Specifications
| ITEM | Weight Capacity | Max. Height | Min. Height | Base Dimensions |
| 56736 | 4 Tons (8,000 lb.) | 14″ | 7-1/4″ | 4″x 3-5/8″ |
| 56684 | 8 Tons (16,000 lb.) | 17-5/8″ | 9″ | 5″x 4-3/8″ |
| 56737 | 12 Tons (24,000 lb.) | 15″ | 7-5/8″ | 5″ x 5″ |
| 56738 | 12 Tons (24,000 lb.) | 18″ | 9″ | 5-1/2″ x 4-1/2″ |
| 56734 | 20 Tons (40,000 lb.) | 16-1/2″ | 8-5/8″ | 5-3/4″ x 5-1/2″ |
| 56735 | 20 Tons (40,000 lb.) | 17-3/8″ | 9-1/4″ | 6-1/2″ x 5-1/2″ |
| 56736 | 30 Tons (60,000 lb.) | 16-1/2″ | 10-1/4″ | 7-3/8″ x 6-5/8″ |
WARNING SYMBOLS AND DEFINITIONS
![]() | This is the safety alert symbol. It is used to alert you to potential personal injury hazards. Obey all safety messages that follow this symbol to avoid possible injury or death. |
| Indicates a hazardous situation that, if not avoided, will result in death or serious injury. |
| Indicates a hazardous situation that, if not avoided, could result in death or serious injury. |
| Indicates a hazardous situation that, if not avoided, could result in minor or moderate injury. |
NOTICE | Addresses practices not related to personal injury. |
IMPORTANT SAFETY INFORMATION
WARNING
Read all safety warnings and instructions.
Failure to follow the warnings and instructions may result in serious injury.
Save all warnings and instructions for future reference.
- The study, understand and follow all instructions before operating this device.
- Do not exceed rated capacity.
- Use only on hard, level surfaces.
- Lifting device only.
Immediately after r lifting, support the vehicle with appropriate means. - Do not adjust the safety valve.
- Wear ANSI-approved safety goggles and heavy-duty work gloves during use.
- Keep clear of load while lifting and lowering.
- Lower load slowly.
- Do not use it for aircraft purposes. 1
- Apply the parking brake and chock tires before lifting the vehicle.
- Lift vehicle only at manufacturer-recommended locations.
- Inspect before every use; do not use if parts lose or damaged.
- Keep your work area clean and well-lit. Cluttered work areas invite accidents.
- Keep bystanders, children, and visitors away while operating jack. Distractions can cause you to lose control. Protect others in the work area.
- Stay alert. Watch what you are doing, and use common sense when operating a jack. Do not use a jack while tired or under the influence of drugs, alcohol, or medication. A moment of inattention while operating jacks may result in serious personal injury.
- Store idle jacks out of reach of children and other untrained persons. Jacks are dangerous in the hands of untrained users.
- Jack service must be performed only by qualified repair personnel. Service or maintenance performed by unqualified personnel could result in a risk of injury.
- When servicing a jack, use only identical replacement parts – refer to attached, product-specific parts list and diagram. Follow instructions in the “Inspection, Maintenance, And Cleaning” section of this manual. Use of unauthorized parts or failure to follow maintenance instructions may create a risk of injury.
- Maintain labels and nameplates on the Jack. These carry important information. If unreadable or missing, contact Harbor Freight Tools for a replacement.
- Before use, read the manufacturer’s instruction manual for the vehicle (or object) you will lift.
- When lifting only one wheel, support the load immediately with one jack stand (not included) placed under the side of the vehicle being lifted. Align the saddle of the jack stand directly under the vehicle’s seam or recommended lifting point.
- When lifting the entire front end or rear end of a vehicle, support the load immediately with two jack stands. Align the saddles of the jack stands directly under the vehicle’s frame or recommended lifting points. Also, adjust the jack stands to the same height.
- Do not work under the vehicle without properly supporting the vehicle with jack stands.
- Avoid dangerous oncoming traffic. Use the Jack as far away from the roadside as possible.
- Industrial applications must follow OSHA requirements.
- Do not allow anyone in the vehicle while using the Jack. Keep all bystanders a safe distance away from the vehicle.
- Do not support both ends of the vehicle at the same time.
- Before lowering the Jack, remove all tools and equipment from under the vehicle.
- The warnings, precautions, and instructions discussed in this manual cannot cover all possible conditions and situations that may occur. The operator must understand that common sense and caution are factors, which cannot be built into this product but must be supplied by the operator.
SAVE THESE INSTRUCTIONS.
Operating Instructions
Read the ENTIRE IMPORTANT SAFETY INFORMATION section at the beginning of this document including all text under subheadings therein before set up or use of this product.
Bleeding
IMPORTANT! Before first use, check for the proper hydraulic oil level in the Jack. Then thoroughly test the Jack for proper operation prior to its actual use. If the Jack appears not to be working properly, it may be necessary to bleed its hydraulic system of excess air.
- Place the lower portion of the Handle over the Release Valve and open it by turning it counterclockwise.

- Insert the Handle into the Fulcrum and pump about five times. Apply pressure to the Saddle and pump Handle quickly several more times to remove trapped air in the Ram.
- Carefully use a flat dull-sided edge to push down the top inside rim of the Oil Fill Plug to equalize pressure inside the Pump, then release the Oil Fill Plug.
Note: Do not use a sharp edge as it may damage the plug.
- Remove the Oil Fill Plug and look into the Oil Fill Hole. If necessary, top off the Oil Fill Hole with hydraulic oil.
- Replace the Oil Fill Plug.
- Turn the handle clockwise to close the Release Valve.
- Test the Jack several times for proper operation before attempting to lift a load. If, after purging, the Jack still does not appear to be working properly, do not use the Jack until it has been repaired by a qualified service technician.
Lifting
WARNING! TO PREVENT SERIOUS INJURY: Set Jack on a flat, level, solid, ground surface. If using with the vehicle, set safely away from oncoming traffic and turn off the vehicle’s engine. Also, place the vehicle’s transmission in “PARK” (if automatic) or in its lowest gear (if manual). Set the vehicle’s emergency brake. Then, block the wheels that are not being lifted.
- Place the lower portion of the Handle over the Release Valve and turn the Handle counterclockwise to lower the Jack. Once the Jack is fully lowered, turn the Handle firmly clockwise to close the Release Valve.
- Carefully position the Saddle of the Jack under the vehicle manufacturer’s recommended lifting point. If equipped, the Elevating Screw can be used to alter the height of the Jack’s Saddle; it is adjusted by turning it clockwise or counterclockwise. (See vehicle manufacturer’s owner’s manual for the location of seam lifting point when lifting only one wheel and frame lifting points when lifting the entire front or rear end of the vehicle.)

- Place the Handle in the Fulcrum and pump until the top of the Jack’s Saddle has nearly reached the vehicle lifting point.

Note: The Jack should be positioned at 90° to the vehicle’s lifting point to ensure the Jack’s Saddle and vehicle lifting point are in alignment. If not, remove and reposition the Jack before lifting the vehicle. - To lift the vehicle, pump the Handle of the Jack. Use smooth, full strokes for best results.
- Once the vehicle is raised, slide a jack stand of appropriate capacity (not included) to the proper lifting point referred to in the vehicle owner’s manual. If using two jack stands, position them at the same point on each side of the vehicle.
- Center the vehicle’s lifting point(s) on the saddle of the jack stand(s). Set up the jack stand(s) according to the manufacturer’s instructions, making sure that they lock securely into position.
Note: If using two jack stands they must be at the same height. - Place the Handle over the Release Valve and slowly turn the Handle counterclockwise to open the Release Valve and lower the vehicle onto the saddle(s) of the jack stand(s). Then, turn the Handle firmly clockwise to close the Release Valve.
Lowering

- Remove all tools, parts, etc. from under the vehicle.
- Position the Saddle under the lifting point. Place Handle over Release Valve and turn the Handle firmly clockwise to close the Release Valve.
- Move the Handle to the Fulcrum and pump to raise the vehicle slightly above the saddle(s) of the jack stand(s). Then, collapse and remove jack stand(s).
- Move the Handle back to the Release Valve and slowly turn the Handle counterclockwise (never more than two full turns) to lower the vehicle onto the ground.
- Lower the Jack completely. Then, store in a safe, dry location out of reach of children’s reach.
Maintenance and Servicing Instructions
Procedures not specifically explained in this manual must be performed only by a qualified technician.
WARNING
TO PREVENT SERIOUS INJURY FROM ACCIDENTAL OPERATION:
Do not use damaged equipment. If abnormal noise or vibration occurs, have the problem corrected before further use.
Cleaning, Maintenance, and Lubrication
- Before each use, inspect the general condition of the Jack. Check for broken, cracked, or bent parts, loose or missing parts, and any condition that may affect the proper operation of the product. If a problem occurs, have the problem corrected before further use. Do not use damaged equipment.
- Before each use, thoroughly test the Jack for proper operation prior to its actual use. If the Jack appears not to be working properly, follow Bleeding instructions on page 4.
- Before each use, check oil level:
a. Open Release Valve by turning it counterclockwise. Lower the jack to its lowest position. Press down on the Saddle if necessary.
b. With the Jack upright in a level, vertical position and the Handle pointing down in the Fulcrum, carefully remove the Oil Fill Plug. The oil level should be level with the bottom of the Oil Fill hole. Top off if necessary but do not overfill. Always fill with clean hydraulic jack oil (not included).
c. Reinstall Oil Fill Plug and close the Release Valve by turning it clockwise. Check Jack’s operation. Bleed air from the system as needed, see instructions on page 4. - Change the hydraulic oil at least once every three years:
a. With the Jack fully lowered, remove the Oil Fill Plug on the side of the Housing.
b. Tip the Jack to allow the old hydraulic oil to drain out of the Housing completely, and dispose of the old hydraulic oil in accordance with local regulations.
c. With the Jack upright, completely fill the Housing with a high-quality hydraulic oil (not included) until the oil just begins to run out of the Oil Fill hole.
d. Then, reinstall the Oil Fill Plug and check jack operation. Bleed air from the system as needed, see instructions on page 4. - Clean with a clean cloth with a detergent or mild solvent. Then, store the Jack in a safe, dry location out of reach of children and other non-authorized people.
Troubleshooting
WARNING
TO PREVENT SERIOUS INJURY: Use caution when troubleshooting a malfunctioning jack. Stay well clear of the supported load. Completely resolve all problems before use. If the solutions presented in the Troubleshooting guide do not solve the problem, have a qualified technician inspect and repair the jack before use. After the jack is repaired: Test it carefully without a load by raising it and lowering it fully, checking for proper operation, BEFORE RETURNING THE JACK TO OPERATION.
DO NOT USE A DAMAGED OR MALFUNCTIONING JACK!
DO NOT USE A DAMAGED OR MALFUNCTIONING JACK!
| POSSIBLE SYMPTOMS | PROBABLE SOLUTION (Make certain that the jack is not supporting a load while attempting a solution.) | |||||
| Jack will not lift at its weight capacity | Saddle lowers under load | Pump stroke feels spongy | The saddle will not lift all the way | Handle moves up hen jack Ws und i load | Oil leaking from fill plug | |
| X | X | Check that Release Valve is closed fully. | ||||
| X | X | X | Valves may be blocked and may not close fully. To flush the valves: 1. Lower the Saddle and securely close the Release Valve. 2. Manually lift the Saddle several inches. 3. Open the Release Valve and force the Saddle down as quickly as possible. | |||
| X | X | X | Jack may be low on oil. Check the oil level and refill if needed. | |||
| Jack may require bleeding – see instructions on page 4. | ||||||
| X | The unit may have too much hydraulic oil inside, check the fluid level, and adjust if needed. | |||||
PLEASE READ THE FOLLOWING CAREFULLY
THE MANUFACTURER AND/OR DISTRIBUTOR HAS PROVIDED THE PARTS LIST AND ASSEMBLY DIAGRAM IN THIS DOCUMENT AS A REFERENCE TOOL ONLY. NEITHER THE MANUFACTURER NOR DISTRIBUTOR MAKES ANY REPRESENTATION OR WARRANTY OF ANY KIND TO THE BUYER THAT HE OR SHE IS QUALIFIED TO MAKE ANY REPAIRS TO THE PRODUCT, OR THAT HE OR SHE IS QUALIFIED TO REPLACE ANY PARTS OF THE PRODUCT. IN FACT, THE MANUFACTURER AND/OR DISTRIBUTOR EXPRESSLY STATES THAT ALL REPAIRS AND PARTS REPLACEMENTS SHOULD BE UNDERTAKEN BY CERTIFIED AND LICENSED TECHNICIANS, AND NOT BY THE BUYER. THE BUYER ASSUMES ALL RISK AND LIABILITY ARISING OUT OF HIS OR HER REPAIRS TO THE ORIGINAL PRODUCT OR REPLACEMENT PARTS THERETO OR ARISING OUT OF HIS OR HER INSTALLATION OF REPLACEMENT PARTS THERETO.
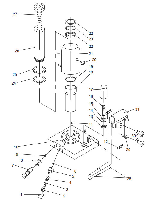
Parts Lists and Diagrams
Parts List and Diagram (56736, 56684, 56735, and 56738)
| Part | Description | Qty |
| 1 | Plug | 1 |
| 2 | Safety Valve | 1 |
| 3 | O-Ring | 1 |
| 4 | Spring | 1 |
| 5 | Spring Holder | 1 |
| 6 | Ball Bearing, Ø4mm | 1 |
| 7 | Release Valve | 1 |
| 8 | O-Ring | 2 |
| 9 | Ball Bearing, Ø6mm | 1 |
| 10 | Base | 1 |
| 11 | Ball Bearing, Ø6mm | 2 |
| 12 | Spring Pin | 2 |
| 13 | Washer | 1 |
| 14 | O-Ring | 1 |
| 15 | Shield Ring | 1 |
| 16 | Pump Plunger | 1 |
| 17 | Pump Body | 1 |
| 18 | Cylinder | 1 |
| 19 | Shield Ring | 1 |
| 20 | Oil Fill Plug | 1 |
| 21 | Housing | 1 |
| 22 | Rectangular Ring | 2 |
| 23 | O-Ring | 1 |
| 24 | Piston O-Ring | 1 |
| 25 | Bowl Washer | 1 |
| 26 | Ram | 1 |
| 27 | Elevating Screw | 1 |
| 28 | Handle | 2 |
| 29 | Connecting Rod | 1 |
| 30 | Pin | 2 |
| 31 | Fulcrum | 1 |

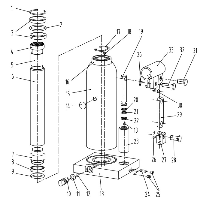
Parts List and Diagram (56734 and 56737)
| Part | Description | Qty |
| 1 | Round Wire Snap Ring | 1 |
| 2 | Guide Bush | 1 |
| 3 | O-Ring | 2 |
| 4 | Elevating Screw | 1 |
| 5 | Nut | 1 |
| 6 | Ram | 1 |
| 7 | Piston | 1 |
| 8 | Cap Seal | 1 |
| 9 | O-Ring | 1 |
| 10 | Release Valve | 1 |
| 11 | O-Ring | 1 |
| 12 | Steel Ball | 1 |
| 13 | Base | 1 |
| 14 | Oil Fill Plug | 1 |
| 15 | Housing | 1 |
| 16 | Cylinder | 1 |
| 17 | Retainer Ring | 1 |
| 18 | Steel Ball | 2 |
| 19 | Pump Plunger | 1 |
| 20 | Retainer Ring | 1 |
| 21 | O-Ring | 1 |
| 22 | Stop Block | 1 |
| 23 | Pump Cylinder | 1 |
| 24 | Filter | 1 |
| 25 | Pin | 2 |
| 26 | Cotter Pin | 2 |
| 27 | Link Base | 1 |
| 28 | Rivet | 1 |
| 29 | Link | 1 |
| 30 | Pin | 1 |
| 31 | Rivet | 1 |
| 32 | Rivet | 1 |
| 33 | Fulcrum | 1 |
| 34 | Handle (not shown) | 1 |

Parts List and Diagram (56736)
| Part | Description | Qty |
| 1 | Round Wire Snap Ring | 1 |
| 2 | Rectangular Ring | 2 |
| 3 | O-Ring | 1 |
| 4 | Ram | 1 |
| 5 | Bowl Washer | 1 |
| 6 | O-RIng | 1 |
| 7 | Round Wire Snap Ring | 1 |
| 8 | Housing | 1 |
| 9 | Steel Bass Ø6mm | 3 |
| 10 | Release Valve | 1 |
| 11 | Plug | 1 |
| 12 | Adjusting Screw | 1 |
| 13 | Spring | 1 |
| 14 | Spring Holder | 1 |
| 15 | Steel Ball Ø3mm | 1 |
| 16 | Retainer Washer | 1 |
| 17 | Pump Plunger Assembly | 1 |
| 18 | Oil Fill Plug | 1 |
| 19 | Cutter Pin | 3 |
| 20 | Pin | 3 |
| 21 | Fulcrum | 1 |
| 22 | Handle Assembly | 1 |
| 23 | Seal Kit | 1 |

Limited 90 Day Warranty
Harbor Freight Tools Co. makes every effort to assure that its products meet high-quality and durability standards, and warrants to the original purchaser that this product is free from defects in materials and workmanship for the period of 90 days from the date of purchase.
This warranty does not apply to damage due directly or indirectly, to misuse, abuse, negligence or accidents, repairs or alterations outside our facilities, criminal activity, improper installation, normal wear, and tear, or to lack of maintenance. We shall in no event be liable for death, injuries to persons or property, or for incidental, contingent, special or consequential damages arising from the use of our product. Some states do not allow the exclusion or limitation of incidental or consequential damages, so the above limitation of exclusion may not apply to you.
THIS WARRANTY IS EXPRESSLY IN LIEU OF ALL OTHER WARRANTIES, EXPRESS OR IMPLIED, INCLUDING THE WARRANTIES OF MERCHANTABILITY AND FITNESS.
To take advantage of this warranty, the product or part must be returned to us with transportation charges prepaid. Proof of purchase date and an explanation of the complaint must accompany the merchandise. If our inspection verifies the defect, we will either repair or replace the product at our election or we may elect to refund the purchase price if we cannot readily and quickly provide you with a replacement. We will return repaired products at our expense, but if we determine there is no defect, or that the defect resulted from causes not within the scope of our warranty, then you must bear the cost of returning the product.
This warranty gives you specific legal rights and you may also have other rights which vary from state to state.
Record Serial Number Here:
Note: If the product has no serial number, record the month and year of purchase instead.
Note: Some parts are listed and shown for illustration purposes only, and are not available individually as replacement parts. Parts may not be interchangeable.
4 Ton (56736): 792363566841
8 Ton (56684): 792363566843
12 Ton (56738): 792363567388
12 Ton Low Profile (56737): 792363567371
20 Ton (56735): 193175370556
20 Ton Low Profile (56734): 792363567340
30 Ton (56736): 792363567367

26541 Agoura Road • Calabasas, CA 91302 • 1-888-866-5797






















