STX-26 Stump Grinder
Owner’s Manual
Register at www.Toro.com.
Original Instructions![]()

Model No. 23208—Serial No. 409550000 and Up
Model No. 23208G—Serial No. 405300000 and Up
STX-26 Stump Grinder
This product complies with all relevant European directives when CE Kit 22368 has been installed; for details, please see the separate product-specific Declaration of Conformity (DOC) sheet.
It is a violation of California Public Resource Code Section 4442 or 4443 to use or operate the engine on any forest-covered, brush-covered, or grass-covered land unless the engine is equipped with a spark arrester, as defined in Section 4442, maintained in effective working order or the engine is constructed, equipped, and maintained for the prevention of fire.
The enclosed engine owner’s manual is supplied for information regarding the US Environmental Protection Agency (EPA) and the California Emission Control Regulation of emission systems, maintenance, and warranty. Replacements may be ordered through the engine manufacturer.
WARNING
CALIFORNIA
Proposition 65 Warning The engine exhaust from this product contains chemicals known to the State of California to cause cancer, birth defects, or other reproductive harm.
Battery posts, terminals, and related accessories contain lead and lead compounds, chemicals known to the State of California to cause cancer and reproductive harm. Wash hands after handling.
Use of this product may cause exposure to chemicals known to the State of California to cause cancer, birth defects, or other reproductive harm.
Introduction
This machine is designed to grind and remove tree stumps and surface roots. It is not intended to cut rock or any other material other than wood and the soil around a stump. Using this product for purposes other than its intended use could prove dangerous to you and bystanders.
Read this information carefully to learn how to operate and maintain your product properly and to avoid injury and product damage. You are responsible for operating the product properly and safely.
Visit www.Toro.com for product safety and operation training materials, accessory information, help to find a dealer, or to register your product.
Whenever you need service, genuine Toro parts, or additional information, contact an Authorized Service Dealer or Toro Customer Service and have the model and serial numbers of your product ready. Figure 1 illustrates the location of the model and serial numbers on the product. Write the numbers in the space provided.
Important: With your mobile device, you can scan the QR code on the serial number decal (if equipped) to access warranty, parts, and other product information.
This manual identifies potential hazards and has safety messages identified by the safety alert symbol (Figure 2), which signals a hazard that may cause serious injury or death if you do not follow the recommended precautions.

- Model and serial number plate
Model No………..
Serial No…………….

- Safety-alert symbol
This manual uses 2 words to highlight information.
Important calls attention to special mechanical information and Note emphasizes general information worthy of special attention.
Safety
General Safety
DANGER
There may be buried utility lines in the work area. Digging into them may cause a shock or an explosion.
Have the property or work area marked for buried lines and do not dig in marked areas.
Contact your local marking service or utility company to have the property marked (for example, in the US, call 811 or in Australia, call 1100 for the nationwide marking service).
This product is capable of amputating hands and feet.
Always follow all safety instructions to avoid serious injury or death.
- Have the property or work area marked for buried lines and other objects, and do not dig in marked areas.
- Keep your hands and feet away from moving teeth or other parts.
- Keep bystanders and pets away from the machine.
- Read and understand the content of this Operator’s Manual before starting the engine.
- Never allow children or untrained people to operate the machine.
- Do not operate the machine without the guards and other safety protective devices in place and working on the machine.
- Use your full attention while operating the machine. Do not engage in any activity that causes distractions; otherwise, injury or property damage may occur.
- Stop the machine, shut off the engine, and remove the key before servicing, fueling, or unclogging the machine.
Improperly using or maintaining this machine can result in injury. To reduce the potential for injury, comply with these safety instructions and always pay attention to the safety alert symbol,
which means Caution, Warning, or Danger—personal safety instruction. Failure to comply with these instructions may result in personal injury or death.
Safety and Instructional Decals
Safety decals and instructions are easily visible to the operator and are located near any area of potential danger. Replace any decal that is damaged or missing.![]()
Battery Symbols
| 1. Explosion hazard 2. No fire, open flame, or smoking 3. Caustic liquid/chemical burn hazard 4. Wear eye protection. 5. Read the Operator’s Manual. | 6. Keep bystanders away from the battery. 7. Wear eye protection; explosive gases can cause blindness and other injuries. 8. Battery acid can cause blindness or severe burns. 9. Flush eyes immediately with water and get medical help fast. 10. Contains lead; do not discard |
![]()
- Hydraulic fluid
- Read the Operator’s Manual.
Cutting/dismemberment hazard of hands and feet, rotating knives/blades—stay away from moving parts.
![]()
- Entanglement hazard, belt—stay away from moving parts.
![]()
- Lift point/Tie-down point
![]()
- Crushing hazard of hand—keep bystanders away.
- Crushing hazard of foot—keep bystanders away.
Decal 107-8495 is for machines with the CE Kit installed only.
![]()
- Parking brake
![]()
- Thrown object hazard—keep bystanders away from the machine.
![]()
- Ignition key
- Engine—start
- Engine—run
- Engine—stop
- Fast
- Engine speed
- Slow
- On/Closed
- Choke
- Off/Open
- Read the Operator’s Manual before starting the engine—1) Ensure that the traction control is in the NEUTRAL position; 2) Move the throttle lever to the FAST position, close the choke (if applicable), and do not operate the joystick; 3) Turn the key to start the engine.
![]()
- Push forward to lower the stump grinder.
- Move right to move the stump grinder to the right.
- Pull back to raise the stump grinder.
- Move left to move the stump grinder to the left.
- Read the Operator’s Manual before operating the cutter; engage the side lever and top button of the joystick to start the cutter blade; continue engaging the side lever to
maintain cutter rotation. - 1) To power the grinder, press the safety lock and the trigger together; 2) To keep the grinder running, hold the trigger.
- 1) Grind horizontally along the edge of the stump; 2) Lower the grinder slightly into the stump; 3) Grind horizontally down to ground level; 4) Move the grinder forward.
- Do not start grinding in the middle of the stump; start grinding at the edge of the stump.
![]()
![]()
- Read the Operator’s Manual.
![]()
| 1. Turn right 3. Reverse | 2. Forward 4. Turn left |
Warning—read the Operator’s Manual.- Cutting/dismemberment hazard; grinder—keep bystanders away from the machine; do not operate the grinder head while transporting the machine.
- Warning—stay away from moving parts; wait for all moving parts to stop.
- Warning—do not operate this machine unless you are trained.
- Explosion and electric shock hazard—do not dig in areas with buried utility lines; contact local power organizations before digging.
- Tipping/crushing hazard—lower the cutter head when operating on slopes.
- Explosion hazard, fueling—shut off the engine and extinguish all flames when fueling.
- Warning—lower the grinder head, engage the parking brake (if applicable), shut off the engine, and remove the key before leaving the machine.
Setup
Loose Parts
Use the chart below to verify that all parts have been shipped.
| Procedure | Description | Qty. | Use |
| 1 | Grinder control lever Jam nut | 1 1 | Install the grinder control lever. |
| 2 | No parts required | Check the fluid levels. | |
| 3 | No parts required | — | Charge the battery. |
Installing the Grinder Control Lever
Parts needed for this procedure:
1 Grinder control lever
1 Jam nut
Procedure
- Thread the jam nut onto the grinder control lever (Figure 3).
1. Grinder control lever
3. 4-pin connector
2. Jam nut - Thread the grinder control lever into the receptacle on the control panel (Figure 3).
- With the trigger oriented forward, tighten the jam nut against the receptacle to secure the lever in place (Figure 3).
- Connect the wire on the lever to the 4-pin connector under the control panel (Figure 3).
Checking the Fluid Levels
No Parts Required
Procedure
Before starting the engine for the first time, check the engine oil and hydraulic-fluid levels. Refer to the following sections for more information:
- Checking the Engine-Oil Level (page 24)
- Checking the Hydraulic-Fluid Level (page 37)
Charging the Battery
No Parts Required
Procedure
Charge the battery; refer to Charging the Battery (page 29) for more information.
Product Overview

| 1. Reverse safety plate 2. Control panel 3. Engine | 4. Battery 5. Tie-down/lift point 6. Parking-brake lever (machines with CE kit only) | 7. Track 8. Chip shield 9. Grinder |
Controls
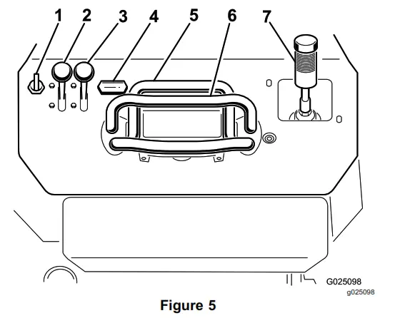
Become familiar with all the controls (Figure 5) before you start the engine and operate the machine.
Control Panel

| 1. Key switch 2. Throttle lever 3. Choke lever 4. Hour meter | 5. Traction control 6. Reference bar 7. Grinder control/hydraulic-lift lever |
Key Switch
The key switch used to start and shut off the engine has 3 positions: OFF, RUN, and START. Refer to Starting the Engine (page 15).
Throttle Lever
Move the control forward to increase the engine speed and rearward to decrease the engine speed.
Choke Lever
Before starting a cold engine, move the choke lever forward. After the engine starts, regulate the choke to keep the engine running smoothly. As soon as possible, move the choke lever all the way rearward.
Note: A warm engine requires little or no choking.
Hour Meter
The hour meter displays the number of hours of operation that have been logged on the machine.
Reference Bar
When driving the machine, use the reference bar as a handle and a leverage point for controlling the machine. To ensure smooth, controlled operation, do not take both hands off the reference bar while operating the machine.
Parking-Brake Lever (Machines with CE Kit Only)
To engage the parking brake, lift the lever upward.
To disengage the parking brake, push the lever downward.
1. Parking-brake lever
Traction Control

- Reference bar
- Traction control
- To move forward, move the traction control forward (Figure 8).

- To move rearward, move the traction control rearward (Figure 9).
Important: When reversing, look behind you for obstructions and keep your hands on the reference bar.
- To turn right, rotate the traction control clockwise (Figure 10).

- To turn left, rotate the traction control counterclockwise (Figure 11).

- To stop the machine, release the traction control (Figure 7).
Note: The farther you move the traction control in any direction, the faster the machine moves in that direction.
Grinder Control/Hydraulic-Lift Lever
Operate the grinder using the grinder control lever as follows:
- To start the grinder (Figure 12), squeeze the trigger and then press the red button on the top of the lever. Once the grinder has started, you can release the red button.
- To stop the grinder (Figure 12), release the trigger for more than a half-second.
Note: If you are operating the grinder and momentarily release the trigger (i.e., less than a half second), the grinder continues to operate.
| 1. Neutral 2. Start the grinder | 3. Run the grinder 4. Stop the grinder |
- To raise the grinder, pull the lever rearward (Figure 13).

- To lower the grinder, push the lever forward (Figure 14).

- To rotate the grinder to the right or left, move the lever in the desired direction (Figure 15).

Specifications
Note: Specifications and design are subject to change without notice.
| Width | 84 cm (33 inches) |
| Length | 198.5 cm (78 inches) |
| Height | 113 cm (44.5 inches) |
| Weight | 544 Kg (1,200 lb) |
Attachments/Accessories
A selection of Toro-approved attachments and accessories is available for use with the machine to enhance and expand its capabilities. Contact your Authorized Service Dealer or authorized Toro distributor or go to www.Toro.com for a list of all approved attachments and accessories.
To ensure optimum performance and continued safety certification of the machine, use only genuine Toro replacement parts and accessories. Replacement parts and accessories made by other manufacturers could be dangerous, and such use could void the product warranty.
Operation
Note: Determine the left and right sides of the machine from the normal operating position.
Before Operation Before Operation Safety
General Safety
- Have the property or work area marked for buried lines and other objects, and do not dig in marked areas; note the location of unmarked objects and structures, such as underground storage tanks, wells, and septic systems.
- Inspect the area where you will use the equipment.
– Evaluate the terrain to determine what accessories and attachments you need to properly and safely perform the job.
– Remove all debris.
– Ensure that the area is clear of bystanders before operating the machine.
– Stop the machine if anyone enters the area. - Become familiar with the safe operation of the equipment, operator controls, and safety decals.
– The owner is responsible for training all operators and mechanics.
– Never allow children or untrained people to operate or service the machine. Local regulations may restrict the age or require certified training of the operator.
– Know how to stop the machine and shut off the engine quickly.
– Check that the operator’s presence controls, safety switches, and shields are attached and functioning properly. Do not operate the machine unless they are functioning properly.
– Locate the pinch-point areas marked on the machine and attachments; keep your hands and feet away from these areas.
– Stop the machine, shut off the engine, and remove the key before leaving the operating position.
Fuel Safety
- Use extreme care in handling fuel. It is flammable and its vapors are explosive.
- Extinguish all cigarettes, cigars, pipes, and other sources of ignition.
- Use only an approved fuel container.
- Do not remove the fuel cap or fill the fuel tank while the engine is running or hot.
- Do not add or drain the fuel in an enclosed space.
- Do not store the machine or fuel container where there is an open flame, spark, or pilot light, such as on a water heater or other appliance.
- If you spill fuel, do not attempt to start the engine; avoid creating any source of ignition until the fuel vapors have dissipated.
- Do not fill containers inside a vehicle or on a truck or trailer bed with a plastic liner. Always place containers on the ground, away from your vehicle before filling.
- Remove the equipment from the truck or trailer and refuel it while it is on the ground. If this is not possible, then refuel from a portable container rather than a fuel-dispenser nozzle.
- Keep the fuel-dispenser nozzle in contact with the rim of the fuel tank or container opening at all times until fueling is complete. Do not use a nozzle lock-open device.
Adding Fuel
Recommended Fuel
- For best results, use only clean, fresh (less than 30 days old), unleaded gasoline with an octane rating of 87 or higher ((R+M)/2 rating method).
- Ethanol: Gasoline with up to 10% ethanol (gasohol) or 15% MTBE (methyl tertiary butyl ether) by volume is acceptable. Ethanol and MTBE are not the same. Gasoline with 15% ethanol (E15) by volume is not approved for use.
Never use gasoline that contains more than 10% ethanol by volume, such as E15 (contains 15% ethanol), E20 (contains 20% ethanol), or E85 (contains up to 85% ethanol). Using unapproved gasoline may cause performance problems and/or engine damage which may not be covered under warranty. - Do not use gasoline containing methanol.
- Do not store fuel either in the fuel tank or fuel containers over the winter unless you use a fuel stabilizer.
- Do not add oil to gasoline.
Using a Stabilizer/Conditioner
Use a fuel stabilizer/conditioner in the machine to keep the fuel fresh longer when used as directed by the fuel-stabilizer manufacturer.
Important: Do not use fuel additives containing methanol or ethanol.
Add the amount of fuel stabilizer/conditioner to fresh fuel as directed by the fuel-stabilizer manufacturer.
Filling the Fuel Tank
- Park the machine on a level surface, engage the parking brake (if equipped), and lower the grinder.
- Shut off the engine, remove the key, and allow the engine to cool.
- Clean around the fuel-tank cap and remove it (Figure 16).
1. Fuel-tank cap
2. Fuel gauge - Add fuel to the tank until the level is 6 to 13 mm (1/4 to 1/2 inch) below the bottom of the filler neck.
Important: This space in the tank allows fuel to expand. Do not fill the fuel tank completely full. - Install the fuel-tank cap securely, turning it on until it clicks.
- Wipe up any spilled fuel.
Performing Daily Maintenance
Before starting the machine each day, perform the Each Use/Daily procedures listed in Maintenance (page 19).
During Operation
During Operation Safety
General Safety
- Keep your hands and feet away from moving teeth or other parts.
– Keep bystanders and pets away from the machine and never carry passengers.
– Wear appropriate clothing, including eye protection, long pants, substantial slip-resistant footwear, and hearing protection.
– Tie back long hair and do not wear loose clothing or loose jewelry.
– Stop grinding if anyone enters the area. - Operate the machine only in areas where there is sufficient clearance for you to safely maneuver.
- Be aware of obstacles in close proximity to you. Failure to maintain adequate distance from trees, walls, and other barriers may result in injury as the machine backs up during operation if you are not attentive to the surroundings.
- Look behind and down before backing up to ensure that the path is clear.
- Use your full attention while operating the machine. Do not engage in any activity that causes distractions; otherwise, injury or property damage may occur.
- Never jerk the controls; use a steady motion.
- The owner/user can prevent and is responsible for accidents that may cause personal injury or property damage.
- Do not operate the machine when you are tired, ill, or under the influence of alcohol or drugs.
- Operate the machine only in good light.
- Ensure that all the drives are in neutral and engage the parking brake before starting the engine. Start the engine only from the operator’s position.
- Use care when approaching blind corners, shrubs, trees, or other objects that may obscure vision.
- Stop the grinder when you are not grinding.
- Stop the machine, shut off the engine, remove the key, and inspect the machine if you strike an object. Make any necessary repairs before resuming operation.
- Never run an engine in an enclosed area.
- Never leave a running machine unattended.
- Before leaving the operating position, do the following:
– Park the machine on a level surface.
– Lower the grinder to the ground.
– Engage the parking brake.
– Shut off the engine and remove the key. - Check for overhead clearance (i.e., electrical wires, branches, and doorways) before driving under any objects, and do not contact them.
- Do not operate the machine when there is a risk of lightning.
- Use only Toro-approved attachments and accessories.
Slope Safety
- Operate up and down slopes with the front of the machine uphill.
- Raising the grinder on a slope affects the stability of the machine. Keep the grinder in the lowered position when on slopes.
- Slopes are a major factor related to loss-of-control and tip-over accidents, which can result in severe injury or death. Operating the machine on any slope or uneven terrain requires extra caution.
- Establish your own procedures and rules for operating on slopes. These procedures must include surveying the site to determine which slopes are safe for machine operation. Always use common sense and good judgment when performing this survey.
- Slow down and use extra care on hillsides. Ground conditions can affect the stability of the machine.
- Avoid starting or stopping the machine on a slope.
- Avoid turning on slopes. If you must turn, turn slowly and keep the heavy end of the machine uphill.
- Keep all movements on slopes slow and gradual.
Do not make sudden changes in speed or direction. - If you feel uneasy operating the machine on a slope, do not do it.
- Watch for holes, ruts, or bumps, as uneven terrain could overturn the machine. Tall grass can hide obstacles.
- Use caution when operating on wet surfaces.
Reduced traction could cause sliding. - Evaluate the area to ensure that the ground is stable enough to support the machine.
- Use caution when operating the machine near the following:
– Drop-offs
– Ditches
– Embankments
– Bodies of water
The machine could suddenly roll over if a track goes over the edge of the edge caves in. Maintain a safe distance between the machine and any hazards. - If the machine starts to tip, let go of the controls and step away from the machine.
- Do not park the machine on a hillside or slope.
Starting the Engine
- Move the throttle lever midway between the SLOW and FAST positions (Figure 17).
1. Throttle lever
2. Choke lever
3. Key - Move the choke lever to the ON position (Figure 17).
Note: A warm or hot engine may not require choking. - Turn the key to the ON position (Figure 17).
When the engine starts, release the key.
Important: Do not engage the starter for more than 10 seconds at a time. If the engine fails to start, allow a 30-second cooldown period between attempts. Failure to follow
these instructions can burn out the starter motor. - Gradually move the choke lever to the OFF position (Figure 17). If the engine stalls or hesitates, engage the choke again until the engine warms up.
- Move the throttle lever to the desired setting (Figure 17).
Important: Running the engine at high speeds when the hydraulic system is cold (i.e., when the air temperature is at or below freezing) could damage the hydraulic system. When starting the engine in cold conditions, allow it to run in the middle throttle position for 2 to 5 minutes before
moving the throttle to the FAST position.
Note: If the outdoor temperature is below freezing, store the machine in a garage to keep it warmer and aid in starting.
Driving the Machine
Use the traction controls to move the machine. The farther you move the traction controls in any direction, the faster the machine moves in that direction.
Release the traction controls to stop the machine.
CAUTION
When reversing, you may back into stationary objects or over bystanders and cause serious personal injury or death.
Look behind you for obstructions or bystanders and keep your hands on the reference bar.
The throttle control regulates the engine speed as measured in rpm (revolutions per minute). Place the throttle lever in the FAST position for best performance.
You can, however, use the throttle position to operate at slower speeds.
Shutting off the engine
- Park the machine on a level surface, engage the parking brake (if applicable), and lower the grinder.
- Move the throttle lever to the SLOW position.
- If the engine has been working hard or is hot, let it idle for a minute before turning the key switch to the OFF position.
Note: This helps to cool the engine before you shut it off. In an emergency, you can shut off the engine immediately. - Turn the key switch to the OFF position and remove the key.
CAUTION
A child or untrained bystander could attempt to operate the machine and be injured.
Remove the key from the switch when leaving the machine, even if just for a few seconds.
Grinding a Stump
- Start the engine, raise the grinder, set the throttle lever to the FAST position, and move the machine to the stump to be ground.
- Use the grinder control lever and the traction control to position the grinder to the side of the front of the stump, about 2 cm (1 inch) below the surface (Figure 18).
- Start the grinder and wait for it to get up to full speed.
- Use the grinder control lever to swing the grinder slowly across the face of the stump, cutting away a swath of chips (Figure 18).
Important: The grinder automatically slows down the speed at which it swings into the stump to maintain the optimum flywheel speed and not bog down in the wood.
Move the machine forward a few centimeters (inches) and repeat step 4(Figure 18).- Repeat steps 4 through 5 until you have ground off the entire face of the stump (Figure 18).
- Back up the machine, position the grinder to the side of the front of the stump, and lower it to about 2 cm (1 inch) below the surface.
- Repeat steps 4 through 7 until the stump is ground away.
- If there are any large roots to be ground, position the grinder over each root and use the traction control and grinder control to move the grinder along the root, grinding it away.
- Clean debris from the hydraulic lift, drives, mufflers, and engine after each use; refer to Removing Debris from the Machine (page 40).
Operating Tips
- Clean the area of trash, branches, and rocks before operating to prevent equipment damage.
- Always use full throttle (maximum engine speed) when grinding.
- Cut the edges of the stump for more efficient grinding. Once your cutting swath is close to 1/4 of the wheel diameter, lower the grinder and begin cutting on the edge again.

- Listen to the engine and watch the grinder wheel speed to maintain the speed of the wheel. Slow down the head sweep by feathering the joystick as cutting becomes difficult.
- As you grind from left to right, most of the debris goes to the left of the grinder wheel. When you grind from the right to left, the debris goes to the right.
- You may also grind a stump from the side to lessen turf damage.
After Operation
After Operation Safety
General Safety
- Park the machine on a level surface, disengage the grinder hydraulics, lower the grinder, engage the parking brake, shut off the engine, and remove the key. Wait for all movement to stop and allow the machine to cool before adjusting, servicing, cleaning, or storing it.
- Clean debris from the drives, mufflers, and engine to help prevent fires. Clean up oil or fuel spills.
- Keep all parts in good working condition and all hardware tightened.
- Use care when loading or unloading the machine into a trailer or truck.
Moving a Non-Functioning Machine
Important: Do not tow or pull the machine without first opening the tow valves, or you will damage the hydraulic system.
- Engage the parking brake and lower the grinder.
- Shut off the engine and remove the key.
- Remove the bottom shield.
- Using a wrench, turn the tow valves on the hydraulic pumps twice counter-clockwise (Figure 20).
1. Tow valves - Install the bottom shield and tow the machine as required.
- After repairing the machine, close the tow valves before operating it.
Securing the Machine for
Transport
Important: Do not operate or drive the machine on roadways. Use care when loading or unloading the machine into a trailer or truck.
- Park the machine on a level surface, engage the parking brake (if applicable), and lower the grinder.
- Shut off the engine and remove the key.
- Secure the machine to a trailer with chains or straps using the tie-down/lift loops at the front and rear of the machine (Figure 21 and Figure 22). Refer to your local ordinances for trailer and tie-down requirements.
1. Front tie-down loop
Lifting the Machine
You can lift the machine using the tie-down/lift loops as lift points (Figure 21 and Figure 22).
Maintenance
Note: Determine the left and right sides of the machine from the normal operating position.
CAUTION
If you leave the key in the key switch, someone could accidentally start the engine and seriously injure you or other bystanders.
Remove the key from the key switch and disconnect the wires from the spark plugs before you do any maintenance. Set the wires aside so that they do not accidentally contact the spark plugs.
Maintenance Safety
- Park the machine on a level surface, disengage the grinder hydraulics, lower the grinder, engage the parking brake, shut off the engine, and remove the key. Wait for all movement to stop and allow the machine to cool before adjusting, servicing, cleaning, or storing it.
- Clean up oil or fuel spills.
- Do not allow untrained personnel to service the machine.
- Use jack stands to support the components when required.
- Carefully release pressure from components with stored energy.
- Disconnect the battery before making any repairs.
- Keep your hands and feet away from the moving parts. If possible, do not make adjustments with the engine running.
- Keep all parts in good working condition and all hardware tightened. Replace all worn or damaged decals.
- Do not tamper with the safety devices.
- Use only genuine Toro replacement parts.
Recommended Maintenance Schedule(s)
| Maintenance Service Interval | Maintenance Procedure | |
| After the first 8 hours | • | Change the engine oil. |
| After the first 50 hours | • | Check and adjust the track tension. |
| • | Grease the machine. (Grease immediately after every washing.) | |
| • | Check the engine oil level. | |
| • | Check the condition of and clean the tracks. | |
| Before each use or daily | • | Check the condition of the teeth; rotate or replace any that are worn or damaged and torque the nuts for all teeth. |
| • | Check for loose fasteners. | |
| After each use | • | Remove debris from the machine. |
| • | Check the battery electrolyte level. | |
| Every 25 hours | • | Check the hydraulic fluid level. |
| • | Change the engine oil. | |
| • | Replace or clean and gap the spark plug(s). | |
| Every 100 hours | • | Check and adjust the track tension. |
| • | Check the hydraulic lines for leaks, loose fittings, kinked lines, loose mounting supports, wear, weather, and chemical deterioration and repair if necessary. | |
| • | Change the engine-oil filter. | |
| Every 200 hours | • | Replace the fuel filter. |
| • | Replace the hydraulic filter. | |
| • | Replace the primary air filter and check the condition of the safety filter (more often | |
| Every 250 hours | in dirty or dusty conditions). | |
| • | Check and grease the road wheels. | |
| Every 400 hours | • | Change the hydraulic fluid. |
| Every 500 hours | • | Replace the safety air filter (more often in dirty or dusty conditions). |
| Every 1,500 hours | • | Replace all moving hydraulic hoses. |
| Yearly or before storage | • • | Check and adjust the track tension. Touch-up chipped paint. |
Important: Refer to your engine owner’s manual for additional maintenance procedures.
Pre-Maintenance Procedures
Removing the Cover Plate
Important: The fasteners on the covers of this machine are designed to remain on the cover after removal. Loosen all fasteners on each cover a few turns so that the cover is loose but still attached, then go back and loosen them until the cover comes free. This prevents you from accidentally stripping the bolts free of the retainers.
- Park the machine on a level surface, engage the parking brake (if applicable), and lower the grinder.
- Shut off the engine and remove the key.
WARNING
There is a belt under the cover that is moving when the machine is running and can catch fingers, hands, loose hair, and clothing, causing serious injury, amputation, or death.
Always shut off the engine and wait for all moving parts to stop before removing the cover. - Loosen the bolt at the rear of the cover plate.
- Loosen the 3 bolts securing the cover plate to the frame sequentially until the cover is loose (Figure 23).
1. Cover plate - Pull up the rear of the cover plate until it clears the engine and then pull it off over the bolt heads and off the machine.
- To install the cover plate before operating the machine, slide the plate into place and secure it with the 3 bolts you loosened previously (Figure 23).
Removing the Bottom Shield
Important: The fasteners on the covers of this machine are designed to remain on the cover after removal. Loosen all fasteners on each cover a few turns so that the cover is loose but still attached, then go back and loosen them until the cover comes free. This prevents you from accidentally stripping the bolts free of the retainers.
- Park the machine on a level surface, engage the parking brake (if applicable), and lower the grinder.
- Shut off the engine and remove the key.
- Loosen the 2 bolts securing the bottom shield sequentially until the shield is free (Figure 24).
1. Bottom shield
2. Bolts - Pull the shield back and out of the machine.
- To install the shield before operating the machine, slide the bottom shield into the machine so that it rests on all 4 tabs and secure it with the 2 bolts you loosened previously (Figure 24).
Note: You may need to lift up the bottom shield to ensure that it rests on the front tabs.
Lubrication
Greasing the Machine
Service Interval: Before each use or daily (Grease immediately after every washing.) Grease Type: General-purpose grease
- Park the machine on a level surface and lower the grinder.
- Shut off the engine and remove the key.
- Clean the grease fittings with a rag.
- Connect a grease gun to each fitting (Figure 25 and Figure 26).
- Pump grease into the fittings until grease begins to ooze out of the bearings (approximately 3 pumps).
- Wipe up any excess grease.


Engine Maintenance
Engine Safety
- Shut off the engine before checking the oil or adding oil to the crankcase.
- Do not change the engine governor setting or over-speed the engine.
- Keep your hands, feet, face, clothing, and other body parts away from the muffler and other hot surfaces.
Servicing the Air Cleaner
Service Interval: Every 250 hours—Replace the primary air filter and check the condition of the safety filter (more often in dirty or dusty conditions).
Every 500 hours—Replace the safety air filter (more often in dirty or dusty conditions).
Removing the Filters
- Park the machine on a level surface, engage the parking brake (if applicable), and lower the grinder.
- Shut off the engine and remove the key.
- Release the latches on the air cleaner and pull the air-cleaner cover off the air-cleaner body (Figure 27).

1. Air-cleaner body
2. Primary filter
3. Latch4. Air-cleaner cover
5. Safety filter - Clean the inside of the air-cleaner cover with compressed air.
- Gently slide the primary filter out of the air-cleaner body (Figure 27).
Note: Avoid knocking the filter into the side of the body. - Remove the safety filter only if you intend to replace it.
Important: Do not attempt to clean the safety filter. If the safety filter is dirty, then the primary filter is damaged. Replace both filters.
Servicing the Primary Filter
Inspect the primary filter for damage by looking into the filter while shining a bright light on the outside of the filter.
Note: Holes in the filter appear as bright spots. If the filter is dirty, bent, or damaged, replace it. Do not clean the primary filter.
Servicing the Safety Filter
Replace the safety filter; never clean it.
Important: Do not attempt to clean the safety filter. If the safety filter is dirty, then the primary filter is damaged. Replace both filters.
Installing the Filters
Important: To prevent engine damage, always operate the engine with both air filters and the cover installed.
- If installing new filters, check each filter for shipping damage.
Note: Do not use a damaged filter. - If you are replacing the safety filter, carefully slide it into the filter body (Figure 27).
- Carefully slide the primary filter over the safety filter (Figure 27).
Note: Ensure that the primary filter is fully seated by pushing on its outer rim while installing it.
Important: Do not press on the soft inside area of the filter. - Install the air-cleaner cover with the side indicated as up facing upward and secure the latches (Figure 27).
Servicing the Engine Oil
Service Interval: After the first 8 hours—Change the engine oil.
Before each use or daily—Check the engine oil level.
Every 100 hours—Change the engine oil.
Every 200 hours—Change the engine oil filter.
Engine-Oil Specifications
Note: Change the oil more frequently when the operating conditions are extremely dusty or sandy.
Oil Type: Detergent oil (API service SF, SG, SH, or SJ) Crankcase Capacity: 2.1 L (71 fl oz) with the filter removed; 1.8 L (61 fl oz) without the filter removed
Viscosity: Refer to the table below.
Checking the Engine-Oil Level
- Park the machine on a level surface, engage the parking brake (if applicable), and lower the grinder.
- Shut off the engine and remove the key.

Changing the Engine Oil
Note: Dispose of the used oil at a recycling center.
- Start the engine and let it run for 5 minutes.
Note: This warms the oil so that it drains better. - Park the machine on a level surface, engage the parking brake (if applicable), and lower the grinder.
- Shut off the engine and remove the key.
- Change the oil as shown in (Figure 30).

- Slowly pour approximately 80% of the specified oil into the filler tube and slowly add the additional oil to bring it to the Full mark (Figure31).

- Start the engine and drive to a flat area.
- Check the oil level again.
Changing the Engine-Oil Filter
- Drain the oil from the engine; refer to Changing the Engine Oil (page 25).
- Change the engine oil filter (Figure 32).
Note: Ensure that the oil-filter gasket touches the engine, and then turn the oil filter an extra 3/4 turn. - Fill the crankcase with the proper type of new oil; refer to Engine-Oil Specifications (page 24).
Servicing the Spark Plug(s)
Service Interval: Every 100 hours
Make sure that the air gap between the center and side electrodes is correct before installing the spark plug(s). Use a spark plug wrench for removing and installing the spark plug(s) and a gapping tool/feeler gauge to check and adjust the air gap. Install a new spark plug(s) if necessary.
Type of Spark Plug: NGK ® BPR4ES or equivalent
Air Gap: 0.75 mm (0.03 inch)
Removing the Spark Plug(s)
- Park the machine on a level surface, engage the parking brake (if applicable), and lower the grinder.
- Shut off the engine and remove the key.
- Locate and remove the spark plug(s) as shown in Figure 33.

Checking the Spark Plug(s)
Important: Do not clean the spark plug(s).
Always replace the spark plug(s) when it has: a black coating, worn electrodes, an oily film, or cracks.
If you see light brown or gray on the insulator, the engine is operating properly. A black coating on the insulator usually means the air cleaner is dirty.
Set the gap to 0.75 mm (0.03 inch).
Installing the Spark Plug(s)

Fuel System Maintenance
DANGER
In certain conditions, fuel is extremely flammable and highly explosive. A fire or explosion from the fuel can burn you and others and can damage property.
Refer to Fuel Safety (page 13) for a complete list of fuel-related precautions.
Draining the Fuel Tank
- Park the machine on a level surface, engage the parking brake (if applicable), and lower the grinder.
- Shut off the engine and remove the key.
- Turn the fuel-shutoff valve to the closed position (Figure 36).
1. Fuel-shutoff valve - Squeeze the ends of the hose clamp on the engine side of the valve together and slide it up the fuel line away from the valve (Figure 36).
- Pull the fuel line off the valve (Figure 36).
- Open the fuel-shutoff valve and allow the fuel to drain into a fuel can or drain pan.
Note: If desired, you can replace the fuel filter at this time; refer to Replacing the Fuel Filter (page 28). - Install the fuel line onto the fuel-shutoff valve.
Slide the hose clamp close to the valve to secure the fuel line. - Wipe up any spilled fuel.
Replacing the Fuel Filter
Service Interval: Every 200 hours
- Park the machine on a level surface, engage the parking brake (if applicable), and lower the grinder.
- Shut off the engine and remove the key.

Electrical System Maintenance
Electrical System Safety
- Disconnect the battery before repairing the machine. Disconnect the negative terminal first and the positive last. Connect the positive terminal first and the negative last.
- Charge the battery in an open, well-ventilated area, away from sparks and flames. Unplug the charger before connecting or disconnecting the battery. Wear protective clothing and use insulated tools.
- Battery acid is poisonous and can cause burns.
Avoid contact with skin, eyes, and clothing. Protect your face, eyes, and clothing when working with a battery. - Battery gases can explode. Keep cigarettes, sparks, and flames away from the battery.
Servicing the Battery
Service Interval: Every 25 hours—Check the battery electrolyte level.
Always keep the battery clean and fully charged. Use a paper towel to clean the battery case. If the battery terminals are corroded, clean them with a solution of 4 parts water and 1 part baking soda. Apply a light coating of grease to the battery terminals to reduce corrosion.
Voltage: 12 V with 350 A (cold cranking) at -18°C (0ºF).
WARNING
Battery terminals or metal tools could short against metal machine components, causing sparks. Sparks can cause the battery gasses to explode, resulting in personal injury.
- When removing or installing the battery, do not allow the battery terminals to touch any metal parts of the machine.
- Do not allow metal tools to short between the battery terminals and metal parts of the machine.
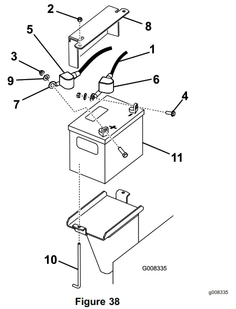
Removing the Battery
- Park the machine on a level surface, engage the parking brake (if applicable), and lower the grinder.
- Shut off the engine and remove the key.
- Lift the black rubber cover on the negative cable.
Disconnect the negative battery cable from the negative (-) battery terminal (Figure 38).
1. Negative cable
2. Nut (1/4 inch)
3. Nut (5/16 inch)
4. Bolt
5. Rubber cover (red)
6. Rubber cover (black)7. Positive cable
8. Battery hold-down plate
9. Washer
10. J-bolt
11. Battery - Slide the red terminal boot off the positive (red) battery terminal, then remove the positive (red) battery cable (Figure 38).
- Remove the hold-down plate, J-bolts, and locknuts securing the battery (Figure 38) and remove the battery.
Charging the Battery
WARNING
Charging the battery produces gasses that can explode.
Never smoke near the battery and keep sparks and flames away from the battery.
Important: Always keep the battery fully charged (1.265 specific gravity). This is especially important to prevent battery damage when the temperature is below 0°C (32°F).
- Remove the battery from the machine; refer to Removing the Battery (page 29).
- Charge the battery at a rate of 3 to 4 A for 4 to 8 hours (Figure 39). Do not overcharge the battery.

1. Positive battery post
2. Negative battery post3. Red (+) charger lead
4. Black (-) charger lead - When the battery is fully charged, unplug the charger from the electrical outlet, then disconnect the charger leads from the battery posts (Figure 39).
Cleaning the Battery
Note: Keep the terminals and the entire battery case clean, because a dirty battery discharges slowly.
- Park the machine on a level surface, engage the parking brake (if applicable), and lower the grinder.
- Shut off the engine and remove the key.
- Remove the battery from the machine; Remove the Battery (page 29).
- Wash the entire case with a solution of baking soda and water.
- Rinse the battery with clear water.
- Coat the battery posts and cable connectors with Grafo 112X (skin-over) grease (Toro Part No. 505-47) or petroleum jelly to prevent corrosion.
- Install the battery; refer to Installing the Battery (page 30).
Installing the Battery
1. Using the fasteners previously removed, install the positive (red) battery cable to the positive (+) battery terminal (Figure 38).
2. Slide the red terminal boot onto the positive battery post.
3. Using the fasteners previously removed, install the negative (black) battery cable to the negative (-) battery terminal (Figure 38).
4. Secure the battery using the bar and wing nuts (Figure 38).
Important: Ensure that the battery cables do not contact any sharp edges or each other.
Servicing a Replacement Battery
The original battery is maintenance-free and does not require service. For servicing a replacement battery, refer to the battery manufacturer’s instructions.
Replacing the Fuses
There are 4 fuses in the electrical system. They are under the control panel on the left side (Figure 40).
| Start circuit | 30 A |
| Charge circuit | 25 A |
| Cooler fan circuit | 20 A |
| Headlight (optional) | 15 A |
1. Fuse block
Drive System Maintenance
Servicing the Tracks
Cleaning the Tracks
Service Interval: Before each use or daily Check the tracks for excessive wear and clean them periodically. If the tracks are worn, replace them.
- Park the machine on a level surface, engage the parking brake (if applicable), and lower the grinder.
- Shut off the engine and remove the key.
- Using a water hose or pressure washer, remove dirt from each track system.
Important: Ensure that you use high-pressure water to wash only the track area. Do not use a high-pressure washer to clean the rest of the machine. High-pressure washing can damage the electrical system and hydraulic valves or deplete grease.
Important: Ensure that you fully clean the road wheels and the drive wheel (Figure 41). The road wheels should rotate freely when clean.
1. Road wheels
3. Track
2. Drive wheel
Checking and Adjusting the Track Tension
Service Interval: After the first 50 hours Every 100 hours
To check the tension of each track, place 20.4 kg (45 lb) on the track midway between the front road wheel and the drive wheel. The track should flex no more than 0.6 to 1 cm (1/4 to 3/8 inch). If it does, adjust the track tension using the following procedure:
- Park the machine on a level surface, engage the parking brake (if applicable), and lower the grinder.
- Shut off the engine and remove the key.
- Loosen the jam nut on the track tensioning bolt and the clamp bolts on the tension arm (Figure 43).
1. Tensioning bolt
3. Clamp bolts
2. Jam nut - Torque the tensioning bolt to 32.5 to 40 N∙m (24 to 30 ft-lb) to tighten the track (Figure 43).
- Ensure that the track deflects less than 0.6 to 1 cm (1/4 to 3/8 inch) when 20.6 kg (45 lb) of force is applied to the track span. Adjust the torque on the tensioning bolt as needed.
- Tighten the jam nut.
- Tighten the clamp bolts and torque to 102 N∙m (75 ft-lb).
Replacing the Tracks
When the tracks are badly worn, replace them.
- Park the machine on a level surface, engage the parking brake (if applicable), and lower the grinder.
- Shut off the engine and remove the key.
- Lift and support the side of the unit to be worked on so that the track is 7.6 to 10 cm (3 to 4 inches) off the ground.
- Back out the tensioning bolt and jam nut (Figure 43).
- Loosen the clamp bolts (Figure 43).
- Push the front road wheel rearward as far as it can go (Figure 44).
1. Front road wheel - Begin removing the track at the top of the front road wheel, peeling it off the wheel while rotating the track forward.
Note: You may need to remove the front, outside road wheel. To remove it, remove the snap ring and cap from the center of the road wheel (Figure 45). Next, remove the bolt and gasket from the center of the wheel and pull the wheel off the machine.
1. Snap ring
2. Cap
3. Bolt4. Gasket
5. Wheel with bearings - When the track is off the road wheel, remove it from the machine (Figure 44).
- Beginning at the drive wheel, coil the new track around the wheel, ensuring that the lugs on the track fit between the spacers on the wheel (Figure 44).
- Push the track under and between the rear and center road wheels (Figure 44).
- Starting at the bottom of the front road wheel, install the track around the wheel by rotating the track rearward while pushing the lugs into the wheel.
- If you removed the front, and outside road wheel, install it at this time using the bolt and gasket removed previously. Torque the bolt to 102 N∙m (75 ft-lb) and then clean, grease, and install the cap and snap ring as instructed in the Checking and Greasing the Road Wheels (page 33).
- Install the tensioning bolt and jam nut.
- Torque the tensioning bolt to 32.5 to 40 N∙m (24 to 30 ft-lb) to tighten the track.
- Ensure that the track deflects less than 0.6 to 1 cm (1/4 to 3/8 inch) when 20.6 kg (45 lb) of force is applied to the track span. Adjust the torque on the tensioning bolt as needed.
- Tighten the jam nut.
- Tighten the clamp bolts and torque to 102 N∙m (75 ft-lb).
- Lower the machine to the ground.
- Repeat the procedure to replace the other track.
Checking and Greasing the Road Wheels
Service Interval: Every 250 hours
- Park the machine on a level surface, engage the parking brake (if applicable), and lower the grinder.
- Shut off the engine and remove the key.
- Remove the tracks; refer to Replacing the Tracks (page 32).
- Remove the snap ring and cap from a road wheel (Figure 46).
1. Road wheel
3. Snap ring
2. Road wheel cap - Check the grease under the cap and around the gasket (Figure 46). If it is dirty, gritty, or depleted, clean out all of the greases, replace the gasket, and add new grease.
- Ensure that the road wheel turns smoothly on the bearing. If it is frozen, contact your Authorized Service Dealer to replace the road wheel.
- Place the greased road wheel cap over the bolt head (Figure 46).
- Secure the road wheel cap with the snap ring (Figure 46).
- Repeat steps 4 through 8 for all 12 road wheels.
- Install the tracks; refer to Replacing the Tracks (page 32).
Belt Maintenance
Replacing the Pump-Drive Belt
If the pump drive belt begins to squeal or is cracked, worn, or frayed, replace it. Contact your Authorized Service Dealer for a replacement belt.
- Park the machine on a level surface, engage the parking brake (if applicable), and lower the grinder.
- Shut off the engine and remove the key.
- Raise the back of the machine and support it on jack stands.
- Remove the bottom shield; refer to Removing the Bottom Shield (page 21).
- Loosen the 2 pump bolts (Figure 47).

1. Pump
2. Pump bolts3. Belt
4. Idler-pulley spring - Twist the pump counterclockwise and allow it to drop down away from the pulley (Figure 47).
Note: Ensure that the spider coupler drops down with the pump. - Using a spring puller (contact your Authorized Service Dealer) or stiff metal hook, pull the end of the idler pulley spring off the spring bolt to release the tension on the belt (Figure 47).
- Remove the belt.
- Route a new belt around the pulleys.
- Install the idler-pulley spring on the bolt.
- Ensure that the spider coupler is in place on the pump and then insert it into the pulley, twisting it clockwise to seat it on the pump bolts.
- Torque the pump bolts to 68 N∙m (50 ft-lb).
- Install the bottom shield.
Controls System Maintenance
Adjusting the
Traction-Control Alignment
The factory adjusts the traction controls before shipping the machine. However, after many hours of use, you may need to adjust the traction-control alignment, the neutral position of the traction control, and the tracking of the traction control in the full forward position.
Important: To adjust the controls properly, complete each procedure in the order listed.
Adjusting the Traction-Control Reverse Position
If the traction control bar does not rest flush and square with the reference bar when in the full reverse position, immediately complete the following procedure:
- Park the machine on a level surface, engage the parking brake (if applicable), and lower the grinder.
- Shut off the engine and remove the key.
- Pull back the traction control so that the front of the control contacts the reference bar (Figure 48).
1. Front of the control (out of
2. Reference bar alignment) - If the front of the traction control does not rest square and flush with the reference bar, loosen the nut and bolt in the stem of the traction control (Figure 49).
1. Traction control
2. Stem, bolt, and nut - Adjust the traction control so that it rests flush against the reference bar when it is pulled straight back (Figure 49 and Figure 50).
6. Tighten the flange nut and bolt in the traction control stem.
7. Start the engine.
8. Drive the machine in reverse with the traction control tight to the reference bar. If the machine does not back up straight, complete the following procedure:
A. Shut off the engine
B. Lift and support the machine so that both tracks are off the ground and are free to run.
C. Loosen the flange nut and bolt in the stem of the traction control (Figure 49).
D. Loosen the jam nuts on the traction rods, under the control panel (Figure 51).
1. Traction rod
2. Jam nut
E. Start the machine and set the throttle to about the 1/3 open position.
WARNING
When the machine is running, you could be caught and injured in moving parts or burned on hot surfaces.
Stay away from pinch points, moving parts, and hot surfaces when adjusting the running machine.
F. Have a helper hold the traction control tight to the reference bar in reverse.
G. Adjust the length of the traction rods until both tracks are running at the same speed.
Note: You can also adjust the maximum reverse speed of the tracks at this time.
H. Tighten the jam nuts.
I. Adjust the traction control so that it rests flush against the reference bar when it is pulled straight back (Figure 49 and Figure 50).
J. Tighten the flange nut and bolt in the traction control stem.
K. Shut off the engine and lower the machine to the ground.
L. Drive the machine in full reverse, checking to see if the machine tracks are straight. If it does not, note the direction in which the machine veers. Repeat the adjustment so that the machine tracks straight in reverse.
Adjusting the Traction-Control Neutral Position
If the machine creeps forward or backward when the traction control is in neutral and the machine is warm, you may need to adjust the return-to-neutral mechanism on the pumps; contact your Authorized Service Dealer.
Adjusting the Traction-Control Forward Position If the machine does not drive straight when you hold the traction control forward against the reference bar, complete the following procedure:
- Drive the machine with the traction control against the reference bar, noting in which direction the machine veers.
- Release the traction control.
- If the machine veers to the left, loosen the right jam nut and adjust the tracking set screw on the front of the traction control (Figure 52).
- If the machine veers to the right, loosen the left jam nut and adjust the tracking set screw on the front of the traction control (Figure 52).
1. Set screw
3. Stop
2. Jam nut - Repeat the procedure until the machine drives straight in the full forward position.
Important: Ensure that the set screws touch the stops in the full forward position to avoid over-stroking the hydraulic pumps.
Hydraulic System Maintenance
Hydraulic System Safety
- Seek immediate medical attention if fluid is injected into the skin. Injected fluid must be surgically removed within a few hours by a doctor.
- Ensure that all hydraulic-fluid hoses and lines are in good condition and that all hydraulic connections and fittings are tight before applying pressure to the hydraulic system.
- Keep your body and hands away from pinhole leaks or nozzles that eject high-pressure hydraulic fluid.
- Use cardboard or paper to find hydraulic leaks.
- Safely relieve all pressure in the hydraulic system before performing any work on the hydraulic system.
Hydraulic Fluid Specifications
Every 1,500 hours/Every 2 years (whichever comes first)
Hydraulic Tank Capacity: 23 L (6 US gallons) Use only 1 of the following fluids in the hydraulic system:
- Toro Premium Transmission/Hydraulic Tractor Fluid (refer to your Authorized Service Dealer for more information)
- Toro Premium All Season Hydraulic Fluid (refer to your Authorized Service Dealer for more information)
- If either of the above Toro fluids is not available, you may use another Universal Tractor Hydraulic Fluid (UTHF), but they must be only conventional, petroleum-based products. The specifications must fall within the listed range for all the following material properties and the fluid should meet the listed industry standards. Check with your hydraulic fluid supplier to determine if the fluid meets these specifications.
Note: Toro will not assume responsibility for damage caused by improper substitutions, so use only products from reputable manufacturers who will stand behind their recommendations.
| Material Properties | |
| Viscosity, ASTM D445 | cSt at 40°C: 55 to 62 |
| cSt at 100°C: 9.1 to 9.8 | |
| Viscosity index, ASTM D2270 | 140 to 152 |
| Pour Point, ASTM D97 | -37 to -43°C (-35 to -46°F) |
| Industry Standards | |
| API GL-4, AGCO Powerfluid 821 XL, Ford New Holland FNHA-2-C-201.00, Kubota UDT, John Deere J20C, Vickers 35VQ25, and Volvo WB-101/BM | |
Note: Many hydraulic fluids are almost colorless, making it difficult to spot leaks. A red dye additive for the hydraulic system fluid is available in 20 ml (0.67 fl oz) bottles. One bottle is sufficient for 15 to 22 L (4 to 6 US gallons) of hydraulic fluid. Order Part No. 44-2500 from your Authorized Service Dealer.
Checking the
Hydraulic-Fluid Level
Service Interval: Every 25 hours
Refer to Hydraulic Fluid Specifications (page 37).
- Park the machine on a level surface, engage the parking brake (if applicable), and lower the grinder.
- Shut off the engine and remove the key.
- Look into the glass bubble on the right side of the machine. If you cannot see hydraulic fluid in the bubble, continue this procedure to add fluid.
1. Hydraulic-fluid check bubble - Remove the cover plate; refer to Removing the Cover Plate (page 21).
- Clean the area around the filler neck of the hydraulic tank and remove the cap and filter from the filler neck using a socket (Figure 54).

1. Filler-neck cap
2. Hydraulic-fluid filter - If the level is low, add fluid until it is visible in the glass bubble.
- Install the cap and filter on the filler neck and torque bolt on top to 13 to 15.5 N∙m (110 to 140 in-lb).
- Install the cover plate; refer to Removing the Cover Plate (page 21).
Replacing the Hydraulic Filter
Service Interval: Every 200 hours
- Park the machine on a level surface, engage the parking brake (if applicable), and lower the grinder.
- Shut off the engine and remove the key.
- Remove the top cover.
- Remove and discard the old filter (Figure 55).
1. Filler cap
2. Hydraulic filter - Install the replacement hydraulic filter and filler cap (Figure 55) and torque the bolt on top to 13 to 15.5 N∙m (110 to 140 in-lb).
- Clean up any spilled fluid.
- Install the top cover.
Changing the Hydraulic Fluid
Service Interval: Every 400 hours/Yearly (whichever comes first)
- Park the machine on a level surface, engage the parking brake (if applicable), and lower the grinder.
- Shut off the engine and remove the key.
- Allow the machine to cool completely.
- Remove the top cover.
- Remove the hydraulic-tank filler cap and filter (Figure 54).
- Place a drain pan capable of holding 37.8 L (10 US gallons) under the hydraulic tank.
- Pinch the hose clamp and slide the clamp and hose off the fitting on the hydraulic tank, allowing hydraulic fluid to drain from the hose and tank into the pan.
1. Hose
2. Hydraulic tank fitting
3. Hose clamp - When finished, install the hose onto the fitting and secure it with the hose clamp.
Note: Dispose of the used oil at a certified recycling center. - Fill the hydraulic tank with hydraulic fluid; refer to Hydraulic Fluid Specifications (page 37).
- Install the hydraulic filter and filler cap (Figure 54) and torque the bolt on top to 13 to 15.5 N∙m (110 to 140 in-lb).
- Start the engine and let it run for a few minutes.
- Shut off the engine.
- Check the hydraulic-fluid level and top it off if necessary; refer to Checking the Hydraulic-Fluid Level (page 37).
- Clean up any spilled fluid.
- Install the top cover.
Grinder Maintenance
Replacing the Teeth
Service Interval: Before each use or daily—Check the condition of the teeth; rotate or replace any that are worn or damaged and torque the nuts for all teeth.
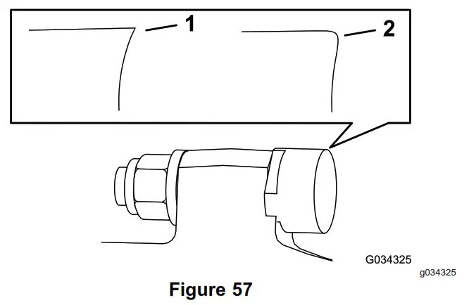
Due to the high amount of wear placed on the teeth, you need to rotate and replace them periodically (Figure 57).
1. Sharp tooth
2. Worn tooth
Each tooth is indexed with 3 positions so you can rotate it twice, exposing a new sharp edge before replacing the tooth. To rotate a tooth, loosen the nut securing the tooth (Figure 58). Push the tooth forward and rotate it one-third of a turn, bringing an unused edge to the outside. Torque the nut securing the tooth to 68 N∙m (50 ft-lb).
To replace a tooth, remove the nut securing the tooth to remove it, then install a new tooth, spacer, and nut in the same position (Figure 58). Torque the nut securing the tooth to 68 N∙m (50 ft-lb).
1. Nut
3. Tooth
2. Tooth holder
Cleaning
Removing Debris from the Machine
Service Interval: After each use
Important: Operating the engine with blocked screens, dirty or plugged cooling fins, and/or cooling shrouds removed will result in engine damage from overheating.
- Park the machine on a level surface, engage the parking brake (if applicable), and lower the grinder.
- Shut off the engine, remove the key, and wait for the engine to cool.
- Wipe away debris from the air cleaner.
- Clean any debris buildup on the engine and muffler with a brush or blower.
Important: It is preferable to blow dirt out, rather than washing it out. If you use water, keep it away from electrical items and hydraulic valves. Do not use a high-pressure washer. High-pressure washing can damage the electrical system and hydraulic valves or deplete grease. - Clean debris from the oil cooler.
Storage
Storage Safety
- Allow the machine to cool before storing.
- Do not store the machine or fuel near flames.
Storage
Service Interval: Before each use or daily
Yearly or before storage
Yearly or before storage
- Park the machine on a level surface, engage the parking brake (if applicable), and lower the grinder.
- Shut off the engine and remove the key.
- Remove dirt and grime from the external parts of the entire machine, especially the engine. Clean dirt and chaff from the outside of the engine cylinder head fins and blower housing.
Important: You can wash the machine with mild detergent and water. Do not pressure-wash the machine. Avoid excessive use of water, especially near the control panel, engine, hydraulic pumps, and motors. - Service the air cleaner; refer to Servicing the Air Cleaner (page 23).
- Grease the machine; refer to Greasing the Machine (page 22).
- Change the crankcase oil; refer to Changing the Engine Oil (page 25).
- Remove the spark plug and check its condition of it; refer to Servicing the Spark Plug(s) (page 26).
- For storage over 30 days, prepare the machine as follows:
A. Add fuel stabilizer/conditioner to fresh fuel in the tank. Follow the mixing instructions from the stabilizer manufacturer. Do not use an alcohol-based stabilizer (ethanol or methanol).
B. Run the engine to distribute conditioned fuel through the fuel system for 5 minutes.
C. Shut off the engine, allow it to cool, and drain the fuel tank using a pump-type syphon.
D. Start the engine and run it until it shuts off.
E. Engage the choke.
F. Start and run the engine until it does not start again.
G. Dispose of fuel properly. Recycle as per local codes.
Important: Do not store fuel containing stabilizer/conditioner longer than the duration recommended by the fuel-stabilizer manufacturer. - With the spark plug removed from the engine, pour 2 tablespoons of engine oil into the spark-plug hole.
- Place a rag over the spark-plug hole to catch any oil spray, then use the starter or recoil handle to crank the engine and distribute the oil inside the cylinder.
- Install the spark plug, but do not install the wire on the spark plug.
- Charge the battery; refer to Charging the Battery (page 29).
- Check and adjust the track tension; refer to Checking and Adjusting the Track Tension (page 31).
- Check and tighten all fasteners. Repair or replace any part that is damaged.
- Paint all scratched or bare metal surfaces with paint available from your Authorized Service Dealer.
- Store the machine in a clean, dry garage or storage area. Remove the key from the ignition switch and keep it in a memorable place.
- Cover the machine to protect it and keep it clean.
Troubleshooting
| Problem | Possible Cause | Corrective Action |
| The starter does not crank. | 1. The battery is discharged. 2. The electrical connections are corroded or loose. 3. The relay or switch is damaged. | 1. Charge the battery or replace it. 2. Check the electrical connections for good contact 3. Contact your Authorized Service Dealer. |
| The engine does not start, starts hard, or fails to keep running. | 1. The fuel tank is empty. 2. The fuel shutoff valve is closed. 3. The controls are not neutral. 4. The choke is not on. 5.The air cleaner is dirty. 6. The spark-plug wire is loose or disconnected. 7. The spark plug is pitted, fouled, or the gap is incorrect. 8. Dirt, water, or stale fuel is in the fuel system. | 1. Fill the tank with fresh fuel. 2. Open the fuel-shutoff valve. 3. Move the controls to neutral. 4. Move the choke lever fully forward. 5. Clean or replace the air-cleaner elements. 6. Install the wire on the spark plug. 7. Install a new, correctly gapped spark plug. 8. Contact your Authorized Service Dealer. |
| The engine loses power. | 1. The engine load is excessive. 2. The air cleaner is dirty. 3. The oil level in the crankcase is low. 4. The cooling fins and air passages under the engine blower housing are plugged in. 5. The spark plug is pitted or fouled, or the gap is incorrect. 6. Dirt, water, or stale fuel is in the fuel system. | 1. Reduce the ground speed. 2. Clean or replace the air-cleaner elements. 3. Check and add oil to the crankcase. 4. Remove any obstructions from the cooling fins and air passages. 5. Install a new, correctly gapped spark plug. 6. Contact your Authorized Service Dealer. |
| The engine overheats. | 1. The engine load is excessive. 2. The oil level in the crankcase is low. 3. The cooling fins and air passages under the engine blower housing are plugged in. | 1. Reduce the ground speed. 2. Check and add oil to the crankcase. 3. Remove any obstructions from the cooling fins and air passages. |
| There is abnormal vibration. | 1. The engine mounting bolts are loose. | 1. Tighten the engine mounting bolts. |
| The machine does not drive. | 1. The hydraulic-fluid level is low. 2. The tow valves are open. 3. The hydraulic system is damaged. | 1. Check and add hydraulic fluid. 2. Close the tow valves. 3. Contact your Authorized Service Dealer. |
| The grinder does not turn. | 1. A chunk of wood or rock is caught in the grinder 2. The grinder drive system is damaged. 3. The hydraulic system is obstructed, contaminated, or damaged. | 1. Shut off the engine and remove the obstruction with a stick. 2. Contact your Authorized Service Dealer. 3. Contact your Authorized Service Dealer. |
| The grinder does not cut fast enough. | 1. The teeth are worn. 2. The hydraulic system is overheated. 3. The hydraulic system is obstructed, contaminated, or damaged. | 1. Rotate or replace the teeth. 2. Shut down and allow the system to cool. 3. Contact your Authorized Service Dealer. |
EEA/UK Privacy Notice
Toro’s Use of Your Personal Information
The Toro Company (“Toro”) respects your privacy. When you purchase our products, we may collect certain personal information about you, either directly from you or through your local Toro company or dealer. Toro uses this information to fulfill contractual obligations – such as to register your warranty, process your warranty claim or contact you in the event of a product recall – and for legitimate business purposes – such as gauging customer satisfaction, improving our products or provide you with product information which may be of interest. Toro may share your information with our subsidiaries, affiliates, dealers, or other business partners in connection with these activities. We may also disclose personal information when required by law or in connection with the sale, purchase, or merger of a business. We will never sell your personal information to any other company for marketing purposes.
Retention of your Personal Information
Toro will keep your personal information as long as it is relevant for the above purposes and in accordance with legal requirements. For more information about applicable retention periods please contact [email protected].
Toro’s Commitment to Security
Your personal information may be processed in the US or another country that may have less strict data protection laws than your country of residence.
Whenever we transfer your information outside of your country of residence, we will take legally required steps to ensure that appropriate safeguards are in place to protect your information and to make sure it is treated securely.
Access and Correction
You may have the right to correct or review your personal data, or object to or restrict the processing of your data. To do so, please contact us by email at [email protected]. If you have concerns about the way in which Toro has handled your information, we encourage you to raise this directly with us. Please note that European residents have the right to complain to your Data Protection Authority.
California Proposition 65 Warning Information
What is this warning?
You may see a product for sale that has a warning label like the following:
WARNING: Cancer and Reproductive Harm—www.p65Warnings.ca.gov.
What is Prop 65?
Prop 65 applies to any company operating in California, selling products in California, or manufacturing products that may be sold in or brought into California. It mandates that the Governor of California maintain and publish a list of chemicals known to cause cancer, birth defects, and/or other reproductive harm. The list, which is updated annually, includes hundreds of chemicals found in many everyday items. The purpose of Prop 65 is to inform the public about exposure to these chemicals.
Prop 65 does not ban the sale of products containing these chemicals but instead requires warnings on any product, product packaging, or literature with the product. Moreover, a Prop 65 warning does not mean that a product is in violation of any product safety standards or requirements. In fact, the California government has clarified that a Prop 65 warning “is not the same as a regulatory decision that a product is ‘safe’ or ‘unsafe.’” Many of these chemicals have been used in everyday products for years without documented harm. For more information, go to https://oag.ca.gov/prop65/faqs-view-all. A Prop 65 warning means that a company has either (1) evaluated the exposure and has concluded that it exceeds the “no significant risk level”; or (2) has chosen to provide a warning based on its understanding of the presence of a listed chemical without attempting to evaluate the exposure.
Does this law apply everywhere?
Prop 65 warnings are required under California law only. These warnings are seen throughout California in a wide range of settings, including but not limited to restaurants, grocery stores, hotels, schools, and hospitals, and on a wide variety of products. Additionally, some online and mail-order retailers provide Prop 65 warnings on their websites or in catalogs.
How do the California warnings compare to federal limits?
Prop 65 standards are often more stringent than federal and international standards. There are various substances that require a Prop 65 warning at levels that are far lower than federal action limits. For example, the Prop 65 standard for warnings for lead is 0.5 μg/day, which is well below the federal and international standards.
Why don’t all similar products carry the warning?
- Products sold in California require Prop 65 labeling while similar products sold elsewhere do not.
- A company involved in a Prop 65 lawsuit reaching a settlement may be required to use Prop 65 warnings for its products, but other companies making similar products may have no such requirement.
- The enforcement of Prop 65 is inconsistent.
- Companies may elect not to provide warnings because they conclude that they are not required to do so under Prop 65; a lack of warnings for a product does not mean that the product is free of listed chemicals at similar levels.
Why does Toro include this warning?
Toro has chosen to provide consumers with as much information as possible so that they can make informed decisions about the products they buy and use. Toro provides warnings in certain cases based on its knowledge of the presence of one or more listed chemicals without evaluating the level of exposure, as not all the listed chemicals provide exposure limit requirements. While the exposure from Toro products may be negligible or well within the “no significant risk” range, out of an abundance of caution, Toro has elected to provide Prop 65 warnings. Moreover, if Toro does not provide these warnings, it could be sued by the State of California or by private parties seeking to enforce Prop 65 and subject to substantial penalties.
© 2021—The Toro® Company
8111 Lyndale Avenue South
Bloomington, MN 55420
Contact us at www.Toro.com.
Printed in the USA
All Rights Reserved
1. Grinder control lever







1. Fuel-tank cap
1. Throttle lever
Move the machine forward a few centimeters (inches) and repeat step 4(Figure 18).
1. Tow valves
1. Front tie-down loop
1. Cover plate
1. Bottom shield





Note: Ensure that the oil-filter gasket touches the engine, and then turn the oil filter an extra 3/4 turn.
1. Fuel-shutoff valve


1. Tensioning bolt
1. Front road wheel
1. Road wheel
1. Front of the control (out of
1. Traction control
6. Tighten the flange nut and bolt in the traction control stem.
1. Traction rod
1. Set screw
1. Hydraulic-fluid check bubble
1. Filler cap
1. Hose

















