scheppach 5903812901 Angle Grinder
Product Information
- Product Name: Winkelschleifer
- Model Number: AG1200
- Manufacturer: Scheppach
- Power: 1200 W
- Speed: 9000 min-1
- Disc Diameter: 150 mm
- Spindle Thread: M14 II
- Noise Level: Schalldruckpegel LpA – 88 dB(A) (3 dB)
- Vibration Emission Value: ah = 3.91 m/s2 (K = 1.5 m/s2)
Product Usage Instructions
Before using the Winkelschleifer, read and follow the instructions and safety guidelines.
Workspace Safety
- Keep your workspace clean and well-lit.
- Avoid accidental start-ups. Make sure the tool is switched off before plugging it in.
- Do not use the tool in explosive atmospheres, such as in the presence of flammable liquids, gases, or dust.
Electrical Safety
- Make sure your body is dry and you are standing on a dry surface when using the tool.
- If the tool’s power cord is damaged, have it replaced by a qualified professional.
- Do not abuse the power cord by pulling or yanking it from the socket.
Personal Safety
- Wear appropriate personal protective equipment, such as eye and respiratory protection.
- Avoid wearing loose clothing or jewelry that can get caught in the tool’s moving parts.
- Do not overreach when using the tool. Maintain proper footing and balance.
Service
- Have your tool serviced only by qualified professionals using genuine replacement parts.
- Never modify the tool in any way.
Grinding and Cutting Safety
- Before attaching the disc, ensure that the spindle lock is engaged.
- Do not use damaged or worn-out discs.
- Run the tool with the disc attached for at least one minute before use to ensure that it is properly secured.
By following these guidelines, you can ensure safe and effective use of your Winkelschleifer.
Explanation of the symbols on the equipment
![]()
- Warning: Danger to life, risk of injury or damage to the tool are possible by ignoring!
- Caution: Read the operating instructions to reduce the risk of inquiry.
- Wear safety goggles!
- Wear ear-muffs!
- Wear a breathing mask!
- Protection class II
Introduction
MANUFACTURER: scheppach Fabrikation von Holzbearbeitungsmaschinen GmbH
Günzburger Straße 69 D-89335 Ichenhausen
DEAR CUSTOMER,
We hope your new tool brings you much enjoyment and success.
NOTE
According to the applicable product liability laws, the manufacturer of the device does not assume liability for damages to the product or damages caused by the product that occurs due to:
- Improper handling,
- Non-compliance of the operating instructions,
- Repairs by third parties, not by authorized service technicians,
- Installation and replacement of non-original spare parts,
- Application other than specified,
- A breakdown of the electrical system that occurs due to the non-compliance of the electric regulations and VDE regulations 0100, DIN 57113 / VDE0113.
WE RECOMMEND
- Read through the complete text in the operating instructions before installing and commissioning the device.
- The operating instructions are intended to help the user to become familiar with the machine and take advantage of its application possibilities in accordance with the recommendations.
- The operating instructions contain important information on how to operate the machine safely, professionally and economically, how to avoid danger, and costly repairs, reduce downtimes and how to increase the reliability and service life of the machine.
- In addition to the safety regulations in the operating instructions, you have to meet the applicable regulations that apply for the operation of the machine in your country.
- Keep the operating instructions package with the machine at all times and store it in a plastic cover to protect it from dirt and moisture. Read the instruction manual each time before operating the machine and carefully follow its information.
- The machine can only be operated by persons who were instructed concerning the operation of the machine and who are informed about the associated dangers. The minimum age requirement must be complied with.
- In addition to the safety requirements in these operating instructions and your country’s applicable regulations, you should observe the generally recognized technical rules concerning the operation of woodworking machines.
Layout

- Spindle lock
- ON/OFF switch
- 2.1 Switch lock
- Additional handle
- Guard
- Flange nut wrench
- Allen key
Unpacking
- Open the packaging and remove the device carefully.
- Remove the packaging material as well as the packaging and transport bracing (if available).
- Check that the delivery is complete.
- Check the device and accessory parts for transport damage.
- If possible, store the packaging until the warranty period has expired.
ATTENTION
The device and packaging materials are not toys! Children must not be allowed to play with plastic bags, film and small parts! There is a risk of swallowing and suffocation!
Intended use
The appliance is intended for the cutting and rough cutting of metal materials without the use of water. Any other usage of or modification to the appliance is deemed to be improper and carries a significant risk of accidents. The manufacturer accepts no responsibility for damage(s) resulting from improper usage. The appliance is not intended for commercial use.
General Power Tool Safety Warnings
WARNING
Read all safety warnings and all instructions. Failure to follow the warnings and instructions may result in electric shock, fire and/or serious injury. Save all warnings and instructions for future reference. The term „power tool“ in the warnings refers to your mains-operated (corded) power tool or battery-operated (cordless) power tool.
- Work area safety
- Keep work area clean and well lit. Cluttered or dark areas invite accidents.
- Do not operate power tools in explosive atmospheres, such as in the presence of flammable liquids, gases or dust. Power tools create sparks which may ignite the dust or fumes.
- Keep children and bystanders away while operating a power tool. Distractions can cause you to lose control.
- Electrical safety
- Power tool plugs must match the outlet. Never modify the plug in any way. Do not use any adapter plugs with earthed (grounded) power tools. Unmodified plugs and matching outlets will reduce risk of electric shock.
- Avoid body contact with earthed or grounded surfaces, such as pipes, radiators, ranges andrefrigerators. There is an increased risk of electric shock if your body is earthed or grounded.
- Do not expose power tools to rain or wet conditions. Water entering a power tool will increase the risk of electric shock.
- Do not abuse the cord. Never use the cord for carrying, pulling or unplugging the power tool.Keep cord away from heat, oil, sharp edges or moving parts. Damaged or entangled cords increase the risk of electric shock.
- When operating a power tool outdoors, only use an extension cable suitable for outdoor use. Use of a cord suitable for outdoor use reduces the risk of electric shock.
- If operating a power tool in a damp location is unavoidable, use a residual current device (RCD) protected supply. Use of an RCD reduces the risk of electric shock.
- Personal safety
- Stay alert, watch what you are doing and use common sense when operating a power tool. Do not use a power tool while you are tired or under the influence of drugs, alcohol or medication. A moment of inattention while operating power tools may result in serious personal injury.
- Use personal protective equipment. Always wear eye protection. Protective equipment such as dust mask, non-skid safety shoes, hard hat, or hearing protection used for appropriate conditions will reduce personal injuries.
- Prevent unintentional starting. Ensure the switch is in the off-position before connecting to power source and/or battery pack, picking up or carrying the tool. Carrying power tools with your finger on the switch or energising power tools that have the switch on invites accidents.
- Remove any adjusting key or wrench before turning the power tool on. A wrench or a key left attached to a rotating part of the power tool may result in personal injury.
- Do not overreach. Keep proper footing and balance at all times. This enables better control of the power tool in unexpected situations.
- Dress properly. Do not wear loose clothing or jewellery. Keep your hair, clothing and gloves away from moving parts. Loose clothes, jewellery or long hair can be caught in moving parts.
- If devices are provided for the connection ofdust extraction and collection facilities, ensure these are connected and properly used. Use of dust collection can reduce dust-related hazards.
- Power tool use and care
- Do not force the power tool. Use the correct power tool for your application. The correct power tool will do the job better and safer at the rate for which it was designed.
- Do not use the power tool if the switch does not turn it on and off. Any power tool that cannot be controlled with the switch is dangerous and must be repaired.
- Disconnect the plug from the power source and/or the battery pack from the power tool before making any adjustments, changing accessories, or storing power tools. Such preventive safety measures reduce the risk of starting the power tool accidentally.
- Store idle power tools out of the reach of children and do not allow persons unfamiliar with the power tool or these instructions to operate the power tool. Power tools are dangerous in the hands of untrained users.
- Maintain power tools. Check for misalignment or binding of moving parts, breakage of parts and any other condition that may affect the power tools operation. If damaged, have the power tool repaired before use. Many accidents are caused by poorly maintained power tools.
- Keep cutting tools sharp and clean. Properly maintained cutting tools with sharp cutting edges are less likely to bind and are easier to control.
- Use the power tool, accessories and tool bits,etc. in accordance with these instructions, taking into account the working conditions and the work to be performed. Use of the power tool for operations different from those intended could result in a hazardous situation.
- Service
- Have your power tool serviced by a qualified repair person using only identical replacement parts. This will ensure that the safety of the power tool is maintained.
- Always arrange for the replacement of the plug or the power cord to be carried out by the manufacturer of the appliance or by his approved customer services. This will ensure that the safety of the power tool is maintained.
- Safety instructions for all applications
- Special safety instructions for grinding and abrasive cutting:
- This power tool is to be used as a grinder and abrasive cutting appliance. Please follow all safety instructions, instructions, diagrams and data that you receive with the appliance. If you do not observe the following instructions, this can lead to an electrical shock, fire and/or serious injuries.
- This power tool is not suitable for sandpaper sanding, working with a steel brush or burnishing. Using the power tool for applications for which it is not designed can lead to hazards and injuries.
- Do not use any accessories that have not been specifically provided or recommended by the manufacturer for this power tool. Just because you can attach the accessories to your power tool does not guarantee they are safe to use.
- The maximum speed of the accessory tool used must be at least as high as the maximum speed specified for the power tool. Accessories that rotate faster than the permissible rate can break and throw pieces into the air.
- The external diameter and thickness of the accessory tool used must comply with the dimensions of the power tool. Incorrectly dimensioned accessory tools cannot be sufficiently shielded or controlled.
- Attachment tools with a thread insert must match the thread of the grinding spindle exactly. For attachment tools that are mounted using a flange, the diameter of the hole on the attachment tool must correspond to the width of the fitment on the flange. Accessory tools that do not exactly fit on the grinding spindle rotate unevenly, vibrate severely and can lead to a loss of control.
- Never use damaged accessory tools. Check accessory tools such as grinding discs before each use for chips or cracks, grinding plates for cracks, wearing or excessive wear and tear and wire brushes for loose or broken wires. If the power tool or the accessory tool in use is dropped, check to see if it is damaged or usean undamaged accessory tool. When you have checked and inserted the accessory tool, ensure that you and any other persons in the vicinity remain outside of the level of the rotating accessory tool and allow the tool to rotate at maximum speed for one minute. Damaged accessories usually break during the test period.
- Wear personal protective equipment. Depending on the application, ensure that you use full face protection, eye protection or goggles. Use a dust mask, hearing protection, protective gloves or special apron that protect you from grindings and material particles as required. Protected your eyes from flying debris that may be created during certain applications. Dust or filter masks must be used to filter any dust created by the application. If you are exposed to loud noise for any length of time, you may suffer hearing loss.
- Ensure that other people remain at a safe distance to your workspace. Anyone who enters the workspace must wear personal protective equipment. Fragments of the workpiece or broken accessory tools can fly off and cause injury – even outside the immediate working area.
- Hold the power tool only by the insulated handles when you are carrying out work in which the accessory tool may come into contact with concealed power cables or the tool’s own power cord. Contact with a live cable can also make metal parts of the appliance live and could result in an electric shock.
- Keep the power cord away from any rotating accessories. If you lose control of the appliance, the cord may get caught or cut and your hand or arm could get caught in the rotating accessory tool.
- Never put the power tool down until the accessory tool being used has come to a complete standstill. The rotating accessory tool can come into contact with the surface and cause you to lose control of the power tool.
- Do not leave the power tool running whilst carrying it. Accidental contact between your clothing and the rotating accessory tool could lead to physical injury.
- Clean the ventilation slits of your power tool regularly. The engine fan draws dust into the housing and a strong accumulation of metal dust can cause electrical hazards.
- Never use the power tool in the vicinity of inflammable materials. Sparks can ignite these materials.
- Do not use any accessory tools which require liquid coolant. The use of water or other liquid coolants may lead to electric shock.
Kickback and corresponding safety instructions
Kickback is a sudden reaction caused when a rotating accessory tool, e.g. grinding disc, grinding plate, wire brush, etc., catches or jams. Catching or jamming leads to an abrupt stop of the rotating accessory tool. If this happens, an uncontrolled power tool turns rapidly against the direction of rotation of the accessory tool caught in the blockage.
If, for example, a grinding disc catches or jams in a workpiece, the edge of the grinding disc projecting into the workpiece can get caught and break off the grinding disc or cause a kickback. The grinding disc can then fly in the direction of the operator or away from him, depending on the direction of rotation of the disc at the blockage. This can also break grinding discs. A kickback is caused by incorrect use or misuse of the power tool. This can be avoided by taking proper precautions as described below.
- Hold the power tool firmly in both hands and position your body and arms so they can absorb the force of a kickback. Always use the additional handle, if available, so that you have the maximum possible control over the kickback force or reaction forces at full speed. By taking adequate precautions, the operator can stay in control of the kickback and reaction torques.
- Never hold your hand close to a rotating accessory tool. The accessory tool could hit your hand in the event of a kickback.
- Avoid having any part of your body in the region in which the power tool is likely to move in event of a kickback. The kickback will force the power tool in the opposite direction to the direction of rotation of the grinding disc at the blockage.
- Take special care when working near corners, sharp edges, etc. Avoid allowing the accessory tool to bounce back from the workpiece or jam. The rotating accessory tool is more likely to jam in corners or sharp edges or if it rebounds off them. This can cause a loss of control or kickback.
- Do not use chains or toothed saw blades. Such accessories often cause a kickback or loss of control over the power tool.
Special safety instructions for grinding and abrasive cutting
- Use only the grinding accessories approved for your power tool and the appropriate blade guard for these grinding tools. Grinding tools that are not designed for the power tool cannot be sufficiently shielded and are unsafe.
- Offset grinding discs must be fitted so that the grinding surface does not protrude over the level of the blade guard edge. An improperly fitted grinding disc which protrudes over the level of the blade guard edge cannot be properly guarded.
- The blade guard must be securely mounted on the power tool and adjusted to ensure maximum safety so that the smallest possible amount of the grinding tool is open to the operator. The blade guard is designed to protect the operator from fragments, accidental contact with the grinding tool and sparks that could ignite clothing.
- Grinding tools should only be used for the recommended applications. For example: Never grind with the side surface of a cutting disc. Cutting discs are designed to remove the material with the edge of the disc. Any lateral application of force on these grinding tools can lead to breakage.
- Always use an undamaged clamping flange of the correct size and shape for the selected grinding disc. Suitable flanges support the grinding disc and reduce the risk of disc breakage. Flanges for cutting discs can be different to flanges for other grinding discs.
- Do not use worn grinding discs from larger power tools. Grinding discs for larger power tools are not designed for the higher rotational speeds of smaller power tools and can break.
Additional special safety instructions for abrasive cutting
- Avoid causing blockages to the cutting disc or high contact pressure. Do not make any excessively deep cuts. Overloading the cutting disc increases the stress and likelihood of tilting or jamming and thus the possibility of kickback or breakage of the grinding tool.
- Avoid the area in front of and behind the rotating cutting disc. When you move the cutting disc away from yourself in the workpiece, it is possible, in the event of a kickback, that the power tool along with the rotating disc might be thrown out directly towards you.
- If the cutting disc jams or you stop working, switch the tool off and hold it steadily in the workpiece until the disc has completely stopped turning. Never attempt to pull a rotating cutting disc out of a cut. This could lead to kickback. Identify and remove the cause of the jam.
- Do not switch the power tool back on while it is located in the workpiece. Allow the cutting disc to reach its full speed before you carefully continue the cut. Otherwise, the disc can jam, jump out of the workpiece or cause kickback.
- Support boards or large workpieces to reduce the risk of the cutting disc jamming and causing a kickback. Large workpieces can bend under their own weight. The workpiece must be supported on both sides of the disc: both in the vicinity of the cutting disc and also at the edge.
- Be particularly careful when making „pocket cuts“ into existing walls or other obscured areas. The inserted cutting disc may cut into gas or water pipes, electrical wiring or other objects that can cause kickback.
Residual risks
Even if you use this electric power tool in accordance with instructions, certain residual risks cannot be rules out. The following hazards may arise in connection with the equipment’s construction and layout:
- Lung damage if no suitable protective dust mask is used.
- Damage to hearing if no suitable ear protection is used.
- Health damage caused by hand-arm vibrations if the equipment is used over a prolonged period or is not properly guided and maintained.
Technical Data
| Rated voltage: | 230 V~ |
| Rated power consumption: | 1200 W |
| Rated speed: | 9000 min-1 |
| Disc width: | 150 mm |
| Thread size: | M14 |
| Protection class: | II |
Noise and vibration values
The total noise values were determined in accordance with EN 60745.
| sound pressure level LpA | 88 dB(A) |
| uncertainty KpA | 3 dB |
| sound power level LWA | 99 dB(A) |
| uncertainty KWA | 3 dB |
Wear hearing protection
The effects of noise can cause a loss of hearing. Total vibration values (vector sum – three directions) determined in accordance with EN 60745.
- Vibration emission value ah = 3,91 m/s2
- K uncertainty = 1,5 m/s2
The specified vibration value was established in accordance with a standardized testing method. It may change according to how the electric equipment is used and may exceed the specified value in exceptional circumstances. The specified vibration value can be used to compare the equipment with other electric power tools. The specified vibration value can be used for initial assessment of a harmful effect.
Before starting the equipment
Before you connect the equipment to the mains supply make sure that the data on the rating plate are identical to the mains data.
Warning: Always pull the power plug before making adjustments to the equipment.
Fitting the additional handle

- The angle grinder must not be used without the additional handle (3).
- The additional handle can be secured in any of 2 positions (A, B, C).
| Tool side | Suitable for |
| Left (position A / as shown) | Right-handed users |
| Right (position B) | Left-handed users |
Setting the guard

Warning
- Switch off the tool. Pull the power plug.
- Adjust the guard (4) to protect your hands so that the material being ground is directed away from your body.
- The position of the protective device (4) can be aligned with the respective working conditions: Undo the screw (a) with the Allen key (6) and turn the cover (4) into the desired position.
- Ensure that the guard (4) correctly covers the gear wheel casing.
- Retighten the screw (a).
- Ensure that the guard (4) is secure.
- Take care that the safety device is secure.
- Never use the angle grinder without the guard.
Test run for new grinding Wheels
Allow the right-angle grinder to run in idle for at least 1 minute with the grinding or cutting wheel fitted in place. Vibrating wheels are to be replaced immediately.
Operation
Switching on/off 
- The on/off switch is equipped with a safety system.
- To switch on, first press the switch lock (2.1) and then the on/off switch (2).
- To switch off, simply release the on/off switch (2).
Warning: Wait until the machine has reached its top speed. You can then position the angle grinder on the workpiece and machine it.
Changing the grinding wheels

- Use the face spanner (5) supplied to change the grinding wheels.
Warning
- Pull out the power plug.
- Simple wheel change by spindle lock:
- Press the spindle lock and allow the grinding wheel to latch in place.
- Open the flange nut with the face spanner.
- Change the grinding or cutting wheel and tighten the flange nut with the face spanner.
Notice
- Only ever press the spindle lock when the motor and grinding spindle are at a standstill! You must keep the spindle lock pressed while you change the wheel!
- For grinding or cutting wheels up to approx. 3 mm thick, screw on the flange nut with the flat side facing the grinding or cutting wheel.
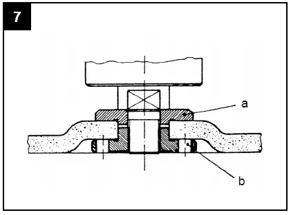
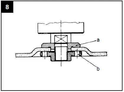
Flange arrangements when using grinding wheels and cutting wheels

- • Flange arrangement when using a depressedcentre or straight grinding wheel

- Clamping flange
- Flange nut
- Flange arrangement when using a depressed-
- entre cutting wheel

- Clamping flange
- Flange nut
- Flange arrangement when using a straight cutting wheel

- Clamping flange
- Flange nut
Motor: It is vital for the motor to be well ventilated during operation. Be sure, therefore, to keep the ventilation holes clean at all times.
Grinding Wheels
- Never use a grinding or cutting wheel bigger than the specified diameter.
- Before using a grinding or cutting wheel, check its rated speed.
- The maximum speed of the grinding or cutting wheel used must be higher than the idle speed of the angle grinder.
- Use only grinding and cutting wheels that are approved for a minimum speed of 9000 min-1 and a peripheral speed of 80 m/s.
- Check the direction of rotation when you use diamond cutting wheels. The directional arrow on the diamond cutting wheel must point in the direction in which the tool rotates.
Take special care that the grinding/sanding wheel are properly stored and transported. Ensure that the grinding/sanding wheels are never exposed to shock, jolts or sharp edges (for example during transport or storage in a toolbox). This could cause damage (such as cracks) to the grinding/sanding wheels and place the user in serious danger.
Operating Modes Rough grinding
Caution: For the best rough grinding results, hold the grinding wheel at an angle of between 30° and 40° to the workpiece surface and guide back and forth over the workpiece in steady movements.
Cutting
Caution: When you use the right-angle grinder for cutting purposes, avoid tilting it in the cutting plane. The cutting wheel must have a clean cutting edge. A diamond cutting wheel is best used to cut hard stone.
Warning
- It is prohibited to use the machine on asbestos materials!
- Never use a cutting wheel for rough grinding.
Electrical connection
The electrical motor installed is connected and ready for operation. The connection complies with the applicable VDE and DIN provisions. The customer‘s mains connection as well as the extension cable used must also comply with these regulations.
Important information
- In the event of overloading, the motor will switch itself off. After a cool-down period (time varies) the motor can be switched back on again.
Damaged electrical connection cable
The insulation on electrical connection cables is often damaged. This may have the following causes:
- Passage points, where connection cables are passed through windows or doors.
- Kinks where the connection cable has been improperly fastened or routed.
- Places where the connection cables have been cut due to being driven over.
- Insulation damage due to being ripped out of the wall outlet.
- Cracks due to the insulation aging.
Such damaged electrical connection cables must not be used and are life-threatening due to the insulation damage. Check the electrical connection cables for damage regularly. Make sure that the connection cable does not hang on the power network during the inspection. Electrical connection cables must comply with the applicable VDE and DIN provisions. Only use connection cables with the marking „H05VV-F“. The printing of the type designation on the connection cable is mandatory.
AC motor
- The mains voltage must be 230 V~
- Extension cables up to 25 m long must have a cross-section of 1.5 mm2.
Connections and repairs of electrical equipment may only be carried out by an electrician.
Please provide the following information in the event of any enquiries:
- Type of current for the motor
- Machine data – type plate
- Machine data – type plate
Cleaning and Servicing
Pull the mains plug before any adjustments, maintenance or repair.
Warning: Have any work on the device that is not described in this instruction guide performed by a professional. Only use original parts. Allow the device to cool off before any maintenance or cleaning is undertaken. There is a risk of burning!
Always check the device before using it for obvious defects such as loose, worn or damaged parts, and correct the positioning of screws or other parts. Exchange the damaged parts.
Cleaning
Do not use any cleaning agents or solvents. Chemical substances can etch the plastic parts of the device. Never clean the device under running water.
- Thoroughly clean the device after every use.
- Clean the ventilation openings and the surface of the device with a soft brush or cloth.
- Remove chips, dust and dirt with a vacuum cleaner if necessary.
- Lubricate moving parts regularly.
Service Information
Please note that the following parts of this product are subject to normal or natural wear and that the following parts are therefore also required for use as consumables.
Wear parts
- Carbon brushes; grinding discs; flanges
- Not necessarily included in the scope of delivery!
Storage
Store the device and its accessories in a dark, dry and frost-proof place that is inaccessible to children. The optimum storage temperature is between 5 and 30˚C. Store the electrical tool in its original packaging. Cover the electrical tool in order to protect it from dust and moisture. Store the operating manual with the electrical tool.
Disposal and recycling
The equipment is supplied in packaging to prevent it from being damaged in transit. The raw materials in this packaging can be reused or recycled. Never place batteries in your household refuse, in fire or in water. Batteries should be collected, recycled or disposed of by environment-friendly means. The equipment and its accessories are made of various types of material, such as metal and plastic. Defective components must be disposed of as special waste. Ask your dealer or your local council.
Old devices must not be disposed of with household waste!
This symbol indicates that this product must not be disposed of together with domestic waste in compliance with the Directive (2012/19/EU) pertaining to waste electrical and electronic equipment (WEEE). This product must be disposed of at a designated collection point.
This can occur, for example, by handing it in at an authorised collecting point for the recycling of waste electrical and electronic equipment. Improper handling of waste equipment may have negative consequences for the environment and human health due to potentially hazardous substances that are often contained in electrical and electronic equipment. By properly disposing of this product, you are also contributing to the effective use of natural resources. You can obtain information on collection points for waste equipment from your municipal administration, public waste disposal authority, an authorized body for the disposal of waste electrical and electronic equipment or your waste disposal company.
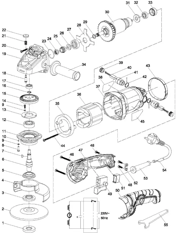
PARTS

Declaration of Conformity
hereby declares the following conformity under the EU Directive and standards for the following article
Article name: SCHEPPACH WINKELSCHLEIFER – AG1200 ANGLE GRINDER – AG1200 MEULEUSE D‘ANGLE – AG1200 5903812901
Art. no:
- 2014/29/EU
- 2014/35/EU
- X 2014/30/EU
- 2004/22/EC
- 2014/68/EU
- X 2011/65/EU
- 89/686/EC_96/58/EC
- 90/396/EC
- 2000/14/EC_2005/88/EC
- X 2006/42/EC
- Annex IV
- Notified Body:
- Notified Body No:
- Certificate No:
- Annex V
- Annex VI
- Noise: measured LWA = xx dB(A); guaranteed LWA = xx dB(A)
- P = 0.55 KW; L/Ø = cm
- Notified Body:
- Notified Body No:
- 2010/26/EC
- Emission. No:
- Annex IV
Standard references
- EN 60745-1; EN 60745-2-3; EN 55014-1; EN 55014-2; EN 61000-3-2; EN 61000-3-3
This declaration of conformity is issued under the sole responsibility of the manufacturer. The object of the declaration described above fulfills the regulations of the directive 2011/65/EU of the European Parliament and Council from 8th June 2011, on the restriction of the use of certain hazardous substances in electrical and electronic equipment.
Ichenhausen, den 20.11.2018

Technical Director
First CE: 2018
Subject to change without notice
Documents register: Georg Kohler Günzburger Str. 69, D-89335 Ichenhausen
Warranty conditions
Dear Customer,
our products are subject to strict quality control. However, if a device does not work properly, we regret this very much and ask you to contact our service department at the address given below address to contact. We are also happy to be at your disposal by telephone on the service number. The following information is intended to help you with problem-free processing and regulation serve in case of damage.
The following applies to the assertion of warranty claims – within Germany:
- These guarantee conditions regulate our additional manufacturer guarantee services for buyers (private end users) of new devices. The statutory warranty claims are covered by this guarantee is not affected. The retailer from whom you purchased the product is responsible for this.
- The warranty service extends exclusively to defects in a new device you have purchased that are based on a material or manufacturing defect and is – at our option – based on the free repair of such defects or the exchange of the device (possibly also exchange with a successor model). Replaced devices or parts become our property. Please note that our devices were not designed for commercial, manual or professional use. A warranty case does not come about if the device is within the guarantee period was used in commercial, craft or industrial companies or was exposed to equivalent stress.
Excluded from our guarantee are
- Damage to the device caused by non-observance of the assembly instructions, improper installation, non-observance of the operating instructions (e.g. connection to an incorrect mains voltage or type of current) or the maintenance and safety regulations or through use of the device under unsuitable environmental conditions as well as through lack of care and maintenance.
- Damage to the device caused by misuse or improper use (such as overloading the device or using unapproved tools or accessories), intrusion of foreign objects in the device (e.g. sand, stones or dust), transport damage, use of force or external influences (e.g. damage caused by falling).
- Damage to the device or parts of the device that can be attributed to normal, normal (operational) or other natural wear and tear, as well as damage and/or wear and tear of wearing parts.
- Defects in the device caused by the use of accessories, supplementary or spare parts that are not original parts or are not used as intended.
- Devices to which changes or modifications have been made.
- Minor deviations from the target condition that are irrelevant to the value and fitness for purpose of the device.
- Devices on which unauthorized repairs or repairs have been carried out, in particular by an unauthorized third party.
- If the marking on the device or the identification information of the product (machine sticker) is missing or illegible.
- Devices that are heavily soiled and are therefore rejected by service personnel.
Claims for damages and consequential damages are generally excluded from this guarantee.
The regular guarantee period is 24 months* (12 months for batteries/rechargeable batteries) and begins on the date of purchase of the device. The date on the original purchase receipt is decisive. Warranty claims must be collected immediately after becoming aware. The assertion of warranty claims after the warranty period has expired is excluded. The repair or replacement of the device
does not lead to an extension of the warranty period, nor does this service initiate a new warranty period for the device or for any spare parts that may be installed. This also applies when using a pre-
location services. The affected device is in a clean condition together with a copy of the purchase receipt – this contains the information on the date of purchase and the product designation – from the customer service center to submit or send in. If a device is sent in incomplete, without the complete scope of delivery, the missing accessories will be credited/deducted in terms of value if the device is exchanged will be made or a refund will be made. Partially or completely dismantled devices cannot be accepted as a warranty case.
In the event of an unjustified complaint or outside the warranty period, the Buyers generally bear the transport costs and transport risk. Please report a warranty claim to the service center in advance (see below). As a rule, it is agreed that the defective device with a short Description of the fault by pick-up service (only in Germany) or – in the case of repairs outside the warranty period – with sufficient postage, taking into account the relevant packaging and shipping guidelines, sent to the service address given below. Please note that your device (depending on the model) should be free of all operating materials when it is returned for safety reasons is. The product sent to our service center must be packed in such a way that damage to the complaint device is avoided during transport. Send after repair / replacement we will return the device to you free of charge. If products cannot be repaired or replaced, a monetary payment up to the purchase price of the defective product may be made at our sole discretion and refunded, allowing for a deduction for wear and tear. These guarantees apply only to the benefit of the private initial purchaser and are not assignable or transferable.
- To assert your warranty claim, please contact our service center (by post, email or telephone).
- Please preferably use our form on our homepage: https://www.scheppach.com/Reparaturservice.aspx.
- Please do not send us any devices without first contacting and registering with our service center.
- The first contact with our service center is a mandatory prerequisite for making use of this guarantee.
- Processing time: As a rule, we deal with complaint shipments within 14 days of receipt in our service center. If, in exceptional cases, the specified processing time is exceeded we will inform you in good time.
- Wearing parts: Wearing parts are: a) supplied, attached and/or built-in batteries/accumulators and b) all model-dependent wearing parts (see operating instructions). From the warranty service
Excluded are batteries/accumulators that are deeply discharged or have a damaged housing or battery poles. - Cost estimate: We will repair devices that are not or no longer covered by the guarantee against payment. Upon request from our service center, you can return the defective devices for a
Send in a cost estimate and, if necessary, give the service center the approval for repairs in writing (by post, e-mail). No further processing will take place without approval for repairs. - Claims other than those mentioned above cannot be asserted.
The guarantee conditions only apply in the current version at the time of the complaint and can be found on our website (www.scheppach.com). In the case of translations, the German version is always authoritative.
CONTACTS
- scheppach Fabrication of woodworking machines GmbH Günzburger Str. 69 89335 Ichenhausen (Germany)
- www.scheppach.com
- Telephone: +49 [0] 8223 4002 99 or +800 4002 4002 (service hotline/free call number German landline**)
- Fax: +49 [0] 8223 4002 20
- E-mail: [email protected]
- Internet: http://www.scheppach.com
- Depending on the product, also over 24 months; Depending on the country, extended guarantees may apply
- Connection costs: free of charge from the German landline network.
- We reserve the right to change these guarantee conditions at any time without prior notification.
scheppach manufacturing of woodworking machines GmbH
- Günzburger Str. 69 D-89335 Ichenhausen
- www.scheppach.com





















