ESMA-4512N Industrial Angle Grinder
User Manual

ESMA-4512N Industrial Angle Grinder
Manual Angle grinder
1.6 Hp Power
4 1/2” Wheel
ESMA-4512N
CAUTION
Read this manual thoroughly before using the tool.![]()
CAUTION
To gain the best performance of the tool, prolong the duty life, make the Warranty valid if necessary, and to avoid hazards of fatal injuries please read and understand this Manual before using the tool.
Keep this manual for future references.
The illustrations in this manual are for reference only. They might be different from the real tool.
Use and care recommendations
TO EXTEND THE LIFE OF YOUR TOOL, CLEAN IT WITH COMPRESSED AIR AFTER EACH USE.
FULFILL THE WORKING CYCLES
50 min of work and 20 min of rest. Daily maximum 6 hours.![]()
NEVER use or pull the power cord to carry, lift, or disconnect the tool.
NEVER press the lock button while the disc is running.![]()
Perform periodic MAINTENANCE to your machine (page 9).
Technical Data
| Code | 12873 | ||
| Description | Angle grinder | ||
| Grinding Wheel | 4 1/2” | ||
| Voltage | 60 Hz | ||
| Frequency | 9.5 A | ||
| Current | 1.6 Hp | ||
| Power | 127 V | ||
| Speed | 11 000 r/min | Screwed thread size | 5/8-11-UNC-1A |
| Duty cycle | 50 minutes work per 20 minutes idle. Maximum 6 hours per day. | ||
| Conductors | 16 AWG x 2C with insulating temperature of 221 °F | ||
| Insulating | Class II | IP Grade | IP 20 |
WARNING Avoid the risk of electric shock or severe injury. When the power cable gets damaged it should only be replaced by the manufacturer or at
a Authorized Service Center.
The build quality of the electric insulation is altered if spills or liquid gets into the tool while in use.
Do not expose to rain, liquids and/or dampness.![]()
WARNING Before gaining access to the terminals all power sources should be disconnected.
Power Requirements
WARNING Tools with double insulation reinforced insulation are equipped with a polarized plug (one prong is wider than the other). This plug will only fit in the right way into a polarized outlet. If the plug cannot be introduced into the outlet, reverse the plug. If it still doesn’t fit, call a qualified electrician to install for you a polarized outlet. Do not alter the plug in any way. Both insulation types eliminates the need of both a grounded third power cord with three prongs or a grounded power connection.![]()

WARNING
When using an extension cable, verify the gauge is enough for the power that your product needs. A lower gauge cable will cause voltage drop in the line, resulting in power loss and overheating. The following table shows the right size to use depending on cable’s length and the ampere capability shown in he tool’s nameplate. When in doubt use the next higher gauge.
| Ampere Capacity | Number of Conductors | Extension gauge | |
| from 6’ to 49’ | higher than 49’ | ||
| from 0 A and up to 10 A | 3 (one grounded) | 18 AWG(*) | 16 AWG |
| from 10 A and up to 13 A | 16 AWG | 14 AWG | |
| from 13 A and up to 15 A | 14 AWG | 12 AWG | |
| from 15 A and up to 20 A | 8 AWG | 6 AWG | |
* It is safe to use only if the extensions have a built-in artifact for over current protection.
AWG = American Wire Gauge. Reference: NMX-J-195-ANCE
WARNING When operating power tools outdoors, use a
grounded extension cable labeled “For Outdoors Use”. These extensions are specially designed for operating outdoors and reduce the risk of electric shock.![]()
General power tool safety warnings
WARNING! Read carefully all safety warnings and instructions listed below. Failure to comply with any of these warnings may result in electric shock, fire and / or severe damage. Save all warnings and instructions for future references.
Work area
Keep your work area clean, and well lit.
Cluttered and dark areas may cause accidents.![]()
Never use the tool in explosive atmospheres, such as in the presence of flammable liquids, gases or dust.
Sparks generated by power tools may ignite the flammable material.![]()
Keep children and bystanders at a safe distance while operating the tool.
Distractions may cause loosing control.![]()
Electrical Safety
The tool plug must match the power outlet. Never modify the plug in any way. Do not use any adapter plugs with grounded power tools.![]()
Modified plugs and different power outlets increase the risk of electric shock.
Avoid body contact with grounded surfaces, such as pipes, radiators, electric ranges and refrigerators.
The risk of electric shock increases if your body is grounded.
Do not expose the tool to rain or wet conditions.
Water entering into the tool increases the risk of electric shock.
Do not force the cord. Never use the cord to carry, lift or unplug the tool. Keep the cord away from heat, oil, sharp edges or moving parts.
Damaged or entangled cords increase the risk of electric shock.
When operating a tool outdoors, use an extension cord suitable for outdoor use.
Using an adequate outdoor extension cord reduces the risk of electric shock.
If operating the tool in a damp location cannot be avoided, use a ground fault circuit interrupter (GFCI) protected supply.
Using a GFCI reduces the risk of electric shock.
Personal safety
Stay alert, watch what you are doing and use common sense when operating a tool. Do not use a power tool while you are tired or under the influence of drugs, alcohol or medication.
A moment of distraction while operating the tool may result in personal injury.
Use personal protective equipment. Always wear eye protection.
Protective equipment such as safety glasses, anti-dust mask, non-skid shoes, hard hats and hearing protection used in the right conditions significantly reduce personal injury.![]()
Prevent unintentional starting up. Ensure the switch is in the “OFF” position before connecting into the power source and /or battery as well as when carrying the tool.
Transporting power tools with the finger on the switch or connecting power tools with the switch in the “ON” position may cause accidents.
Remove any wrench or vice before turning the power tool on.
Wrenches or vices left attached to rotating parts of the tool may result in personal injury.
Do not overreach. Keep proper footing and balance at all times.
This enables a better control on the tool during unexpected situations.
Dress properly. Do not wear loose clothing or jewelry. Keep hair, clothes and gloves away from the moving parts.![]()
Loose clothes or long hair may get caught in moving parts.
If you have dust extraction and recollection devices connected onto the tool, inspect their connections and use them correctly.
Using these devices reduce dust-related risks.
Power Tools Use and Care
Do not force the tool. Use the adequate tool for your application.![]()
The correct tool delivers a better and safer job at the rate for which it was designed.
Do not use the tool if the switch is not working properly.
Any power tool that cannot be turned ON or OFF is dangerous and should be repaired before operating.
Disconnect the tool from the power source and / or battery before making any adjustments, changing accessories or storing.
These measures reduce the risk of accidentally starting the tool.
Store tools out of the reach of children. Do not allow persons that are not familiar with the tool or its instructions to operate the tool.
Power tools are dangerous in the hands of untrained users.
Service the tool. Check the mobile parts are not misaligned or stuck. There should not be broken parts or other conditions that may affect its operation. Repair any damage before using the tool.![]()
Most accidents are caused due to poor maintenance to the tools.
Keep the cutting accessories sharp and clean.
Cutting accessories in good working conditions are less likely to bind and are easier to control.
Use the tool, components and accessories in accordance with these instructions and the projected way to use it for the type of tool when in adequate working conditions.
Using the tool for applications different from those it was designed for, could result in a hazardous situation.
Service
Repair the tool in a
Authorized Service Center using only identical spare parts.
This will ensure that the safety of the power tool is maintained.
This tool is in compliance with the Official Mexican Standard
(NOM – Norma Oficial Mexicana).
Safety warnings for angle grinders
This power tool is intended to function as a cutting tool. Read all safety warnings, instructions and specifications provided.Failure to follow the instructions outlined below may result in electric shock, fire and/or serious injury:
CAUTION
- Never use wheels with bigger diameter than the size required in the tool.
WARNING
- Use only wheels or accessories than 11 000 RPM speeds.
CAUTION
- Use only wheels or accessories with an orifice that fits perfectly in the tool spindle.
CAUTION
- Use only wheels or accessories specifically designed for the chosen material.
- Keep present people at a safe distance from the work area.
- Anyone entering the work area should wear personal protective equipment.=
Before operating the grinder
DANGER
- Remove all the fastening wrenches from the tool. Otherwise they can shoot away causing sever injuries to the user.
WARNING
- Double-check the guard. It should be perfectly fastened and in good working condition. Do not use the tool without a guard. Fragments of workpieces or a broken accessory can break off and cause damage beyond the immediate area of operation.
CAUTION
- Double-check the disc. It should not be broken or cracked. Tap the wheel gently with a wooden hammer and listen for a strange sound to learn if is cracked.
DANGER
- Before plugging the tool, see if is in the OFF position. Otherwise the tool could start unexpectedly causing severe injuries.
CAUTION
- Run the tool 30 seconds before using, to detect important vibration or any type of unusual movement. If detected, unplug the tool and take it to a
Authorized Service Center.
CAUTION
- See if the wheel rotates freely.
- Do not tighten the disc. It could brake.
WARNING
- To work with small work pieces fasten with wrenches. Never use your hands to hold the piece.
DANGER”
- Do not place saw wheels for wood or a serrated blade. Such blades create frequent kickbacks and loss of control.
- Keep present people at a safe distance from the work area.
- Anyone entering the work area should wear personal protective equipment. Operations for which this power tool is not designed may result in an accident and cause personal injury.
- It is not recommended to use this power tool in operations such as sanding, brushing or polishing Do not use accessories that are not specifically designed and recommended by the manufacturer.
Wrong way to operate the grinder
While operating the grinder
CAUTION
- Do not start the tool when the wheel is touching the work piece.
WARNING
- Wear safety glasses, gloves and an apron when using the tool.

WARNING”
- Keep the power cable or extension in the back of the tool. Avoid accidentally damaging the cables with the disc.
- If control of the power tool is lost, the cable may be cut or tangled and the operator’s arm or hand may be pulled toward the rotary attachment. =
WARNING
- Never hold the tool by the power cable. Hold by the housing or auxiliary handle.
CAUTION
- Hold the tool by the isolated parts.
The cutting tool could come into contact with hidden wiring or its own cable. Making contact with a “live” wire causes the metal parts to electrify and give an electric shock to the user. - Never let go of the power tool until the attachment comes to a complete stop.
- Never hit the work surface with the disc.
CAUTION
- To get the best result with the grinding process, the inclination of the wheel and the working surface should have an angle measuring 15° to 30°
DANGER
- When the wheel is rotating never use the spindle lock to stop it. It is very dangerous and may cause injuries to the user.
CAUTION
- Do not touch the wheel or the working piece after grinding. Wait for them to cool down. Never try to cool them down using water or oil.
WARNING
- Before checking, adjusting or changing wheels, double-check the tool is not plugged in.
- Do not use the power tool near flammable materials.
- Do not operate the tool while it is being transported to your side.
DANGER
- Sparks caused when grinding may be dangerous. Use caution. Make sure sparks do not get into contact with skin or flammable substances.
- Gradually clean the tool’s vents. The motor fan directs dust into the housing and excessive accumulation of metal dust can cause an electrical hazard.
- Do not use accessories that require liquid refrigerants.The use of water or other liquid refrigerants can result in an electric shock.
The outer diameter and thickness of the accessories must be within the assigned capacity.
Incorrectly sized accessories cannot be properly protected or controlled.
For best results use 4 – 1/2” (115 mm) cutting wheels with 1 mm – 6.4 mm thickness
Right way to operate the grinder
Safety warnings for angle grinders
DANGER
KICKBACK (Sharp Recoil)
Kickback (sharp recoil) is a sudden reaction when a rotating wheel, backrest, brush, or other accessory gets stuck or snagged. Stalling or snagging causes rapid stalling of the rotary attachment which in turn causes the power tool to be forced uncontrollably in the direction opposite to the rotation of the attachment at the working point. An abrasive disc jams into the workpiece, the edge of the contacting disc can be pinched into the surface of the material causing the disc to stop, creating a kickback (sudden recoil). The disc may break and the fragments may jump in the direction of or away from the operator, depending on the direction of disc movement at the point of jamming.
Kickback can occur as a result of misuse of power tools and/or improper operating procedures or conditions and can be avoided by taking the precautions listed below:
a) Keep a firm grip on the power tool. Maintain your body and arm so that they can resist the forces of kickback. Always use the auxiliary handle, if provided, for maximum control over kickback or the reaction of the torsional movement of the engine during starting. The operator can control the torsional movement and the kickback forces if the appropriate precautions are taken;
b) Never place your hand near the rotating attachment. The accessories may kick back in your hand;
c) Do not place your body in the area where the power tool can move if kickback (sudden recoil) occurs. This will propel the power tool in the opposite direction of disc movement at the point of engagement or binding;
d) Take special care when working on corners, sharp edges, among others. Avoid bouncing and jamming of the attachment.
When working corners, sharp edges, or bouncing, can cause the attachment to jam and result in loss of control of the power tool or kickback (sudden recoil) of the power tool.
WARNING
Specific safety for grinding and cutting operations with abrasives
a) Use only disc types that are recommended for the specific power tool and the specific tool holder that is designed for the selected disc.
Discs that are not designed for the power tool cannot be properly protected and are unsafe;
b) The grinding surface of discs with a sunken center must be installed below the plane of the guard.
An improperly installed disc may project burrs outside the plane of the guard and cannot be properly protected;
c) The guard must be securely fastened to the power tool and positioned to provide maximum safety, so that the least amount of the blade is exposed to the operator.
Do not use damaged accessories. Before each use inspect the accessories.
* Check abrasive discs for damage.
* Check backing pads for cracks, tears or excessive wear After inspecting and installing the accessory, operate the tool at maximum speed without charge for one minute.
Damaged accessories usually break during this period of time.
Do not use accessories that are not specifically designed and recommended by the manufacturer. The fact that the accessory may be installed on the power tool does not ensure safe operation.
d) Discs should be used only for their recommended applications. For example: do not grind with the side of a cut-off wheel.Abrasive discs are used for perfect grinding. If lateral forces are applied, they can break;
e) Always use flanges in perfect condition, of the correct size according to the shape of the selected disk. A flange with the correct characteristics supports the disc, which reduces the possibility of disc rupture. The flanges for cut-off wheels can be different from the flanges for grinding wheels;
f) Do not use worn out disks from larger or higher capacity tools
Disks that are designed for larger or higher capacity tools are not suitable for the increased speed that occurs in the operation of a smaller size or capacity tool and may defragment.
WARNING
Additional safety warnings for abrasive cutting operations
a) Avoid locking or applying excessive pressure to the abrasive cut-off wheel. Do not attempt to make an excessively deep cut.
Applying excessive force to the disc increases the load on the power tool and the susceptibility to deformation in the cutting area and increases the possibility of kickback (sudden recoil) or blade breakage;
b) Do not place your body in line and behind the rotating disc.
When the disc, at the point of operation, is aligned with your body, the possibility of a kickback (sudden recoil) can propel the spinning disc and the power tool directly against you;
c) When disc operation is interrupted or cutting stops for any reason, turn off the power tool and keep it stationary until the disc comes to a complete stop. Do not attempt to remove the blade while it is in motion, as this may cause kickback (sudden recoil ) or similar effect.
Investigate and complete corrective actions to eliminate the cause of the spin interruption;
d) Do not restart the cutting operation on the workpiece. Allow the blade to reach maximum speed off the workpiece and carefully restart cutting. The abrasive cut-off disc can jam, move upwards or produce a kickback if cutting is restarted on the workpiece;
e) Support large workpieces on presses or clamping brackets to reduce the risk of the abrasive cut-off disc becoming trapped or of kickback (sudden recoil). Large pieces tend to sink under their own weight. Brackets should be placed under the workpiece near the cutting line and near the edge of the workpiece on both sides of the abrasive cut-off wheel;
f) Be careful when making a “very small cut” in walls or other blind areas or where there is no visibility of internal components.
The protruding abrasive cutting disc can cut through gas or water pipes, electrical wiring, or objects that may cause kickback (sudden recoil).
Parts

Preparation
Protection Guard Assembly
- Open the clamp lever and match both cantilevered parts inside the protection guard bracket with the matching slots in the axis cover. Push the protective guard down until the protruding parts engage and rotate freely with the corresponding grooves in the axis cover.
- With the clamp lever open, turn the protective guard to the desired working position.
- Set it pushing the bracket lever.
Disc Assembly - Fit the inner flange onto the spindle.
- Set the disc onto the inner flange.
- Set the outer flange onto the spindle.
- Press the spindle lock into the grinder head.
- Screw the outer flange with the lock nut wrench until securely fastened.
DANGER
The spindle lock should only be used to change discs. Never use it to stop the disc while rotating.
Auxiliary Handle Assembly
CAUTION
Before performing any operation, always make sure that the auxiliary handle is firmly installed. Set the auxiliary handle in one of the three positions according to the operator’s preference and the job to perform.
Start Up
The angle grinder is a manual power tool. It is used to grind and cut steel, pipes, and angles in iron, bricks, tiles, stone and/or ceramic pieces. Also to remove burr from metal surfaces, to level and smoothing out soldering. When changing the tool accessory, it can be used to clean rust and to buff metal surfaces and other materials.
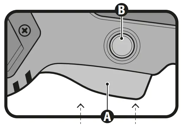
Switch On
- Intermittent operation:
Connect the plug into the power outlet.
Press switch (A) to start the tool.
To stop, just release the switch. - Continuous operation:
Connect the plug into the power outlet.
Press switch (A) and block it pressing the continuous use button (B).
To stop, press and then release the switch.
How to correctly hold the tool
Always hold the tool using both hands. One hand holds the handle and the other hand on the auxiliary handle. Use care not to obstruct the ventilation slots.
- Grinding:
For better results hold the tool at an angle of 15° to 30° with regards to the work piece. Move backward and forward with a constant rhythm and a slight pressure. This way the work piece will not get too hot, will not fade and rough edges will
not appear.
- Cutting:
Do not press, tilt or oscillate the tool. Use a moderate speed. The wheel should always rotate in a movement opposite to the cutting movement. Never the other way around, as there is danger that the tool shoots out of control.
For cutting hard stone, using a diamond wheel is recommended.
Useful Tips
- To prevent damaging the wheel work using the wheel into the right position.
- Press onto the work piece using less force than the tool’s weight to avoid overload and damaging the motor and wheel.
- After installing a new wheel allow it to rotate with no load at least during one minute. If it vibrates, replace immediately.
CAUTION
- Avoid working onto wood or soft materials like lead. These materials saturate the wheel very fast and make it unusable.
Maintenance
- Before cleaning the tool disconnect the tool.
- Never use water or other liquids. Use only a brush.
- To avoid motor overheating clean the ventilation slots regularly.
- Double-check all the tool components are securely fastened.
- The housing should not be cracked or damaged.
- Double-check the power cable is not cut or peeled.
- After a prolonged use the grease on the tool head should be replaced in a
Authorized Service Center.
Repairs
Use only spare parts and accessories recommended by the manufacturer. In the event the tool is not working, repairs should be carried out in a
Authorized Service Center.
Carbon Brush Replacement
- Replace worn (burnt, broken or smaller than 0.19” long) carbon brushes. Use new carbons.
- When replacing carbons always replace both carbons at the same time.
- Use a screwdriver to remove the lid from the carbon brushes..
- Remove worn carbons from the housing. Clean accumulated dust with compressed air.

- Set the new carbons in a reverse order. Carbons should easily fall into the carbon housing.
- After setting up new carbon brushes let the grinder running a couple of minutes unloaded. This way the carbon brushes will adjust better.
- Use only original
spare carbon brushes, designed specifically with the right strength and electric resistance for each type of motor. Carbon brushes with different specifications may damage the motor. - For better results, it is recommended to use grinding and/or cutting wheel to 4-1/2″
Storage
Store the tool neatly in a dry place. Protect against dust and water.
Notes

In the event of any problem contacting a Truper Authorized Service Center, please see our webpage www.truper.com to get an updated list, or call our toll-free numbers 800 690-6990 or 800 0187-8737 to get information about the nearest Service Center.
Warranty policy
| ESMA-4512N | Code | Brand |
| Model | 12873 |
Warranty. Duration: 5 year. Coverage: parts, components and workmanship against manufacturing or operating defects, except if used under conditions other than normal; when it was not operated in accordance with the instructive; was altered or repaired by personnel not authorized by Truper®. To make the warranty valid, only present the product in the establishment where you bought it or in Corregidora 22, Centro, Cuauhtémoc, CDMX, 06060, where you can also purchase parts, components, consumables and accessories. The costs of transportation of the product that derive from its fulfillment of its service network are included. Truper® will not require any proof of purchase to make the warranty effective. Phone number 800-018-7873. Made in China.
Imported by Truper, S.A. de C.V. Parque Industrial 1, Parque Industrial Jilotepec, Jilotepec, Edo. de Méx. C.P. 54257, Phone number 761 782 9100.
Stamp of the business.
Delivery date:
www.truper.com
11-2022

















