POWER KING PK0803-GEH Stump Grinder Owner’s Manual
Introduction
WARNING: This product can expose you to chemicals including benzene, carbon monoxide, and lead which is known to the State of California to cause cancer and birth defects or other reproductive harm.
For more information go to www.P65Warnings.ca.gov.
Preface
Thanks for purchasing the Power King Stump Grinder by QV Tools
To get the most out of your purchase, please read the manual carefully and familiarize yourself with this product before operating the stump grinder.
After reading, please store this instructional manual for future reference.
If you have any questions or concerns, please call us at 1-800-344-3371 or Email: [email protected].
For latest information, check us out at:
https://www.youtube.com/c/powerkingbyqvtools
Scan Me
https://www.QVTools.comW
Scan Me
WARNING: Failure to follow the proper protocols listed in the manual may cause personal injury to the operator or damage the equipment.
Safety Precautions
- Work area should be clean and well lit.
- Do not operate the stump grinder in the presence of flammable liquids, gasses, or dust.
- Keep children and bystanders at least 50 feet away while operating the stump grinder.
Stop the engine when another person or pet approaches. - Only responsible, properly instructed individuals should operate this machine.
- Inexperienced operators must always be carefully supervised.
- Do not expose the stump grinder to rain or wet conditions.
- Stay alert, watch what you are doing and use common sense when operating a stump grinder.
Do not use a stump grinder while you are tired or under the influence of drugs, alcohol, or medication.
A moment of inattention while operating any stump grinder may result in serious personal injury. - Use safety equipment. Always wear eye protection. Safety equipment such as a dust-mask, non-skid safety shoes, hard hat, and hearing protection used for appropriate conditions will reduce risk of personal injuries.
- Dress properly. Do not wear loose clothing or jewelry. Keep your hair, clothing and gloves away from moving parts.
Loose clothes, jewelry or long hair can be caught in moving parts. - Use ear protectors or ear plugs rated for at least 20 dba to protect your hearing.
- Do not start the engine until the machine is in the cutting position next to the stump.
- Do not overreach. Keep proper footing and balance at all times.
This enables better control of the stump grinder in unexpected situations. - If devices are provided for the collection of dust extraction, ensure that that these devices are connected and properly used. Use of one of these devices can reduce dust related hazards.
- Check stumps to be removed for embedded nails, wire, metal fence posts, rocks, and other buried impediments which may become dangerously thrown or cause unexpected machine movements when hit by the cutting wheel.
- Make sure that all shields and guards are in place and are in good condition prior to operating the machine.
Check the cutting wheel for damage or missing teeth and replace as necessary. - Ensure that everyone in the vicinity is aware of the danger zone associated with this machine.
Any person must avoid the danger zone at all times when the machine is in operation.
- Make sure that no one is working on, underneath, or close to the machine before starting the engine or beginning to move the machine. Make sure that the area is free of personnel.
- Don’t make alterations or modifications to your stump grinder.
- Check with your local council and utility providers for the locations of buried pipes and cables where applicable.
Do this before operating the machine.
Fuel Safety
WARNING: Pay attention and use extreme care while handling fuel.
Fuel is extremely flammable and the vapors are highly explosive
- Never remove the fuel cap or add fuel with the machine running.
Stop the engine and allow engine and exhaust components to cool before refueling or storing. - Add fuel outdoors in an open area. Do not smoke while adding fuel.
- Fill your engine with engine oil (check Kohler Manual for oil type) before use or serious damage will occur.
- Never refuel or store the machine in a place where there is an open flame, spark, or other ignitable objects.
- If you spill gasoline, do not attempt to start the engine.
Move the machine away from the area of the spill and avoid creating any source of ignition until the gas vapors have dissipated.
Wipe up any spilled fuel to prevent a fire hazard and properly dispose of the waste. - Always make sure the fuel cap is securely tightened and replace before starting.
- If the fuel tank needs to be drained, it should be done outdoors.
- The muffler and engine become very hot and can cause severe burn. Do not touch.
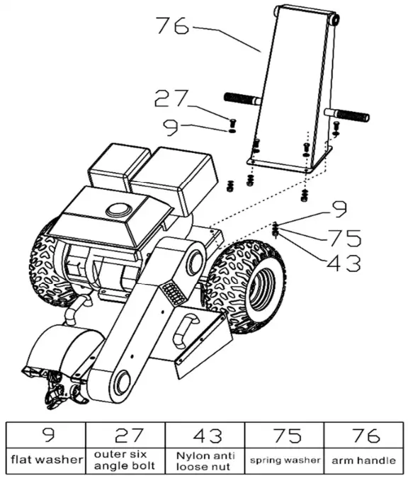
Getting to Know Your Stump Grinder
![]() | Adjustable control handle with emergency palm stop switch and emergency pull switch. Used to stop the machine immediately. |
![]() | Precision Control Brake for pivot grinding. Stops the left tire from rotating and lets you do wide sweeps across the stumps. |
![]() | Locking throttle adjustment. Used to raise and lower engine and grinding wheel speed. |
![]() | Clamp for adjustable bow handle. Used to loosen the bow handle, make adjustment to bow handle, and tighten to keep secure. |
![]() | Top lever is Choke and bottom lever is Fuel. Choke is used to close the air way and enrich the fuel mixture ratio. This is used during cold starts to assist the engine during start up. The Fuel lever is to allow fuel from the gas tank to the carb. It is also used to shut off the machine. |
![]() | Engine recoil starter. Used to pull start the engine. |
![]() | Oil reservoir dip stick. There is one on each side of the engine and they both go into the same reservoir. This is used to fill the engine with oil. Can also be used to check and make sure the correct amount of oil is used. The bolt on the bottom left of the photo is used to drain the oil. Use aluminum foil to direct the oil to a container to keep the unit clean. |
![]() | Storage stand. Used for long term storage to protect the teeth. |
![]() | Grinding wheel. Used for grinding the stump. |
![]() | Lift handles. Used to assist when carrying the unit into a trailer. |
![]() | Engine belt adjuster. Used to move the engine forwards and back to tighten or loosen the belt. Loosen the 4 nuts holding the engine to the frame, then make adjustments with this handle. |
![]() | Pillar bearing. These bearings let the grinding wheel spin. Grease the bearings about once per season using bearing grease. |
Operations
Adding Oil to the Engine
- Only fill the fuel tank to a level 15mm lower than the top of the fuel tank. Do not overfill.
- Use the dipstick to check the oil level. Use 10w-30 engine oil (Kohler manual will list other options depending on environment).
Fill to the correct level before use. - Both yellow fill plugs go to the same reservoir. Fill with whichever side is accessible.

NOTE: The engine is shipped without oil.
Operating the engine with no oil or oil at a low level will destroy the engine.
This is not covered under warranty.
Starting the Engine
- Lock the travel wheel by pulling the brake lever back fully.
- Make sure throttle is in slow position.
- Make sure emergency stop pull is installed and palm stop switch is reset by twisting right.
Do not allow the rope to snap back. Set it back by hand to prevent damage to the starter.
- If the engine is cold, move the choke lever to the closed position.
- Raise the cutter wheel 4 to 5 inches off the ground by pushing downwards on the handle bar and hold it in that position.
This next step may cause the cutter wheel to rotate. Keep everyone away.
- Pull the starter rope lightly until you feel resistance, then pull briskly.
- Or insert key in ignition and turn to start position. Once the engine fires, release key and it will go to the on position.
- Move the choke lever to the open position.
The next step causes the cutter wheel to rotate. Again, keep everyone away. - Move the throttle to fast. If the engine is cold, allow the engine to idle (throttle set to slow) for a few minutes before cutting
Removing Stumps
- Remove all loose pieces of wood, stones, wire and other debris from the area before beginning stump removal.
- Wind direction should be considered, as it will influence the direction in which dust and wood chips are directed.
- Never operate the grinder after dark. There will be no adequate light for the operator to use the grinder safely.
- Always allow a cold engine time to warm up before cutting a stump.
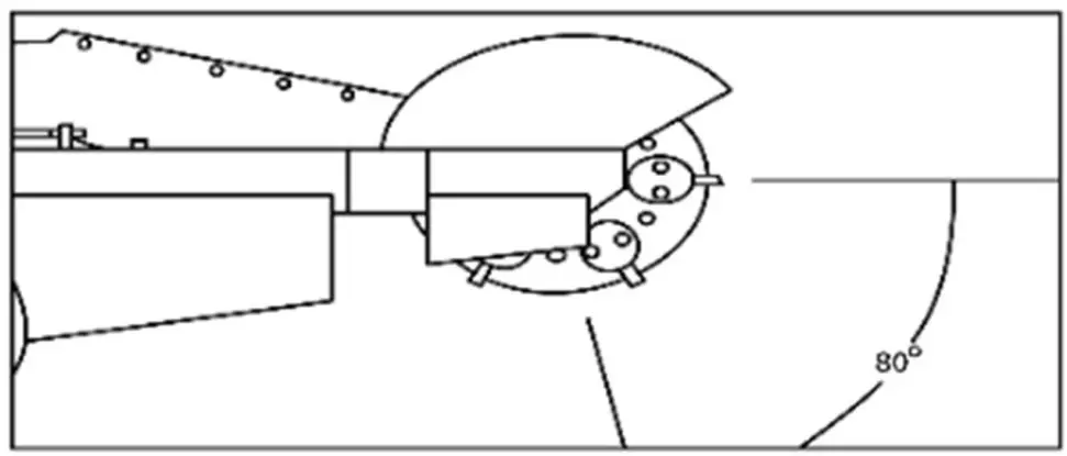
- Only the portion of cutting wheel within the 80-degree area shown below should engage the stump.
Never undercut the stump or use the bottom of the cutting wheel for cutting purposes.
- Never leave controls when the cutting wheel is rotating.
- Do not angle engine more than 25 degrees while in operation.
Doing so can cause damage to the engine.
Operating Tips
- Use smooth and comfortable side to side movements while operating.
- When you need to cut smaller roots, it may be more effective to do so before cutting the stump, rather than after.
- Should the chip build-up become excessive when cutting, shut off the machine, wait for the cutting wheel to stop rotating, retract the machine from the stump and rake away the chips.
It is also possible to use the cutter wheel to push chips off the side. - In order to prevent any of the wheels becoming stuck in the hole.
Move the grinder to the other side of the stump to continue removal or by filling the hole with chips before continuing.
You will want to prepare the grinder at the stump by placing it into position with the cutting wheel near the top edge of the stump.
(See image below)
Removing Roots
- Make sure the throttle is set to fast. The cutter wheel will accelerate to cutting speed.
- Swing the cutting wheel to one side, then lower it into the nearest roots that are buried at the foot of the stump.
- Swing the cutting wheel before each sweep until the roots are sufficiently removed.

Cutting the Full Stump
- Make sure the throttle is set to fast. The cutter wheel will accelerate to cutting speed.
- Direct the cutter wheel against the stump, beginning with the nearest top corner of the stump. Steadily sweep it across the stump left and right, cutting away a ½ inch of wood with each sweep.
- Raise and lower the cutter wheel between sweeps by lowering and raising the control handle.
- Roll the machine forward and back by pushing and pulling on the control handle.
To do this, release the brake. Relock it when the machine has been repositioned and continue cutting.
Continue with the final removal of roots
Cut the remaining roots as described in step 2 until satisfactorily removed.
Shutting Off the Grinder
- When stopping the machine after normal operation, lower the engine speed to slow and press the emergency switch.
- Set the brake before leaving the controls.
- The fuel line lever is also an On/Off switch for the engine.
Standard Shutdown Procedure
In consideration of your own safety and that of other, you should always use the following normal shutdown procedures before departing from the controls for any reason including cleaning, servicing, transporting, or inspecting the stump grinder.
Never deviate from this procedure unless instructed in this manual or in an emergency that requires it.
WARNING: A rotating cutting wheel is very dangerous.
Stand at controls and ensure that the cutting wheel comes to a complete stop before doing anything else.
- Move the engine throttle to the slow position.
- Push the emergency (on/off) switch to stop the engine.
- Set park brake before leaving controls.
Emergency Shutdown Procedure
- Immediately press the emergency (on/off) switch to stop the engine.
- Be sure to allow all moving parts to come to a complete stop.
- Pull the brake lever to engage the brake.
- Rectify the emergency situation and return to normal operation.
Emergency Stop Reset
Reinstall emergency stop pull and twist the palm stop switch to the right.
Palm stop switch will pop up when reset.
Maintenance
- Make sure all nuts, bolts, and screws are tightened.
- Never store the equipment with petrol in the tank inside a building where fumes can reach an open flame or spark.
Allow the engine to cool before moving the grinder. - To reduce fire hazards, keep the engine and petrol storage area free of grass, dirt, and excessive grease.
- Replace worn or damaged parts for safety. If the fuel tank has to be drained, this should be outdoors.
- Regularly check the oil level and add some oil or replace it if necessary.
- Frequently check the grinder and ensure that all bark and dirt deposits are removed from beneath the deck.
- Lubricate the wheel axle and the bearings with grease about once per season.
- Check the cutting wheel often. In order to achieve clean work, the blade should always be sharp and well balanced.
- Check the tightening of all bolts and screws at regular intervals. Nuts and bolts that are worn out or badly tightened can damage the engine or the frame.
- If the grinder hits an obstacle violently, stop the grinder and take it to a specialist for inspection.
Transportation
The stump grinder is designed to be transported via a van or small trailer.
The machine is equipped with grab bars that are to be used for both lifting the machine and strapping it down.
This machine weighs approximately 240lbs (110kg) and should only be lifted using correct apparatus or an adequate number of people
working as a team.
There are legal road requirements for towing equipment and trailers (such as lighting and licensing).
It is the owner’s responsibility to be aware of these laws and to adhere to them.
Green Teeth Compatibility
The installed cutting wheel can support Green Teeth’s 500 Series Pockets.
- 783554.DOS – 500 Series Lo Pro Pocket – Angle – qty 2
- 784165.DOS – 500 Series Lo Pro Pocket – Straight – qty 2
- 783555-2.DOS – Lo Pro Bolts 2” – qty 8
- 83557.DOS – 500 Series Standard Dish Green Tooth w/ Nut – qty 4


Cutting Teeth
To ensure prolonged life and reliability, we recommend to torque the cutting teeth bolts to 40 ft Lbs. before each use.
Belts
To tension the belts, loosen the 4 nuts that hold the engine to the frame.
Turn the tensioning rod on the back of the unit to slide the engine forwards or backwards to properly tension the belts.
Once tensioned, tighten the bolts.
The tension of the belts should be about 0.5in deflection.
Specifications
Stump Grinder
- Diameter of Cutting Wheel: 11.8 inch
- Cutting Wheel Thickness: 3.5″ inch
- Cutting Depth Below Ground: 11 inch
- Cutting Depth Above Ground: 14 inch
- Machine Width: 29.9 inch
- Shipping Weight: 306lbs
- Teeth: 9pcs
- Tire Size: 145 / 70 – 6
- Brake Type: Drum
- Belts: 2 x B54 V-Belt
Engine
- Engine Type: Kohler CH440 4-Cycle Commercial
- Displacement: 429cc
- Max Output: 14HP/3600RPM
- Fuel Type: Unleaded 87 Octane or Higher
- Oil Weight: 10W-30
- Oil Capacity: 1.4qts
Brake Assembly
![]() | Place a floor jack under left rear corner of stump grinder. Lift enough to install tire. |
![]() | Slide brake pad assembly on to the axle and line up notch to keep from spinning. Brake pad assembly can be found in the green accessory bag. |
![]() | Install brake cable end into holder. |
![]() | Loosen lock nut and install brake wire and brake adjuster into brake adjuster mount. |
![]() | Tighten adjuster and lock nut. |
![]() | Adjust barrel adjuster to be able to slide in the brake cable. |
![]() | Install bolt, washer, and nut into brake cable/brake arm. |
![]() | Install wheel with brake drum. |
![]() | Install washer, nut, and cotter/lock pin. |
![]() | Adjustments to tightness of brake can be made with the adjustable knob. Left to loosen and right to tighten. |
Assembly






- Red wire goes to positive terminal.
- Black wire goes to negative terminal.
- Plastic cover is secured to pedestal with locking lip and 2 bolts.
Connect Emergency Stop Wiring

Place the stand when in storage Do not make any adjustments to stand when engine is running or when starting engine.
Parts Description

| Part No. | Description | Part No. | Description |
| 1 | engine | 54 | Adjustment screw |
| 2 | right tyre | 55 | Cylindrical spring pin |
| 3 | lock nut | 56 | bolt |
| 4 | washer | 57 | mounting plate for handbrake |
| 5 | bolt | 58 | Shaft ring |
| 6 | washer | 59 | handbrake |
| 7 | protector for cut plate | 60 | handbrake cap |
| 8 | spring washer | 61 | bolt |
| 9 | washer | 62 | Threaded rod |
| 10 | side plate | 63 | Connecting pipe |
| 11 | protect sheet | 64 | Axle pin |
| 12 | lock nut | 65 | Liner |
| 13 | washer | 66 | spacer sleeve |
| 14 | bearing with block | 67 | Connecting plate |
| 15 | engine plate | 68 | bolt |
| 16 | spring washer | 69 | washer |
| 17 | lock nut | 70 | lock nut |
| 18 | pin | 71 | bolt |
| 19 | nut | 72 | washer |
| 20 | spring washer | 73 | Angle adjustment handle |
| 21 | washer | 74 | Handlebar cover |
| 22 | bolt | 75 | spring washer |
| 23 | cut plate | 76 | handrail support |
| 24 | right teeth | 77 | handle |
| 25 | straight teeth | 78 | safety rope switch |
| 26 | left teeth | 79 | safety switch |
| 27 | bolt | 80 | throttle |
| 28 | bushing | 81 | Throttle Cable |
| 29 | big pulley | 82 | bolt |
| 30 | protect sheet | 83 | Inner mounting plate |
| 31 | bolt | 84 | bolt |
| 32 | belt cover | 85 | plug |
| 33 | frame | 86 | rocking bar |
| 34 | bolt | 87 | D-pin |
| 35 | bolt | 88 | plate for stand foot |
| 36 | left tyre | 89 | stand foot |
| 37 | key | 90 | rubber |
| 38 | bushing | 91 | tow bar |
| 39 | belt | 92 | knob |
| 40 | belt plate | 93 | hitch |
| 41 | side plate | 94 | washer |
| 42 | protect sheet | 95 | spring washer |
| 43 | lock nut | 96 | protective ring |
| 44 | side plate | 97 | nut |
| 45 | safety switch wire | 98 | strip |
| 46 | bushing | 99 | hour timer plate |
| 47 | protect sheet | 100 | hour timer |
| 48 | clutch pulley | 101 | bolt |
| 49 | bolt | 102 | lock nut |
| 50 | bolt | 103 | battery |
| 51 | key | 104 | battery cover |
| 52 | brake disc | 105 | bolt |
| 53 | brake wire | ||
WARRANTY POLICY
Thank you for choosing QV TOOLS Products. We’re here to ensure that your experience is perfect.
In some rare instances, you may need some help with a warranty claim.
Please call us at 1-800-344-3371.
Product must be registered to activate the warranty. Warranty registration is below. Warranty begins from date of purchase.
Engine Warranty
Kohler engines are covered with a 3-year commercial and 3-year residential warranty for Command Pro series.
Parts and Labor are covered as well.
Visit your engine manufacturer for warranty details or visit www.QVTools.com.
Equipment Warranty
Manufactures defects of chassis and component parts are covered for 1 year. Only parts are covered.
Shipping cost is not covered.
QV Tools will replace any part that is proven to be defective in material or workmanship.
This warranty is not valid for products or parts affected or damaged by accident, collision, normal wear, fuel contamination, abuse, neglect, misuse, alteration and/or unsuitable use or unauthorized parts.
Transportation charges to and from service centers, if assigned, is not covered.
Shipping cost of product for repair is not covered.
Labor to repair equipment is not covered.
Consumable parts such as brake pads, tires, racks, splines, grinding teeth, blades, bar blades, etc. are not covered under warranty.
Power King has all replacement parts at value pricing.
Damaged Products
You must take the time to inspect the goods before you sign the delivery receipt from the carrier.
If you sign the delivery receipt without inspecting the shipment. you will be responsible for filing a freight claim and arranging for a repair or return of the damaged goods.
Concealed damage claims must be reported immediately.
Suspected Damage
On occasion, the outer carton may look damaged, but the product inside the box is perfectly fine.
If you suspect concealed damage, notate “Possible Freight Damage” on the delivery receipt while the driver is present.
This way, if you discover later that the product is damaged, the remedy of a freight claim is less of a hassle.
Obvious Damage
Do not sign for damaged products. If your product arrives damaged, please (a) REFUSE DELIVERY and (b) Call where you purchased the item Immediately so the dealer can process the appropriate claims and coordinate an exchange for you.
Defective Products
We encourage you to test your product within 15 days of receipt so we can quickly remedy any mechanical problems.
If you think your product is defective, call QVTools at 1-800-344-3371.
In most cases, it’s a simple issue that can be resolved over the phone.
We have expert technicians standing by to help resolve your issue.
Please have your model number and serial number available and your proof of purchase receipt for faster service.
Original Owner Warranty
Warranty is non-transferable and covers the original owner only who purchased from a QVTOOLS authorized dealer.

















































