
PRODUCT SPECIFICATIONS
| Model | GB602 | GB602W | GB801 |
| Wheels: Diameter Width Arbor Hole | 6 in. (150 mm) 5/8 in. (16 mm) 1/2 in. (12.7 mm) | 6 in. (150 mm) 6 in. (150 mm) 1/4 in. (6.4 mm) 5/8 in. (16 mm) 1/2 in. (12.7 mm) 1/2 in. (12.7 mm) | 8 in. (205 mm) 3/4 in. (19 mm) 5/8 in. (15.88 mm) |
| No load speed | 2,850 (50Hz) | 2,850 (50Hz) | 2,850 (50Hz) |
| (min-1) | 3,450 (60Hz) | 3,450 (60Hz) | 3,450 (60Hz) |
| Power Input | 250W | 250W | 550W |
| Overall length | 375 mm | 375 mm | 395 mm |
| Net Weight | 9.4 kg | 9.5 kg | 20.5 kg |
…. Look for this symbol to point out important safety precautions. It means attention!!
Symbols
Be sure that you understand their meaning before use.
………. Read instruction manual.
…………. Only for EU countriesDo not dispose of electric equipment together with household waste material! In observance of European Directive on waste electrical and electronic equipment and its implementation in accordance with national law, electric equipment that have reached the end of their life must be collected separately and returned to an environmentally compatible recycling facility.
RULES FOR SAFE OPERATION
Safe operation of this power tool requires you read and understand this operator’s manual and all labels affixed to the tool. Safety is a combination of common sense, staying alert, and knowing how your bench grinder works.
READ ALL INSTRUCTIONS
- KNOW YOUR POWER TOOL. Read the operator’s manual carefully. Learn the applications and limitations as well as specific potential hazards related to this tool.
- GUARD AGAINST ELECTRICAL SHOCK by preventing body contact with grounded surfaces. For example: pipes, radiators, and refrigerator enclosures.
- KEEP GUARDS IN PLACE and in working order. Never operate the tool with any guard removed. Make sure all guards are operating properly before each use.
- REMOVE ADJUSTING KEYS AND WRENCHES. Form habit of checking to see keys and adjusting wrenches are removed from tool before turning it on.
- KEEP THE WORK AREA CLEAN. Cluttered work areas and workbenches invite accidents.
- AVOID DANGEROUS ENVIRONMENTS. Do not use power tools near gasoline or other flammable liquids, in damp or wet locations or expose them to rain. Keep work area well lighted.
- KEEP CHILDREN AND VISITORS AWAY. All visitors should wear safety glasses and be kept a safe distance from work area.
- MAKE WORKSHOP CHILD PROOF with padlocks, master switches, or by removing starter keys.
- DON’T FORCE THE TOOL. It will do the job better and safer at the rate for which it was designed.
- USE THE RIGHT TOOL. Do not force the tool or attachment to do a job for which it was not designed.
- USE THE PROPER EXTENSION CORD. Make sure your extension cord is in good condition. When using an extension cord, be sure to use one heavy enough to carry the current your product will draw. An undersized cord will cause a drop in line voltage resulting in loss of power and overheating. An extension lead with a cross sectional area of at least 1.5 mm2 is recommended for an extension cord 8 meters or less in length.
- INSPECT EXTENSION CORDS PERIODICALLY and replace if damaged.
- WEAR APPROPRIATE CLOTHING. Do not wear loose clothing, neckties, or jewelry that can get caught in the tool’s moving parts and cause personal injury, Nonsolid footwear is recommended when working outdoors. Wear protective hair covering to contain long hair.
- ALWAYS WEAR SAFETY GLASSES WITH SIDE SHIELDS. Everyday eyeglasses are NOT safety glasses.
- PROTECT YOUR LUNGS. Wear a face or dust mask if the cutting operation is dusty.
- PROTECT YOUR HEARING. Wear hearing protection during extended periods of operation.
- DON’T ABUSE CORD. Never carry tool by the cord or yank it to disconnect from receptacle. Keep cord away from heat, oil, and sharp edges.
- DO NOT OVERREACH. Keep proper footing and balance at all times.
- MAINTAIN TOOLS WITH CARE. Keep tools sharp and clean for best and safest performance. Follow instructions for lubricating and changing accessories.
- NEVER LEAVE TOOL RUNNING UNATTENDED. TURN POWER OFF. Disconnect all tools when not in use, before servicing, or when changing attachments, wheels, etc.
- AVOID ACCIDENTAL STARTING.
- USE RECOMMENDED ACCESSORIES. The use of improper accessories may cause risk of injury.
- DO NOT use wheels with incorrect size bore. NEVER use wheel washers or wheel that are defective or incorrect and NEVER touch grinding wheel or other moving parts.
- NEVER STAND ON TOOL. Serious injury could occur if the tool is tipped or if the wheel is unintentionally contacted.
- DIRECTION OF FEED. Be aware of wheel rotation direction; never grind without the work rest being properly set. NEVER grind more than one workpiece at a time.
WARNING
Wheel coasts after turn off. - CHECK DAMAGED PARTS. Before further use of the tool, a guard or other part that is damaged should be carefully checked to determine that it will operate properly and perform its intended function. Check for alignment of moving parts, binding of moving parts, breakage of parts, mounting and any other conditions that may affect its operation. A guard or other part that is damage must be properly repaired or replaced by an authorized service center to avoid risk of personal injury.
- KEEP TOOL DRY, CLEAN, AND FREE FROM OIL AND GREASE. Always use a clean cloth when cleaning. Never use brake fluids, gasoline, petroleum based products, or any solvents to clean tool.
- INSPECT POWER SUPPLY AND EXTENSION CORDS periodically and, if damaged, have repaired by a qualified service technician. Stay constantly aware of cord location and keep it well away from the rotating wheel.
- NEVER USE IN AN EXPLOSIVE ATMOSPHERE. Normal sparking of the motor or sparking from grinding metal could ignite fumes.
- USE OUTDOOR EXTENSION CORDS. Use only extension cords with approved ground connection that are intended for use outdoors and so marked.
- NEVER reach to pick up a workpiece, a piece of scrap, or anything else that is in or near the grinding path of the wheel.
- AVOID AWKWARD OPERATIONS AND HAND POSITIONS where a sudden slip could cause your hand to move into the wheel. ALWAYS make sure you have good balance.
- NEVER stand or have any part of your body in line with the path of the wheel.
- DO NOT USE TOOL IF SWITCH DOES NOT TURN IT ON AND OFF. Have defective switches replaced by an authorized service center.
- DO NOT TURN THE MOTOR SWITCH ON AND OFF RAPIDLY. This could cause the wheel to loosen and could create a hazard. Should this ever occur, stand clear and allow the wheel to come to a complete stop. Disconnect your grinder from the power supply and securely retighten the wheel nut.
WARNING:
When servicing use only identical replacement parts. Use of any other parts may create a hazard or cause product damage. - USE ONLY FLANGES supplied with this bench grinder. IF ANY PART OF THIS GRINDER IS MISSING or should break, bend, or fail in any way, or should any electrical component fail to perform properly, shut off the power switch, remove the machine plug from the power source and have damaged, missing, or failed parts replaced before resuming operation.
- MAKE SURE THE GRINDING WHEEL IS SECURELY MOUNTED as described in the operating instructions before connecting the tool to a power supply.
- DO NOT OVERTIGHTEN THE WHEEL NUT, excessive tightening can cause the wheel to crack during operation.
- INSPECT GRINDING WHEEL for visible defects. Check the wheel for fissures and cracks, and test for normal operation prior to use.
- ADJUST distance between wheel and work rest to maintain 1.6 mm. or less separation as the diameter of the wheel decreases with use. The value of separation used in the marking is to be the separation recommended by the manufacturer but shall not be more than 3.2 mm.
- The maximum wear of the wheel allowed before replacement; diameter decrease is 40 mm.
- ALWAYS EASE THE WORKPIECE AGAINST THE ABRASIVE WHEEL. When starting to grind. A harsh impact can break the wheel. Use light pressure when starting to grind; too much pressure on a cold wheel can cause the wheel to crack.
- RISK OF INJURY DUE TO ACCIDENTAL STARTING. Do not use in an area where children may be present.
- NEVER START THE GRINDER when the wheel is in contact with the workpiece.
- SECURE WORK. Always hold workpiece firmly against the work rest.
- DO NOT USE THE BENCH GRINDER if the flange nut or clamp nut is missing or if the spindle shaft is bent.
- FREQUENTLY clean grinding dust from beneath grinder.
- DO NOT OPERATE THIS TOOL WHILE UNDER THE INFLUENCE OF DRUGS, ALCOHOL, OR ANY MEDICATION.
- ALWAYS STAY ALERT. Do not allow familiarity (gained from frequent use of grinder) to cause complacency.
- A careless fraction of a second is sufficient to inflict severe injury.
- STAY ALERT AND EXERCISE CONTROL. Watch what you are doing and use common sense. Do not operate tool when you are tired. Do not rush.
- SAVE THESE INSTRUCTIONS. Refer to them frequently and use them to instruct other users. If you loan someone this tool, loan them these instructions also.
Some dust created by power sanding, sawing, grinding, drilling, and other construction activities contains chemicals known to cause cancer, birth defects or other reproductive harm. Some examples of these chemicals are:
- lead from lead-based paints.
- crystalline silica from bricks and cement and other masonry products, and
- arsenic and chromium from chemically treated timber.

| The purpose of safety symbols is to attract your attention to possible dangers. The safety symbols, and the explanations with them, deserve your careful attention and understanding. The safety warning does not by themselves eliminate any danger. The instructions or warning they give are not substitutes for proper accident prevention measures. | |
| SYMBOL | MEANING |
| SAFETY ALERT SYMBOL: Indicates danger, warning, or caution. May be used in conjunction with other symbols or pictographs. | |
| DANGER: Failure to obey a safety warning will result in serious injury to yourself to other. Always follow the safety precautions to reduce the risk fire, electric shock and personal injury. | |
| WARNING: Failure to obey a safety warning may result in property damage or personal injury to yourself or to others. Always follow the safety precautions to reduce the risk of file, electric shock and personal injury. | |
| CAUTION: Failure to obey a safety warning may result in property damage or personal injury to yourself or to others. Always follow the safety precautions to reduce the risk of fire, electric shock and personal injury | |
| NOTE: | Advises you of information or instructions vital to the operation or maintenance of the equipment. |
Do not attempt to operate this tool until you have read thoroughly and understand completely all instructions, safety rules, etc. contained in this manual. Failure to comply can result in accidents involving fire, electric shock, or serious personal injury. Save this operator’s manual and review frequently for continuing safe operation and instructing others who may use this tool.
UNPACKING
- Carefully remove all parts from the shipping carton.
- Lift the bench grinder from the carton and place it on a work surface.
- Do not discard the packing materials until you have carefully inspected the machine, identified all loose parts, and satisfactorily operated your bench grinder.
- Examine all parts to make sure no breakage or damage has occurred during shipping.
- If all parts have been included, proceed to assembly.
- If any parts are damaged or missing, do not attempt to plug in the tool or turn it on until the damaged or missing parts are obtained and installed correctly.
- Contact your nearest dealer for assistance if parts are missing or damage.
WARNING:
If any parts are missing do not operate this machine until the missing parts are replaced. Failure to do so could result in possible serious injury.
STANDARD EQUIPMENT
GB602
- Wrench 8-19………………………………………………………. 1
- Wrench 10-13…………………………………………………….. 1
- Safety goggles……………………………………………………. 1
GB801
- Wrench 8-24………………………………………………………. 1
- Wrench 10-13-17………………………………………………… 1
- Wrench 17 …………………………………………………………. 1
- Safety goggles……………………………………………………. 1
GB602W
- Wrench 8-19 ……………………………………………………….1
- Wrench 10-13 ……………………………………………………..1
- Left Work Rest …………………………………………………….1
- Safety goggles…………………………………………………….1
FEATURES
KNOW YOUR BENCH GRINDER
See Fig. 3 & 4.
Before attempting to use your new tool, familiarize yourself with all operating features and safety requirements.
Carefully read this operator’s manual before using your grinder.
POWER SWITCH
An easy access On/Off switch convenience and safety.
MOTOR
Powered by a precision-built electric induction motor, your bench grinder has sufficient power to handle tough grinding jobs.
GRINDING WHEEL
Equipped with coarse and fine grinding wheels to suit most applications.
NOTE:
New wheels sometimes require dressing to true up the face of the wheel.
SAFETY EYE SHIELD AND SPARK DEFLECTOR
The safety shields and spark deflectors are adjustable for operator convenience. Operating the grinder without these features attached could result in serious injury. Do not grind with the safety shield raised; always wear safety glasses for personal protection.
WORK REST
Adjust the distance between the wheel and work rest to maintain 1.6 mm. or less separation as diameter of the wheel decreases with use. With a permanently mounted work light that automatically lights the work area for safer, more accurate grinding and sharpening.
- Adjustable knob
- Safety eye shield
- Work rest (left)
- Adjustment bolts
- Coolant tray
- Auto-ON (work light)
- Spark deflector (left)
- Spark deflector (right)
- Lamp cover
- Safety eye shield with magnifying glass
- Work rest (right)
- Power switch

GB602W (Fig. 4)
- Adjustable knob
- Safety eye shield
- Saw blade sharpening kit
- Adjustment bolts
- Coolant tray
- Auto-ON (work light)
- Spark deflector (left)
- Spark deflector (right)
- Lamp cover
- Safety eye shield with magnifying glass
- Work rest (right)
- Power switch

ASSEMBLY
MOUNTING SAFETY EYE SHIELDS
- Safety eye shield
- Eye shield mounting arm
- Adjustable knob
- Washer
- Hex bolt

See Fig. 5-6.
- Eye shield mounting arm
- Hex bolt
- Adjustable knob
- Safety eye shield

Mount the left and right eye shield-mounting arm To the inside of the wheel guards using the clamp Brackets, hex bolts (M6 X 30 mm), and washers (6 mm).
Use the illustration as a guide to determine which eye shield mounting arm is mounted on the left and which eye shield mounting arm is mounted on the right of the grinder.
Once the eye shield mounting arms are firmly in place, slide the shield bracket onto the eye shield-mounting arm. Tighten the adjustable knob leaving it loose enough to allow the safety eye shield to be raised and lowered easily.
WARNING:
To prevent personal injury, never operate the bench grinder unless the safety eye shields and spark deflectors are properly installed and in place.
WORK REST
GB602/GB801/GB602W
- Work rest bracket
- Hex bolt

See Fig. 7.
Mount the work rests to the work rest bracket using the two hex bolts.
Before tightening the bolts, adjust the gap between the Grinding wheel and work rest to a maximum of 1.6 mm.
Tighten securely.
GB602W only
- Work rest
- Hex bolt

Mount the blade work rest to the work rest bracket using the two hex bolts. Before tightening the bolts, adjust the gap between the Grinding wheel and work rest to a maximum of 1.6 mm. Tighten securely.
OPERATION
BASIC OPERATION
WARNING:
Always wear safety goggles or safety glasses with side shields during power tool operation or when blowing dust.
If operation is dusty, wear a dust mask.
To be efficient and work as designed, your tools should be kept sharp. Dull tools can and will cause accidents.
Bench Grinders are ideal for sharpening tools such as chisels, planer blades, scissors, etc., and for removing rust or corrosion.
WARNING:
Never sharpen or grind anything made of aluminum.
Grinders remove material rapidly so pressure is the key to efficient grinding.
The proper way to sharpen a tool and avoid overheating is:
- Keep a tool on the work rest firmly at the correct the wheel.
- Keep the object in constant motion, moving it at an even pace.
- Never force a tool against the grinding wheel.
- Keep the tool cool by using either a cooling tray, or a pan of water.
- The grinding wheel should rotate “into” the object being sharpened.
Excessive pressure may damage the tool, cause the motor to overheat, and prematurely wear down the grinding wheel.
Excessive pressure on a cold wheel can cause the wheel to crack.
- Saw blade sharpening kit
- Bolt

- Assembly and attach saw blade sharpening kit as in Fig. 9.
Before using, make sure it is securely fastened.
- Grinding wheel
- Screw
- Wing nut A
- Tool rest holder
- Wing nut B
- Stopper
- Holder B
- Tool rest

Place the saw blade between holder A and holder B.
Then secure the assembly on the screw with the wing nut A.
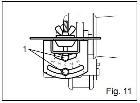
- Hex bolt

The angle adjustment can be made by loosening the hex bolts on the bevel scale plate. After adjusting the angle, tighten the hex bolts securely.
- Saw blade
- Screw
- Grinding wheel
- Wing nut A
- Holder A

Loosen the wing nut B and slide the holder B so that the “gullet” or slot between the saw blade Teeth just comes in contact with the edge of the Wheel. Slide the stopper so that it comes in contact with the holder B and tighten the wing nut B securely.
WARNING:
Always disconnect the bench grinder from the power source before performing any assembly or adjustment.
Failure to do so could result in accidental starting resulting in possible serious personal injury.
WHEEL REPLACEMENT
See Fig.13.
If you must replace a grinding wheel, be sure to obtain one with a safe rated speed at least as high as the “no load speed” RPM marked on the data plate of the grinder and which is marked to comply with EN12413.
To replace the grinding wheel, remove the wheel cover by loosening the nuts.
Loosen the wheel nut in a clockwise direction for the left side and a counterclockwise direction for the right side using the correct wrench. Remove the outer flange and grinding wheel. To install a new grinding wheel, reverse the above procedure. Be sure the grinding wheel and outer flange are properly seated on the spindle shaft.
- Wrench
- Wheel cover

- Wrench 13
- Wrench 19
GB801 only
1. Wrench 17
2. Wrench 24
MAINTENANCE
WARNING:
When servicing, use only manufacturers recommended replacement parts. Use of other part may create a hazard and cause product damage.
GENERAL
Keep the bench grinder clean. Remove dust from working parts and beneath the grinder frequently.
Make sure the bench grinder operates properly. Check screws, nuts, and bolts for tightness.
EXTENSION CORDS
The use of any extension cord will cause some loss of power. To keep the loss to a minimum and to prevent tool overheating, use an extension cord that is heavy enough to carry the current the tool will draw.An extension lead of cross sectional area of at least 1.5 mm2 is recommended for an extension cord 8 meters or less in length. When working outdoors, use an extension cord that is suitable for outdoor use.
WARNING:
Check extension cords before each use. If damaged, replace immediately. Never use tool with damaged cord since touching the damaged area could cause electrical shock resulting in serious injury.
WORKLIGHT BULB REPLACEMENT
- Light bulb

TROUBLESHOOTING
This section covers the most common problems encountered during operation and what to do about them. Do not make any adjustments until machine is unplugged and moving parts have come to a complete stop.
| SYMPTOM | POSSIBLE CAUSE | CORRECTIVE ACTION |
| Motor will not start. |
|
|
| Motor will not start; fuses or circuit breakers blow |
|
|
| Motor overheats. | Motor overloaded. | Reduce load on motor. |
| Motor stalls (resulting in blown fuses or tripped circuit) |
|
|
| Machine slows when operating. | Depth of cut is too great. | Slow down the of rate of movement of the workpiece into wheel. |
| Wavy condition on surface of workpiece. |
| |
| Lines on surface of workpiece. |
|
|
| Burning spots or cracks in the workpiece. |
|
|
| Wheel dulls quickly, grit falls off. |
|
|
| Wheel clogs and workpiece shows burn marks. |
|
|
For European countries only Noise
The typical A-weighted noise level are:
Sound pressure level (LpA): GB602: 74 dB (A),
GB602W: 75 dB (A), GB801: 77 dB (A)
Uncertainty (K) 3 dB (A)
Wear ear protection.
For European countries only
EC Declaration of Conformity
The EC declaration of conformity is included as Annex A to this instruction manual.
Customer Support
Makita Europe N.V. Jan-Baptist Vinkstraat 2, 3070 Kortenberg, Belgium
Makita Corporation 3-11-8, Sumiyoshi-cho, Anjo, Aichi 446-8502 Japan

































