TRACMASTER CAMON SG30 Stump Grinder Instruction Manual
Before commissioning the machine, read operating instructions and observe warning and safety instructions.
Manufacturer Details
Tracmaster Ltd
Sovereign Centre
Victoria Road
Burgess Hill
West Sussex
RH15 9LR
UNITED KINGDOM
Tel: +44 1444 247689
Fax: +44 1444 871612
www.tracmaster.co.uk
[email protected]
Machine Details
Model: CAMON SG30 Stump Grinder
Serial Number: …………………………………………..
Engine Serial No: …………………………………………..
Date of Purchase: …………………………………………..
Supplier: …………………………………………..
What the Machine is Designed For
Applications
The CAMON SG30 Stump Grinder has been designed by Tracmaster for removing tree stumps from above and below the surface of the ground.
The benefit of removing a tree stump is that it allows the landscape to be redesigned without the stump.
IMPORTANT – READ CAREFULLY
The teeth of the CAMON SG30 Grinder are designed to grind TREE STUMPS ONLY – they are NOT designed to make contact with solid ground at any point during operation.
The machine will be damaged should the teeth continuously come into contact with solid ground.
DO NOT use the CAMON SG30 Grinder for cutting grass or digging the ground. These operations will result in damage to the machine.
Operating the machine on non-grass surfaces such as concrete or tarmac will cause damage to the SG30 Grinder.
DO NOT use the Stump Grinder if there is a likelihood of high temperatures.
Specifications
| ENGINE | |
| Engine Manufacturer | Honda |
| Engine Model | GX390 |
| Engine Type | 4-stroke OHV, single cylinder |
| Net Engine Power | 8.7kW (11.7hp) @ 3600rpm |
| Engine Shaft Size | 1” straight |
| Spark Plug | BPR6ES (NGK) / W20EPR-U (DENSO) |
| Spark Plug Gap | 0.70 – 0.80mm |
| Engine Ignition Type | Recoil |
| Cold Start System | Choke |
| Fuel Tank Capacity | 6.1 litres |
| Fuel Type | Unleaded |
| Fuel Consumption | 3.5 litres per hour @ 3600rpm |
| Air Filter | Paper |
| Rated Engine Speed | 3600rpm |
| Engine Oil | 10w/30 API SJ or later |
| Engine Oil Capacity | 1.1 litres |
| Dry Weight | 30kg |
The power rating of the engine indicated in this table is the net power output tested on a production engine for the engine model and easured in accordance with SAE J1349 at a specified rpm.
| MACHINE | |
| Model | SG30 |
| Disc Width | 30cm |
| No of Teeth | 8 |
| Clutch Type | Centrifugal clutch |
| Working Height | 45cm above ground to 30cm below ground |
| Discharge | Rear discharge |
| Wheel Types | Pneumatic |
| Handlebar | Foldable |
| Wheel Types | Pneumatic |
| Noise Level | 104 dB(A) |
| Vibration Acceleration Value | 3.1m/s2 |
| Max Gradient for Operation on Slope | 15 degrees |
| Weight | 135kg |
| Dimensions (l x w x h) | 190 x 63 x 126cm |
Unpacking and Assembly
Major Components Diagram

- Top Handlebar
- Lower Handlebar
- Operator Presence Lever
- Throttle Lever
- Choke Lever
- Brake Lever
- Engine
- Engine Recoil Rope
- Cutting Disc
- Discharge Area
- Belt Guard
- Wheels
Unpacking Instructions
The machine is delivered strapped to a pallet and wrapped with plastic sheet.
Unwrap the plastic wrapping. Cut carefully using a knife if required.
Using a knife or pair of cutter cut the straps holding the machine onto the pallet.
Push the machine forward safely and gently off of the pallet once the straps have been removed.
The handlebars will have been folded over the engine into a transport position.
To position the handlebars in their working position, remove and relocate the bolts at the bottom of the lower handlebar into the top position on the chassis and loosen the large butterfly knob on the right hand side of the machine to allow the top handlebars to be rotated into the upright working position.
Re-tighten the butterfly to fix the top handlebars in the working position.
Safety Instructions – Pre-Operation
Basic Safety Instructions
Before starting the machine, read and understand these operating instructions.

Main Components and Operating Elements
Below is a description of the main components of the SG30 and how they operate.
Engine and Drive
The Honda GX390 is a four stroke engine that runs on standard unleaded fuel.
The engine is air cooled and therefore it is important that the grille covering the recoil rope is kept clear from debris.
The engine air filter cleans the air sucked in by the engine. A clogged air filter will reduce performance.
The engine is fitted with a fuel on/off lever and a choke lever. Read the engine operating instructions to understand the operation of these levers.
Operating Lever
The engine of the SG30 Stump Grinder is controlled by the Operator Presence Control (OPC) lever.
This lever turns the engine ON or OFF.
Squeezing the Operator Presence Control lever allows the engine to be started.
Letting go of the Operator Presence Control lever turns the engine off.
Throttle Lever
The throttle lever controls the engagement and speed of the rotor disc and teeth.
If the throttle lever is in the SLOW position the engine revolutions of the crank shaft is too low for the centrifugal clutch to engage and transfer power to the rotor shaft and cutting disc.
Positioning the throttle lever in the FAST position will engage the centrifugal clutch and the rotor shaft and cutting disc will rotate.
WARNING: MOVING THE THROTTLE FROM SLOW TO FAST MUST ALWAYS BE CARRIED OUT IN A CONTROLLED MANNER WITH THE OPERATOR UNDER COMPLETE CONTROL OF THE MACHINE.
Choke Lever
The choke lever is used to help start the engine when it is cold or being started for the first time. Refer to the engine instructions for detailed instructions on the operation of the choke lever.
Rotor Disc and Teeth
The main rotor disc holds 8 teeth holders with each holder holding 1 carbide-tipped cutting tooth.
Each tooth can be turned through three positions in the holder, allowing the teeth to be used three times before they need changing.
Commissioning
Prior to operation it is necessary to check the engine oil level and add raise the oil level to the levels indicated in the table in section 5.1.
The engine fuel tank will not contain fuel so will need filling to the recommended level before use.
General Safety Instructions
Be aware of all the safety requirements for the machine.
Visually check the machine for operational safety, complete components and fixed guarding prior to each use.
Read and be aware of the warning and instruction signs located on the machinery.
Cordon off the work area to access from the general public.
Before starting work clear the area of any objects that may cause damage to the machine.
Do not operate the machine if you are under the influence of alcohol or drugs. This equipment must only be operated by persons who are medically fit both physically and mentally.
Only work in good light and visibility.
Only operate the machine outdoors.
Wear the correct personal protection equipment as instructed by this manual of gloves, steel toe capped boots or similar, eye protection and ear defenders.
Operator clothing should not be loose and footwear should offer good grip.
Know how to stop the machine in an emergency.
Engine Specific Safety Instructions
Always ensure the engine is turned off and fuel tap is turned off when transporting the machinery, cleaning the machinery and making adjustments.
Always start the engine in the open air. Starting an engine within a confined space can lead to the inhalation of toxic substances.
Do not smoke or use a naked flame when refueling.
Use only unleaded petrol from fuel containers designed for this purpose. Refuel outdoors only and replace the fuel tank cap securely.
Do not mix oil with the fuel.
Leave one inch of space in the fuel tank during refilling.
Clear up any petrol spillages immediately.
Avoid contact with the engine during operation as it will become hot. Leave the engine to cool prior to contact.
Never interfere with the control settings of the engine.
NEVER TILT THE MACHINE BACKWARDS WHEN CLEANING.
Hazard Pictorial Explanations




Safety Instructions Starting and Operating
Before Starting the Engine
Review all of the safety decals that are placed on the machine for your safety and convenience. See Parts Diagram for aid in locating all decals on the machine.
Make sure that all shields, guards, and curtains are in place, and are in good condition prior to operating the machine.
Only responsible, properly instructed individuals should operate this machine. Inexperienced operators must always be carefully supervised.
Check cutting wheel for damage or missing teeth, and replace as necessary.
Make sure that no-one is working on, underneath, or close to the machine before starting the engine or beginning to move the machine. Make sure that the area is free of personnel.
Check stumps to be removed for embedded nails, wire, metal fence posts, and other metallic objects, and for rocks or other buried impediments which may become dangerously thrown or cause unexpected machine movements when hit by the cutting wheel.
Ensure that everyone in the vicinity is aware of the DANGER ZONE associated with this machine – this is an 8m radius around the machine (see diagram below). You and they must avoid the DANGER ZONE at all times when the machine is in operation. The SAFE ZONE for the operator, subject to the operator wearing the appropriate safety equipment (PPE) as outlined in section 5.4 on page 9, is indicated on the diagram below.

Make no alterations or modifications to your CAMON Stump Grinder unless requested or recommended by Tracmaster Ltd.
Check with the local utilities for the locations of buried pipes and cables where applicable, before operating the machine.
To Start the Engine
| Using the dipstick provided, check the engine oil level. Top up with 10w/30 oil if the dipstick is clear of oil. | ![]() |
| Check the fuel level. Refill as necessary and as determined by the fuel tank type – see diagram. | ![]() |
Lock the left hand wheel by pulling Brake lever fully back.
Squeeze the Operator Presence Control lever to turn the engine on.
Make sure throttle is in “MIN” position.
If engine is cold, move the choke lever to the ON position.
Raise the cutter wheel off the ground, approximately 4” to 5”, by pushing downward on the control handle. Hold it in that position.
WARNING: The next step may cause the cutter wheel to rotate. Keep everyone away!
Pull the starter rope lightly until resistance is felt, then pull briskly.
Move the Choke lever to the “ON” position.
WARNING: The next step causes the cutter wheel to rotate. Keep everyone away!
Move the Throttle to “MAX” position. If the engine is cold, allow the engine to idle (Throttle set to “MIN” position) for a few minutes before cutting.
Once the engine is running, move the Choke lever to the “OFF” position.
To Stop the Engine
Tilt the stump grinder to raise the teeth into the air.
Move the throttle lever to the “MIN” position
Release the operator presence lever.
Ensure the blades have stopped rotating prior to moving the machine.
Turn the fuel tap lever to the “OFF” position.
WARNING: THE EXHAUST COVER MAY BE HOT – DO NOT TOUCH.
Safety Equipment
The SG30 operator must be wearing:
- Ear Defenders
- Gloves
- Protective Footwear
- Safety Glasses
- Forestry Helmet – recommended
Operation – Removing Stumps
Before grinding a stump the area must be cleared of any objects such as stones or metal that would damage the grinder or be picked up and thrown by the rotating blades.
WARNING: REMOVE ALL HARD OBJECTS SUCH AS GRAVEL, ROCKS AND STONES TO REDUCE THE LIKELIHOOD OF THESE OBJECTS BEING THROWN BY THE STUMP GRINDER.
Remove all loose pieces of wood, stones, wire and other debris from the work area before beginning stump removal.
Wind direction should be considered, as it influences the direction in which dust and wood chips will be directed.
Never operate the machine after dark. Night-time operation will not allow the operator to see the stump and danger zone adequately enough for safe operation.

Always allow a cold engine time to warm up before cutting a stump.
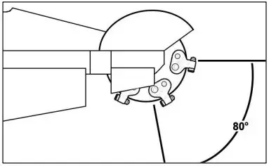
Only the portion of cutting wheel within the 80o area shown above should engage the stump.
Never undercut the stump or use the bottom of the cutting wheel for cutting purposes.
Procedure for Cutting the Stump
Position the stump grinder

Place the machine into position with the cutting wheel near the top edge of the stump.
Remove nearby roots first

Conduct the pre-starting inspection if not already done and start the engine as per the operating instructions above. Allow the engine to “warm up” for 30 seconds with the engine revs set to the MIN position prior to starting to remove the stump.
Lock the brake by pulling back the brake lever.
Make sure the throttle is set to “MAX”. The cutter wheel is thus accelerated to cutting speed.
Swing the cutting wheel to one side, then lower it approximately 1” into the nearside roots that are buried at the foot of the stump.
Swing the cutting wheel across the roots, back and forth, lowering cutting wheel approximately 1” before each sweep, until the roots are sufficiently removed.
Raise the cutting wheel until the centre of the cutting wheel is just above the top of the stump.
Allow the cutter wheel to stop rotating, release the brake, and reposition the machine. Lock the brake again.
Remove the main part of the stump

Make sure the throttle is set to “MAX”. The cutter wheel is thus accelerated to cutting speed.
Direct the cutter wheel against the stump, beginning with the nearside top corner of the stump, and steadily sweep it across the stump left and right, cutting away 1” of wood with each sweep.
Raise and lower the cutter wheel, between sweeps as needed, by lowering and raising the control handle.
Roll the machine forward and back by pushing and pulling on the control handle, between sweeps as needed, in order to progress into the stump. To do this, release the brake. Relock it when the machine has been repositioned, and continue cutting.
Shut off the engine by releasing the Operator Presence Control lever.
Helpful tips for operating the Stump Grinder
Use smooth, comfortable movements while operating.
When it is desired to cut smaller roots, it may be more effective to do so before, rather than after, cutting the stump.
Should the chip build-up become excessive when cutting, shut off the machine, wait for the cutting wheel to stop rotating, retract the machine from the stump, and rake away chips.
On larger stumps, when cutting from one side, eventually a tyre may tend to roll into the hole. This may be prevented by moving the machine to another side of the stump to continue removal, or by filling the hole with chips before continuing.
WARNING: NEVER USE THE SG30 STUMP GRINDER AT NIGHT.
Procedure for Unexpected Shut Down
Release the Operator Presence Control lever.
Push down on the handlebars to raise the teeth into the air.
Ensure the rotor shaft and blades have stopped rotating prior to moving the machine.
WARNING: IT MAY TAKE SEVERAL SECONDS FOR THE TEETH TO COME TO A COMPLETE STOP.
Residual Risks of the SG30 Stump Grinder
The rotor shaft will continue to rotate for several seconds once the operating lever has been released. Ensure that the blades have stopped rotating prior to moving or tilting the machine.
The SG30 Stump Grinder is designed to be pushed by the operator both during transportation and operation. The SG30 is fitted with a wheel brake on the left hand wheel that may be used to hold the machine on sloped areas.
Maintenance
Schedule
| Operation | Daily | Weekly | Monthly | |
| Engine | Check engine oil level 10w/30 See separate engine manual | X | X | |
| Machine | Check condition of teeth | X | ||
| Check belt condition | X | |||
| Check operating lever and cable | X | |||
| Check rotor shaft bearings | X | |||
| Lubricate wheel bearings | X | |||
| Tighten all nuts and bolts | X |
Basic Maintenance
Check that all guards are fitted securely.
Ensure the cable connecting the operating lever to the engine is securely fastened at both ends and shows no sign of wear.
Check the pressure of pneumatic tyres and ensure that they do not show any indentations or significant wear and tear.
Ensure the wheels are held securely and the bolts that hold the wheels onto the axles are in place.
Check the wheels rotate smoothly and without hindrance.
Grease the cutter shaft bearings daily.
Advanced Maintenance
We strongly recommend that an Authorised Representative is consulted prior to any major machine maintenance projects.
Rotating Teeth
Inspection Check:
A tooth that has become rounded on its leading edge can be rotated to an unworn position facing forwards so that the SG30 Stump Grinder can continue to function properly.
To Rotate Teeth:
To rotate a tooth, first loosen the nut that holds the tooth in its holder on the tooth pocket.
Lift and rotate the tooth to a position where a sharp edge is facing forwards on the machine.
Re-tighten the nut to 27Nm to secure the tooth tightly in position.
Replacing Teeth
Inspection Check:
Blades that have been worn so that they have become rounded must be changed for the SG30 Grinder to function properly.
To Replace Teeth:
Loosen and remove the nut and conical washer that holds the tooth in its holder on the tooth pocket.
Slide the worn tooth out of the tooth pocket.
Insert a new tooth with sharp carbide edges and re-fit the conical washer.
Tighten the nut to 27Nm that holds the tooth in the tooth pocket securely.
Changing the Teeth Holder
Inspection Check:
Teeth Holders that are damaged or which can move whilst the bolts are fully tightened must be replaced to ensure the safe retention of the teeth.
To Replace Teeth Holders:
There are two types of teeth holder on the cutting disc, a straight tooth holder and an angled tooth holder. There a four of each type, eight in total and they are fitted in pairs, one of each type either side of the cutting disc.
When changing the teeth holders it is essential that a similar type of holder is positioned in the same position as the holder that was removed.
WARNING: INCORRECT FITTING OF TEETH HOLDERS ONTO THE ROTATING CUTTING DISC CAN SERIOUSLY AFFECT PERFORMANCE AND MAY DAMAGE YOUR MACHINE.
Loosen and remove the two bolts used to clamp the two teeth holders either side of the rotating cutting disc.
Replace the tooth holders with a similar tooth holder type and reposition and tighten the bolts to hold them in place.
The tooth holder bolts must be tightened to a torque setting of 244Nm if using antiseize or 325Nm dry.
Engine
Check Engine Oil Level
This is to be checked prior to each use and every 8 hours during operation.
Check only when the engine is off and in a horizontal position.
Clean the oil filler plug and its surrounding parts.
Remove oil filler plug. Clean the dipstick with a clean cloth and put the oil filler plug all the way back into the engine. Remove the oil filler plug and check the oil level.
Refill the oil if indicator shows more is required. For the Honda GX390 the recommended oil is SAE 10w/30.
Change Engine Oil
Refer to the engine manufacturer’s manual for location of components and more detailed assistance.
Do not change the oil if the engine is hot.
The first oil change is after 50 hours of work.
Subsequent oil changes should be made after each 100 hours of work.
At extreme temperatures or conditions change the oil after every 50 hours.
Use a suction pump to remove oil through filler neck.
Ensure the waste oil is disposed of properly.
Fill fresh engine oil through the oil filling opening. Use a funnel or similar device for ease of filling.
Replace the oil filler plug and tighten.
Air Filter
Inspection Check:
Remove the air cleaner cover and inspect the filter elements.
Cleaning:
See diagram below containing information provided by Honda.

Spark Plug
Clean and replace.
Cleaning
After cleaning, particularly if a pressure washer has been used, ensure any lubrication points are re-lubricated.
Clean the engine with a cloth only. Avoid spraying the engine with jets of water as this may leak into the fuel and ignition systems.
Troubleshooting
Machine
Have all serious malfunctions on the machine and engine repaired by an authorised Tracmaster or Honda agent.
| Problem | Possible Cause | Remedy |
| No drive to rotor disc | Broken belt | Replace belt |
| Damaged centrifugal clutch | Replace clutch | |
| Poor performance | Teeth are worn out | Replace teeth |
| Teeth have become rounded on the bottom edge | Turn teeth round or replace teeth |
Engine
| Problem | Possible Cause | Remedy |
| Engine does not start | Spark plug connector not connected | Connect spark plug connector |
| Choke lever is not actuated | Actuate choke lever | |
| Fuel tank empty | Fill fuel tank | |
| Fuel line clogged | Clean fuel line | |
| Defective spark plug | Clean or replace spark plug | |
| Engine has too much fuel | Dry and adjust spark plug and start engine on full throttle | |
| Engine overheats | Low engine oil | Refill immediately |
| Impaired cooling | Clean cooling fan grille | |
| Air filter clogged | Clean air filter |
Lubricants
Use the specified 10w/30 oil specified by Honda for the engine oil.
To lubricate the cutter shaft bearings in the wheels we recommend using general purpose EP grease.
Transportation, Storage and Handling
Transportation
Use ramps where possible to manoeuvre the Stump Grinder into a transportation vehicle.
The SG30 must be fixed securely using straps and by placing chocks behind the wheels.
Apply the locking brake on the left hand wheel for additional assistance in ensuring the machine does not move.
Always transport the SG30 horizontally and not tilted at an angle.
Ensure that the fuel control lever on the engine is moved into the “OFF” position so fuel does not leak into the carburetor during transportation.
Storage
Always clean the machine and dry thoroughly prior to storage and ensure all lubrication points have been re-greased.
For periods of long storage, change the engine oil.
Either drain the fuel completely or fill the fuel tank and add fuel stabilizer.
Do not store the SG30 Stump Grinder in wet rooms, where fertiliser is stored, or in stables as heavy corrosion may occur.
Always store the machine in a horizontal position.
Handling
Do not attempt to lift the machine alone. At least two people is the minimum required.
Gloves must be worn when lifting the SG30 Stump Grinder.
Do not tilt the machine so that fuel can leak into the air filter of the engine.
When performing maintenance on the Stump Grinder when it is situated on a work bench, ensure that the machine is firmly held in position at all times.
Do not lift the machine solely by the engine at any point.
Service Record
To ensure your machine is kept in peak condition we recommend that your CAMON SG30 Stump Grinder is serviced regularly.
Contact Tracmaster on 01444 247689 to find out who your local Authorised Agent is.
| Company: | Company: |
| Company: | Company: |
| Company: | Company: |
EC Declaration of Conformity

Tracmaster Ltd declares that the machinery stipulated below complies with all the relevant provisions of:
Machinery Directive 2006/42/EC
EMC Directive 2004/108/EC
and the National Laws and Regulations adopting these directives and other relevant directive.
Manufacturer:
Tracmaster Ltd
Sovereign Centre
Victoria Road
Burgess Hill
RH15 9LR
UNITED KINGDOM
Machine Description: Stump Grinder
Type: CAMON SG30
Serial No: …………………………………
Harmonised Standards applied: (including parts of):
EN 12100-1:2003 Safety of Machinery: Basic Principles. Terminology. Methodology.
EN 12100-2:2003 Safety of Machinery: Basic Principles. Technical Principles.
EN 13857:2008 Safety distances to prevent hazard zones being reached by upper and lower limbs.
Responsible Person: Jody Symons
Position in Company: Technical Director
Address: Tracmaster Ltd, Sovereign Centre, Victoria Road, Burgess Hill, RH15 9LR
Date: April 2016
Signature: 
© 2018 Tracmaster Ltd
Sovereign Centre, Victoria Road, Burgess Hill RH15 9LR
Tel: +44 (0)1444 247689 Fax: +44 (0)1444 871612
www.tracmaster.co.uk [email protected]





















