SYSPENDTM VHD Wall Mount
Instruction Manual
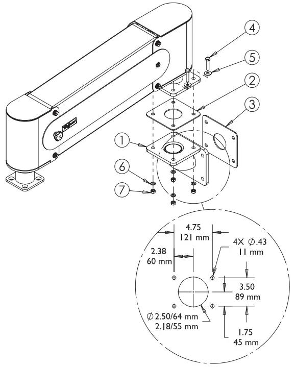
SYSPEND™ VHD Wall Mount VHDS Wall Mount
SYSPENDTM VHD Wall Mount

Wall-mount bracket maintains UL Type 4 or 4X when installed per mounting instructions.
WARNING
MAXIMUM LOAD RATING 75 LB (34 Kg) AT 36 IN (890 MM) 125 LB (56 Kg) AT 26 IN (635 MM) FAILURE MAY RESULT IN SERIOUS INJURY DO NOT OVERLOAD
CAUTION
STRUCTURE AT BASE MUST BE CAPABLE OF SUPPORTING AT LEAST 150 LB (68Kg) LOAD AND 220 LB-FT (298 N-m) TORQUE IN ALL DIRECTIONS
© 2018 Hoffman Enclosures Inc.
PH 763 422 2211 • nVent.com/HOFFMAN
P/N 87948688















