Earthquake 2-Cycle Earth Auger Powerheads Operator’s Manual

Get parts or technical assistance online at
www.GetEarthquake.com or call (800) 345-6007
P/N: 35257
ECN: 12654
REV1: 10/22/19
© 2020 Ardisam, Inc.
All Rights Reserved
INTRODUCTION
Congratulations on your investment in quality. Thank you for purchasing an Earthquake® Earth Auger Powerhead. We have worked to ensure that your earth auger powerhead meets the highest standards for usability and durability. With proper care, your earth auger powerhead will provide many years of service.
Read this entire manual before installation and use. Earthquake® reserves the right to change, alter or improve the product and this document at any time without prior notice.
FEDERAL EMISSION INFORMATION
Ardisam warrants to the retail purchaser, that this small, off-road engine was designed, built and equipped to conform at the time of manufacture to all applicable regulations of the U.S. Environmental Protection Agency (EPA) and those of the State of California (CARB) when applicable.
REGISTRATION AND SERVICE
Record the model number and serial number in the space provided for easy reference when ordering parts or requesting technical support. Excluding emissions-related warranty items, the warranty is valid only if the completed registration is received by Earthquake within 30 days of purchase. (SEE WARRANTY SECTION FOR MORE INFORMATION.) You can register your warranty online by visiting www.getearthquake.com, or by mailing it to: Earthquake, 1160 Eighth Avenue, Cumberland, WI 54829. If you do not have a computer, call our customer service department to register your product.
This manual may contain information for several models. Read and keep this manual for future reference. This manual contains important information on SAFETY, ASSEMBLY, OPERATION, AND MAINTENANCE. The owner must be certain that all the product information is included with the unit. This information includes the MANUAL, the REPLACEMENT PARTS and the WARRANTIES. This information must be included to make sure state laws and other laws are followed. This manual should remain with the product even if it is resold.
WARNINGS AND SAFETY PRECAUTIONS
OPERATOR’S RESPONSIBILITY
Accurate, safe and effective use of this product is the operator’s responsibility.
- Read and follow all safety instructions.
- Maintain this machine according to directions and schedule included in this operator’s manual.
- Ensure that anyone who uses the machine is familiar with and understands all controls and safety precautions.
SAFETY MESSAGES
Your manual contains special messages to bring attention to potential safety concerns, machine damage as well as helpful operating and servicing information. Read all the information carefully to avoid injury and machine damage.
NOTE: General information is given throughout the manual that may help the operator in the operation or service of the product.
This symbol points out important safety instructions which if not followed could endanger your personal safety.
BEFORE OPERATING ENGINE:
![]()
WARNING
READ AND COMPLY WITH ENTIRE OPERATING AND MAINTENANCE INSTRUCTIONS FOR THIS MACHINE, IN ADDITIONAL TO ALL SAFETY INSTRUCTIONS. FAILURE TO FOLLOW AND/OR COMPLY WITH THESE INSTRUCTIONS COULD RESULT IN LOSS OF MACHINE CONTROL, SERIOUS PERSONAL INJURY OR DEATH TO YOU AND/OR BYSTANDERS, AND EQUIPMENT AND PROPERTY DAMAGE. OPERATE THE ENGINE ACCORDING TO THE SAFETY INSTRUCTIONS OUTLINED HERE AND INSERTED THROUGHOUT THE TEXT. ANYONE WHO USES THIS MACHINE MUST READ THE INSTRUCTIONS AND BE FAMILIAR WITH THE CONTROLS.
![]()
WARNING
WARNING INDICATES A HAZARD WHICH, IF NOT AVOIDED, COULD RESULT IN DEATH OR SERIOUS INJURY AND/OR PROPERTY DAMAGE.
![]()
CAUTION
CAUTION INDICATES YOU CAN BE HURT OR YOUR EQUIPMENT DAMAGED IF THE SAFETY INSTRUCTIONS THAT FOLLOW THIS SIGNAL WORD ARE NOT OBEYED.
![]()
IMPORTANT
INDICATES HELPFUL INFORMATION FOR PROPER ASSEMBLY, OPERATION, OR MAINTENANCE OF YOUR EQUIPMENT.
![]()
WARNING
CALIFORNIA PROPOSITION 65 WARNING
ENGINE EXHAUST FROM THIS PRODUCT CONTAINS CHEMICALS KNOWN TO THE STATE OF CALIFORNIA TO CAUSE CANCER, BIRTH DEFECTS, OR OTHER REPRODUCTIVE HARM.
![]()
WARNING
CERTAIN COMPONENTS IN THIS MACHINE AND ITS RELATED ACCESSORIES CONTAIN CHEMICALS KNOWN TO THE STATE OF CALIFORNIA TO CAUSE CANCER, BIRTH DEFECTS, OR OTHER REPRODUCTIVE HARM. WASH HANDS AFTER HANDLING.
GENERAL SAFETY RULES
- Read, understand, and follow all instructions on the machine and in the manual(s). Be thoroughly familiar with the controls and the proper use of the machine before starting.
- Use this equipment for its intended purpose only.
- Familiarize yourself with all of the safety and operating decals on this equipment and on any of its attachments or accessories.
- Do not put hands or feet near or under rotating parts.
- Only allow responsible individuals who are familiar with the instructions to operate the machine. Do not allow children to operate this machine. Do not allow adults to operate the machine without proper instruction.
- Thoroughly inspect the area where the machine is to be used and remove all foreign objects. Your equipment can propel small objects at high speed causing personal injury or property damage. Stay away from breakable objects such as house windows.
- Wear appropriate clothing such as a long-sleeved shirt or jacket. Also wear long trousers or slacks. Do not wear shorts. Never wear sandals, sneakers, or open shoes, and never operate the machine with bare feet.
- Do not wear loose clothing or jewelry. They can get caught in moving parts. Always keep hands, feet, hair and loose clothing away from any moving parts on engine and machine.
- Always wear safety goggles or safety glasses with side shields when operating the machine to protect your eyes from foreign objects which can be thrown from the unit. Always wear a protective hearing device.
- Always wear work gloves and sturdy footwear. Wear footwear that will improve footing on slippery surfaces. Leather work shoes or short boots work well for most people. These will protect the operator’s ankles and shins from small sticks, splinters, and other debris.
- It is advisable to wear protective headgear to prevent the possibility of being struck by small flying particles, or being struck by low hanging branches, twigs, or other objects which may be unnoticed by the operator.
- Do not operate the machine without proper guards or other safety devices in place.
- See Earthquake instructions for proper operation and installation of accessories. Only use accessories approved by Earthquake.
- Operate only in daylight or good artificial light.
- Do not operate machine when fatigued or under the influence of alcohol, drugs or other medication which can cause drowsiness or affect your ability to operate this machine safely.
- Never operate machine in wet grass. Always be sure of your footing; keep a firm hold on the handle and walk; never run.
- Watch for traffic when operating near, or when crossing roads.
- If the equipment should start to vibrate abnormally, stop the engine (motor), disconnect the spark plug wire and prevent it from touching the spark plug. Check immediately for cause. Vibration is generally a warning of trouble. If the noise or vibrations of the machine increase, stop immediately and perform an inspection.
- Never leave the machine unattended when the engine is running.
- Regularly inspect the machine. Make sure parts are not bent, damaged or loose.
- Temperature of muffler and nearby areas may exceed 150° F (65° C). Allow muffler and engine areas to cool before touching. Never pick up or carry the machine while the engine is running.
- Prolonged exposure to noise and vibration from gasoline engine-powered equipment should be avoided. Take intermittent breaks and/or wear ear protection from engine noise as well as heavy work gloves to reduce vibration in the hands.
- Keep all screws, nuts and bolts tight.
- Do not transport the machine from one place to another with the engine running.
- Check local regulations for age restrictions on use of this machine.
PRODUCT-SPECIFIC SAFETY RULES
- Do not drill above underground utilities, including water lines, gas lines, electric cables, or pipes. Do not operate the powerhead and earth auger in soil with large rocks and foreign objects which can damage the equipment.
- After striking a foreign object, stop the engine. Remove the wire from the spark plug. Inspect the powerhead and auger for damage. If damaged, repair before starting and operating the powerhead and auger.
- The auger should not rotate when the engine is idling. If it does rotate when engine is idling, contact Earthquake for instructions.
- If an object becomes lodged in the auger, turn the engine off, remove the wire from the spark plug and secure away from the spark plug; allow to cool before attempting to remove the foreign object.
- The earth blade is very sharp. Use extreme caution when drilling a hole or replacing the blade.
- Do not carry the earth auger unit between holes with the engine running.
ENGINE SAFETY PRECAUTIONS
Warning Carbon Monoxide Poisoning
Engines give off carbon monoxide, an odorless, colorless, poison gas. Carbon monoxide may be present even if you do not smell or see any engine exhaust. Breathing carbon monoxide can cause nausea, fainting or death, in addition to drowsiness, dizziness and confusion. If you experience any of these symptoms, seek fresh air and medical attention immediately.
If your machine comes with a separate engine manual, be sure to read and follow all safety and warning precautions outlined there, in addition to any in this manual.
Preventing Carbon Monoxide Poisoning
- Always start and run engine outdoors. Do not start or run engine in an enclosed area, even if doors or windows are open.
- Never try to ventilate engine exhaust indoors. Carbon monoxide can reach dangerous levels very quickly.
- Never run engine outdoors where exhaust fumes may be pulled into a building.
- Never run engine outdoors in a poorly ventilated area where the exhaust fumes may be trapped and not easily taken away. (Examples include: in a large hole or areas where hills surround your working area.)
- Never run engine in an enclosed or partially enclosed area. (Examples include: buildings that are enclosed on one or more sides, under tents, car ports or basements.)
- Always run the engine with the exhaust and muffler pointed in the direction away from the operator.
- Never point the exhaust muffler towards anyone. People should always be many feet away from the operation of the engine and its attachments.
- Do not change the engine governor settings or over-speed the engine.
Gasoline Fires and Handling Fuel Safely
Use extra care in handling gasoline and other fuels. They are flammable and vapors are explosive.
- When storing extra fuel be sure that it is in an appropriate container and away from any fire hazards.
- Prevent fire and explosion caused by static electric discharge. Use only nonmetal, portable fuel containers approved by the Underwriter’s Laboratory (U.L.) or the American Society for Testing & Materials (ASTM).
- Always fill fuel tank outside in a well ventilated area. Never fill your fuel tank with fuel indoors. (Examples include: basement, garage, barn, shed, house, porch, etc.) Never fill tank near appliances with pilot lights, heaters, or other ignition sources. If the fuel has to be drained, this should be done outdoors. The drained fuel should be stored in a container specifically designed for fuel storage or it should be disposed of carefully.
![]()
WARNING
ENGINES GIVE OFF CARBON MONOXIDE, AN ODORLESS, COLORLESS, POISON GAS. CARBON MONOXIDE MAY BE PRESENT EVEN IF YOU DO NOT SMELL OR SEE ANY ENGINE EXHAUST. BREATHING CARBON MONOXIDE CAN CAUSE NAUSEA, FAINTING OR DEATH, IN ADDITION TO DROWSINESS, DIZZINESS AND CONFUSION.
IF YOU EXPERIENCE ANY OF THESE SYMPTOMS, SEEK FRESH AIR AND MEDICAL ATTENTION IMMEDIATELY.
![]()
CAUTION
HOT GASES ARE A NORMAL BY-PRODUCT OF A FUNCTIONING CATALYTIC CONVERTER. FOLLOW ALL SAFETY INSTRUCTIONS TO PREVENT BURNS AND FIRES.
DO NOT ALTER/MODIFY ENGINE:
NEVER ALTER OR MODIFY THE ENGINE FROM THE FACTORY. SERIOUS INJURY OR DEATH MAY OCCUR IF ENGINE IS MODIFIED OR ALTERED.
WHEN WORKING ON OR REPLACING PARTS FOR THE ENGINE OR MACHINE, YOU MUST ALWAYS DISCONNECT THE SPARK PLUG WIRE FROM THE SPARK PLUG AND KEEP IT AWAY FROM THE SPARK PLUG.
- Never remove the fuel cap or add fuel with the engine running. Stop engine and allow to cool before filling.
- Do not smoke while refueling or operating engine.
- Never drain fuel from the engine in an enclosed area.
- Always wipe up excess (spilled) fuel from engine before starting. Clean up spilled fuel immediately. If fuel is spilled, do not start the engine but move machine and fuel container from area. Clean up spilled fuel and allow to evaporate and dry after wiping and before starting.
- Allow fuel fumes/vapors to escape from the area before starting engine.
- Test the fuel cap for proper installation before starting and using engine.
- Always run the engine with fuel cap properly installed on the engine.
- Do not store engine with fuel in the fuel tank indoors. Fuel and fuel vapors are highly explosive.
- During storage, keep machine so gas cap is up.
- Never siphon fuel by mouth to drain fuel tank.
- Always have an adult fill the fuel tank and never allow children to fill the engine.
- Never allow an adult or anyone under the influence of drugs or alcohol to fill engine.
- When storing gasoline or equipment with fuel in the tank, store away from furnaces, stoves, water heaters or other appliances that have a pilot light or other ignition source because they can ignite gasoline vapors.
BURNS AND FIRES
The muffler, muffler guard and other parts of the engine become extremely hot during the operation of the engine. These parts remain extremely hot after the engine has stopped.
Prevention of Burns and Fires
- Never remove the muffler guard from the engine.
- Never touch the muffler guard because it is extremely hot and will cause severe burns.
- Never touch parts of the engine that become hot after operation.
- Always keep materials and debris away from muffler guard and other hot parts of the engine to avoid fires.
CHILDREN AND BYSTANDERS
Tragic accidents can occur if the operator is not alert to the presence of children and/or bystanders. Never assume that others will remain where you last saw them.
- Keep the area of operation clear of all persons, especially small children and pets. Keep children under the watchful care of a responsible adult.
- Be alert and turn the machine off if children enter the area.
- Before and while moving backwards, look behind and down for small children.
- Never allow children to operate the machine
AUGER SAFETY RULES
- Carry powerhead and auger by handle bars only, NOT by auger.
- Keep all body extremities, loose clothing and foreign objects clear of rotating auger.
- Be sure auger is securely attached to powerhead during use.
- Never carry auger between holes with the engine running.
- This auger is not designed to be utilized as an anchoring device.
SERVICE
- Always stop the engine whenever you leave the machine, before cleaning, repairing or inspecting the unit. The engine should be turned off and cool, the spark plug wire must be removed from the spark plug before any repairs or adjustments are attempted. Never make adjustments or repairs with the engine (motor) running. Disconnect the spark plug wire, and keep the wire away from the plug to prevent accidental starting. Remove the ignition key if equipped with an electric start.
- Always wear eye protection when you make adjustments or repairs.
- Keep all nuts and bolts tight and keep equipment in good condition.
- Never tamper with safety devices. Check their proper operation regularly.
- When servicing or repairing the machine, do not tip the machine over or up unless specifically instructed to do so in this manual. Service and repair procedures can be done with the machine in an upright position. Some procedures will be easier if the machine is lifted on a raised platform or working surface.
- To reduce fire hazard, keep machine free of grass, leaves, or other debris build-up. Clean up oil or fuel spillage. Allow machine to cool before storing.
- Stop and inspect the equipment if you strike an object. Repair, if necessary, before restarting.
- Clean and replace safety and instruction decals as necessary.
- To guard against engine over-heating, always have engine debris filter mounted and clean.
- Inspect the machine before storage. When not in use, disconnect the spark plug lead and store indoors in a dry place locked or otherwise inaccessible to children.
- Use only original equipment parts from Earthquake, including all nuts and bolts.
AUGER SAFETY RULES
- Carry powerhead and auger by handle bars only, NOT by auger.
- Keep all body extremities, loose clothing and foreign objects clear of rotating auger.
- Be sure auger is securely attached to powerhead during use.
- Never carry auger between holes with the engine running.
- This auger is not designed to be utilized as an anchoring device.
SERVICE
- Always stop the engine whenever you leave the machine, before cleaning, repairing or inspecting the unit. The engine should be turned off and cool, the spark plug wire must be removed from the spark plug before any repairs or adjustments are attempted. Never make adjustments or repairs with the engine (motor) running. Disconnect the spark plug wire, and keep the wire away from the plug to prevent accidental starting. Remove the ignition key if equipped with an electric start.
- Always wear eye protection when you make adjustments or repairs.
- Keep all nuts and bolts tight and keep equipment in good condition.
- Never tamper with safety devices. Check their proper operation regularly.
- When servicing or repairing the machine, do not tip the machine over or up unless specifically instructed to do so in this manual. Service and repair procedures can be done with the machine in an upright position. Some procedures will be easier if the machine is lifted on a raised platform or working surface.
- To reduce fire hazard, keep machine free of grass, leaves, or other debris build-up. Clean up oil or fuel spillage. Allow machine to cool before storing.
- Stop and inspect the equipment if you strike an object. Repair, if necessary, before restarting.
- Clean and replace safety and instruction decals as necessary.
- To guard against engine over-heating, always have engine debris filter mounted and clean.
- Inspect the machine before storage. When not in use, disconnect the spark plug lead and store indoors in a dry place locked or otherwise inaccessible to children.
- Use only original equipment parts from Earthquake, including all nuts and bolts.
SAFETY SYMBOLS AND DECALS
This powerhead has been designed and manufactured to provide you with the safety and reliability you would expect from an industry leader in outdoor power equipment manufacturing.
Reading this manual and the safety instructions it contains will provide you with the necessary basic knowledge to operate this equipment safely and effectively. We have placed a safety decal on the powerhead to remind you of some of this important information while you are operating the unit. These important safety messages are illustrated below, and are shown here to help familiarize you with the location and content of the safety messages you will see as you perform normal drilling operations. Review these decals now, and if you have any questions regarding their meaning or how to comply with these instructions, reread the complete safety instruction text in this manual. For additional questions European customers may contact their local dealer while US customers must contact Earthquake customer service.
Should a decal become unreadable because of being worn, faded, or otherwise damaged during the use of your powerhead, use the part number information provided in the illustrated parts breakdown to order a replacement label. European customers can order from their local authorized dealer while US customers can order by contacting Earthquake customer service. These decals are easily applied, and will act as a constant visual reminder to you, and others who may use the equipment, to follow the safety instructions necessary for safe, effective operation of your powerhead.
The following symbols may be used on your engine to alert you to potential hazards or to give you guidance in operating your powerhead. Look over them and understand their meanings before operating your powerhead.
Safety or Hazard Symbols

Operational Control Symbols

ASSEMBLY
TOOLS REQUIRED:
- Two (2) 9/16” Wrenches
ASSEMBLY INSTRUCTIONS: (SEE FIGURE 1)
- Insert the output shaft of the transmission (A) in the open end of the Flex Coil ShockTop (B).
- Line up the bolt holes through the Flex Coil ShockTop and the output shaft of the transmission.
- Place the included 3/8-16 x 1.5 inch bolt (C) through the bolt hole.
- Hand-thread the 3/8-16 nut (D) on the bolt.
- Using two 9/16 inch wrenches, securely tighten the nut and bolt. E43 and EA8F shown. Instructions also apply to EA6F and EA10F augers.
- Hand thread fishtail point (E) in bottom open end of auger stem (F) if not already installed.

WARNING
DO NOT REFUEL WHILE SMOKING, NEAR OPEN FLAME, OR OTHER POTENTIAL HAZARDS.
FUEL IS HIGHLY FLAMMABLE AND MUST BE HANDLED WITH CARE. NEVER FILL THE TANK WHEN THE ENGINE IS HOT OR RUNNING. ALWAYS MOVE OUTDOORS TO FILL THE TANK.
POWERHEAD FEATURES

OPERATION
GAS AND OIL QUALITY
To operate the engine, we recommend using Viper® brand 2-cycle oil to ensure that the engine operates correctly throughout the life of the engine. Viper® brand two-cycle oil has fuel stabilizer additive which helps to prevent gasoline from oxidizing and gumming up the carburetor when the unit is not in use for long periods of time. Use unleaded regular gas only. It is best to use premium gasoline that has no ethanol content.
NOTE: Viper® oil can be purchased from our web site at www. getearthquake.com.
MIXTURE
Run earth auger with a 50:1 ratio.

MIXING FUEL AND FILLING GAS TANK
MIXING FUEL
- Fuel must be mixed in a container outside in a well ventilated area.
- Fill certified fuel container 1/4 full of recommended fuel.
- Add recommended amount of 2 cycle oil.
- Screw container cap on straight and tight.
- Shake the container to mix fuel and oil.
- Unscrew gas cap slowly to vent, add the remainder of fuel requirements.
- Wipe away any spilled fuel or oil and allow to evaporate before moving or transporting.
FILLING FUEL TANK
- Shut-off engine and allow engine to completely cool before refilling the fuel tank.
- Move to a well-ventilated area, outdoors, away from flames and sparks.
- Clean debris from area around the fuel cap.
- Loosen fuel cap slowly.
- Carefully add fuel without spilling.
- Do not fill fuel tank completely full; allow space for fuel to expand.
- Immediately replace fuel cap and tighten. Wipe off spilled fuel and allow to dry before starting engine.
CAUTION
DO NOT ALTER/MODIFY ENGINE OR AUGER:
NEVER ALTER OR MODIFY THE ENGINE FROM THE FACTORY. SERIOUS INJURY OR DEATH MAY OCCUR IF ENGINE IS MODIFIED OR ALTERED.
WHEN WORKING ON OR REPLACING PARTS FOR THE ENGINE OR AUGER YOU MUST ALWAYS DISCONNECT THE SPARK PLUG WIRE FROM THE SPARK PLUG AND KEEP IT AWAY FROM THE SPARK PLUG.
ALWAYS WEAR HEARING PROTECTION WHILE OPERATING ENGINE.
DO NOT START YOUR EARTH AUGER UNTIL YOU HAVE READ THE PREVIOUS SECTION OF THIS MANUAL. IF YOU HAVE READ THESE, FOLLOW THE STEPS BELOW TO START YOUR EARTH AUGER.
NEVER STORE ENGINE WITH GAS IN THE TANK INDOORS. FUEL AND FUEL VAPORS ARE HIGHLY FLAMMABLE.
NEVER MIX FUEL AND OIL DIRECTLY IN ENGINE GAS TANK. USE ONLY NON-METAL, PORTABLE FUEL CONTAINERS APPROVED BY THE UNDERWRITER’S LABORATORY (U.L.) OR THE AMERICAN SOCIETY FOR TESTING & MATERIALS (ASTM).
HANDLING AND FILLING THE ENGINE WITH FUEL MUST ALWAYS BE DONE BY AN ADULT.
ALWAYS HANDLE FUEL IN A WELL VENTILATED AREA, OUTDOORS, AWAY FROM FLAMES OR SPARKS.
![]()
IMPORTANT
THIS ENGINE USES A GAS/OIL MIXTURE. DO NOT RUN ON STRAIGHT GAS ONLY. THIS WILL VOID THE WARRANTY AND ENGINE DAMAGE WILL RESULT.
NORMAL OPERATION
- The clutch will transfer maximum power after about two hours of normal operation. During this break-in period, clutch slippage may occur. The clutch should be kept free of oil or other moisture for efficient operation.
- Drill holes without placing excessive body weight on the unit. The auger operates most efficiently with a shaving action caused by the weight of the unit itself.
- Never run engine indoors. Exhaust fumes are deadly.
- Do not use an earth auger in the ice.
STARTING AND STOPPING ENGINE
- Move engine to a well ventilated area, outdoors, to prevent carbon monoxide poisoning.
- Move to an area away from flames or sparks, to avoid ignition of vapors if present.
- Remove all debris from air cleaner holes and gas cap to ensure proper air flow.
COLD ENGINE START
Starting engine for first time or after engine has cooled off or after running out of fuel.
- Move choke lever to CHOKE position.
NOTE: CHOKE position is defined by moving the choke lever as far to the CHOKE position as possible. - Prime unit until primer hose is filled with gas.
NOTE: When using the primer bulb, allow the bulb to return completely to its original position between pushes. - Push ON/OFF switch to the ON position.
- Hold handle bar firmly. Grasp starter handle and pull out slowly, until it pulls slightly harder. Without letting starter handle retract, pull rope with a rapid full arm stroke. Let it return to its original position very slowly until unit fires or runs. Repeat this step every time the starter rope is pulled. NOTE: If engine fails to start after 5-6 pulls, push primer 1 time and pull starter rope again.
- Once running, move choke lever to HALF CHOKE position until unit runs smoothly.
NOTE: HALF CHOKE is defined when the choke lever is between CHOKE and RUN. - Move choke lever to RUN position and move throttle to desired speed.
NOTE: Run at full throttle when possible. Do not let unit idle for extended periods of time. - To stop engine, push ON/OFF switch to OFF position.
WARM ENGINE START
- Move choke lever to CHOKE position.
NOTE: CHOKE position is defined by moving the choke lever as far to the CHOKE position as possible. - Continue with Step 4 of Cold Engine Starting.
![]()
CAUTION
MAKE SURE THE UNIT IS IN A STABLE POSITION BEFORE PULLING THE STARTER HANDLE.
ALWAYS HANDLE FUEL IN A WELL VENTILATED AREA, OUTDOORS, AWAY FROM FLAMES OR SPARKS.
ALWAYS WEAR A PROTECTIVE HEARING DEVICE.
DO NOT START ENGINE IF FUEL IS SPILLED. WIPE OFF EXCESS FUEL AND ALLOW TO DRY. REMOVE ENGINE FROM AREA TO AVOID SPARKS.
IF AUGER IS MOUNTED TO ENGINE, ALL SAFETY GUARDS MUST BE SECURELY ON TO AVOID SERIOUS INJURY.
STARTER ROPE CAN CAUSE AN UNANTICIPATED JERK TOWARDS ENGINE. FOLLOW INSTRUCTIONS TO AVOID INJURY.
IF ENGINE FAILS TO START AFTER TRYING STARTING PROCEDURES, CONTACT OUR CUSTOMER SERVICE DEPARTMENT AT 800-345-6007.
NEVER LEAVE ENGINE RUNNING WHILE UNATTENDED. TURN OFF AFTER EVERY USE.
NEVER CARRY POWERHEAD AND AUGER BETWEEN HOLES WHILE ENGINE IS RUNNING.
HOT ENGINE START:
- Begin with Step 4 of Cold Engine Starting.
- If engine does not fire, refer to Step 1 of Warm Engine Starting.
DO NOT attempt to start engine in the following ways:
- By using starting fluid.
- Spraying flammable liquids or vapors into air cleaner, carburetor or spark plug chamber.
- Removing spark plug and pull on starter rope. Flammable fuel can spray out and ignite from a spark from spark plug.
TO STOP ENGINE:
Push the ON/OFF switch to the OFF position.
![]()
WARNING
MAKE SURE THE UNIT IS IN A STABLE POSITION BEFORE PULLING THE STARTER HANDLE.
WHEN THE UNIT STARTS TO FIRE OR RUN, RELEASE THE THROTTLE CONTROL MOMENTARILY WITH YOUR RIGHT HAND AND RETURN YOUR LEFT HAND TO THE HANDLEBAR POSITION TO MAINTAIN CONTROL AND STABILITY OF THE UNIT WITH BOTH HANDS.
MAINTENANCE AND STORAGE
STEPS FOR WORKING ON EQUIPMENT
- Turn off engine switch.
- Disconnect the spark plug wire from the spark plug.
- Securely place the disconnected spark plug wire away from the spark plug and any metal parts. This must always be done or arcing may occur between spark plug wire and metal parts.
- Replace or repair the part on the powerhead.
- Check all parts that were repaired, or removed during repair, that they are secure and fit correctly.
NOTE: All repair parts must come from the factory. Never replace parts that are not specifically designed for the powerhead. - Reconnect the spark plug wire.
POWER AUGER MAINTENANCE
- The gear case has 4 oz. of grease installed at the factory. It is recommended that every 50 hours the gear case be split and the grease level checked. Add grease only if level of grease is below top of the gears. DO NOT OVERFILL. Replacement grease is available online per parts breakdown.
- Keep all screws, nuts, and bolts tight.
- For cold weather operation, store the unit in a cool environment. Transferring the unit from a warm to a cold place can cause the build up of harmful condensation.
- If auger performance decreases, carefully inspect cutting edge of blade for any signs of wear. If blades show any of these signs, they need to be replaced.
ENGINE MAINTENANCE
Refer to engine warranty manual included with your product for maintenance schedule.
Good maintenance is essential for safe, economical, and trouble-free operation. It will also help reduce air pollution. To help you properly care for your engine, the following pages include a maintenance schedule, routine inspection procedures, and simple maintenance procedures using basic hand tools. Other service tasks that are more difficult, or require special tools, are best handled by professionals and are normally performed by a technician or other qualified mechanic.
Maintenance, replacement or repair of the emissions control devices and systems may be performed by any nonroad engine repair establishment or individuals. However, items must be serviced by an authorized dealer to obtain “no charge” emissions control service.
![]()
CAUTION
TO PREVENT ACCIDENTAL STARTING:
ENGINE MUST BE TURNED OFF AND COOL, AND SPARK PLUG WIRE MUST BE REMOVED FROM SPARK PLUG BEFORE CHECKING AND ADJUSTING ENGINE OR EQUIPMENT.
TEMPERATURE OF MUFFLER AND NEARBY AREAS MAY EXCEED 150º F. (65º C). AVOID THESE AREAS.
CHECK AUGER OFTEN FOR LOOSE NUTS AND BOLTS. KEEP THESE ITEMS TIGHTENED.
NEVER STORE ENGINE WITH FUEL IN THE TANK INSIDE A BUILDING. POTENTIAL SPARKS MAY BE PRESENT FOR IGNITION OF FUEL AND FUEL VAPORS.
ANY MAINTENANCE AND REPAIR ON THE ENGINE AND AUGER MUST ALWAYS BE DONE BY AN ADULT.
ENGINE MUST BE SHUT-OFF, COOL, AND SPARK PLUG WIRE REMOVED BEFORE ANY REPAIR OR MAINTENANCE CAN BE DONE.
COOLING FINS
Cooling fins, air inlets and linkages must be free from any debris before each use.
AIR FILTER
Never run engine without air cleaner properly installed. Added wear and engine failure may occur if air cleaner is not installed on engine.
Service air cleaner every 3 months or after 20 hours of operation. Clean filter daily in extremely dusty conditions.
![]()
IMPORTANT
NEVER TWIST AIR FILTERS WHEN CLEANING. ALWAYS PRESS.
STEPS FOR CLEANING BLOCK STYLE FOAM AIR FILTER
- Before removing the air filter cover, move the choke lever to the choke position. SEE FIGURE 2.
- To remove air filter cover, squeeze the latch tabs on both sides of the cover. SEE FIGURE 3.
- Once the latch tabs are released, remove the air filter cover by rotating the cover away from the engine. SEE FIGURE 4.
- Remove the foam filter element (SEE FIGURE 5) and replace with a new oiled filter, or clean the original foam filter with warm water and mild soap by following the previous steps for Cleaning Air Filter. Remember to thoroughly oil the foam filter with 30 or 40 weight motor oil and squeeze out any excess oil.
- Reinstall the foam filter, pressing it in place to ensure that the foam is fully seated into its sealed position.
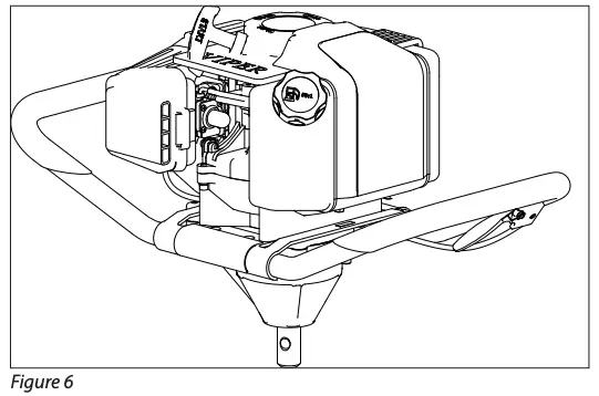
- Replace the air filter cover so that it fully snaps into place and is secured by the latch tabs. Check that the cover is securely attached by pulling slightly on the cover. If the cover doesn’t move when pulled, it is secure. SEE FIGURE 6.





One Man Model Shown
SPARK PLUG
See parts breakdown for recommended spark plug.
- Check spark plug at the beginning of each season.
- Disconnect the spark plug cap, and clean any debris from around the spark plug area.
- Remove spark plug and replace if any of the following occur; pitted electrodes, burned electrodes, cracked porcelain, or deposits around electrodes.
- After analysis, seat spark plug and tighten with spark plug wrench.
- Reinstall original spark plug, tighten additional 1/2 turn.
- Installing new spark plug, adjust spark plug gap to .028” and tighten additional 1/8 – 1/4 turn.
NOTE: Loose spark plug may overheat and damage engine. Over tightened spark plug may damage threads in the cylinder head.
CARBURETOR
Never tamper with factory setting of the carburetor.
TRANSPORTING YOUR EARTH AUGER
- Never transport engine inside an enclosed space or vehicle. Fuel or fuel vapors may ignite causing serious injury or death.
- If fuel is present in the fuel tank, transport in an open vehicle in an upright position.
- If an enclosed vehicle must be used, remove gas into an approved red fuel container. DO NOT siphon by mouth.
- Run engine to use up the fuel in the carburetor and fuel tank. Always run engine in a well ventilated area.
- Wipe away any spilled fuel from engine and earth auger. Allow to dry.
LONG-TERM STORAGE
(30 DAYS OR MORE WITHOUT USE)
If your earth auger will not be used for more than one month, prepare it for long term storage.
STEPS FOR LONG-TERM STORAGE
- Add fuel stabilizer according to manufacturer’s instructions.
- Run engine for 10-15 minutes to ensure that the stabilizer reaches the carburetor.
- Remove the remainder of the fuel from the gas tank into an approved fuel container.
- Remove auger from powerhead and apply a thin layer of grease to the output shaft of the transmission.
- Store auger and powerhead (engine) in a vertical position.
- Remove all debris from auger and powerhead (engine).
CAUTION
TO AVOID INJURY OR DEATH, NEVER SIPHON FUEL BY MOUTH.
NEVER STORE EARTH AUGER WITH FUEL IN THE GAS TANK INSIDE AN ENCLOSED AREA OR BUILDING.
TO PREVENT ACCIDENTAL STARTING:
ENGINE MUST BE TURNED OFF AND COOL, AND SPARK PLUG WIRE MUST BE REMOVED FROM SPARK PLUG BEFORE CHECKING AND ADJUSTING ENGINE OR EQUIPMENT.
MAINTENANCE AND REPAIR ON THE ENGINE AND AUGER MUST ALWAYS BE DONE BY AN ADULT.
ENGINE MUST BE SHUT-OFF, COOL, AND SPARK PLUG WIRE REMOVED BEFORE ANY REPAIR OR MAINTENANCE CAN BE DONE.
TROUBLESHOOTING AND REPAIR
At Earthquake, we build quality and durability into the design of our products; but no amount of careful design by us, and careful maintenance by you, can guarantee a repair-free life for your Earthquake powerhead. Most repairs will be minor, and easily fixed by following the suggestions in the troubleshooting guide in this manual.
The troubleshooting guide will help you pinpoint the causes of common problems and identify remedies.
For more complicated repairs, you may want to rely on an authorized service center or Earthquake. A parts breakdown is provided with this product.
We will always be glad to answer any questions you have, or help you find suitable assistance. To order parts or inquire about warranty, call or e-mail us using the contact information found under “Ordering Replacement Parts”.
ORDERING REPLACEMENT PARTS
Parts can be obtained directly from the factory. To order parts visit www.getearthquake.com or call 1-800-345-6007.
For other general questions, you can e-mail us at [email protected].
IN CASE OF A SERVICE PROBLEM, DO NOT SEND PRODUCT BACK TO RETAILER. CONTACT EARTHQUAKE AT 800-345-6007.
Include the following information with your order:
- Part numbers
- Part description
- Quantity
- Model number and serial number
TROUBLESHOOTING

Contact customer service if above remedies fail.
Check for parts online at www.getearthquake.com or call 800-345-6007 M-F 8-5

















