
Infrastructure
Safety, Operation & Maintenance
EA08 Hydraulic Earth Auger
43668 User Manual 2/2022 Ver. 12
![]()
DECLARATION OF CONFORMITY
Nuerenberg, David
Surname and First names
I, the undersigned:
hereby declare that the equipment specified hereunder:
Earth Auger, Hydraulic
STANLEY EA08102A
All
- Category:
- Make
- Type
- Serial number of equipment:
Has been manufactured in conformity withDirective/Standards No. Approved body EN ISO
Machinery Directive20643
3744 (15744)
11148-6, Cl. 5.4
11148-6, Cl. 5.5
13732-1
2006/42/EC:2006Self - Special Provisions: None
- Representative in the Union: Patrick Vervier, Stanley Dubuis 17-19, rue Jules Berthonneau-BP 3406 41034 Blois Cedex, France.
Done at a STANLEY Infrastructure, Milwaukie, Oregon USA Date 4-26-2018
Signature
Position 








EA08 Handles Part Illustration – Detail F
| ITEM | P/N | DESCRIPTION |
| 1 | 39415 | Cap Screw – Torque to 40 Ft. Lbs. (54 Nm) |
| 2 | 37919 | Handle |
| 3 | 21181 | Quick Release Pin |
| 4 | 37923 | Torque Tube Assembly |
| 5 | 39283 | Long Hose Assembly |
| 6 | 39282 | Short Hose Assembly |
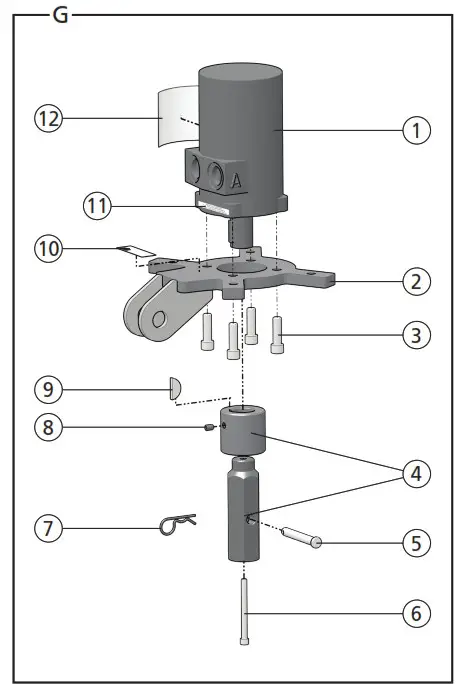
EA08 Motor & Bit Retainer Illustration – Detail G
| ITEM | P/N | DESCRIPTION |
| 39276 | Motor | |
| 2 | 37917 | Motor Base |
| 3 | 6151 | Cap Screw – Apply Loctite 242 and torque to 45 Ft. Lbs. (61 Nm) |
| 4 | 43662 | Coupler Assembly |
| 5 | 44908 | Clevis Pin |
| 6 | 718 | Cap Screw – Apply Loctite 242 and torque to 12 Ft. Lbs. (16 Nm). |
| 7 | 44909 | Cotter Pin |
| 8 | 720 | Set Screw |
| 9 | – | Woodruff Key (Included with 39276) |
| 10 | 23139 | Tool Name Tag |
| 11 | 88344 | Importer Decal |
| 12 | 39424 | Auger Warning Decal |
EA08 Trigger Illustration – Detail H
| ITEM | P/N | DESCRIPTION |
| 1 | 719 | Nut |
| 2 | 88349 | Composite Safety Decal |
| 3 | 28323 | CE Decal |
| 4 | 11206 | Circuit Type “C” Decal |
| 5 | 11207 | Circuit Type “D” Decal |
| 6 | 81440 | Sound Power Decal |
| 7 | 39277 | Valve Mount Handle |
| 8 | 39404 | Elbow Adapter |
| 9 | 3975 | Female Coupler |
| 10 | 10351 | Adapter |
| 11 | 8253 | Cap Screw |
| 12 | 39404 | Elbow Adapter |
| 13 | 3976 | Male Coupler |
| 14 | 39278 | Valve Assembly (Includes 2 Clevis Pins and 2 Cotter Pins |
| 15 | 39279 | Trigger |
| 16 | 3974 | Coupler Set (not shown) |
Safety Precautions
| The Safety Alert Symbol alerts you to potential personal injury hazards. Obey all safety messages that follow to avoid possible injury or death. | |
| Indicates an imminently hazardous situation that will result in death or serious injury. | |
| Indicates a potentially hazardous situation that could result in death or serious injury. | |
| Indicates a potentially hazardous situation that could result in property damage. |
Always observe safety symbols. They are included for your safety and for the protection of the tool.![]()
WARNING: Read all safety warnings and instructions. Failure to follow warnings and instructions may result in tool damage and/or serious injury.
WARNING: To reduce the risk of injury, read the instruction manual.
General
- Do not discard safety instructions. Give to the operator.
- This tool will provide dependable service if operated in accordance with the instructions given in this manual. Read and understand this manual and any stickers and tags attached to the tool and hoses before operation. Failure to do so could result in personal injury or equipment damage.
- Inspect the tool before each use and ensure all decals are legible. Contact STANLEY if replacements are needed.
- Establish a training program for all operators to ensure safe operation. Do not operate the tool unless thoroughly trained or under the supervision of an instructor. Keep out of the reach of children.
- Operators and maintenance personnel shall be able to physically handle the bulk, weight and power of the tool.
- Avoid unsuitable postures as these positions do not allow for counteracting of normal or unexpected movement of the tool, such as a sudden break of the tool bit. Change postures during extended tasks to help avoid discomfort or fatigue.
- Do not operate a damaged, improperly adjusted, modified or incompletely assembled tool.
- Do not operate the tool in explosive atmospheres, such as in the presence of flammable liquids, gases or dust. Power tools create sparks which may ignite the dust or fumes.
- Provide adequate ventilation in closed areas when operating a gas or diesel hydraulic power source.
- Do not inspect, carry, clean, change accessories or perform maintenance on the tool while the power source is connected. Accidental engagement of the tool can cause serious injury.
- Stay alert, watch what you are doing, and use common sense when operating a hydraulic tool. Do not operate this tool if you are tired or under the influence of drugs or alcohol. A moment of inattention while operating hydraulic tools may result in serious injury. · Assess risks to others around you before operating the tool.
- During operation, do not contact mechanisms, accessories or hardware as they can become very hot; use your Personal Protection Equipment (PPE).
- Use and maintain the tool as stated in this manual. Misuse of the tool can cause serious injury. Do not modify the tool in any way.
- Supervising personnel should develop additional precautions relating to the specific work area and local safety regulations.
- Never operate the tool if you cannot be sure that underground utilities are not present, such as electrical cables, gas pipes, etc. These can cause a hazard if damaged with the tool.
- The tool is not insulated against coming into contact with electric power. Use hose certified as non-conductive.
- Do not overreach. Maintain proper footing and balance at all times when using the tool.
- Slips, trips and falls are major causes of workplace injury. Be observant of hoses lying about the work area, as they can be a tripping hazard.
- Operator must start in a work area without bystanders and must assess the risk to bystanders, including the risk of serious injury or death caused by the tool or accessories dropped from an elevated height.
- Operators must be familiar with all prohibited work areas, such as excessive slopes and dangerous terrain conditions.
- Only use clean hydraulic fluid and lubricants that have been recommended by STANLEY.
- Ensure tools are working properly and safely by performing preventative maintenance (PM) procedures.
- Repair and service of this tool must only be performed by an authorized and certified dealer.
- Use only replacement parts recommended by STANLEY.
- Do not force the tool to do the work of a larger tool. Use the correct tool for your application.
- Use only hoses and hose couplings that are rated for a minimum working pressure of 2500 PSI (172 BAR).
- Keep hands away from rotating chuck, drill bits or drives.
- Rotating drive and bits can easily entangle rubber-coated gloves or metal reinforced gloves. Never hold the drive, bits or other accessories.
- Never operate the tool unless the inserted bit is retained. Bit can become a high velocity projectile. Secure the bit as shown in this manual.
- Be aware that failure of accessories may generate high velocity projectiles.
- Do not use in confined spaces. Beware of crushing hazards between the tool and the workpiece, especially when unscrewing or reversing the tool.
- Do not exceed the rated limits of the tool or use the tool for applications beyond it’s design capacity.
- In spite of the application of relevant safety regulations and the implementation of safety devices, certain residual risks cannot be avoided. These risks are: repetitive strain injury due to incorrect posture and risk of pinching fingers when changing tool bit or pressing trigger.
Dust and Fumes
- WARNING: Some dust created by power sanding, sawing, grinding, drilling, and other construction activities contains chemicals known to the State of California to cause cancer, birth defects or other reproductive harm. Some examples of these chemicals are:
- Lead from lead-based paints,
- crystalline silica from bricks and cement and other masonry products, and
- arsenic and chromium from chemically-treated lumber.
Your risk from these exposures varies, depending on how often you do this type of work. To reduce your exposure to these chemicals: work in a well ventilated area, and work with approved safety equipment, such as those dust masks that are specially designed to filter out microscopic particles. Protect yourself and those around you. Research and understand the materials you are drilling. Follow correct safety procedures and comply with all applicable national, state or provisional health and safety regulations relating to them, including, if appropriate arranging for the safe disposal of the materials by a qualified person.
- When dust or fumes are created, control them at the point of emission. Direct tool exhaust to minimize disturbance of dust.
- Operate and maintain the tool as recommended in this manual to minimize dust.
- Use respiratory protection in accordance with employers instruction or as required by occupational health and safety regulations.
- Avoid prolonged contact with dust. Allowing dust to get into your mouth, eyes or lay on the skin may promote absorption of harmful chemicals.
- Select and replace tool bits as recommended in order to prevent an unnecessary increase in dust or fumes.
- Keep tool handles dry, clean and free from oil and grease. This will enable better control of the tool.
PPE
- Always wear safety equipment such as impact-resistant goggles, ear protection, head protection, breathing protection and safety shoes at all times when operating the tool.
- Hands may be exposed to hazards, impacts, cuts, abrasions, and heat. Wear gloves.
- Wear a hard hat if performing overhead work. · Use PPE that conforms to standards ANSI Z87.1 (Eye and Face Protection), ANSI Z89.1 (Head Protection), ANSI Z41.1 (Foot Protection), and ANSI S12.6 (S3.19) (Hearing Protection).
- Do not wear loose fitting clothing, jewelry, or gloves with cut or frayed fingers when operating the tool. Entanglement, choking, scalping and laceration can occur if loose clothing, personal jewelry, neck wear, hair, or gloves are not kept away from the rotating tool and it’s accessories. Gloves can become entangled with the rotation drive, causing severed or broken fingers.

Sound
- Exposure to high noise levels can cause permanent, disabling hearing loss and other problems, such as tinnitus (ringing, buzzing, whistling or humming in the ears). Use hearing protection in accordance with employer’s instructions and as required by occupational health and safety regulations. Appropriate controls to reduce the risk can include actions such as damping materials to prevent work pieces from “ringing”.
- Use and maintain as recommended in the manual to prevent an unnecessary increase in noise levels.
Vibration
- When using a rotary tool to perform work related activities, the operator can experience discomfort in the hands, arms, shoulders, neck or other parts of the body.
- If you experience numbness, tingling, pain or whitening of the skin in your fingers or hands, stop using the tool. Tell your employer and consult a physician.
- Wear warm clothing when working in cold conditions and keep your hands warm and dry.
- Exposure to vibration can cause disabling damage to the nerves and blood supply of the hands and arms.
- Do not use worn or ill-fitting sockets or extensions, as this is likely to cause a substantial increase in vibration.
- Do not touch sockets or accessories during tool use. This increases the risk of cuts, burns, or vibration injuries.
- Use and maintain as recommended in the manual to prevent an unnecessary increase in vibration.
- Check the vibration level after each service. If higher than normal, contact your STANLEY dealer.
Hydraulic
- Warning: Hydraulic fluid under pressure could cause skin injection injury. Do not check for leaks with your hands. If you are injured by hydraulic fluid, get medical attention immediately.
- Do not let hydraulic oil get on the skin. Hydraulic oil is hot. Wear Personal Protection Equipment (PPE) at all times.
- If exposed to hydraulic fluid, wash hands immediately.
- Do not exceed the maximum relief valve setting stated on the tool.
- Inspect and clean couplers before use, daily. Replace damaged couplers immediately.
- Hydraulic circuit control valve must be OFF before coupling or uncoupling tools. Failure to do so may damage the couplers and cause overheating of the hydraulic system.
- Ensure the couplers are properly connected and are tight.
- Do not operate the tool at fluid temperatures above 140°F (60°C). Higher temperatures can cause operator discomfort and damage to the tool.
- Do not exceed the rated flow and pressure as stated on the tool. Rapid failure of the internal seals may result.
What is the EA08 Hydraulic Earth Auger?
EA08 is a hand held tool for boring holes in the ground. It is operated by two operators, but can be used by one operator using the supplied torque tube and an appropriate anchor.
Specifications
| Pressure | 2000 PSI (140 BAR) |
| Flow | 4-9 GPM (15-34 LPM) |
| Hydraulic Circuit Type | Open Center |
| Max. Relief Pressure | 2100 PSI (145 BAR) |
| Recommended Back Pressure | 250 PSI (17 BAR) – Can be used with higher back pressures with reduced seal life. |
| Couplers | 1/2 Inch NPT |
| Min. Hose Pressure Rating | 2500 PSI (172 BAR) |
| Max. Hydraulic Oil Temperature | 140°F (60°C) |
| HTMA/EHTMA Category | Type I & II, Category C & D |
| Drive | 1 3/8 Inch Female Hex Socket |
| RPM | 165 @ 8 GPM (30 LPM) |
| Torque | 250 Ft. Lbs. (339 Nm) |
| Tool Weight | 47 Lbs. (21 Kg) |
| Tool Size | 48 Inches x 48 Inches x 13 Inches |
Sound & Vibration Declaration
| Measured A-Weighted sound power level | 96.5 dBA |
| Measured A-Weighted Sound Pressure | 88.6 dBA |
| Values determined according to noise test code given in ISO 15744, 11203 and 3744. | |
| Declared vibration emission value in accordance with EN ISO 28927-2. | |
| Declared Vibration Emission Value (Trigger Handle): | 12 m/sec2 |
| Declared Vibration Emission Value (Assist Handle): | 9.7 m/sec2 |
| Uncertainty | 3 m/sec2 |
Parts of a EA08 – Detail A
| 1 | Auger Warning Decal |
| 2 | Tool Name Tag |
| 3 | Handles |
| 4 | Drive Hex & Bit Retainer |
| 5 | Serial Number & Year of Manufacture |
| 6 | Torque Tube |
| 7 | Male Coupler |
| 8 | Female Coupler |
| 9 | Trigger |
| 10 | Composite Safety Decal |
| 11 | CE Decal |
| 12 | Circuit Type “D” Decal |
| 13 | Circuit Type “C” Decal |
| 14 | Sound Power Decal |
Tool Setup
Do not install or change tool accessories while the hydraulic power source is connected. Accidental engagement of the tool can cause serious injury. Disconnect the hydraulic power source before installing or changing accessories.
- Disconnect the tool from the hydraulic power source.
Install Handles and Torque Tube – Detail B - Insert one handle onto each of the handle mounting ears.
Note: The trigger handle comes installed from the factory. - Thread one cap screw into each handle and torque to 40 Ft. Lbs. (54 Nm).
- Insert the torque tube pivot into the mounting ear that is angled 45°.
- Insert the torque tube locking pin. Ensure the locking pin is pushed through both sides of the mounting ear and is locked in place.
Note: The torque tube reduces reaction forces on the operator. You must use the torque tube at all times when operating the tool.
Install Bit – Detail C
![]()
Never operate the tool unless the inserted bit is retained. Bit can become a high velocity projectile. Secure the bit as shown in this manual.
- Insert the auger bit onto the drive hex.
- Fit the tool retainer pin through the bit and drive hex.
- Insert the cotter pin through the end of the tool retainer pin. Ensure it is secure and the bit is locked in place.
Note: Loose fitting bits and adapters can increase vibration. Use as few adapters as possible and ensure they fit tightly.
Tool Operation
Connect to a Hydraulic Power Source
- Using a calibrated flow and pressure gauge, check the output of the hydraulic power source. Ensure it matches the flow and pressure in “Specifications” on page 8. Hydraulic fluid must be 50°F or above. Preheat if necessary.
- Ensure that the hydraulic power source is equipped with a relief valve set to open at the maximum relief pressure. See “Specifications” on page 8.
- Wipe hose couplers with a clean, lint free cloth.
- Connect the return hose to the male coupler.
- Connect the pressure hose to the female coupler.
- Ensure couplers are undamaged, properly connected and are tight. 7. Power up the hydraulic power source.
Holding the Tool – Detail D
![]()
Operators must use the torque tube. Ensure torque tube is installed and properly anchored. Serious injury could result from losing control of the tool.
- Anchor the torque tube to a trailer hitch, ground stake or other solid, heavy object.
- If operating with a helper, the helper will grab the handles opposite of the trigger.
- The operator will grab the trigger handles.
Note: The operator at holding the trigger handle must asses the risk to the helper before starting the tool. - Steady the tool and position the auger bit 90° to the ground.
- Stand with your feet shoulder width apart.
Note: Hold the tool correctly and be ready to counteract normal or sudden movements. Have both hands available. High reaction torque can develop if the tool stalls, which can be caused by excessive loads being applied to the drill bit, by the drill snagging on the material being drilled into, or by the drill bit breaking through the material being drilled.
Tool Activation – Detail E
- Ensure the auger bit is 90° to the ground.
- Raise the auger bit above the ground.
Note: Never operate the tool if you cannot be sure that underground utilities are not present, such as electrical cables, gas pipes, etc. These can cause a hazard if damaged with the tool. - Fully squeeze the trigger.
Note: Always fully squeeze the trigger during operation. Operating the tool with a slightly depressed trigger increases the hydraulic pressure and can result in unexpected kickback. - Slowly lower the auger bit to the ground.
- After reaching the desired depth, release the trigger.
Note: If you encounter a breakdown or the tool stops for any reason, release the trigger and power down the hydraulic power source. - Squeeze the reverse trigger to reverse the auger bit.
- Lift the auger straight out of the hole and release the trigger. Ensure the auger bit has stopped before the tip of the bit reaches the surface.
Tool Use Tips
- On soft ground, EA08 will penetrate the ground easily and may require you to apply a slight lift to the tool handles.
- On hard ground, you may need to apply slight down pressure on the tool handles.
- During operation, frequently lift the auger to clear dirt and debris from the hole.
Tool Maintenance
Use only accessories, consumables and parts recommended by STANLEY.
![]()
Do not perform maintenance while the hydraulic power source is connected. Accidental engagement of the tool can cause serious injury. Disconnect the hydraulic power source before performing maintenance.
Daily Maintenance
- Remove hydraulic power from the tool.
- Check all hydraulic connections and hoses for damage. Replace damaged parts before operating the tool.
- Inspect the bit retainer and associated parts. Replace when they have become worn, cracked or distorted.
- Check all fasteners for tightness. Pay particular attention to the bolts holding the handles and torque tube in place. Re-torque if necessary.
- Inspect tool to ensure all decals are legible. Contact STANLEY if replacements are needed.
- Using a calibrated flow and pressure gauge, check the output of the hydraulic power source. Ensure it matches the flow and pressure in “Specifications” on page
- Proper flow and pressure maintain proper tool speed.
Tool Storage & Transport
Drain the tool of hydraulic fluid and plug open hydraulic ports. Collect all hydraulic fluid for recycling (See “Tool Disposal” on page 9). Clean the tool and store in a clean, dry space that is safe from damage. Ensure the tool is secured and will not move during transport. An unsecured tool could cause personal injury or damage to the tool.
Tool Disposal
Hydraulic Oil
Hydraulic oil can contaminate the air, ground, and water if not properly recycled. Recycle hydraulic oil in accordance with all State, Federal and local laws, at your local oil recycling facility.
Hydraulic Hoses
Hang hydraulic hoses to drain. Collect the oil for recycling. Contact your local municipal recycling authorities for an approved hydraulic hose recycling site.
Tool Body
Drain hydraulic oil from the tool, making sure to collect the oil for recycling. Disassemble the tool and dispose of all non-metal parts. Recycle the metal components. Contact your local municipal recycling authorities for recycling instructions.
Accessories
EA08 Accessories
| Description | Part Number |
| Coupler, 13/16 Inch x 1 3/8 Inch | 58585 |
| Coupler, 1 1/8 Inch x 1 3/8 Inch | 58586 |
| Coupler, 1 1/4 Inch | 65477 |
| Auger, 2 Inch Ø x 42 Inch overall length (Requires coupler 58585) | 47406 |
| Auger, 3 Inch Ø x 42 Inch overall length (Requires coupler 58586) | 47407 |
| Auger, 4 Inch Ø x 42 Inch overall length | 47408 |
| Auger, 6 Inch Ø x 42 Inch overall length | 47409 |
| Auger, 8 Inch Ø x 42 Inch overall length | 47410 |
| Auger, 10 Inch Ø x 42 Inch overall length | 47411 |
| Auger, 12 Inch Ø x 42 Inch overall length | 47412 |
| Auger, 16 Inch Ø x 42 Inch overall length | 47413 |
| Auger, 18 Inch Ø x 42 Inch overall length | 47414 |
| Center Screw, 2 Inch | 47430 |
| Center Screw, 3 Inch | 47431 |
| Center Screw, 4 Inch | 47432 |
| Digging Tooth with Hardface | 47429 |
Troubleshooting
| Problem | Possible Cause | Solution |
| EA08 doesn’t run, runs slowly or has poor performance. | Hydraulic power source is not running properly. | Ensure the power source is delivering proper flow and pressure. See “Specifications” on page 8. Proper flow and pressure maintain proper tool speed. Check regularly. |
| Hydraulic fluid restriction. | Ensure hydraulic fluid is 50°F or higher. | |
| Inspect hydraulic system for blockage. | ||
| Pressure and return hoses are reversed. | See “Connect to a Hydraulic Power Source” on page 8. | |
| Hot. ydraulic fluid is too h | Provide cooler to maintain proper fluid temperature. | |
| High back pressure. | See “Specifications” on page 8 and ensure hydraulic circuit back pressure is within listed specification. |

STANLEY Infrastructure
6430 SE Lake Road, Portland, Oregon 97222 USA
(503) 659-5660 / Fax (503) 652-1780
www.stanleyinfrastructure.com


















