NAKAYAMA PRO PD6320 Earth Auger

| * The manufacturer reserves the right to make minor changes to product design and technical specifications without prior notice unless these changes significantly affect the performance and safety of the products. The parts described / illustrated in the pages of the manual that you hold in your hands may also concern other models of the manufacturer’s product line with similar features and may not be included in the product you just acquired. * Please note that our equipment has not been designed for use in commercial, trade or industrial applications. Our warranty will be voided if the machine is used in commercial, trade or industrial businesses or for equivalent purposes. * To ensure the safety and reliability of the product and the warranty validity, all repair, inspection, repair or replacement work, including maintenance and special adjustments, must only be carried out by technicians of the authorized service department of the manufacturer. |
Safety instructions
Warning: READ THIS INSTRUCTION MANUAL CAREFULLY BEFORE USING THE MACHINE!
CAUTION: If you use the machine properly, the earth auger is a powerful, fast and efficient tool. If used improperly or without security measures, it can be dangerous. For a pleasant and safe job, strictly follow the safety instructions that come with this machine.
- The machine should only be used by adults with good physical condition and knowledge of the instructions for use.
- Do not operate the machine if you are tired or under the influence of alcohol or other substances.
- Do not wear jewellery or loose clothing that may be caught in the moving parts of the machine.
- Wear non-slip shoes, gloves, goggles, earmuffs and a helmet.
- Before starting the machine, confirm that the speed is in the dead position.
- Do not allow other people to be in the workplace when working with the machine.
- Don’t start unless you have a clean workplace. Do not work near power cables.
- Use the machine only in well-ventilated areas and away from flammable materials.
- Transfer the machine with the engine off, with the accessory removed and with the steering wheel folded.
- Replace the component if it is broken or the other is damaged.
- Fill the tank away from heat sources and with the engine off. Do not smoke. Do not remove the fuel cap if the engine is running. If fuel spills, move the machine at least 3 meters from the point before you start.
- Keep handles clean and dry.
- Before starting, make sure that the accessory is not obstructed by an object.
- Maintain a stable posture and a safe position.
- Do not touch the accessory (array) and do not perform maintenance work when the engine is running.
- Make sure the accessory does not move when the machine is idling.
- Hold the machine firmly with both hands and keep your body away from the accessory and exhaust. It will provide you with support for transporting, booting and using the machine.
- Do not attempt to repair or maintain parts not listed in the maintenance paragraph. Contact the company’s authorized service department.
- Check the machine every day to make sure it is in good working order.
- When working, move the machine from one point to another in idle mode and at speed to the dead position.
- Do not use a machine that has a problem, is modified or has been repaired or incorrectly assembled. Do not remove or disable any of the security components. Use only accessories that are suitable for this machine.
- Do not try the spark plug near the cylinder.
- Do not use the machine unless you have fully understood the operating methods. Follow the manufacturer’s instructions on how to maintain it.
- Do not use fuel to clean the machine.
- If the trivet sticks, stop the machine immediately.
- If your machine no longer works, discard it in an environmentally friendly way. Deliver it to the nearest recycling center for proper disposal.
- Borrow your machine only to people who know how to operate it. Put together the instructions for use and safety to read them first.
- All repair work other than those specified in these instructions should only be performed by authorized technical personnel.
- Keep the machine in a safe place and use it only when needed.
- Do not place the machine on a fixed base.
- It is forbidden to use components and spare parts that the manufacturer does not recommend.
Description of pictograms
Because the earth auger is a high speed, strong digging power tool, special safety precaution must be observed to reduce the risk of personal injury. Read this manual carefully. Be familiar with the controls and the proper use of the unit. Know how to shut it off, and how to unhook a harnessed unit quickly.
Specifications, descriptions and illustrative material in this manual are as accurate as known at the time of publication, but are subject to change without notice. Illustrations may include optional equipment and accessories, and may not include all standard equipment.
![]() | This symbol indicates Warning, and Caution. |
![]() | Read and understand operator’s manual and safety rules. |
![]() | Always wear eye and ear protection. |
![]() | Wear non-slip, heavy-duty protective gloves when handling earth auger and bit. |
![]() | Wear safety strong shoes or boots having skid-proof sole and anti-piercing insert. |
Safety warnings regarding earth augers
WHEN MIXING GASOLINE WITH TWO CYCLE ENGINE OIL, USE ONLY GASOLINE WHICH CONTAINS NO ETHANOL OR METHANOL(TYPES OF ALCOHOL). THIS WILL HELP TO AVOID POSSIBLE DAMAGE TO ENGINE FUEL LINES AND OTHER ENGINE PARTS. DO NOT MIX GASOLINE AND OIL DIRECTLY IN THE ENGINE FUEL TANK.
WARNING! DANGER!
- When preparing fuel mixture, mix only the amount needed for the job you are to do. Do not use fuel that has been stored longer than two months .Fuel mixture stored longer than this will cause hard starting and poor performance. If fuel mix has been stored longer than this time, it should be removed and filled with fresh mixture.
- Never fill the fuel tank to the very top.
- Never add fuel to the tank in a closed non-ventilated area.
- Do not add fuel to this unit close to an open fire or sparks.
- Be sure to wipe off spilled fuel before attempting to start engine
- Do not attempt to refuel a hot engine.
Check points before operation
- Check for loose bolts, nuts and fittings.
- Check the air cleaner for dirt. Clean the air filter of all dirt, etc. before operation.
- Check to be sure that protector is securely in place.
- Check to be sure that fuel is not leak.
Warning: The engine exhaust from this product contains chemicals known to cause cancer, birth defects, or other reproductive harm.
Fuel Handling
WARNING: Gasoline is an extremely flammable fuel. Use extreme caution when handling gasoline or fuel mix. Do not smoke or bring any fire or flame near the fuel or the earth auger.
- To reduce the risk of fire and burn injury, handle fuel with care. It is highly flammable.
- Mix and store fuel in a container approved for gasoline.
- Mix fuel outdoors where there are no sparks or flames.
- Select bare ground,stop engine, and allow to cool before refuelling.
- Loosen fuel cap slowly to release pressure and to keep fuel from escaping around the cap.
- Tighten fuel cap securely after refuelling. Unit vibration can cause an improperly tightened fuel cap to loosen or come off and spill quantities of fuel.
- Wipe spilled fuel from the unit. Move 10 feet (3 m) away from refuelling site before starting engine.
- Never attempt to burn off spilled fuel under any circumstances.
- Do not smoke while handling fuel or while operating the earth auger.
- Store fuel in a cool, dry, well ventilated place.
- Never place the earth auger in a combustible area such as dry leaves, straw, paper, etc.
- Store the unit and fuel in an area where fuel vapours cannot reach sparks or open flames from water heaters, electric motors or switches, furnaces, etc.
- Never take the cap off the tank when the engine is running.
- Never use fuel for cleaning operations.
- Take care not to get fuel on your clothing. If you get fuel on your clothing substitute them immediately.
Operation and Safety
WARNING: Always hold the earth auger with both hands when the engine is running. Use a firm grip with thumbs and fingers encircling the earth auger handles.
- Keep all parts of your body away from the earth auger when the engine is running. · Always carry the earth auger with the engine stopped the bit to the rear, and the muffler away from your body. When transporting in a vehicle, properly secure your earth auger to prevent turnover, fuel spillage and damage to the earth auger.
- Do not operate a earth auger with one hand! Serious injury to the operator helpers, bystanders, or any combination of these persons may result from one-handed operation. An earth auger is intended for two-handed use.
- Before you start the engine, make sure the earth auger is not contacting any object.
- Shut off the engine before setting down the earth auger. Do not leave the engine running unattended.
- Only use the earth auger in well-ventilated places, do not operate the earth auger in explosive or flammable atmospheres or in closed environments,Beware of carbon monoxide poisoning.
- Do not operate earth auger from a ladder. Always cut from a firm-footed and safe position.
- Do not work near electric cables. WARNING Contact with electrical cables or wires can cause serious injury or death as a result of electrical shock. This unit is not insulated.
- Keep the handles dry, clean, and free of oil or fuel mixture.
- When the earth auger is running, grip the left handle firmly with your left hand and the right handle with your right hand.
- Never raise the earth auger above shoulder height.
WARNING Striking a hard object in the earth with the turning auger and the resulting slowing or stopping of the auger creates reactive forces. The transfer of rotational (reactive) forces can cause the auger power head and handles to rotate suddenly in a counterclockwise direction and can result in loss of control or cause the handle frame to hit the operator or throw him to the ground, resulting in serious injury
Precautions to Reduce Vibration Risk
- Wear gloves and keep your hands warm.
- Keep the bit sharp and the earth auger, well maintained. A dull bit will increase cutting time, will increase the vibrations transmitted to your hands.
- Maintain a firm grip at all times, but do not squeeze the handles with constant, excessive pressures, take frequent breaks. All the above mentioned precautions do not guarantee that you will not sustain white finger disease or carpal tunnel syndrome. Therefore, continual and regular users should monitor closely the condition of their hands and fingers. If any of the above symptoms appear, seek medical advice immediately.
Maintenance Precaution
WARNING Never operate an earth auger that is damaged, improperly adjusted, or is not completely and securely assembled.
WARNING Be sure that the bit stops moving when the throttle control trigger is released. If the bit moves at idle speed, the carburettor may need adjusting, see “Operation-Carburetor Adjusting”.
Section. If the bit moves at idle speed after adjustment has been made, contact a Servicing Dealer for adjustment and discontinue use until the repair is made.
- Never modify your earth auger in any way.
- Keep the handles dry, clean, and free of oil or fuel mixture.
WARNING Use only accessories and replacement parts recommended. - Never touch the bit or attempt to service the earth auger while the engine is running.
- Never use fuel for cleaning operations.
- Keep the earth auger in a dry place, off the ground with the tanks empty.
- If your earth auger is no longer usable, dispose of it properly without damaging the environment by handing it in to your local Dealer who will arrange for its correct disposal.
- Replace immediately any safety device when damaged or broken.
WARNING The muffler and other parts of the engine (e.g. fins of the cylinder, spark plug) become hot during operation and remain hot for a while after stopping the engine. To reduce risk of burns do not touch the muffler and other parts while they are hot.
Description of main parts (Pic.A)

- Starter
- Fuel Tank
- Engine Stop
- Button Comp
- Throttle Lever
- Grease Cap
- Auger Bit
Technical Data
| Model | PD6320 |
| Displacement | 63,3 cm3 |
| Operation | Double |
| Drill diameter | 100/150/200/250/300 mm |
| Power output | 2 kW |
| Revolutions per minute | 7500 RPM |
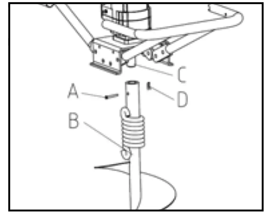
Assembly
Fit the reduction shaft (C) into the seat on the bit (D) and secure it using the appropriate gudgeon pin (A) and (B).
Operating instructions
Before start
(1) Take care that no person is in the surrounding environment while you are working (or at least in a safe distance).
(2) Check the earth auger in detail. Don’t work with the auger if something on the machine doesn’t look or works as expected.
(3) Turn the accelerator switch to the lowest position.
(4) Add fuel in a safe distance (3m) from the machine for safety purposes.
Mixing Ratio
Add 30ml of oil (2-stroke air cooled engine lubricant) per 1 litre of 95 octane unleaded gasoline in a special fuel container and mix thoroughly.
Start
(1) Place the stop button on the starting position.
(2) Push the fuel-injecting pump continuously until the fuel is full i.e. fuel flows out of the transparent tube. See Figure (2).
(3) Regulate the choker , See Figure (1) to close position in winter and at the first time to full open position when the engine is hot.
(4) Pull the starter lightly for 3-5 times to make the fuel into the cylinder. Then pull it fast to start the engine.
Note: The After start, the start rope should be contracted back slowly with hand’s help. If the rope contracts back fast, it may cause damage of the starter. (5) After start, put the choker slowly to full open position.
(6) Regulate the fuel handle to a proper position to run at low speed for 3-5 minutes, then make spraying operation. New machine should not work at full open position within the first 4 hours. The speed should be controlled at 4000-5000r/min, thus enabling the engine to have a good match and do reliable job.
Shut down
(1) Beat the accelerator control switch to the lowest position to revolve more than 30s;
(2) Close the stop button to make the gasoline machine stop.
WARNING We suggest to use a low vibration mode.
WARNING Operate time continuously can’t be over an hour each time.
Maintenance and care
- Periodical Check Cleaning
· Clean the air filter element (1) frequently. - Check Spark Plug
· Do not attempt to remove the plug from a hot engine in order to avoid
· possible damage to the threads.
· Scrape off the carbon from the spark.
· Spark plug gap 0.6-0.7mm (.023″.028″) - Lubricate Gear Case
· Lubricate the gear case every 50 hours of use. - Extended Storage
· Inspect, clean and repair unit if necessary.
· Remove all fuel from tank.
· Start engine -This will consume all fuel in fuel line and carburetor.
· Remove spark plug and pour one tea spoon of clean motor oil into spark plug hole of cylinder-replace spark plug.Store in clean, dry, dust free area.


Troubleshooting
Failure to start
| Problem | Probable cause | Remedy | |||
| cylinder compression pressure normal | spark plug spark normal | fuel system abnormality | these is no fuel in tank fuel filter obstruct | add fuel in tank clean fuel filter | |
| fuel system normal | fuel | fuel is too dirty there is water in fuel there is too much fuel in cylinder mixture ratio is improper | replace fuel replace fuel remove spark plug and dry it mixture proration | ||
| fuel system normal | High voltage wire spark normal | spark plug | spark plug fouled with oily deposits spark plug insulation damage spark gap is too large or small | clean the oily deposits replace spark plug adjust spark gap (0.6-0.7)mm | |
| High voltage wire spark abnormality | high voltage wire breach or break off coil looseness | replace or tighten tighten | |||
| fuel system normal | Ignition system normal | Compress press is shortage | piston ring attrite piston ring is breaked | replace a new Replace | |
| piston ring cementation | eliminate | |||
| spark plug looseness | tighten | |||
| conjoint surface of the | eliminate | |||
| cylinder and crank cass leak | ||||
| compress | high voltage wire and spark | tighten the spark plug | ||
| normal | plug contact badness | cap | ||
| stop switch failure or short | repair or replace | |||
| circuit |
Low output
| Problem | Probable cause | Remedy |
| flameout when speedup the smoke is thin carburetor spout backward | fuel filter obstruct fall short of fuel muffler fouled with oily deposits | clean fuel filter-clean fuel road, adjust carburetor clean the oily deposits |
| compress press is shortage | piston, piston ring, cylinder attrite | replace piston, piston ring |
| engine leak | conjoint surface of the cylinder and crank cass leak | repair |
| the end of two crank shaft leak | the seal is bad | replace seal |
| engine overheats burning room fouled with oily deposits | avoid use it for long time -high speed and heavy load clean the oily deposits |
Engine running unstable
| Problem | Probable cause | Remedy |
| there are knock sound in engine | piston, piston ring, cylinder attrite piston pin, piston attrite bearing of crank shaft attrite | replace piston, piston ring replace piston pin, piston replace bearing |
| there are metal knock sound | engine overheats burning room fouled with oily deposits gasoline branded is unfit | avoid use it for long time, high speed and heavy load clean the oily deposits replace require branded octane |
| engine ignition break off | there is water in fuel | Replace fuel |
| spark gap is wrong coil gap is wrong | adjust spark gap (0.6-0.7)mm adjust coil gap (0.3-0.4)mm |
The engine suddenly stopped
| Probable cause | Remedy |
| fuel is use up spark plug fouled with oily deposits and short circuit high voltage wire fall off | add fuel clean the oily deposits connect |
























