STANLEY EA08 Earth Auger Installation Guide
Assembly Instruction








| EA08 Handles Part Illustration – Detail F | ||
| ITEM | P/N | DESCRIPTION |
| 1 | 39415 | Cap Screw – Torque to 40 Ft. Lbs. (54 Nm) |
| 2 | 37919 | Handle |
| 3 | 21181 | Quick Release Pin |
| 4 | 37923 | Torque Tube Assembly |
| 5 | 39283 | Long Hose Assembly |
| 6 | 39282 | Short Hose Assembly |
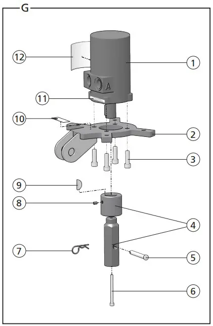
| EA08 Motor & Bit Retainer Illustration – Detail G | ||
| ITEM | P/N | DESCRIPTION |
| 1 | 39276 | Motor |
| 2 | 37917 | Motor Base |
| 3 | 06151 | Cap Screw – Apply Loctite 242 and torque to 45 Ft. Lbs. (61 Nm) |
| 4 | 43662 | Coupler Assembly |
| 5 | 44908 | Clevis Pin |
| 6 | 00718 | Cap Screw – Apply Loctite 242 and torque to 12 Ft. Lbs. (16 Nm). |
| 7 | 44909 | Cotter Pin |
| 8 | 00720 | Set Screw |
| 9 | – | Woodruff Key (Included with 39276) |
| 10 | 23139 | Tool Name Tag |
| 11 | 88344 | Importer Decal |
| 12 | 39424 | Auger Warning Decal |
| EA08 Trigger Illustration – Detail H | ||
| ITEM | P/N | DESCRIPTION |
| 1 | 00719 | Nut |
| 2 | 88349 | Composite Safety Decal |
| 3 | 28323 | CE Decal |
| 4 | 11206 | Circuit Type “C” Decal |
| 5 | 11207 | Circuit Type “D” Decal |
| 6 | 81440 | Sound Power Decal |
| 7 | 39277 | Valve Mount Handle |
| 8 | 39404 | Elbow Adapter |
| 9 | 03975 | Female Coupler |
| 10 | 10351 | Adapter |
| 11 | 08253 | Cap Screw |
| 12 | 39404 | Elbow Adapter |
| 13 | 03976 | Male Coupler |
| 14 | 39278 | Valve Assembly (Includes 2 Clevis Pins and 2 Cotter Pins |
| 15 | 39279 | Trigger |
| 16 | 03974 | Coupler Set (not shown) |

















