
USER MANUAL
MODEL NUMBER:
FOG-IT6
FG-NA-N130
FG-NA-26SS
AND RELATED ITEMS
Wall-Mounted Fog System
(Original Instructions)
READ ALL INSTRUCTIONS BEFORE OPERATING EQUIPMENT
WARNING
![]()
Read this manual completely and understand the machine before interacting with it.
- Read all instructions before installing or operating unit.
- Always wear appropriate personal protective equipment (PPE) when operating or servicing unit.
- Always follow all chemical safety precautions and handling instructions provided by the chemical manufacturer and Material Safety Data Sheet (MSDS).
- Fogging with chemical products can be hazardous.
Know the hazards of your chemical products prior to use. Wear appropriate personal protective equipment and follow all instructions and safety precautions in accordance with the MSDS for your chemical product. - If this unit is modified or serviced with parts not listed in this manual, the unit may not operate correctly.
- Before performing any maintenance on this unit, disconnect the unit from the electrical power source and compressed air supply, and open the air purge valve (QFSOV38) to release any air pressure stored in the system.
- Do not exceed an incoming air pressure of 150 psi (10.3 bar).
- Do not exceed a fluid temperature of 100˚F (37˚C).
- Only use clean and dry air. Air must be filtered and free of moisture or pump life will be diminished. If needed, install a water separator (WS-20CFM) before unit.
- Do not use an air lubricator before the unit.
- Never use unit if it is damaged or leaking.
- Disconnect unit from the electrical power source before servicing.
PROTECT THE ENVIRONMENT
Please dispose of packaging materials, old machine components, and hazardous fluids in an environmentally safe way according to local waste disposal regulations.
Always remember to recycle.
Specifications and parts are subject to change without notice.
OPTIONS | ||
| Control box | Pump Seal Material | |
| FOG-IT6 | Santoprene (standard) | |
| Viton (V) | ||
| Kalrez (K) | ||
| Add bold option codes to item number as shown. For standard options, no option code is needed. Examples: • FOG-IT6 (standard unit with Santoprene pump seals) • FOG-IT6V (unit with Viton pump seals) | ||
| Nozzle assemblies | FG-NA-N130 FG-NA-26SS | |
READ ALL INSTRUCTIONS BEFORE OPERATING EQUIPMENT
REQUIREMENTS | ||
| WITH FG-NA-N130 NOZZLES: | WITH FG-NA-26SS NOZZLES: | |
| Compressed air requirements | At factory air pressure setting of 50 psi (3.4 bar): 2 cfm (56.6 l/min) for control box, plus 2.5 cfm (70.8 l/min) per nozzle Maximum incoming air pressure: 150 psi (10.3 bar) | At factory air pressure setting of 50 psi (3.4 bar): 2 cfm (56.6 l/min) for control box, plus 5 cfm (142 l/ min) per nozzle Maximum incoming air pressure: 150 psi (10.3 bar) |
| Liquid temperature range | 40-100˚F (4.4-37˚C) | |
| Electrical requirements | 120 VAC at 60 Hz, 2 amps (GFCI protected outlet) | |
| Operating voltage | 120 VAC | |
| Chemical compatibility | Chemical products used with this equipment must be formulated for this type of application and compatible with unit materials and pump seals. For more information on chemical compatibility, consult the manufacturer or MSDS for your product. | |
SPECIFICATIONS | ||
| WITH FG-NA-N130 NOZZLES: | WITH FG-NA-26SS NOZZLES: | |
| Power type | Compressed air, electricity | |
| Chemical pickup type | Draws from pre-mixed solution | |
| Number of products unit can draw from | One product | |
| Suction line length/ diameter | 8 ft. (2.4 m) hose with 3/8 in. (9.5 mm) inside diameter) | |
| Flow rate* | 7.9 oz/min (0.23 l/min) | 5.3 oz/min (0.16 l/min) |
| Pump seals | Santoprene, Viton, or Kalrez | |
| Nozzle construction | Polypropylene and kynar | Celcon, stainless steel, EPDM and nylon |
| Timer operation type | Delay on make single shot | |
| Droplet size | 15 micron at 50 psi (3.4 bar) | 35 micron at 50 psi (3.4 bar) |
| Coverage area | 1 liter of solution will cover approximately 1000 cubic feet** | |
| Coverage pattern | Flat pattern with projection up to 10 ft. (3 m) from nozzle | Pattern up to 8 ft. (2.4 m) wide (side to side) and 3 ft. (0.9 m) thick (top to bottom), with projection up to 15 ft. (4.6 m) from the nozzle |
| Number of nozzles*** | 1-20 nozzles per control box | 1-12 nozzles per control box |
| Tubing/fitting sizes | Designed for use with 3/8 in. (9.5 mm) outside diameter tubing between control box and nozzle(s) | |
- Dilution rates and flow rates are given are based on chemicals with a viscosity of water and factory air pressure settings.
- Area covered and run time may vary based on humidity, airflow, and product used.
- Number of nozzles is dependent upon air supply (see Compressed Air Requirements)
READ ALL INSTRUCTIONS BEFORE OPERATING EQUIPMENT
Installation Instructions
- Remove all components from the packaging.
- Select an area to mount the control box.
Note: The control box should be mounted to a vertical wall. We recommend mounting the control box at a height of 6 ft. (1.8 m) or less. The chemical suction line must
reach the bottom of the chemical container. The bottom of the chemical container should not be positioned higher than the bottom of the control box. - Attach the control box mounting feet to the back of the control box, using the four screws provided in the parts package.
- Mount the control box to the wall using the four screws and plastic anchors provided in the parts package.
Note: To drill holes for the plastic anchors, use a 5/16 inch drill bit. - Install the air purge valve (QFSOV38) and tee fitting (QFT38) as shown in the diagram.
AIR PURGE SYSTEM DIAGRAM
- Mount the fog nozzle assembly (FG-NA-N130, FG-NA-26SS) in the desired location, using the included screws and plastic anchors. Repeat as needed for multiple nozzles.
- Run tubing (H38CP) from the tee fitting (QFT38) to the solution inlet fitting on a nozzle assembly. Then run tubing from the solution outlet fitting on the original nozzle to the solution inlet fitting on the next nozzle. Repeat as needed for multiple nozzles.
- Run tubing (H38CP) from the air outlet (QF1238) on the control box to the air inlet fitting on a nozzle assembly. Then run tubing from the air outlet fitting on the original
nozzle to the air inlet fitting on the next nozzle. Repeat as needed for multiple nozzles.
Note: The air and solution lines must be routed to the appropriate fittings (as labeled), or the fog quality of the unit will be negatively impacted. Make sure to insert the tubing all the way into the fittings to ensure proper connection. - When you reach the last nozzle, either plug the air and solution outlet fittings or loop the air and solution lines from the last nozzle back into the system.
Note: Depending on your configuration, plugs (QFP38), additional tee fittings (QFT38) and/or additional tubing (H38CP) may be required to complete the installation. - With the air inlet valve (HV60-H) in the closed position, connect a compressed air line to the air inlet fitting (SSE12). The air inlet fitting is 1/2 in. FPT.
- Set the timer (TRDU120) for the desired delay time and run time, as described in the timer adjustment instructions.
TIMER ADJUSTMENT INSTRUCTIONS
The TRDU120 is a multifunction timer.
The TRDU120 is a multifunction timer.
To set the timer:

- The five “MODE” switches (A-E) in the bottom left corner set the timer function. For fogging applications, switch A and switch D should be ON, and the other switches (B, C, and E) should be OFF. This puts the timer in Dual Mode, with the 1st Delay functioning as a delay time, and the 2nd Delay functioning as a single shot run time.
- The remaining three switches in the bottom row set the time interval. One switch lets you choose MIN (minutes) or SEC (seconds). The other two switches let you select a multiplier (x0.1, x1, x10, or x100), which can increase or reduce the total active time.
- The switches in the upper column control the active time. In Dual Mode, the top 5 switches control the 1st Delay (delay time), and the lower 5 switches control the 2nd Delay (run time). The active time for each function is equal to the total of the numbers next to any of these switches that are ON, times the selected multiplier.
READ ALL INSTRUCTIONS BEFORE OPERATING EQUIPMENT
12. With the power switch (TS2, TS2PLATE, TSBT12) in the OFF position, plug the unit into a GFCI-protected 120 VAC power outlet.
13. Follow all instructions from the chemical manufacturer. Place the chemical suction line into a container of pre-mixed chemical solution.
Operation Instructions
Fogging with chemical products can be hazardous. Know the hazards of your chemical products prior to use. Wear appropriate personal protective equipment and follow all
instructions and safety precautions in accordance with the MSDS for your chemical product.
- Prepare the area to be fogged.
- Verify the delay time and run time settings on the timer (see Timer Adjustment Instructions).
- Make sure the air inlet valve (HV60-H) is open, and the air purge valve (QFSOV38) is closed.
- Turn the power switch (TS2, TS2PLATE, TSBT12) to the ON position.
- To activate the unit, push the green button (BUT78GR).
The unit will begin cycling through the delay and run time intervals set on the timer, beginning with the delay time. - At the end of the run time, the unit will shut off. Observe appropriate safety precautions when reentering the area, in accordance with the MSDS for your chemical product.
- Turn the power switch (TS2, TS2PLATE, TSBT12) OFF to prevent unwanted activation of the unit
- With the air inlet valve (HV60-H) in the open position, open the air purge valve (QFSOV38) to clear any solution from the lines. Close the air purge valve (QFSOV38) after
all solution has been cleared from the system. Maintenance Instructions
To keep your fog unit operating properly, periodically perform the following maintenance procedures:
Note: Before performing any maintenance, disconnect the unit from the electrical power source and compressed air supply, and open the air purge valve (QFSOV38) to release any air pressure stored in the system.
- Inspect the pump (P56/P56K/P56V) for wear and leaks.
- Inspect all hoses for leaks or excessive wear. Make sure all hose clamps and push-fittings are in good condition and properly secured.
- Check the chemical suction line and strainer for debris and clean as needed.
- Drain your air compressor tank on a regular basis to help extend pump life. An air source with a high moisture content will accelerate pump wear. Note: If your air source
has a high moisture content, you may wish to install a water separator (WS-20CFM) before the unit.
READ ALL INSTRUCTIONS BEFORE OPERATING EQUIPMENT
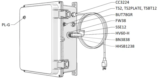
CONTROL BOX ASSEMBLY Outside View

OPTIONAL COMPONENT
WATER SEPARATOR
Item Number: WS-20CFM

READ ALL INSTRUCTIONS BEFORE OPERATING EQUIPMENT
NOZZLE ASSEMBLY
Item Number: FG-NA-N130
NOZZLE ASSEMBLY
Item Number: FG-NA-26SS or FOG-IT6-NP
READ ALL INSTRUCTIONS BEFORE OPERATING EQUIPMENT
| ITEM NUMBER | DESCRIPTION |
| ACV3D | 1/2 DEMA AIR SOLENOID, BRASS – 120v – 31gpm |
| AG100 | 1.5 INCH DRY MODEL 20 DUAL SCALE GAUGE |
| B103225 | 10-32 X 1/4in PHIL MACH SCREW 18-8 |
| BA38 | 3/8 MPT X 3/8 FPT ADAPTOR |
| BEL14M14M | BRASS ELBOW 1/4in MPT X 1/4in MPT |
| BEL38M38M | BRASS ELBOW 3/8in MPT X 3/8in MPT |
| BN3838 | BRASS HEX NIPPLE 3/8in X 3/8in |
| BUT78GR | PB OPR NO CB |
| CC3224 | LTC BLACK 1/2 NPT |
| CC8463 | 1/2in NPT BLACK LOCKNUT |
| CV38 | PVC CHECK VALVE 3/8 BARBS – SS SPRING |
| EC14-2 | OETIKER CLAMP 13.8 |
| FW38 | .687 ID X 1-1/2 OD X .07 TK FLATWASHER (5/8) 18-8 |
| FWLG14 | .569 ID X 1.28 OD X .08 THICK FLAT WASHER SS 18-8 |
| H14B-H | 1/4 INCH BLUE HOSE- GOODYEAR HORIZON – Available per ft. |
| H38B-H | 3/8 INCH BLUE GOODYEAR HORIZON HOSE – Available per ft. |
| H38CP | 3/8 IN OD POLYETHYLENE TUBING – NATURAL – Available per ft. |
| HB1438 | 1/4in MPT X 3/8in HOSE BARB (PLASTIC) |
| HBB1414 | BRASS 1/4 X 1/4 HOSE BARB |
| HBF3812 | HOSE BARB 3/8 X FEMALE PIPE THREAD 1/2 IN |
| HBSS1238 | STAINLESS HOSE BARB 1/2mpt X 3/8 barb |
| HBSSEL1438 | STAINLESS HOSE BARB ELBOW 1/4 INCH NPT X 3/8 HOSE BARB |
| HHBB1418 | HEX HEAD BRASS BUSHING 1/4in X 1/8in |
| HHSB1214 | HEX HEAD S.S. REDUCER BUSHING 1/2 X 1/4 |
| HHSB1238 | HEX HEAD S.S. REDUCER BUSHING 1/2in X 3/8 |
| HV60-H | 1/2” S.S. BALL VALVE W/ STRAIGHT HANDLE W/O WELD |
| P56 | 5700 PUMP WITH SANTOPRENE SEALS – INCLUDES HOSE BARBS, AIR FITTING, AND AIR PORT |
| P56K | 5700 PUMP WITH KALREZ SEALS – INCLUDES HOSE BARBS, AIR FITTING, AND AIR PORT |
| P56V | 5700 PUMP WITH VITON SEALS – INCLUDES HOSE BARBS, AIR FITTING, AND AIR PORT |
| 20756103B | Polypro G57 Air Port x HB Straight, w/ Viton o-ring |
| HB14P | 1/4in BRASS HB AIR FITTING /G57/P56 |
| HB5638 | HOSE BARB FOR P56 PUMP |
| HB5638K | HOSE BARB FOR P56K PUMP |
| HB5638V | HOSE BARB FOR P56V PUMP |
| P56-BRKT | PUMP BRACKET- STAINLESS STEEL |
| P56-BRKT-SCREW | HI LO SCREW FOR RETAINING P56-BRKT |
| PB16138 | POLYPROPYLENE CONTROL BOX – WORKING DIMS 16x13x8 – PUMP MOUNT |
| PB16138-GSKT | NEOPRENE GASKET 0.220 INCH ROUND CORD STOCK |
| PB16138-LATCH | LATCH FOR PB16138 |
| PB16138-PIN | STAINLESS STEEL HINGE PIN FOR CONTROL BOX PB16138 – 1/8 x 4 3/4 x 1/2inches |
| PBFT-PP | MOUNTING FEET FOR POLYBOX – PB16138 – POLYPROPYLENE |
| PFN26-SS | PNEUMATIC FOG NOZZLE WITH STAINLESS STEEL TIP – HIGH FLOW |
| PFN-N130 | Pneumatic Fog Nozzle(1/4QMJ+SUQF-N130 ASSEMBLED) – Polypropylene and KYNAR |
| PHC14 | BLACK POLY HOSE CLAMP |
| PL16138 | CONTROL BOX LID – POLYPROPYLENE – 16x13x8 – HINGED LOCKABLE LID |
| PL-G | GREEN PILOT LIGHT – MC GILL |
| QF1238 | MALE CON. 3/8in TUBE X 1/2in MPT – POLYPROPYLENE |
| QF1438 | MALE CON. 3/8in TUBE X 1/4in MPT – POLYPROPYLENE |
| QFSOV38 | SHUT OFF VALVE 3/8in TUBE POLYPROPYLENE |
| QFT38 | UNION TEE 3/8in TUBE POLYPROPYLENE |
| R38 | CFDR60-3NG FILTER, REG 3/8in |
| S1034FHL | 10 X 3/4 PHIL FLAT HI-LO THRD SCREW 18-8 |
| SHW3 | 3in LONG COATED WEIGHT |
| SN1212 | 1/2in HEX STAINLESS STEEL NIPPLE |
| SSA14 | SS304 MALE/FEMALE ADAPTOR 1/4 NPT X 1/4 NPT |
| SSC38 | WORM GEAR CLAMP, S/S (.25-.63) |
| SSE12 | STREET ELBOW 1/2in – 316 S.S. |
| SSLB 14 | 14GA SS BRACKETS W/SLOTS |
| SST12 | 1/2in FPT 304 S.S. TEE |
| STR14 | 40 MESH SUCTION LINE STRAINER 1/4 MNPT |
| T14B | FEMALE BRASS TEE 1/4in |
| TRDU120 | 120 VOLT MULTI-FUNCTION TIME RELAY |
| TRS11 | 11 PIN MAGNAL SOCKET |
| TS2 | TOGGLE SWITCH SPST |
| TS2PLATE | ON/OFF SWITCH PLATE |
| TSBT12 | TOGGLE SWITCH BOOT |
| TW916 | 1/2 INT TOOTH L/W 410SS |
| WC14BC | BUTT CONNECTOR |
| WC14FRK | 14-16 – INSULATED NARROW FORK TERM. CONNECTOR |
| WCB14F | 14-16 – 1/4 FEM INSULATED CONNECTOR |
| WCB14FY | 10-12 – 1/4in FEMALE INSULATED CONNECTOR |
| WMS14 | 14 X 1 1/4 HEX W/H SMS SLOTT, S/S |
| WMS14A | 5/16 X 1 1/2 STRAIGHT PLASTIC ANCHOR |
| WR1A | 18/3 SJOOW 90 BLACK N.A. W/ 5-15P & 7in ROJ |
| WS-20CFM | TSUNAMI WATER SEPARATOR/AIR DRYER 20 CFM |
Model No.: FOG-IT6, FG-NA-N130, FG-NA-26SS, AND RELATED ITEMS




















