FLX S+ PoE Switch 4p Expansions Kit
User Manual
ABOUT POE FROM MILLETEKNIK
The series is designed to power PoE devices such as access systems, surveillance cameras and other equipment that can be operated with Power over Ethernet.
SHORT DESCRIPTION FOR POE SWITCH 4P

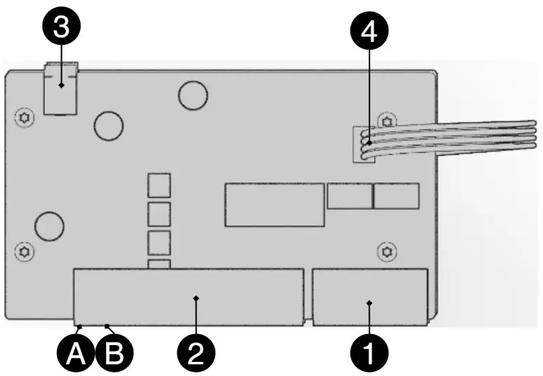
| No | Terminal no | Explanation |
| 1 | J5 | 2 pcs RJ-45 ports for data, not PoE, (powered). |
| 2 | J5 | 4 pcs RJ-45 powered ports for connecting PoE devices. |
| 3 | J2 | Power supply 48 V. |
| 4 | J8 | Connection for data transmission when additional PoE switch 4p card is connected. |
| A | – | Indication, yellow LED lights when data is being transferred. |
| B | – | Indication, green LED lights up when device is plugged in. This is only an indication that the port is connected and not the connected device’s status. |
Figure 1. PoE switch with extra card

Two cards are connected with cable on 4, or a patch cable between 1 on each card.
The picture shows how cards sit on top of each other in the PoE switch 4p FLX S+. In the PoE switch 4p
FLX M+, the cards are connected separately in mounting plate.
MOUNTING AND CONNECTION IN POE SWITCH 4P FLX S+

Table 1. Installation in PoE switch 4p FLX S+
| Letter | Explanation |
| A | Cable for data transfer between the PoE switch cards |
| B | Connection of power supply from motherboard. |
| C | Power supply to PoE switch via load port on motherboard. |
| D | The card mounts on pre-assembled spacers on top of the first card in the unit. |
MOUNTING AND CONNECTION IN POE SWITCH 4P FLX M+

Table 2. Mounting
| Letter | Explanation |
| A | Screw to be able to open the plate in the enclosure. |
| B | Cut away the plate to mount the card. |
| B | Slide the card in and screw it in place. |

Table 3. Connection
| Letter | Explanation |
| A | Connection of power supply from the motherboard (B). |
| B | Power supply to PoE switch via load port on motherboard (A). |
| C | Cable for data transfer between the PoE switch cards. |

WARRANTY
The product has a two-year warranty, from the date of purchase (unless otherwise agreed). Support during the warranty period can be reached at [email protected] or telephone, +46 31-34 00 230. Compensation for travel and / or working hours in connection with locating faults, installing repaired or replaced goods is not included in the warranty. Contact Milleteknik for more information. Milleteknik provides support during the product’s lifetime, however, no later than 10 years after the date of purchase. Switching to an equivalent product may occur if Milleteknik deems that repair is not possible. Support costs may (at Milleteknik discretion) occurs after the warranty period has expired.
NAME, ARTICLE NUMBER AND E-NUMBER
| Name | Article number | E-number (SV) |
| PoE Switch 4p Expansion Kit | A-OT00004PU01 | 5171954 |
More information
https://www.milleteknik.se/produkt/poe-switch-4p-flx/
TECHNICAL DATA: POE CARD
Limitations
IMPORTANT
Note that 802.3at type2 is not supported, as the PoE card lacks a handshake function for type 2. Read more.
The product is tested and verified against Axema access systems and Dinbox access systems and is therefore recommended for use only with these systems. The product is currently not recommended for other products that have an af/at handshake procedure. The product deviates from standard IEEE 802.3af per port and IEEE 802.3at as the power is modified to be used together with Axema passer system and Dinbox passer system, which leads to shortcomings, (PoE-connected product does not start), against products that require handshake.
| Prod- uct | Number of PoE / LAN ports | Max power per port | PoE budget | Ethernet type | Net- work ports | Inter- face | Funs– tins | Type, infect- tor and switch |
PRODUCT LIFE CYCLE, ENVIRONMENTAL IMPACT AND RECYCLING
The product is designed and constructed for a long service life, which reduces the environmental impact. The product’s service life depends on, among other things, environmental factors, mainly ambient temperature, unforeseen load on components such as lightning strikes, external damage, handling errors, and more. Products are recycled by being handed over to the nearest recycling station or sent back to the manufacturer. Contact your distributor for more information. Costs that arise in connection with recycling are not reimbursed.
SUPPORT
Do you need help with installation or connections? Our support phone is available: Monday-Thursday 08: 00-16: 00 and Fridays 08: 00-15: 00. Telephone support is closed between 11: 30-13: 15.
You can also send e-mail, we respond, on weekdays.
ADDRESS AND CONTACT DETAILS
Milleteknik AB
Ögärdesvägen 8 B S-433 30 Particle
Sweden +46 31 340 02 30
[email protected]
www.milleteknik.se

















