equip 351001 58mm POS Thermal Printer

Introduction
The 58mm POS Thermal Printer is a device that offers drivers for WINDOWS and LINUX operating systems. It supports WINDOWS XP, WINDOWS 7 32/64, WINDOWS 8 / 10 / 11, UBUNTU 12.04 32/64, and UBUNTU 14.04 32/64 operating systems.
Main Features
- With auto-cutter
- Low noise and high printing speed
- Easy paper loading
- Easily use and maintain
- Support continuous paper printing
- Compatible with many kinds of paper width
- With cash drawer interface
- Interface: USB, Ethernet
Specification
Printing Method
The printer uses a thermal printing method with a resolution of 203DPI and 8 dots/mm. It has a printing width of 48mm (384 dots) and a printing speed of 85 mm/s.
Interfaces
The printer supports cash drawer, USB, and Ethernet interfaces.
Paper Requirement
The printer supports different types of paper with a maximum width of 80mm. The paper thickness should be easy to load, and the diameter should be appropriate for the printer. The printer also has a paper-cutting function.
Physical Characteristics
- Type: Thermal POS printer
- Width: 80mm (max.)
- Thickness: N/A
- Diameter: Appropriate for printer
- Paper loading: Easy paper loading
- Paper cutting: Yes
- Operating condition: Windows WIN7/WIN8/WIN10/Vista/XP/2000,
Ubuntu 12.04 32/64, Ubuntu 14.04 32/64 - Storage condition: N/A
- Outline dimension: N/A
- Weight: N/A
- TPH life: 50km
- Cutter life: 1,000,000 times
- Motor life: 360,000 hours
Software Function
The printer supports different density dots and image printings, grating bitmap printing, and download bitmap printing (each bitmap size should be less than 64K, and the total capacity of download bitmap is 64K). The printer also supports various code pages, including ESC/POS-compatible commands.
Driver Procedure
The printer supports different driver procedures, including CP775, WCP1254[Turkish], WCP1255[Hebrew], WCP1256[Arabic], WCP1258[Vietnam], ISO-8859-2[Latin 2], ISO-8859-3[Latin 3], ISO-8859-4[Baltic], ISO-8859-5[Cyrillic], ISO-8859-6[Arabic], ISO-8859-7[Greek], ISO-8859-8[Hebrew], ISO-8859-9[Turkish], ISO-8859-15 [Latin 3], and Thai2.
Chart Bar Codes Detection Function LED Indicator
The printer supports UPC-A, UPC-E, EAN-8, EAN13, CODE39, ITF, CODEBAR, CODE128, CODE93, and QR Code. The printer also has LED indicators for paper out, cover opened, paper will be lack (optional), and un-take out printed paper (optional). The LED indicator is green for paper out and red for errors.
Appearance and Components
The printer comes with an appearance and components manual that details the physical features of the printer. It also includes an indicator and buzzer instruction manual that explains how to use the printer’s LED indicators and buzzer.
Product Usage Instructions
- Make sure that the printer is connected to a power source.
- Load the appropriate paper into the printer’s paper tray.
- Connect the printer to your computer using the USB or Ethernet interface.
- Install the appropriate driver for your operating system.
- Open the application that you want to print from.
- Select the 58mm POS Thermal Printer as your printing device.
- Adjust the printing settings as necessary.
- Click on the print button to start printing.
Introduction
Brief introduction: Equip® 351001 is a thermal POS printer with an Optional auto-cutter. It has good printing quality, high printing speed and high stability, which is widely used in POS system, food service industry, and many other fields. It offers drivers for WINDOWS and LINUX operating systems. The supported operating systems are as below:
- WINDOWS XP
- WINDOWS 7 32/64
- WINDOWS 8 / 10 / 11
- UBUNTU 12.04 32/64
- UBUNTU 14.04 32/64
Main features
- With auto-cutter
- Low noise and high printing speed
- Easy paper loading
- Easily use and maintain
- Support continuous paper printing
- Compatible with many kinds of paper width
- With a cash drawer interface
- Interface: USB, Ethernet
Specification
| Item | Parameter | |
|
Printing parameter | Printing method | Thermal printing |
| Resolution | 203DPI,8 dots/mm | |
| Printing width | 48mm(384 dots) | |
| Printing speed | 85 mm/s | |
| Interfaces | cash drawer /USB /Ethernet interface | |
| With Auto Cutter | Support | |
| Command set | / | ESC/POS compatible commands |
| Storage | FLASH | FLASH 4M bytes, NV bitmap 64K bytes |
|
characters | Chinese | GB18030 24×24 |
| Words, figures | ASCII 9×17,12×24 | |
| User-defined | Support | |
|
Code pages | Optional international character sets 45 TRADITIONAL CHINESE CHINESE CP437 [U.S.A., Standard Europe] Katakana CP850 [Multilingual] CP860 [Portuguese] CP863 [Canadian-French] CP865 [Nordic] WCP1251 [Cyrillic] CP866 Cyrillic #2 MIK[Cyrillic /Bulgarian] CP755 [East Europe,Latvian 2] Iran CP862 [Hebrew] WCP1252 Latin I WCP1253 [Greek] CP852 [Latina 2] CP858 Multilingual Latin Ⅰ+Euro) Iran II Latvian CP864 [Arabic] ISO-8859-1 [West Europe] CP737 [Greek] WCP1257 [Baltic] Thai CP720[Arabic] CP855 CP857[Turkish] WCP1250[Central Europe] | |
| CP775 WCP1254[Turkish] WCP1255[Hebrew] WCP1256[Arabic] WCP1258[Vietnam] ISO-8859-2[Latin 2] ISO-8859-3[Latin 3] ISO-8859-4[Baltic] ISO-8859-5[Cyrillic] ISO-8859-6[Arabic] ISO-8859-7[Greek] ISO-8859-8[Hebrew] ISO-8859-9[Turkish] ISO-8859-15 [Latin 3] Thai2 CP856 | ||
|
Chart |
/ | Supports different density dots and images printings |
| Supports grating bitmap printing | ||
| Supports download bitmap printing, every bitmap size should less than 64K, and the total capacity of download bitmap is 64K. | ||
| Bar codes | 1D | UPC-A、UPC-E、EAN-8、EAN13、CODE39、ITF、CODEBAR、 CODE128、CODE93 |
| 2D | QR Code | |
| Detection function | Sensor | Paper out, cover opened, paper will be lack(optional),un-take out printed paper(optional) |
| LED indicator | Power indicator | Green |
| Paper out indicator | Red | |
| Error indicator | Red | |
|
Paper Requirement | Type | Standard thermal receipt paper |
| Width | 57.5±0.5mm | |
| Thickness | 0.056~0.1mm | |
| Diameter | 80mm(Max.) | |
|
Physical characteristics | Paper loading | Easy paper loading |
| Paper cutting | Manual or automatically cut paper | |
| Operating condition | -10℃ ~ 50℃,25% ~ 80%RH | |
| Storage condition | ~40℃ ~ 70℃,≤93%RH(40℃) | |
| Outline dimension | 170mm×120mm×130mm(L×W×H) | |
| Weight | 0.6Kg | |
| Reliability | TPH life | 50km |
| Cutter life | 1,000,000 times | |
| Motor life | 360,000 hours | |
| Software function | Driver procedure | Windows(WIN7/WIN8/WIN10/Vista/XP/2000) Ubuntu 12.04 32/64, Ubuntu 14.04 32/64 |
Printing material requirements
Paper parameters
- Paper type: thermal receipt paper/thermal black mark paper
- Paper width: 57±0.5 mm
- Paper roll diameter: 80 mm (Max.)
- Paper thickness:0.065 ~ 0.10mm
Paper using attention
Note:
- Please use good quality paper, otherwise, it will effect printing quality and even reduce printer head life.
- Don’t make the paper stick on axis.
- Paper will be fading out or reduced thermal sensitivity if it is polluted by chemicals or oil, which will affect printing effects.
- Don’t use nail or hard things to clash with printing paper, otherwise, it will be fade out.
- Paper will be fading out if the environment temperature exceeds 70°C. So please take note the temperature, humidity and illumination effects.
Printing and paper-cutting position
Printing position
- Paper storehouse’s width: 59±0.5mm
- Effective printing width: 57mm
- Distance between print head to paper storehouse’s left edge (fixed-width): 3±0.3mm
- Distance between print head to paper storehouse’s right edge (fixed-width): 3±0.3mm
- Left margin: Default is 4mm
- Printing area width: it is set by commands (refer to programming manual). The default is 48mm. L7-Right margin: Default is 4mm.
Paper cutting position
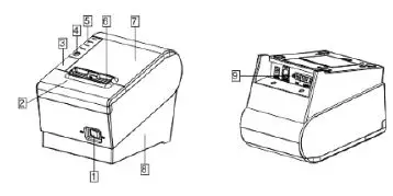
Appearance and components
Appearance and components

- Power switch
- Cover of cutter
- Paper cover’s opening button
- Feed button
- Indicator(Power/Error/Paper out)
- The mouth of paper out
- Paper bin cover
- Bottom of printer
- Communication ports
Function instruction of components
- Power switch Press “O” side to power off, press “I” side to power on.
- Power indicator(green) The indicator is on when power on, and it is off when power off.
- Error indicator (Red) Error indicator is on when it detects error. Such as: paper out, upper cover is open and cutter is stocked.
- Paper indicator(red) Paper out indicator is on when it detects the paper is out. Please put a new paper roll to printer inside then.
Indicator and buzzer instruction
Function instruction of indicators and buzzer
| Name | Status | Instruction |
| Power indicator (Power) | On | Printer is power on |
| Off | Printer is power off | |
| Error indicator (Error) | On | Printer is in error status |
| Off | Printer is in normal status | |
| Paper out indicator (Paper) | On | Printer is in paper out status |
| Off | Printer is in normal status |
| Description | Power Indicator | Error Indicator | Paper Indicator | Buzzer |
| Open printer cover | On | On | On | It rings 6 times by 1.5s. |
| Paper is enough | On | Off | Off | Silent |
| Paper out | On | On | On | It rings 3 times by 1.5s. |
Note: Printer detects printer head temperature via thermal resistance. It will cut off print head power and stop printing if print head is overheat. The print head protection temperature is 80℃.
Printer installation
Open the package:Please make sure everything is in good status when you open the package. Otherwise, please contact to the distributor in time.
Requirements of the installation position
- Put the printer on a stably place.
- Let the printer far away from water, fire, and sunlight.
- Avoid to put it on oscillatory and impassive place.
- Make sure to connect printer with ground safety
Connect to power adapter
- Make sure the printer is power off.
- Connect power adapter’s DC output plug to the printer.
- Connect power adapter’s AC input plug to a power outlet.
- Please be careful to operate correctly when plug out the plug of power cord to avoid damage.
Connect Communication cables
- Make sure the printer is power off.
- Connect communication cable to the printer’s port, and fix it with plug lag spike (or snap spring).
- Connect communication cable to the other side host.
Connect to cash drawer
- Make sure the printer is power off.
- Connect cash drawer to cash drawer port behind the printer.
- Warning: The Voltage of cash drawer port is 24V. (It cannot connect to a telephone cable.)
4.6 Paper roll loading
Printing paper type confirmation: You can load paper roll to print after connecting power adapter and communication cables. Please make sure the printing paper type before printing. The default paper type is continuous thermal receipt paper.
Loading or change paper roll
- Power off the printer.
- Slide or press paper roll storehouse button, and then open storehouse cover.

- Draw out paper roll tap, and load paper roll as below.

- Draw out a printing paper, and leave some on the paper out month, then close the storehouse cover.

- Warning: Please make sure the paper roll in tense status, if not, it maybe cause paper jam or other problems.
- The status after paper loading

Printing self-test page
- Make sure the printer loaded the paper roll correctly.
- Press down the [FEED] button and hold on, then power on the printer, the printer will print a self-test page.
Set Ethernet port IP Address.
The printer’s Ethernet IP address can be set directly via printer inserted web setting page. The operation steps are as below:
- Connect printer and PC in a same Ethernet LAN.
- Print a printer self-test page to get printer recent IP address (self-test page printing operation method refers to “4.7 printer self-test” instruction):
You can find the printer’s IP address is same as 192.168.1.87 in self-test page“IP address: 192.168.1.87” - Set network card IP address in PC and printer IP address as different IP address in the same network segment.(Such as 192.168.1.xxx, xxx is a number among 1 to 254);
- Please enter address “http://printer IP address” in browse of PC after making sure that printer connects with Ethernet.(e.g.: If printer IP address is “192.168.1.87”, please enter “http://192.168.1.87”), then press Enter key,open Ethernet port setting page in browser as below:

- Click “Configure Interface” link in the left side, then enter the modified target IP and click “save” button to save setting. Click “Reboot” button to reset printer if you want the setting to take effect.
- Enter the new IP address as the above step 4 procedure, and re-open printer Ethernet port setting web page, then click “Printer Status” link in the left side. And click “Printer Test Page” button to print self-test page, and check the IP Address contents in the self-test page is right or not.
Interface pin definitions
The printer has a cash drawer driver interface and many kinds of communication interfaces: USB and Ethernet ports. USB port and cash drawer interfaces are standard interfaces, and it has serial and parallel ports as optional.
Parallel interface pin definition(DB25M)
| Number | Signal | Function | Number | Signal | Function |
| 1 | /STROBE | Gate. Low level is effective | 10 | /ACK | Confirm. Low level is effective |
| 2 | DATA0 | Data bit is 0 | 11 | BUSY | Busy |
| 3 | DATA1 | Data bit is 1 | 12 | PE | Paper out |
| 4 | DATA2 | Data bit is 2 | 13 | SEL | Choose |
| 5 | DATA3 | Data bit is 3 | 14 | /AUTOFEED | Change line automatically. Low level is effective |
| 6 | DATA4 | Data bit is 4 | 15 | /ERROR | Error. Low level is effective |
| 7 | DATA5 | Data bit is 5 | 16 | /INIT | Initialize. Low level is effective |
| 8 | DATA6 | Data bit is 6 | 17 | /SELIN | Choose input. Low level is effective |
| 9 | DATA7 | Data bit is 7 | 18-25 | GND | Ground wire |
USB interface pin definition(standard B type female base)
Pin definition
| Pin Number | Signal name | Typical wire color |
| 1 | VBUS | Red |
| 2 | D- | White |
| 3 | D+ | Green |
| 4 | GND | Black |
Power interface pin definition(MPC-3-001B)

- Electrical specification Driver voltage: DC12V Driver current: Max. 0.8A (within 510ms) Cash drawer status tests signal: “L” = 0~0.5 V ; “H” = 3~5 V
- The cash drawer interface socket uses an RJ-11 6P type connector;
- Interface signal definition
| Pin number | Signal | function |
| 1 | FG | Printer cover |
| 2 | DRAWER 1 | Cash drawer 1 driver signal |
| 3 | DRSW | Cash drawer status detection signal |
| 4 | VDR | Cash drawer driver power |
| 5 | DRAWER 2 | Cash drawer 2 driver signal |
| 6 | GND | Common ground circuit |
Notes:
- Prohibit socket with power to pull out the communication wire plug.
- Please avoid to parallel with strong power when wring communication cables.
- Communication cables use with shielded cables.
Serial port pin definition(DB9F)
Printer serial port is compatible with RS-232, the interface socket is DB9 female socket. User can check interface setting status via printing setting self-test page. Printer default serial interface is set as: baud rate 19200bps, 8 bit data bits, no parity,1 bit stop bit, and the handshakes method is DTR/DSR。
| Pin number | Definition |
| 1 | CD |
| 2 | TD |
| 3 | RD |
| 4 | DSR |
| 5 | GND |
| 6 | DTR |
| 7 | CTS |
| 8 | RTS |
| 9 | RI |
Ethernet interface pin definition(RJ45)
| Pin number | Definition |
| 1 | TX+ |
| 2 | TX- |
| 3 | RX+ |
| 4 | n/c |
| 5 | n/c |
| 6 | RX- |
| 7 | n/c |
| 8 | n/c |
6 Faults handling
Please refer to the methods as below when printer can’t work normally. Please contact your supplier directly if it still can’t work normally.
Printer does not work
| Problems | Probably reasons | Solutions |
| The Power indicator is not light. Printer does not work | Printer is not power on. | Power on printer |
| Printer switch is not on. | Press down the “O” side of printer button | |
| PCB is damaged | Contact with agents or factory directly |
Indicator error and buzzer warning
| Problems | Probably reasons | Solutions |
| Paper indicator is on constantly Buzzer warns | Paper maybe out | Load a new paper roll |
| Paper out indicator light is on constantly Error indicator is on constantly Buzzer warns | Paper roll warehouse cover maybe lit up | Close paper roll warehouse cover correctly |
| Error indicator is blinking Buzzer warns | Print head is overheated | Power off printer power, and wait that print head temperature returns normal. |
| Voltage is too high | Use assigned voltage to print | |
| Voltage is too low | Use assigned voltage to print |
Problems when it is printing
| Problems | Probably reasons | Solutions |
| Color strips occur on the paper | Paper maybe out | Load a new paper roll. |
| Printing is not clear or have dirty spots | Paper roll loading incorrectly | Check paper roll loading correctly or not |
| Paper can’t meet the requirements | Use the recommended thermal paper | |
| Print head or printer rubber roller is dirty | Clean print head or printer rubber roller | |
| Printing density sets too light | Increase printing density to satisfy the requirements. | |
| Paper can output normally | Paper jam | Open upper cover or check paper feed channel to get to know paper jam. |
| Vertical printing contents get lost | Print head or printer rubber roller is dirty | Clean print head or printer rubber roller |
| Print head error | Contact supplier or factory directly |
Problems when cutting paper
| Problems | Probably reasons | Solutions |
| Cutter blocked or cutter does not returned back. | Cutter is worn or cannot cut paper completely | Change cutter |
| Turbine and worm are worn | Change turbine and worm | |
| Motor is burned-out | Change motor | |
| Too many paper scraps | Eliminate scraps between all the spare parts. | |
| Cutting paper is not so good. | Cutter month is worn or paper is too thick | Change cutter |
|
Paper jam | The head piece is overheated | Reduce driver head piece heating power |
| Driver moves too fast | Adjust the printing speed to allowable specification of TPH. | |
| Paper feeds position is not right | Put in the paper channel between rubber covered roller and TPH to Make paper parallel with it |
Paper jam and cutter retraction troubles removal
Please power off if it is a paper jam, and eliminate paper jam in the correct method.
- Press the paper cover and open it to eliminate paper jam. Then re-install paper roll to power on.
- Please use the method as below if step 1 cannot open paper cover:
Warning: Do not open the paper roll warehouse cover forcibly when you cannot open it normally if it is paper jam, which to avoid damaging the printer.
- Make sure the printer power is off.
- Take off the cutter adjusting cover in vertical direction as photo.
- Adjust paper-cutter to make the cutter set back to print mechanism completely as photo direction
- Open paper cover and eliminate paper jam.
- Install cutter adjusting cover vertically down.
- Re-loading paper, close the paper cover and then power on.

equip 351001 58mm POS Thermal Printer
























