GREYSTONE DWDT Network Series Duct Dewpoint Transmitter

INTRODUCTION
The duct dewpoint transmitter is designed for use in environmental monitoring and control systems where high performance and stability are demanded. It’s state-of-the-art design combines digital linearization and temperature compensation with a highly accurate and reliable thermoset polymer based capacitance humidity sensor and curve-matched NTC thermistor temperature sensor for reliability and accuracy in the most critical applications. The sensors are encapsulated in a 60 micron HDPE filter at the end of a 230 mm (9″) S/S probe and a compact enclosure.
BEFORE INSTALLATION
Read these instructions carefully before installing and commissioning the transmitter. Failure to follow these instructions may result in product damage. Do not use in an explosive or hazardous environment, with combustible or flammable gases, as a safety or emergency stop device or in any other application where failure of the product could result in personal injury. Take electrostatic discharge precautions during installation and
MOUNTING
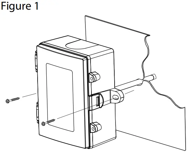
The transmitter installs directly into any air duct with a minimum width/diameter of 25.5 cm (10″). Select a suitable installation area in the middle of the duct wall. To achieve the best reading, do not place in an area where air stratification may be present. Mount the sensor at least 1.5 m (5 ` ) in either direction from elbows, dampers, filters or other duct restrictions. Avoid areas where the transmitter is exposed to vibrations or rapid temperature changes.
Once a suitable spot is selected, drill a 15 -20 mm (0.6″ – .75″ ) hole for the probe.
Slide the probe in the drilled hole until the enclosure is flush against the duct. The airflow direction is not important. Secure the enclosure to the duct with (2) #10 x 1″ (25 mm) self tapping screws (not provided). Tighten screws until the enclosure is tight against the duct and that there is no movement of the enclosure as shown in Figure 1.
A foam gasket is provided on the back of the enclosure that provides a tight seal against any air leaks.
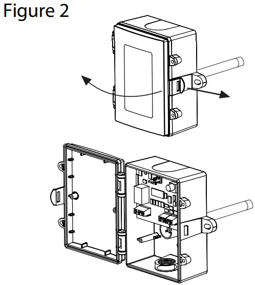
The enclosure has a hinged cover with a latch. Open the cover by pulling slightly on the latch on the bottom side of the enclosure and at the same time pulling on the cover, as illustrated in Figure 2.
A 1/2″ NPT threaded connection hole is provided in the bottom of the enclosure as shown in Figure 3. Screw the EMT connector or cable gland connector in until tight. It is recommended that weatherproof conduit or cable gland fittings be used. The F style enclosure includes 1/2″ NPT to M16 thread adapter and cable gland fitting.
Two security screws are provided which can be installed to help secure the cover once settings and wiring connections are complete. See Figure 4.
WIRING
- Deactivate the 24 Vac/dc power supply until all connections are made to the device to prevent electrical shock or equipment damage.
- Follow proper electrostatic discharge (ESD) handling procedures when installing the device or equipment damage may occur.
- Use 22 AWG shielded wiring for all connections and do not locate the device wires in the same conduit with wiring used to supply inductive loads such as motors.
- Make all connections in accordance with national and local codes.
Connect the 24 Vac/dc power supply to the terminals labeled PWR (power) and COM (common) as shown in Figure 6. This device has a half-wave type power supply so use caution when wiring multiple devices so that the circuit ground point is the same on all devices and the controller. Use caution if 24 Vac power is used and one side of the transformer is earth-grounded. In general, the transformer should NOT be connected to earth ground when using devices with RS-485 network connections. The device is reverse voltage protected and will not operate if connected backwards.
Connect the RS-485 network with twisted shielded pair to the terminals marked A-, B+ and SHLD (shield) as shown in Figure 6. The positive wire connects to B(+) and the negative wire connects to A(-) and the cable shield must be connected to the SHLD terminal on each device. If the device is installed at either end of the network, an end-of-line (EOL) termination resistor (121 ohm) should be installed in parallel to the A(-) and B(+) terminals. This device includes a network termination jumper and will connect the resistor correctly on the PCB. Simply move the PCB jumper to the EOL position and no external resistor is required as shown in Figure 7. The ground wire of the shielded pair should be connected to earth ground at the end of the network and the master is not grounded. Do not run bus wiring in the Figure 5 same conduit as line voltage wiring.


A network segment is a single shielded wire loop run between several devices (nodes) in a daisy chain configuration. The total segment length should be less than 4000 feet (1220 meters) and the maximum number of nodes on one segment is 127. Nodes are any device connected to the loop and include controllers, repeaters and sensors such as the RH/T Sensor but does not include the EOL terminators. To install more devices, or to increase the network length, repeaters will be required for proper communication. The maximum daisy chain length (segment) depends on transmission speed (baud rate), wire size and number of nodes. If communication is slow or unreliable, it may be necessary to wire two daisy chains to the controller with a repeater for each segment.
OPERATION
Start-Up Mode
When the device is powered on, it will go through a brief start-up mode. The LCD will display a sequence of information depending on the model. At the end of the start-up sequence, normal operation will begin.
STEP 1
LCD Test All segments lit for 2 seconds
STEP 2
Model Displays the model type (BACnet®) for 2 sec.
Displays the model type (Modbus) for 2 sec.
STEP 3
Software Version for 2 sec
STEP 4
Address for 2 sec
STEP 5
Baud rate for 2 sec
NORMAL MODE
In normal operation the device:
- reads the temperature and RH sensors
- calculates values for dewpoint, wet bulb and enthalpy
- updates the LCD values
- updates the network outputs
- monitors the menu key for activity
If the <MENU> key is pressed, normal operation is suspended while the menu functions are serviced. The program will automatically exit the menu after a period of inactivity.
The device has several parameters that can be configured locally via the User menu using the keypad and LCD. All parameters default to typical values but the installer may want to change some values. Any changes made are saved in non-volatile memory and are restored in case of a power loss. Only the menu items relevant to the device model will be shown. The menu can be accessed at any time after the start-up mode and if there is 5 minutes of inactivity the menu will close and normal operation will continue.
To enter the menu, press and release the <MENU> key. This will enter the User menu step 1, pressing the <MENU> key a second time advances to step 2. Each press of the <MENU> key saves the current setting and advances the menu item. The <UP> and <DOWN> keys are used to make changes to program variables by scrolling through the available options. When a value is changed, use the <MENU> key to save it to memory and advance to the next menu item.
<MENU> Press and release to enter the User menu.
ADDRESS
MODBUS
(default = 1) Use <UP> or <DOWN> to set the address 1-255. °C and Td blink to indicate the mode.
<MENU>
BACnet®
(default = 1) Use <UP> or <DOWN> to set the address 0-127. °C and Td blink to indicate the mode.
<MENU>
BAUD RATE
MODBUS
(default = 9600) Use <UP> or <DOWN> to select a baud rate of 30 (300), 60 (600), 120 (1200), 240 (2400), 480 (4800), 960 (9600), 192 (19200) or 384 (38400), °F and Tw blink to indicate the mode.
<MENU>
BACnet®
(default = 9600) Use <UP> or <DOWN> to select a baud rate of 960 (9600), 192 (19200), 384 (38400), 576 (57600), 768 (76800) or 115 (115200).
°F and Tw blink to indicate the mode.

<MENU> Exits the menu and returns to normal operation.
MODBUS SETUP ONLY
PARITY
(default = none) Use or to select a parity value of n (none), O (odd) or E (even
<MENU>
CRC
(default = 1) Use or to select a CRC value of 1 (A001 = CRC-16 reverse), 2 (1021 = CITT), 3 (8005 = CRC-16) or 4 (8408 = CITT reverse).
<MENU>
STOP BITS (default = 1)
Use or to set the stop bits to 1 or 2.
<MENU>
DELAY (default = 0)
Use or to change the value from 0 (minimum) to 50, 100, 150, 200, 250, 300 or 350 ms. BTU/lb blinks to indicate the mode.
<MENU> Exits the menu and returns to normal operation.
SPECIFICATIONS:
Power Supply:……………………………….20 – 27 Vdc, 16 – 27 Vac (non-isolated half-wave rectified)
Consumption:……………………………….50 mA max @ 24 Vdc, 1.5 VA max @ 24 Vac
Operating Conditions:………………..-30 to 50 °C (-22 to 122 °F), 0 – 95 %RH non-condensing
Storage Conditions:…………………….-40 to 70 °C (-40 to 158 °F), 0 – 95 %RH non-condensing
Wiring Connections:……………………14 – 22 AWG terminal block
Enclosure
Dimensions……………………145W x 100H x 64D mm (5.7W x 3.95H x 2.5D in)
Material…………………………..Grey Polycarbonate, UL94-V0 F style includes thread adapter (1/2” NPT to M16) and cable gland fitting
Ratings…………………………….IP65 (NEMA 4X)
Probe: …………………………………………..230 mm (9”) L x 12.7 mm (1/2”) D 304 S/S with porous filter
Weight: …………………………………………..320 gm (11.3 oz)
Approvals: …………………………………….CE, RoHS
LCD Display Values:
Temperature………………….-30.0 to 50.0 °C (0.5 °C resolution) or -22 to 122 °F (1 °F resolution)
Dewpoint……………………….-30.0 to 50.0 °C Td (0.5 °C resolution) or -22 to 122 °F Td (1 °F resolution)
Wet Bulb…………………………-20.0 to 50.0 °C Tw (0.5 °C resolution) or -4 to 122 °F Tw (1 °F resolution)
Enthalpy………………………….0 – 340 kJ/kg (1 kJ/kg resolution) or 0 – 146 BTU/lb (1 BTU/lb resolution)
Sensor Type:
RH Sensor: ……………………………………..Thermoset polymer based capacitive
Temperature Sensor:…………………..NTC Thermistor
Measurement Range:
Relative Humidity:……………………….0 – 100 %RH
Dry Bulb Temperature: ……………….-30 to 50 °C (-22 to 122 °F)
Calculated Values:
Dewpoint Temperature: …………….-30 to 50 °C (-22 to 122 °F)
Wet Bulb Temperature: ………………-30 to 50 °C (-22 to 122 °F)
Enthalpy: ………………………………………..0 – 340 kJ/kg (0 – 146 BTU/lb)
Accuracy:
Relative Humidity (RH):………………± 2% RH, 10 – 90 %RH @ 25 °C
Dry Bulb Temp.(T):……………………….± 0.2 °C (± 0.4 °F) / 0 to 50 °C (32 to 122 °F)
Dewpoint Temp. (Td):………………….± 1.0 °C (± 1.8 °F) @ 40 %RH / 25 °C
Wet Bulb Temp.(Tw):……………………± 1.0 °C (± 1.8 °F) @ 50 %RH / 25 °C
Enthalpy (En):………………………………..± 2 kJ/kg (± 1 BTU/lb) @ 50 %RH / 25 °C
Interface:
BACnet Protocol: ………………………….MS/TP, 2-wire RS-485 9600, 19200, 38400,
57600, 76800 or 115200 baud 0-127 slave address range
Modbus Protocol …………………………Modbus RTU, 2-wire RS-485
300, 600, 1200, 2400, 4800, 9600, 19200 or
38400 baud 1-255 slave address range
Country of Origin…………………………Canada
DIMENSIONS

NETWORK SETUP GUIDE
The network setup guide describes the implementation of the BACnet® or Modbus protocol. It is intended to assist control system programmers who may need to add support to their systems to communicate with this device.

BACnet® PROTOCOL
https://downloads.greystoneenergy.com/SG/SG-DWXXXBAC.pdf

MODBUS PROTOCOL
https://downloads.greystoneenergy.com/SG/SG-DWXXXMOD.pdf
IN-GE-DWDTXXXNET-02 Copyright
© Greystone Energy Systems, Inc. All Rights Reserved
Web: www.greystoneenergy.com


















