HK INSTRUMENTS RHT-MOD Duct Series Humidity Transmitters

INTRODUCTION
Thank you for choosing an HK Instruments RHT-MOD Duct se-ries relative humidity transmitter with Modbus interface. The RHT -MOD Duct series is intended for use in commercial environments in HVAC/R applications. RHT-MOD Duct is a relative humidity transmitter with temperature output installed in air ventilation duct. In addition to these measured values, RHT-MOD Duct calculates various parameters such as dew point, mixing ratio, enthalpy and absolute humidity. Illuminated dis-play ensures easy readability also from a distance. The RHT-MOD Duct has a screwless lid and an easily adjustable mounting flange that make the installation of the device easy.
APPLICATIONS
RHT-MOD Duct series devices are commonly used to monitor and control:
Relative humidity and temperature levels of incoming and return air in the ventilation system
WARNING
- READ THESE INSTRUCTIONS CAREFULLY BEFORE ATTEMPTING TO INSTALL, OPERATE OR SERVICE THIS DEVICE.
- Failure to observe safety information and comply with instructions can result in PERSONAL INJURY, DEATH AND/OR PROPERTY DAMAGE.
- To avoid electrical shock or damage to equipment, disconnect power before installing or servicing and use only wiring with insulation rated for full device operating voltage.
- To avoid potential fire and/or explosion do not use in potentially flammable or explosive atmospheres.
- Retain these instructions for future reference.
- This product, when installed, will be part of an engineered system whose specifications and performance characteristics are not designed or controlled by HK Instruments. Review applications and national and local codes to assure that the installation will be functional and safe. Use only experienced and knowledgeable technicians to install this device.
SPECIFICATIONS
Performance
Measurement ranges:
- Temperature: -30…80 °C, sensor
- Relative humidity: 0–100 %
Accuracy:
- Temperature: <0.5 ºC
- Relative humidity: ±2…3 % at 0…50 °C and 10–90 % rH
- Total error band includes accuracy, hysteresis and temperature effect over 5…50 °C and 10–90% rH.
Technical Specifications
Media compatibility:
Dry air or non-aggressive gases
- Measuring units:
- °C and % rH
Measuring element
- Temperature: NTC10k
- Relative humidity: Thermoset polymer capacitive sensing element
Environment
- Operating temperature: 0…50 °C
- Storage temperature: -20…70 °C
- Humidity: 0 to 95 % rH, non condensing
Physical
Dimensions:
- Case: 119 x 95.5 x 45 mm
- Probe: L=188 mm, d=12 mm
- Mounting:With flange, adjustable 40…155 mm
- Weight: 150 g
Materials:
- Case: ABS
- Cover: PC
- Probe: ABS
- Mounting flange: LLPDP
Protection standard:
IP54
Electrical connections: 4 spring loaded terminals
Power supply: (24 V and GND) 0.2–1.5 mm2 (16–24 AWG)
Modbus RTU: A and B line
0.2–1.5 mm2 (16–24 AWG)
Electrical
Supply voltage: 24 VAC or VDC ±10 %
Current consumption: max 90 mA (at 24 V) + 10 mA for each voltage output
Communication
Protocol: MODBUS over Serial Line
Transmission Mode: RTU
Interface: RS485
Byte format (11 bits) in RTU mode:Coding System: 8-bit binary Bits per Byte:
SCHEMATICS

DIMENSIONAL DRAWINGS

INSTALLATION
- Mount the device in the desired location (see step 1).
- Route the cables and connect the wires (see step 2).
- The device is now ready for configuration.
WARNING! Apply power only after the device is properly wired.
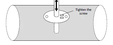
STEP 1: MOUNTING THE DEVICE
- Select the mounting location (on a duct).
- Use the mounting flange of the device as a template and mark the screw holes.
- Mount the flange on the duct with screws (not included). (Figure 1a)
- Adjust the probe to the desired depth. Ensure that the end of the probe reaches the middle of the duct. (Figure 1b)
- Tighten the screw on the flange to hold the probe in position.



WIRING DIAGRAMS
- Unscrew the strain relief and route the cable(s).
- Connect the wires as shown in figure 2a.
- Tighten the strain relief.

CONFIGURATION
Configuration of the RHT-MOD Duct series device consists of configuration menu options (display versions only). Press the select button to accept changes. Move to the next setting by pressing the down button. Select the exit menu to save the settings. If the buttons are unused for 3 minutes, the basic view will reappear automatically, and the changed settings are not saved.
- Activate the device Menu by pushing the the select button for 2 seconds.
- Select the value shown on the display row 1. (temperature / dew point / mixing ratio / enthalpy / absolute humidity / relative humidity)

- Select the value shown on the display row 2. (temperature / dew point / mixing ratio / enthalpy /absolute humidity / relative humidity)

- elect the address for Modbus: 1…247.

- elect the baud rate: 9600/19200/38400/57600.

- elect the parity bit: None/Even/Odd.

- Select humidity offset: +-10 % rH, Offset feature enables field calibration. This is necessary in demanding applications requiring annual calibration.

- elect temperature offset: +-5 °C.

- ush the select button to exit menu.

MODBUS REGISTERS
Function 03 – Read input holding register
| Register | Parameter description | Data Type | Value | Range |
| 4×0002 | RH Offset | 16 bit | -100…100 | -10.0. 10.0 % rH |
| 4×0003 | TE Offset | 16 bit | -50…50 | -5.0… 5.0 °C |
Function 04 – Read input register
| Register | Parameter description | Data Type | Value | Range |
| 3×0001 | Program version | 16 bit | 0…1000 | 0.0…99.00 |
| 3×0003 | rH reading | 16 bit | 0…1000 | 0.0…100.0 % |
| 3×0004 | Temp. reading | 16 bit | -300…800 | -30.0. 80.0 °C |
| 3×0006 | RH Offset | 16 bit | -100…100 | -10.0. 10.0 % rH |
| 3×0007 | TE Offset | 16 bit | -50…50 | -5.0… 5.0 °C |
| 3×0008 | Dew point | 16 bit | -300…800 | -30.0. 80.0 °C |
| 3×0009 | Absolute humidity | 16 bit | 0…800 | 0.0. 80.0 g/m³ |
| 3×0010 | Enthalpy | 16 bit | 0…850 | 0.0. 85.0 kJ/kg |
| 3×0011 | Mixing ratio | 16 bit | 0…800 | 0.0. 80.0 g/kg |
WARRANTY POLICY
The seller is obligated to provide a warranty of five years for the de-livered goods regarding material and manufacturing. The warranty period is considered to start on the delivery date of the product. If a defect in raw materials or a production flaw is found, the seller is ob-ligated, when the product is sent to the seller without delay or before expiration of the warranty, to amend the mistake at his/her discre-tion either by repairing the defective product or by delivering free of charge to the buyer a new flawless product and sending it to the buyer. Delivery costs for the repair under warranty will be paid by the buyer and the return costs by the seller. The warranty does not comprise damages caused by accident, lightning, flood or other natural phenom-enon, normal wear and tear, improper or careless handling, abnormal use, overloading, improper storage, incorrect care or reconstruction, or changes and installation work not done by the seller. The selection of materials for devices prone to corrosion is the buyer’s responsibil-ity, unless otherwise is legally agreed upon. Should the manufacturer alter the structure of the device, the seller is not obligated to make comparable changes to devices already purchased. Appealing for warranty requires that the buyer has correctly fulfilled his/her duties arisen from the delivery and stated in the contract. The seller will give a new warranty for goods that have been replaced or repaired within the warranty, however only to the expiration of the original product’s warranty time. The warranty includes the repair of a defective part or device, or if needed, a new part or device, but not installation or exchange costs. Under no circumstance is the seller liable for damages compensation for indirect damage.
RECYCLING/DISPOSAL
The parts left over from installation should be recycled according to your local instructions. Decommissioned devices should be taken to a recycling site that specializes in electronic waste.



























