MeTra Mazda RX-8 2004-2008 Double DIN Installation Dash Kit Instruction Manual

Mazda RX-8 2004-2008
Visit MetraOnline.com for more detailed information about the product and up-to-date vehicle specific applications

KIT FEATURES
- ISO DDIN radio provision
- Two finishes available:
- 95-7510 = Black,
- 95-7510HG = Gloss Black
KIT COMPONENTS
- A) Radio/Climate control housing • B) Radio brackets • C) Rear support • D) (4) Plastic panel clips • E) Axxess Interface and wiring harness (not shown)

WIRING & ANTENNA CONNECTIONS
Wiring Harness: Axxess interface and wiring harness included
Antenna Adapter: Not required
TOOLS REQUIRED
- Panel removal tool • Phillips screwdriver
- 10mm socket wrench • Cutting tool
DASH DISASSEMBLY
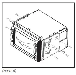
- Unscrew the shift knob counter clockwise to remove. (Figure A)

- Unclip and remove the shifter trim panel. (Figure B)

- Remove (2) Phillips screws from the bottom of the ashtray assembly then unclip and remove the assembly. (Figure C)

- Unclip and remove the knee panel on the driver’s side under the steering column (Figure D)

- Remove (1) 10mm bolt securing the side of the radio. (Figure E)

- Remove (2) Phillips screws from the bottom of the radio/climate control panel, then unsnap and remove. (Figure F)

- Unclip the radio/climate control panel. Slide the panel out, then unplug and remove the panel.

KIT PREPARATION
From the factory radio/climate control panel:
- Remove (3) screws securing the display harness. This harness will be reused in Kit Assembly. (Figure A)

- Remove (4) screws securing the radio chassis, then remove. (Figure B)

- Remove (6) screws securing the climate controls, then remove. The controls and hardware will be reused in Kit Assembly. (Figure C)

- Remove (17) screws securing the circuit board to access the hazard switch assembly. (Figure D)

- Remove (2) screws securing the hazard switch assembly. Carefully pull and release the hazard switch button from the assembly to fully remove the complete assembly.

The switch and hardware will be reused in Kit Assembly. (Figure E) Continued on the next page
KIT PREPARATION (CONT.)
To the 99-7510 radio/climate control housing:
- Cut the top (2) mounting locations off the climate controls to provide clearance for the aftermarket radio. (Figure F)

- Secure the climate controls using the factory screws. (Figure G)

- Insert the hazard switch into the housing, then secure using the factory screws. (Figure G)
- Attach (4) plastic panel clips provided. Continue to Kit Assembl
KIT ASSEMBLY
- Secure the radio brackets to the radio using the screws supplied with theradio. (Figure A).

- Attach the rear support to the radio using the hardware supplied with the radio. (Figure B) Continue to Axxess Interface Installation

INTERFACE FEATURES
- Provides NAV outputs (parking brake, reverse, speed sense)
- Can be used in both amplified and non-amplified models
- Retains balance and fade
- USB-CAB updatable (sold separately)
INTERFACE COMPONENTS
- 7510 harness
- OBDII harness with stripped leads
- Hazard switch extension cable
- Climate control extension harnesses (2)
TOOLS REQUIRED
- Wire Cutter • Crimp tool • Solder gun • Tape
- Connectors (example: butt-connectors, bell caps, etc.)
CONNECTIONS
From the 7510 harness to the aftermarket radio:
- Connect the Black wire to the ground wire.
- Connect the Yellow wire to the battery wire.
- Connect the Red wire to the accessory wire.
- Connect the Blue wire to the power antenna wire.
- If the vehicle is equipped with a factory amplifier, connect the Blue/White wire to the amp turn on wire. This wire must be connected to hear sound from the factory amplifier.
- If the aftermarket radio has an illumination wire, connect the Orange wire to it.
- Tape off and disregard the Orange/White wire, it will not be used in this application.
- Connect the Gray wire to the right front positive speaker output.
- Connect the Gray/Black wire to the right front negative speaker output.
- Connect the White wire to the left front positive speaker output.
- Connect the White/Black wire to the left front negative speaker output.
- Connect the Green wire to the left rear positive speaker output.
- Connect the Green/Black wire to the left rear negative speaker output.
- Connect the Purple wire to the right rear positive speaker output.
- Connect the Purple/Black wire to the right rear negative speaker output
CONNECTIONS (CONT.)
The following steps are only for multimedia/navigation radios that require these wires.
- Connect the Blue/Pink wire to the VSS/speed sense wire.
- Connect the Green/Purple wire to the reverse wire.
Note: Not applicable on manual transmission vehicles. - Connect the Light Green wire to the parking brake wire.
- Connect the ODBII harness with stripped leads, to the 2-pin harness.
- Run the wires from ODBII harness with stripped leads to the ODBII connector in the vehicle, and then connect them as shown.

INSTALLATION
Attention! Failure to insert the HVAC cables into the correct location will cause damage to the interface and make the display and HVAC controls not function properly.
- Attach the (2) climate control extension harnesses to the temperature control cable, and the fan control cable, on the factory limate control.
- Plug the temperature control cable from the factory climate control into the port on the interface labeled “TEMP”. (Figure A)

- Plug the fan control cable from the factory climate control into the port on the interface labeled “FAN”. (Figure B)

- Plug the display harness removed in step 1 of kit preparation into the port on the interface labeled “DISP”. (Figure B)
- Plug the hazard switch extension cable to the factory hazard switch, and then into the port on the interface labeled “HAZARD”. (Figure B)
- Test all functions of the installation for proper operation, before reassembling the dash.
Note: If the vehicle is equipped with automatic climate controls, start the vehicle and hold the “AUTO” button for 10 seconds to program the climate controls. - Reassemble the dash in reverse order of disassembly to complete the installation.
DISPLAY CUSTOMIZATION
- Press and hold the A/C Mode button to scroll through the various kit options (AMB TEMP ON or OFF, AMB TEMP C or F, SET TIME 12/24H, and SET TEXT).
- When you see the option you want just let the button go and the action on the screen will be performed. (ie: To turn the ambient temperature on you would scroll through until the display says “AMB TEMP ON” and let the button go.)

- To set the time hold down the A/C Mode button until the display says “SET TIME 12/24H” then let the button go.

- To switch between 12H and 24H press the front defrost button to the left of the A/C Mode button.
- To change the Hour press the rear defrost button to the right of the A/C Mode button.
- To change the minute press the A/C button at the top of the A/C Mode button.
- At any time if you do not press any buttons for 5-seconds the display will save and return to the default screen and the climate control buttons will return to their normal configuration.
- If you hold the A/C Mode button down long enough the display will say “SET TEXT”. This will allow you customize the default text on the display.
- Once the display says “SET TEXT” let go and the first letter of the display will begin blinking.
- Press the front defrost button to move the cursor left and the rear defrost button to move the cursor to the right.
- You can scroll up with the A/C button and down with the Recirc/Fresh button through the various alpha, numeric, and symbol characters.
- When you are finished entering your text if you do not press any buttons for 5-seconds the display will save and return to the default screen and the climate control buttons will return to their normal configuration.
INSTALLATION INSTRUCTIONS
If you are having difficulties with the installation of this product, contact our Tech Support line either by phone at 1-800-253-TECH, or email at [email protected]. Before
doing so, look over the instruction booklet a second time and ensure that the installation was performed exactly as the instruction booklet is stated. Have the vehicle apart and ready to perform troubleshooting steps before contacting Metra/Axxess Tech Support







































