KICHLER 82400 Maritime Brushed Nickel Coastal Ribbed Glass Cylinder Mini Pendant Light

PACKAGE CONTENTS

| PART DESCRIPTION | QTY | |
| A | Canopy | 1 |
| B | Mounting Bracket | 1 |
| C | Threaded Nipple | 1 |
| D | Hex Nut | 3 |
| E | Socket | 1 |
| F | Loop | 1 |
| G | Threaded Pipe | 1 |
| H | Screw Collar Ring | 1 |
| PART DESCRIPTION | QTY | |
| I | Screw Collar Loop | 1 |
| J | Stem Coupling | 1 |
| K | Chain | 1 |
| L | Glass Shade | 1 |
| M | Shade Base Cup | 1 |
| N | Slotted Coupling | 1 |
| O | Rubber Gasket | 1 |
| P | Slotted Washer | 1 |
HARDWARE CONTENTS

SAFETY INFORMATION
Please read and understand this entire manual before attempting to assemble, operate or install the product.
WARNING
- CAUTION – RISK OF SHOCK –
Disconnect Power at the main circuit breaker panel or main fuse box before starting and during the installation. - WARNING:
This fixture is intended for installation in accordance with the National Electrical Code (NEC) and all local code specifications. If you are not familiar with code requirements, installation by a certified electrician is recommended. - Do not use bulbs with wattage greater than specified on this fixture.
- California Proposition 65
WARNING: This product can expose you to chemicals including lead, which is known to the State of California to cause cancer, birth defects, or other reproductive harm. For more information, go to http://www.P65Warnings.ca.gov
CAUTION
- If you have any doubts about how to install this lighting fixture, or if the fixture fails to operate completely, please contact a licensed electrical contractor.
- All parts must be used as indicated in these instructions. Do not substitute any parts, leave parts out, or use any parts that are worn out or broken. Failure to obey this instruction could invalidate ETL listing and/or C.S.A. certification of this fixture.
PREPARATION
Before beginning assembly of product, make sure all parts are present. Compare parts with package contents list and hardware contents list. If any part is missing or damaged, do not attempt to assemble the product.
Estimated assembly time: 30 minutes to 1 hour
Tools Required for Assembly (not included): Phillips screwdriver, flathead screwdriver, wire strippers, electrical tape, ladder, safety glasses, pliers (2).
ASSEMBLY INSTRUCTIONS
- Screw threaded pipe (G) into stem coupling (J).
NOTE: The electrical cable will need to get pulled through the individual parts as they are installed on this and later steps.
- Carefully slip shade base cup (M) down over threaded pipe (G) until it rests on slotted coupling (N).

- Screw loop (F) into threaded pipe (G).

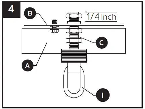
- Position threaded nipple (C) in mounting bracket (B) so that, when mounted:
- The threaded nipple (C) will protrude a minimum of 1/4 inch beyond the raised center portion of the bracket (B).
- The threaded nipple (C) height should be positioned so that 1/2 the exterior threads of the screw collar loop (I) will extend past the canopy (A), when it is mounted.
NOTE: Canopy (A) is only needed to determine the position of the threaded nipple (C) and screw collar loop (I). It will be installed later.
- Once the proper position of the threaded nipple (C) and mounting bracket (B) has been determined, secure with hex nuts (D) as follows:
- Screw one hex nut (D) onto the threaded nipple (C) and tighten against the raised portion of the mounting bracket (B).
- Screw another hex nut (D) onto the threaded nipple (C) and tighten against the flat portion of the mounting bracket (B).
- Screw the remaining hex nut (D) onto threaded nipple (C) and tighten against the screw collar loop (I).

- Connect mounting bracket (B) to the outlet box (not included) with short machine screws (BB).
Hardware Used
BB Short Machine Screw
- To open chain links:
Locate the split in the chain link (K) which will need to be opened and removed. Put one pair of pliers (not included) on each side of the split and rotate the pliers in opposite directions to open the link’s split. The open link should be shaped like the letter “C”.
Do not twist the ends of the link sideways so that the open link cannot lay flat.
- Thread chain (K) through screw collar ring (H) and canopy (A). Using the open chain links on chain (K), attach one end to screw collar loop (I) and the other end to threaded pipe with loop (F). Weave the fixture electrical and ground wires through every other chain link and pass through threaded nipple (C) into outlet box. Lower the screw collar ring (H) and canopy (A) over the chain (K).
NOTE: Add or remove chain links once desired length is established. Trim extra cabling leaving six inches of extra wire protruding from the
screw collar loop (I) and threaded nipple (C).
CAUTION: To avoid damage from falling, make sure the open chain links are fully closed once assembled.
- Wire connection guide:
Ground wire:- For installation in the United States: Wrap ground wire from outlet box around ground screw on mounting bracket (B) no less than 2 in. from wire end. Tighten ground screw. If fixture is supplied with a ground wire, connect to outlet ground wire with a wire connector (AA).
- For installation in Canada: If fixture is supplied with ground wire, wrap ground wire around ground screw on mounting bracket (B). Tighten ground screw. Connect fixture ground wire to outlet ground wire with a wire connector (AA).
Supply wires: - Connect the Neutral (White) supply wire from the outlet box to the Neutral fixture wire (White or Parallel Cord “D” shaped and ribbed).
- Connect the Hot (Black) supply wire from the outlet box to the Hot fixture wire (Black or Parallel Cord round and smooth).
NOTE:
Fixture wires will either be: - Black and White.
- Parallel Cord SPT-1 lamp wire with one round smooth wire and one “D” shaped ribbed wire.
Hardware Used
AA Wire Connector
- Pass canopy (A) over the screw collar loop (I).
Attach screw collar ring (H) to screw collar loop (I) to secure canopy (A).
NOTE: Make sure all wires are inside of canopy (A) and do not get pinched between canopy (A) and mounting bracket (B), or canopy (A) and ceiling.
- Carefully raise up glass shade (L), passing hole in top of glass shade (L) over socket (E).
Carefully continue to raise glass shade (L) up to shade base cup (M), then carefully raise both glass shade (L) and shade base cup (M) together up threaded pipe (G) until slotted coupling (N) is accessible.
While holding up glass shade (L) and shade base cup (M), insert slotted washer (P) into slot in slotted coupling (N). Place rubber gasket (O) around slotted coupling (N) and on top of slotted washer (P).
Carefully lower glass shade (L) and shade base cup (M) until they rest on top of rubber gasket (O) and slotted washer (P).
- Insert 75-watt max. medium base bulb or LED equivalent (not included) into socket (E).

CARE AND MAINTENANCE
- Always be certain that electric current is turned off before cleaning this item.
- Use a soft, moist cloth with mild non-abrasive soap to clean fixture. Never use glass cleaner on fixture, as it will damage the metal finish.
- All glass shades may be washed in a towel-lined sink with warm water and mild soap. Do not wash shades in an automatic dishwasher.
TROUBLESHOOTING
| PROBLEM | POSSIBLE CAUSE | CORRECTIVE ACTION |
| Fixture does not light. |
|
|
Distributed by:
Kichler Lighting
LLC 30455
Solon Rd Solon,
OH 44139 Printed in China






Hardware Used


Supply wires:















