50673 Shield Plus Ceiling Light
Instruction Manual
Thank you for purchasing this light fitting.
Please read the instructions carefully before use to ensure safe and satisfactory operation of this product. Please retain these instructions for future reference.
Warning
This is a Class 1 product and must be earthed.
This product is NOT suitable for direct mounting on normally flammable surfaces (suitable only for mounting on non-combustible surfaces).
Please read these instructions carefully before commencing any work.
This unit must be fitted by a competent and qualified electrician.
Install in accordance with IEE Wiring regulations and current Building Regulations.
To prevent electrocution switch off at mains supply before installing or maintaining this fitting. Ensure other persons cannot restore the electrical supply without your knowledge.
This light fitting should be connected to a fused circuit.
If replacing an existing fitting, make a careful note of the connections.
Always use the correct type and wattage bulb. Never exceed the wattage stated.
When changing a bulb, always switch off at the mains and allow the old bulb to cool down before handling.
Dispose of used bulbs carefully and responsibly. This product is suitable for dimming when used in conjunction with a dimmable lamp. Please ensure verification of dimming abilities with the lamp manufacture prior to use.
Waste electrical products should not be disposed of with household waste. Please recycle where facilities exist. Check with your local authority or retailer for recycling advice.
Specification
Voltage: 220-240V — 50Hz
Lamp: All Models – 1 x 50W Max. GU10 Mains Halogen
IP rating: 20
Layout
This product has no special protection against the ingress of moisture.
This product is suitable for use in outside zones of a bathroom only. Please see diagram.
If this unit is being fitted in a room containing a bath or shower, a 30mA RCD must be used – in accordance with IEE regulations
Spotlights give a concentrated beam of light and must not be positioned any closer than 0.5M (50cm) to the illuminated surface.
Installation
Existing fittings must be completely removed before installation of a new product. Before removing the existing fitting, carefully note the position of each set of wires.
- After deciding the layout of the light fittings ensure that the cables are long enough to connect to the desired positions.
- If more than one downlight is to be installed, the distance between units must be no less than 0.5m (50cm).
- Cut a mounting hole in the ceiling taking care not to foul any pipes, mains cables or joists beneath the surface.
50673/50674/61059/99758:
70mm diameter cutout; 175mm ceiling void (minimum)
50681/50682/61060/99759:
83mm diameter cutout; 175mm ceiling void (minimum) - It is always recommended to cut the hole slightly smaller than the size specified, and then file the hole until the recessed unit fits snugly.
- Ensure free movement of air around the fitting by removing any roof void insulation from at least 150mm around the hole. Under no circumstances must these fittings be covered with insulating matting or similar material.

Wiring
- Fit the terminal block box onto the bracket at the top of the product (see diagram A) and open the cover.
- Connect the incoming live and neutral cable to the terminals (use minimum 1.0mm2 core cable). Connect the live supply to the terminal marked 1 (brown wire) and neutral supply to the terminal marked N (blue wire) by simply pushing the lever on each terminal block and inserting the cable (see diagram B). Ensure connections are tight. An earth terminal and a spare terminal are provided for cable terminations where necessary.
- Replace the cover onto the terminal block case.

Check that…
- You have correctly identified the wires.
- The connections are tight.
- No loose strands have been left out of the connection block.
Commissioning

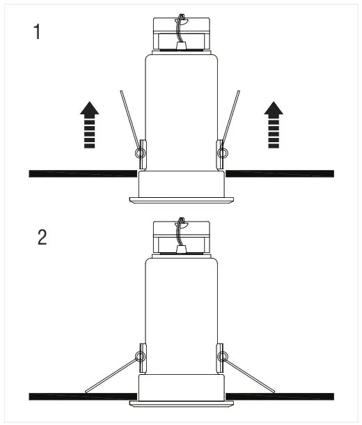
- The ceiling surface must be flat and smooth to ensure a good fit.
- Push the spring clips upwards and fit the two arms into the ceiling hole.
- Push the unit up until firmly in position, ensuring that the cable is not trapped.
- Adjust the cable so it does not get snagged.
- Adjust the light source of 50681/50682/61060/99759 to the desired angle.
- Replace fuse or circuit breaker and switch on. Your light is now ready for use.
Fitting/replacing the bulbs

- When changing a bulb, always switch off at the mains and allow the bulb to cool before handling. Dispose of used bulbs carefully. Use a soft cloth to handle bulbs, avoid directly touching the bulbs as this will shorten their life.
- Do not exceed the wattage stated or use a different shape bulb from that indicated on the fitting.
- Rotate the front bezel off, and drop down, Lift the bulb and slide out of the clip.
- To replace the bulb, slide into the clip, ensuring it is sitting properly on the recess.
Care and Cleaning
We recommend cleaning with a soft dry cloth. Do not use solvents or abrasive cleaners as these could damage the finish.
Recycling advice
Waste electrical products should not be disposed of with household waste. Please recycle where facilities exist. Check with your Local Authority or retailer for recycling advice.
Safety information
For your safety, always switch off the power supply before changing lightbulbs, or cleaning.
UK Manufacturer: BH17 7BY EU
Manufacturer: Brilliant AG,
Brilliantstrasse 1, D-27442 Gnarrenburg
V8 13/11/2021
www.sexbylighting.com
Saxby Lighting















