Neo Burner
Installation Guide
Neo Burner

The product is a decorative device with real fire.
Read the included documentation prior to installing and operating the device.
Check the local regulations for fireplaces.
- For indoor use and in housing only. Min. temperature of use is 10°C.
- Room cubature for one device – min. 50 m
- Room air exchange rate – min. 1/h.
- Do not use the device in humid and drafty spaces.
- Do not cover top ventilation openings of the device.
- No heat-sensitive and flammable objects can be placed within a 1 meter radius from and directly above the device.
- Do not place any objects on the top of the device.
- We recommend placing a CO2 or dry powder fire extinguisher nearby the device
- For service purposes, the surrounding must allow for easy removal of the device.
- Keep children, animals and unauthorized persons away from the device.
- Keep the packaging and manuals for future use.
- Do not turn on the device in case of fuel spill.
- Do not interfere in the fuel filler when the device is operating.
- Do not interfere in the device construction.
- Do not touch the filament and other hot elements.
- Do not transport the device if fueled.
- Do not leave an operating device unattended.
NON-FLAMMABLE MATERIAL

The fireplace surrounding must be made of non-flammable materials and insulated from any flammable elements of the construction. Use only fasteners and adhesives that are resistant to high temperature.

Correct and incorrect installation options
GLASS SHIELD (B)
NON-FLAMMABLE MATERIAL
Back wall has to be closed


Place the granules (H) evenly in the marked area leaving no uncovered area. Make sure the granules are not in contact with the filament.

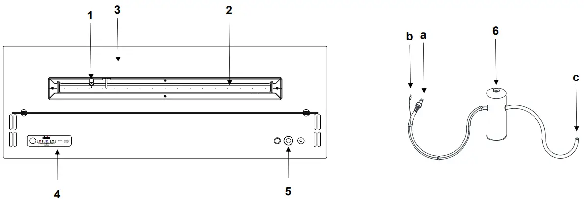
- Filament
- Burner
- Device surface
- Control panel
- Fuel filler
- Fuel pump (a, b, c)

- ECO mode
- Flame ignition / flame extinguishing
- Service socket
- Control diodes
| Diodes OFF | |
| Diodes ON | |
| Blinking diodes |
FUEL FILLING
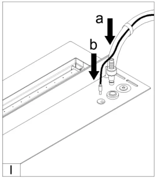
- If the tank is empty (
) or you want to fill the fuel, firmly connect the pump hose ‘a’ (click!) and power cable ‘b’ (I) (
).
ATTENTION! Do not refuel when the flame is ignited!
- If the fuel bottle is secured with the flame restrictor (cap on the bottles’ neck) (II) please remove it before inserting the fuel pump inlet (III) Place the fuel container stably on the floor and insert the pump hose ‘c’ (III). Press and hold the button on the pump to start refuelling (IV).
Once the fuel container has been emptied, replace it with a full one and start the pump again (see point 2).
The pump will stop when the tank is full (sound +
). - Disconnect the power cable ‘b’. To disconnect the pump, hold the end of the hose and firmly press the button in the place marked with a sticker ‘a’ (V).
- Shake the remaining fuel from the hose ‘c’ to the container and place the pump in the bag (VI).

FLAME IGNITION
The green diode
indicates that the device is ready to ignite the flame.
Press and hold START for 3 seconds. Flame ignition will take 2-10 minutes (
). The smell of ethanol vapours can be present during the ignition. The diode READY off (
) indicates that the flame has been ignited and the device reached the working temperature
FLAME HEIGHT REGULATION
When the flame is ignited, press ECO to lower the flame (two sound signals). Press ECO again to increase the flame height (one sound signal).
ATTENTION! In case the device temperature is too high, the flame will be automatically lowered (ECO) and the height regulation blocked. If the temperature keeps increasing, the device will be turned off.
FLAME EXTINGUISHING
Press STOP to extinguish the flame (sound signal +
).
You can ignite the flame again when the device is cooled – the green diode READY (
).
FAST START
The FAST START offers faster flame ignition (when the device is ready (
), the power consumption is 60 W higher). The function is enabled by default.
To disable FAST START, press and hold ECO for 10 seconds (four sound signals). To enable the function, press and hold ECO for 10 seconds (two sound signals).
ERRORS
Some alarms are accompanied by a sound signal. Press START/STOP to mute.
| Lp. | DIODES | SOLUTION (contact the Service Department if the solution does not eliminate the error) |
| 1 | The device is being cooled. Wait for the green diode | |
| 2 | The device run out of fuel while operating. The device is being cooled. Wait for the red diode to turn off. Refill the tank. | |
| 3 | If spillage occurred while pouring the fuel, disconnect the fuel pump and wipe off the visible liquid. Mute the device ( START/STOP button) and wait for at least one hour. Press and hold ECO for 10 seconds. If the message does not disappear, turn off the device and wait for a minimum of 24 hours. | |
| If the error occurred during flame ignition, it means that the ignition time has been exceeded. Press and hold ECO for 10 seconds. | ||
| 4 | Device error. Press and hold ECO for 10 seconds. | |
| 5 | Tank overfilled. Contact the Service Department. | |
| 6 | Room temperature too low (<10°C) or device error. Increase the room temperature. Press and hold ECO for 10 seconds. Wait for the green diode |
FUEL – Use only fuels consisting of 95-96,6% ethanol by volume. FANOLA® is the recommended fuel. Do not use gel, thick and viscous fuels or fuels of improper electric conductivity. The values must be compliant with those of FANOLA® . Other fuels, such as dehydrated ethanol (i.e. consisting of more than 96,6% by volume ethanol) will cause a device error and loss of the guarantee. Fuels consisting of 100% by volume ethanol will damage the device.
CLEANING – Clean with a damp cloth and delicate detergents, only when the device is turned off and cooled.
SERVICE – Keep the provided USB cable for service. Reach out to us at [email protected].
Copyright Planika Sp. z o.o.
www.planikafires.com
I1501#01
25.03.2022

Once the fuel container has been emptied, replace it with a full one and start the pump again (see point 2).

















