planik Prime Fire 990 + Bioethanol Fireplace Insert

The product is a decorative device creating real fire.
Read the included documentation prior to installing and operating the device.
Consult the local regulations for fireplaces.
PARTS


- For indoor use and in housing only. Min. temperature of use is 10°C.
- Room cubature for one device – min. 70 m3.
- Natural air exchange rate in room – min. 1/h.
- Do not use the device in humid and drafty spaces.
- Do not cover top ventilation openings of the device.
- No heat-sensitive and flammable objects can be placed within a 1 meter radius from and directly above the device.
- Do not place any objects on the top of the device.
- We recommend placing a CO2 or dry powder fire extinguisher nearby the device
- For service purposes, the surrounding must allow for easy removal of the device.
- Keep children, animals and unauthorized persons away from the device.
- Keep the packaging and manuals for future use.
- Do not turn on the device in case of fuel spill.
- Do not interfere in the fuel filler when the device is operating.
- Do not interfere in the device construction.
- Do not touch the filament and other hot elements.
- Do not transport the device if fueled.
- Do not leave an operating device unattended.
ASSEMBLY
NON-FLAMMABLE MATERIAL


The fireplace housing must be made of non-flammable materials and insulated from any flammable elements of the construction. Use only fasteners and adhesives that are resistant to high temperature.
The space under the device must be closed.

Selected installation options
GLASS SHIELD (B)

NON-FLAMMABLE MATERIAL



TV



- Filament
- Burner
- Device surface
- Control panel
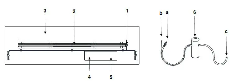
- Fuel filler
- Fuel pump (a, b, c)

- ECO mode
- Flame ignition/flame extinguishing
- Service socket
- Control diodes

FUEL FILLING
- If the tank is empty (
) or you want to fill the fuel, open the fuel inlet (I), firmly connect the pump hose ‘a’ (click!) and power cable ‘b’ (II) (
). ATTENTION! Do not refuel when the flame is ignited!
- Place the fuel container stably on the floor and insert the pump hose ‘c’ (III). Press and hold the button on the pump to start refuelling (IV).

Once the fuel container has been emptied, replace it with a full one and start the pump again (see point 2).
The pump will stop when the tank is full (sound +
). - Disconnect the power cable ‘b’. To disconnect the pump, hold the end of the hose ‘a’ and firmly press the button in the place marked with a sticker (V). Close the fuel inlet..
- Shake the remaining fuel from the hose ‘c’ to the container and place the pump in the bag (VI).

FLAME IGNITION
The green diode
indicates that the device is ready to ignite the flame.
Press and hold START for 3 seconds. Flame ignition will take 2-10 minutes (
). The smell of ethanol vapours can be present during the ignition. The diode READY off (
) indicates that the flame has been ignited and the device reached the working temperature.
FLAME HEIGHT REGULATION
When the flame is ignited, press ECO to lower the flame (two sound signals). Press ECO again to increase the flame height (one sound signal).
ATTENTION! In case the device temperature is too high, the flame will be automatically lowered (ECO) and the height regulation blocked. If the temperature keeps increasing, the device will be turned off.
FLAME EXTINGUISHING
Press STOP to extinguish the flame (sound signal +
).
You can ignite the flame again when the device is cooled – the green diode READY (
).
FAST START
The FAST START offers faster flame ignition (when the device is ready (
), the power consumption is 60 W higher).
The function is enabled by default.
To disable FAST START, press and hold ECO for 10 seconds (four sound signals). To enable the function, press and hold ECO for 10 seconds (two sound signals).
ERRORS
Some alarms are accompanied by a sound signal. Press START/STOP to mute.

FUEL – Use only ethanol fuel produced from plants in the process of two-time alcohol distillation consisting of 95-96.6% ethanol by volume. Fanola is the recommended fuel with pharmacological purity.
DO NOT USE SYNTHETIC PETROLEUM BASED FUELS AS THEY ARE CONTAMINATED, EMIT UNPLEASANT ODORS AND CAN
DAMAGE THE FIREPLACE! DO NOT USE FUELS CONTAINING 100% ETHANOL BY VOLUME, GEL, OR AROMATIC FUELS!
CLEANING – Clean with a damp cloth and delicate detergents, only when the device is turned off and cooled.
SERVICE – Keep the provided USB cable for service. Reach out to us at [email protected].
Copyright Planika Sp. z o.o.
www.planikafires.com
I1462#09 26.05.2022






















