Forma 1000 Single-Sided Fireplace inserts
Instruction Manual
FORMA
Installation manual
Forma 1000 Single-Sided Fireplace inserts


| Burner | Min. m3 | kW | |
| Forma 1000 Single Sided |
790 FLA3/FLA3+ |
44 m3 |
4,4 |
| Forma 1000 Left Corner / Right Corner | |||
| Forma 1000 Three-sided | |||
| Forma 1000 See Through | |||
| Forma 1000 Room Divider | |||
| Forma 1000 Island | |||
| Forma 1200 Single Sided |
990 FLA3/FLA3+ |
70 m3 |
70 |
| Forma 1200 Left Corner / Right Corner | |||
| Forma 1200 Three-sided | |||
| Forma 1200 See Through | |||
| Forma 1200 Room Divider | |||
| Forma 1200 Island | |||
| Forma 1500 Single Sided |
1190 FLA3/FLA3+ |
94 m3 |
9,4 |
| Forma 1500 Left Corner / Right Corner | |||
| Forma 1500 Three-sided | |||
| Forma 1500 See Through | |||
| Forma 1500 Room Divider | |||
| Forma 1500 Island | |||
| Forma 1800 Single Sided |
1490 FLA3/FLA3+ |
130 m3 |
13 |
| Forma 1800 Left Corner / Right Corner | |||
| Forma 1800 Three-sided | |||
| Forma 1800 See Through | |||
| Forma 1800 Room Divider | |||
| Forma 1800 Island | |||
| Forma 2300 Single Sided |
1990 FLA3/FLA3+ |
180 m3 |
18 |
| Forma 2300 Left Corner / Right Corner | |||
| Forma 2300 Three-sided | |||
| Forma 2300 See Through | |||
| Forma 2300 Room Divider | |||
| Forma 2300 Island | |||
| Forma 2700 Single Sided | 2490 FLA3/FLA3+ | 225 m3 | 22,5 |
| Forma 2700 Left Corner / Right Corner | |||
| Forma 2700 Three-sided | |||
| Forma 2700 See Through | |||
| Forma 2700 Room Divider | |||
| Forma 2700 Island |

| 1. | Flange extension panel long |
| 2. | Flange extension panel short |
| 3. | Forma Casing |
| 4. | Stability brackets |
| 5. | Windscreen |
| 6. | Deflector |
| 7. | Installation manual |
| 8. | Bag with screws |
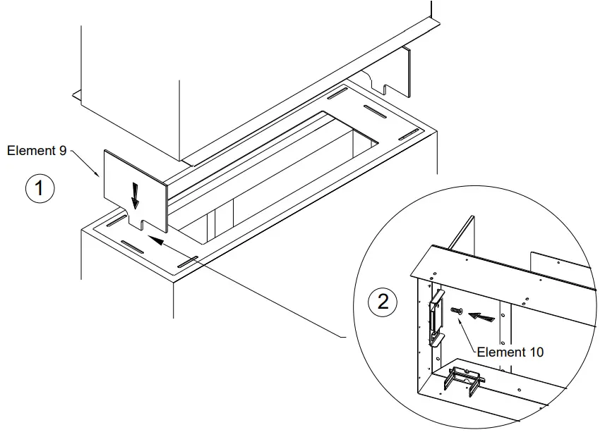
| 9. | Side glass |
| 10. | Side glass screw |

| 11. | Glass shield |
| 12. | Glass holder connector |
| 13. | Small glass holder |
| 14. | Burner |
| 15. | Remote control |
| 16. | Fuel pump |
| 17. | Service cable |
| 18. | Installation and user’s manual |
| 19. | Bag for fuel pump |
Single Sided
Construction frame has to be made as self-load. Forma casing cannot be put under the load of the housing weight. 
| W | W1 min | W2 max | D | D1 max | H | H1 min | |
| mm | mm | mm | mm | mm | mm | mm | |
| Forma 1000 Single Sided | 1120 | 820 | 150 |
450 |
50 |
710 |
240 |
| Forma 1200 Single Sided | 1320 | 1020 | 150 | ||||
| Forma 1500 Single Sided | 1630 | 1230 | 200 | ||||
| Forma 1800 Single Sided | 1930 | 1530 | 200 | ||||
| Forma 2300 Single Sided | 2440 | 2040 | 200 | ||||
| Forma 2700 Single Sided | 2800 | 2500 | 150 |


Make sure to cover the VISIBLE EDGE of the cladding material
Selected installation options


Left/Right Corner
Construction frame has to be made as self-load. Forma casing cannot be put under the load of the housing weight. 
| Appliance | W | W1 min | W2 max | D | D1 max | H | H1 min |
| mm | mm | mm | mm | mm | mm | mm | |
| Forma 1000 Left/Right Corner | 1120 | 820 | 150 | 450 | 50 | 710 | 240 |
| Forma 1200 Left/Right Corner | 1320 | 1020 | 150 | ||||
| Forma 1500 Left/Right Corner | 1630 | 1230 | 200 | ||||
| Forma 1800 Left/Right Corner | 1930 | 1530 | 200 | ||||
| Forma 2300 Left/Right Corner | 2440 | 2040 | 200 | ||||
| Forma 2700 Left/Right Corner | 2800 | 2500 | 150 |


Make sure to cover the VISIBLE EDGE of the cladding material


Three-sided
Construction frame has to be made as self-load. Forma casing cannot be put under the load of the housing weight.
| Appliance | W | W1 min | W2 max | D | D1 max | H | H1 min |
| mm | mm | mm | mm | mm | mm | mm | |
| Forma 1000 Three-sided | 1098 | 820 | 150 | 450 | 50 | 710 | 240 |
| Forma 1200 Three-sided | 1301 | 1020 | 150 | ||||
| Forma 1500 Three-sided | 1606 | 1230 | 200 | ||||
| Forma 1800 Three-sided | 1911 | 1530 | 200 | ||||
| Forma 2300 Three-sided | 2419 | 2040 | 200 | ||||
| Forma 2700 Three-sided | 2774 | 2500 | 150 |


Make sure to cover the VISIBLE EDGE of the cladding material


See Through
Construction frame has to be made as self-load. Forma casing cannot be put under the load of the housing weight. 
| Appliance | W | W1 min | W2 max | D | D1 max | H | H1 min |
| mm | mm | mm | mm | mm | mm | mm | |
| Forma 1000 See Through | 1120 | 820 | 150 | 406 | 50 | 710 | 240 |
| Forma 1200 See Through | 1320 | 1020 | 150 | ||||
| Forma 1500 See Through | 1630 | 1230 | 200 | ||||
| Forma 1800 See Through | 1930 | 1530 | 200 | ||||
| Forma 2300 See Through | 2440 | 2040 | 200 | ||||
| Forma 2700 See Through | 2800 | 2500 | 150 |


Make sure to cover the VISIBLE EDGE of the cladding material


Install the WINDSCREEN in pre made holes located on casing. Do not install technical shield.
Room Divider
Construction frame has to be made as self-load. Forma casing cannot be put under the load of the housing weight. 
| Appliance | W | W1 min | W2 max | D | D1 max | H | H1 min |
| mm | mm | mm | mm | mm | mm | mm | |
| Forma 1000 Room Divider | 1120 | 820 | 150 | 406 | 50 | 710 | 240 |
| Forma 1200 Room Divider | 1320 | 1020 | 150 | ||||
| Forma 1500 Room Divider | 1630 | 1230 | 200 | ||||
| Forma 1800 Room Divider | 1930 | 1530 | 200 | ||||
| Forma 2300 Room Divider | 2440 | 2040 | 200 | ||||
| Forma 2700 Room Divider | 2800 | 2500 | 150 |


Make sure to cover the VISIBLE EDGE of the cladding material
Place the short glass in the corresponding slot, then tighten the pressure plate inside the casing to secure it in place.
Install the WINDSCREEN in pre made holes located on casing. Do not install technical shield.
Island
EN Construction frame has to be made as self-load. Forma casing cannot be put under the load of the housing weight. 
| Appliance | W | W1 min | W2 max | D | D1 max | H | H1 min |
| mm | mm | mm | mm | mm | mm | mm | |
| Forma 1000 Island | 1098 | 820 | 150 | 406 | 50 | 710 | 240 |
| Forma 1200 Island | 1301 | 1020 | 150 | ||||
| Forma 1500 Island | 1606 | 1230 | 200 | ||||
| Forma 1800 Island | 1911 | 1530 | 200 | ||||
| Forma 2300 Island | 2419 | 2040 | 200 | ||||
| Forma 2700 Island | 2774 | 2500 | 150 |


Make sure to cover the VISIBLE EDGE of the cladding material

Place the short glass in the corresponding slot, then tighten the pressure plate inside the casing to secure it in place.

Install the WINDSCREEN in pre made holes located on casing. Do not install technical shield.
TV Installation
Copyright Planika Sp. z o.o.
www.planika.com
I1459#10
28.06.2022

















