
Wireless Remote Control
User Manual
Thank you for purchasing an AODELAN product.
AODELAN RMT-P1BTA is a Remote Control that is compatible with the Bluetooth® function. You can perform remote operations such as shooting a still image, shooting a video, focusing and zooming and etc. by connecting the RMT-P1BTA Remote Control and a camera.
Please read this user manual as well as the user manual provided with your camera which works with RMT-P1 BTA before use.
For your safety
Before using your product, please read the following safety precautions carefully to ensure correct and safe use
- When using this unit in an aircraft or a hospital, follow the instructions from the airline company or the hospital to avoid possible interference with instruments or medical devices caused by radio waves from this unit.
- Do not disassemble or attempt to repair it.
- Do not use the product in the presence of flammable or explosive gas.
- The product is not waterproof. Please keep away from rain, snow and high humidity conditions.
- Do not expose the product to high temperature over 45 t (e.g. left in a car trunk)
- Do not clean the product with an organic solvent or alcohol-based liquid.
- A thorough explanation of how to use the product by an adult is required when the product is used by children. Supervise children while they are using the product.
- Consult local authorities on the proper disposal or recycling of a battery.
Declaration of Conformity USA
Product name: Wireless Remote Control
Trade name: AODELAN
Model number: RMT-P1BTA
FCC ID: 2AEJW-P1BTA
Manufacturer: Shenzhen Aodelan Technology Co., Ltd.
FCC Statement
This equipment has been tested and found to comply with the limits for a Class B digital device, pursuant to part 15 of the FCC Rules. These limits are designed to provide reasonable protection against harmful interference in a residential installation. This equipment generates, uses and can radiate radio frequency energy and, if not installed and used in accordance with the instructions, may cause harmful interference to radio communications. However, there is no guarantee that interference will not occur in a particular installation. If this equipment does cause harmful interference to radio or television reception, which can be determined by turning the equipment off and on, the user is encouraged to try to correct the interference by one or more of the following measures:
- Reorient or relocate the receiving antenna.
- Increase the separation between the equipment and receiver.
- Connect the equipment into an outlet on a circuit different from that to which the receiver is connected.
- Consult the dealer or an experienced radio/TV technician for help.
Caution: Any changes or modifications to this device not explicitly approved by the manufacturer could void your authority to operate this equipment.
This device complies with part 15 of the FCC Rules. Operation is subject to the following two conditions: (1) This device may not cause harmful interference, and (2) this device must accept any interference received, including interference that may cause undesired operation.
RF Exposure Information
The device has been evaluated to meet general RF exposure requirements. The device can be used in portable exposure conditions without restriction.
RED 2014/53/EU
Declaration of Conformity EC
Hereby, Shenzhen Aodelan Technology Co., Ltd. declares that this product is in compliance with essential requirements and other relevant provisions of Directive 2014/53/EU. This product can be used across EU member states. A copy of the Declaration of conformity can be found at www.aodelan.net.
Parts and Functions of the Remote Control

(Figure 1)
- Indicator Indicates the camera’s operational state in accordance with the Remote Control operation.
- Focus/Zoom button Adjusts the camera focus or zooms in/out the camera. Slide the Remote Control’s ZOOM/FOCUS switch [7] to the position suitable for your purpose.
- The shutter-release button Shoots a still image with the camera. When the camera is set to B shutter (BULB) exposure, press the button to start the exposure, and press it again to end the exposure.
- REC (record) button Starts recording a video with the camera.
- AF-ON button Activates the function assigned to the AF-ON button on the camera, the same as the AF-ON button on the camera.
- C1 button Activates the function assigned to the C1 button on the camera, the same as the C1 button on the camera.
- ZOOM/FOCUS switch Determines the function of the Focus/Zoom button [2]. FOCUS: Adjust the camera focus, you can fine-tune the focus. ZOOM: Adjust the camera zoom, and support electronic power zoom and digital zoom.
- Strap holder
- Lock switch Disables all the buttons on the Remote Control in order to prevent unintentional operations.
- Battery cover
Installing the Battery
- Place a coin, or similar object, into the groove of the battery cover on the back of the Remote Control, and then turn the battery cover to “OPEN”. (Figure 2-a)
- Remove the battery cover and insert the supplied lithium coin cell battery. (Figure 2-b)
• Insert the battery so that the + terminal is facing upward. ( + on the battery chamber indicates the direction of the battery.) - Turn the battery cover until you reach “CLOSE”.

Connecting the Remote Control and a camera with the Bluetooth® function
- Before connecting the Remote Control and a camera with the Bluetooth® function, you must pair them together (device registration).
- The following is an example of a procedure for Sony® Interchangeable Lens Digital Cameras and Sony® digital still cameras.
- Before you start, check that the Remote Control’s LOCK switch [9] is in the position the opposite of “LOCK”.
- On the camera, select MENU
(network) – [Bluetooth Settings] [Bluetooth Function] —> [On]. - On the camera, select MENU
(network) —> [Bluetooth Rmt Ctrl] —> [On].
If the pairing screen appears on the camera’s screen, proceed to step 4. - On the camera, select MENU
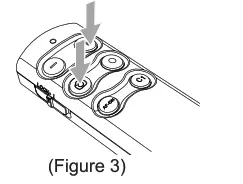
(network) – [Bluetooth Settings] —> [Pairing]. - On the Remote Control, press and hold the Shutter-release button [3] and the + side of the Focus/Zoom button [2] at the same time for at least 7 seconds. (Figure 3)

- When a confirmation message appears on the camera’s screen, select [OK].
•
appears and pairing begins.
• When pairing is complete, [Paired.] appears.
Precautions for Use
- If pairing fails, the Remote Control indicator flashes rapidly. If this happens, redo the procedure from the beginning.
- In the following situations, pair the Remote Control and the camera again.
– When using the Remote Control to operate a different camera (After having connected the Remote Control with a different camera, you also must pair the Remote Control and the original camera again when connecting to the original camera.)
– When the camera’s network settings have been reset - If the Remote Control is not used for a period of time during a Bluetooth connection,
no Bluetooth connection) may appear on the camera’s screen.
Preventing unintentional operations
You can disable all the buttons on the Remote Control in order to prevent unintentional operations while you carry it around.
- Slide the LOCK switch [9] to the “LOCK” position. (Figure 4)(Figure 4)

- To enable the buttons, slide the LOCK switch [9] to the position opposite of “LOCK.”
Shooting a still image
- Press the Shutter-release button [3]. (Figure 5)
• Press the button halfway down to focus, and then press it all the way down to shoot.
• When the camera comes into focus by the auto focus function, the Remote Control’s indicator turns on.
• When shooting succeeds, the indicator turns on.

Shooting a video
- Press the REC (record) button [4]. (Figure 6)
• Video recording starts. To stop recording, press the REC (record) button [4] again.
• When recording starts, the Remote Control’s indicator turns on. When recording stops, the indicator turns off.
Adjusting the camera focus
- Slide the ZOOM/FOCUS switch to the “FOCUS” position. (Figure 7-a)
- Press the Focus/Zoom button [2] (+/-) to adjust the camera focus. (Figure 7-b)
Precautions for Use
- To adjust the camera focus, you must place the camera in manual focus mode.
Zooming the camera
- Slide the ZOOM/FOCUS switch [7] to the “ZOOM” position. (Figure 8-a)
- Press the Focus/Zoom button [2] (+/-) to zoom in/out the camera. (Figure 8-b)
Precautions for Use
- The zoom speed varies depending on the camera or lens.
- The zoom function works with a camera or lens featuring a built-in electronic power zoom. If the digital zoom function of the camera is turned on, digital zooming will be performed.
Indicator activities
The Remote Control’s indicator lights/flashes in accordance with the Remote Control operation or the operation or state of the camera as described below:
| Lights | • when the camera comes into focus by the auto focus function • when you shoot a still image by pressing the Shutter-release button [3] • when you start recording by pressing the REC (record) button [4] • while video recording is in progress • when pairing succeeds • when the camera receives focus/zoom (+/-) signals from the Remote Control |
| Flashes | • while pairing is in progress • while the self-timer is in operation |
| Flashes rapidly | • when the camera fails to receive operation signals from the Remote Control • when pairing fails |
Activating the camera’s Cl or AF-ON function
- By pressing the Remote Control’s C1 or AF-ON button, you can activate the function assigned to the camera’s C1 or AF-ON button.
- For details about the camera’s C1 or AF-ON button, refer to the operating instructions supplied with your camera.
Specifications
Operating distance: Approx. 10m / 32.8 ft.
Power: 3V CR2032 lithium coin cell battery
Operating environment Temperature: 0°C — 40°C (32°F — 104°F)
Humidity: 85% or less (no condensation)
Dimensions (W x H x D): Approx. 32x100x14mm (1.3×3.9×0.6in.)
Weight: Approx. 28 g (1.0 oz) (without the battery)
Accessory: Strap x 1
Specifications and design are subject to change without notice. Sony® and Bluetooth® mentioned in the manual are protected trademarks that do not belong to Shenzhen Aodelan Technology Co., Ltd.
Troubleshooting
| Having this problem | Possible causes and solutions |
| The Remote Control fails to work. | • The Remote Control’s buttons are disabled. Slide the Remote Control’s LOCK switch to the position to the opposite of “LOCK.” •Pairing with the camera may be lost. Pair the Remote Control and the camera again. • The Remote Control’s battery is out of power. Replace the battery with a new one. |
| The Remote Control fails to adjust the camera focus | •The camera is not placed in manual focus mode. On the camera, select MENU —1(Camera Settings1) —* [Focus Mode] — |
| The Remote Control fails to zoom in/out the camera while video recording is in progress | •The ZOOM/FOCUS switch is in the “FOCUS” position. Slide the ZOOM/FOCUS switch to the “ZOOM” position. •The camera or lens doesn’t support electronic power zoom and the digital zoom function of the camera is not turned on. On the camera, select MENU — |



















