
X-POWER WIRELESS REMOTE OPERATION MANUAL
X-POWER wireless remote is a wireless control system. The control system is used to control power in and power out of the X-POWER winch.
A. Press the START button for 3 seconds to start the remote, then the remote can control the winch operation.
◆ Remote range up to 66 feet.
◆ Power indicator shows the status of Start and work.
WARNING: This remote is specially designed for an X-POWER winch. The remote should not be used on hoists or winches for industrial applications, including commercial car haulers/carriers, wreckers, cranes, etc.
Technical Parameter:
- Power: Vehicle power supply 12V for the receiver, two 12V23A dry batteries for the transmitter.
- Transmission frequency: 315MHz.
- Ambient temperature: -20ºC ~ + 80ºC.
- Waterproof: IP67.
- Remote control distance: 66 feet.
- Encoding: Learning code.
- Adaptive voltage: 12V.
- Transmitter: The transmitter turns off automatically without using it for three minutes.
Part List:
- Remote wireless transmitter: 1 PC.
- Remote receiver: 1 PC.
Installation and Connection instruction:
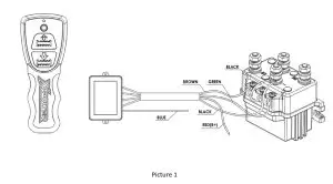
The remote connection with a relay. Please connect the wire as below connection drawing (Picture 1).

Function Instruction:

- Power Indicator: It shows START status and working signal (Blue indicator is solid on when START and flash when the remote works).
- START button: Press the button for three seconds to start the remote.
- OUT button for power out.
- IN button for power in.
Operation Instruction:
Connect the winch with vehicle power supply per winch manual.
Wireless remote status: Press the START button. When the power indicator is solid in blue, you can operate the winch by the remote normally.
Remote Encoding:
Turn on the remote transmitter. Press IN/OUT button together (Power indicator flash slowly), and the remote connects to winch power. Keep 3 seconds, till the relay has a snap sound. Then encoding is completed.
Troubleshooting:
- During operation, the power indicator flash but the winch doesn’t work:
(A) The signal is too weak. Change to wired control to operate the winch.
(B) The wire is not connected well. Check if the wire connection is loose. - The power indicator is off during operation. Restart the remote. If it still doesn’t work, then change the battery.
Comments:
- When changing the battery, both batteries need to be changed.
- No, expose the transmitter outdoors for a long time.
Federal Communications Commission (FCC) Interference Statement
This equipment has been tested and found to comply with the limits for a Class B digital device, pursuant to part 15 of the FCC Rules. These limits are designed to provide reasonable protection against harmful interference in a residential installation. This equipment generates, uses and can radiate radio frequency energy and, if not installed and used in accordance with the instructions, may cause harmful interference to radio communications. However, there is no guarantee that interference will not occur in a particular installation. If this equipment does cause harmful interference to radio or television reception, which can be determined by turning the equipment off and on, the user is encouraged to try to correct the interference by one or more of the following measures:
- Reorient or relocate the receiving antenna.
- Increase the separation between the equipment and receiver.
- Connect the equipment into an outlet on a circuit different from that to which the receiver is connected.
- Consult the dealer or an experienced radio/ TV technician for help.
This device complies with part 15 of the FCC Rules. Operation is subject to the following two conditions:
- This device may not cause harmful interference.
- This device must accept any interference received, including interference that may cause undesired operation. Any changes or modifications not expressly approved by the party responsible for compliance could void the user’s authority to operate the equipment.
This equipment complies with FCC RF radiation exposure limits set forth for an uncontrolled environment. This device and its antenna must not be co-located or operating in conjunction with any other antenna or transmitter.

















