


USER GUIDE
KARTER 5 DRAWER FILING CABINET
ELKAR5DFCWA, ELKAR5DFCBA & ELKAR5DFCGA
COMPONENTS


ASSEMBLY
Step 1:
Repeat twice to assemble all three larger drawers.
Step 2:
Repeat once to assemble both of the smaller drawers.
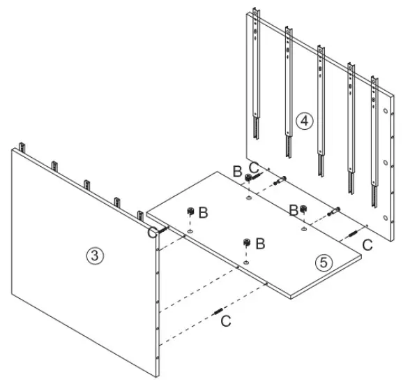
Step 3:
Step 4:
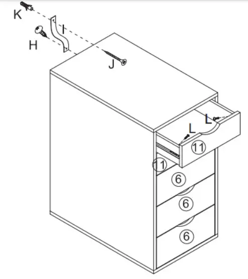
Step 5:
Step 6:
WARNING:
Serious or fatal crushing injuries can occur from furniture tipping over. To prevent possible overbalancing:
- Use the wall attachment device provided.
- Never allow children to climb or hang on drawers, doors, or shelves.
- Place the heaviest items in the lower drawers or shelves.
- Unless specifically designed to accommodate, do not set TVs or other heavy objects on top of this product.
- Never open more than one drawer at a time.
Note: Take care when drilling the wall that you do not drill into any pipes, wires etc. If in doubt, consult an expert.
Need more information?
We hope that this user guide has given you the assistance needed for a simple set-up. For the most up-to-date guide for your product, as well as any additional assistance you may require, head online to help.kogan.com


















