Breville LCH208 Smart Heat Control Smart Heat Control Max

BREVILLE RECOMMENDS SAFETY FIRST
At Breville we are very safety conscious. We design and manufacture consumer products with the safety of you, our valued customer, foremost in mind. In addition, we ask that you exercise a degree of care and adhere to the following precautions
IMPORTANT SAFEGUARDS
READ ALL INSTRUCTIONS BEFORE USE AND SAVE FOR FUTURE REFERENCE
- Carefully read all instructions before operating the panel heater for the first time and save for future reference.
- Always ensure the panel heater is properly assembled before use. Follow the instructions provided in this instruction book.
- Remove and safely discard any packaging material and promotional labels before using the panel heater for the first time.
- To eliminate a choking hazard for young children, remove and safely discard the protective cover fitted to the power plug of this panel heater (where applicable).
- Avoid touching the panel heater body while it is operating as some parts of the will be hot. Switch off and let the panel heater cool down before attempting to move.
- When moving the panel heater if not using the castor wheels, always carry by the base. If using the castor wheels, ensure the wheels are unlocked, then guide the panel heater into position.
- Never attempt to move the panel heater by pulling by the power cord.
- Do not move the panel heater while it is switched on.
- Extreme caution and supervision are necessary when this panel heater is
in use by or near children, invalids or animals. - Children should be supervised to ensure that they do not play with the panel heater.
- Do not use this panel heater in the immediate surroundings of a bath, a shower or a swimming pool.
- Do not immerse or allow liquids to be spilt on the panel heater.
- Do not drape material over the panel heater such as to dry laundry.
- This panel heater has hot and arcing or sparking
parts inside. Do not use in areas where petrol, paints, aerosols or other flammable substances are in use or stored. - Do not allow materials that have been in contact with oil, petroleum-based products or drying fluids to come in contact with the panel heater.
- Do not operate the panel heater on an incline plane.
- Only use the panel heater on a horizontal and stable surface or fixed to the wall following the directions provided.
- To prevent a possible fire or heat damage, do not operate the panel heater remotely using the Breville Home Connect™ app when the panel heater is unattended.
- Do not leave the panel heater unattended. Always switch the panel heater off on the control panel and the main power switch at the back of the heater, then switch off at the power outlet and remove the plug from the power outlet when not in use.
- Do not operate the panel heater with a damaged cord or plug, or if the panel heater has been dropped or damaged in any manner. Return the panel heater to your nearest Breville service centre for examination, electrical or mechanical adjustment or repair.
- Do not operate the panel heater if the power cord is damaged, frayed or split, wound around any part of the panel heater, or is in contact with heated surfaces of the heater.
- Do not run the power cord under carpeting or cover the cord with rugs, runners or the like. Arrange the cord away from traffic areas and where it will not be accidentally tripped over.
- Do not locate the panel heater immediately below a power outlet.
- Do not use this panel heater with a programmer, timer or any other device that switches the panel heater on automatically since a fire risk may exist if the panel heater is covered or positioned incorrectly.
- This panel heater is not intended for use in outdoor areas, or directly in wet or moist locations.
- Do not insert or allow foreign objects to pass through the air inlet or outlet of the panel heater. This may cause an electric shock, fire or damage.
- To prevent a possible fire or heat damage, allow ample space around the panel heater:
- For floor use: at least 1.0 metre at the front, 1.0 metre at the top and 0.5metres at the rear side and both of the sides.
- For wall mounted use: at least 1.0 metre at the front, 0.6 metre at the top and 0.25 metres on both of the sides and from the base of the panel heater to the floor.
- Do not totally or partially block the air inlet or outlets in any manner. Check the openings from time to time for accumulated dust. Ensure long shag carpet does not obstruct airflow under the unit.
- Keep combustible materials such as drapes and other furnishings at least 1.7 metres from the front, sides and rear of the panel heater.
- Do not touch hot metal surfaces when in operation or for some time after, as these surfaces may be hot.
- Always switch the panel heater off on the control panel and the main power switch at the back of the heater, then switch off at the power outlet and remove the plug from the power outlet before cleaning or storing.
- Do not operate the panel heater on a sink or drain board.
- To avoid an electrical overload, it is recommended that no other appliances are plugged into the same circuit as your panel heater when it is in use.
- Do not use outdoors. This panel heater is not intended for commercial use such as construction sites.
- Use this panel heater only as described in this instruction manual. Any other use
not recommended by the manufacturer may cause fire, electric shock or injury and void all warranties. - Regularly inspect the power cord, plug, control settings, air inlets and outlets and main housing for any damage. If found damaged in any way, immediately cease use of the panel heater and return to Breville or an authorized service agent for inspection or repair.
- Do not unplug the panel heater by pulling on the power cord. Always unplug using the power plug.
- Keep the panel heater clean. Follow the cleaning instructions provided in this book.
IMPORTANT SAFEGUARDS FOR ALL ELECTRICAL APPLIANCES
- Fully unwind the power cord before use.
- Connect only to a 230V or 240V power outlet.
- Do not let the power cord hang over the edge of a bench or table, touch hot surfaces or become knotted.
- To protect against electric shock, do not immerse the power cord, power plug
or appliance in water or
any other liquid or allow moisture to come in contact with the part, unless it is recommended in the cleaning instructions. - The appliance is not intended for use by persons (including children) with reduced physical, sensory or mental capabilities, or lack of experience and knowledge, unless they have been given supervision or instruction concerning use of the appliance by a person responsible for their safety.
- Children should be supervised to ensure that they do not play with the appliance.
- It is recommended to regularly inspect the appliance. To avoid a hazard, do not use the appliance if power cord, power plug or appliance becomes damaged in any way. Return the entire appliance to the nearest authorized Breville service centre for examination and /or repair.
- Any maintenance other than cleaning should be performed at an authorised Breville Service Centre
- This appliance is for household use only. Do
not use this appliance for anything other than its intended use. Do not use in moving vehicles or boats. Do not use outdoors. Misuse may cause injury. - The installation of a residual current device (safety switch) is recommended to provide additional safety protection when using electrical appliances. It is advisable that a safety switch with a rated residual operating current not exceeding 30mA be installed in the electrical circuit supplying the appliance. See your electrician for professional advice.
- During electrical storms, the appliance should be disconnected from the power source at the wall socked
to prevent any electrical surges that may arise during the storm and which may inadvertently cause damage to the appliance and its electronic componentry. - Always turn the appliance to the OFF position, switch off at the power outlet and unplug at the power outlet when the appliance is not in use.
- Before cleaning, always turn the appliance to the OFF position, switch off at the power outlet, unplug at the power outlet and remove the power cord, if detachable, from the appliance and allow all parts to cool.
- Do not place this appliance on or near a heat source, such as hot plate, oven or heaters.
- Position the appliance at a minimum distance of 1m away from walls, curtains and other heat or steam sensitive materials and provide adequate space above and on all sides for air circulation.
WARNING
Do not use the panel heater in small rooms when they are occupied by persons not capable of leaving the room on their own unless constant supervision is provided.
WARNING
To reduce the risk of the fire, keep textiles, curtains, or any other flammable material a minimum distance of 1 metre from the air outlet.
WARNING
Do not use the remote control if the battery compartment does not close securely.
- Remove the button battery, and keep it away from children.
- The button battery shall be disposed of properly, including keeping them away from children, and
- Even used battery may cause injury.
FOR HOUSEHOLD USE ONLY SAVE THESE INSTRUCTIONS
Components

- A. Front panel
- B. Remote control with magnetic back
- C. Control panel
- D. Display screen
- E. Removable & lockable castor wheels
- F. Detachable feet
- G. Main Power Switch
Not pictured
- Wall mount bracket
- Wall mount plastic anchors & screws
- Power cord
Control Panel & Display Screen

CONTROL PANEL BUTTONS
- A. Power/Wi-Fi
- B. Mode (Toggle between heat settings)
- C. Timer (Up to 12 hours) / Child Lock
- D. Minus
- E. Plus
DISPLAY SCREEN FUNCTION ICONS - F. Mode (Illuminates for H1, H2 or H3 heat setting)
- G. Smart Eco Mode
- H. Wi-Fi
- I. LED Display
- J. Child Lock
- K. Degree Celsius
- L. Timer
Features
SAFETY FEATURES
THERMOSECURE™ Protection
Your panel heater is fitted with a safety device that automatically switches off the panel heater in the event of overheating. Should this panel heater stop working, turn the panel heater off and inspect the air inlet and outlet for blockages. Wait until the panel heater has fully cooled allowing the protection system to reset before attempting to restart. If the panel heater fails to operate or the safety device switches the panel heater off again, take the panel heater to an authorised Breville Service Centre for examination or repair.
SAFETY TIP-OVER CUT-OUT SWITCH
This panel heater come with a tip-over switch. If the panel heater is accidentally tipped over, it will stop operating. Once the panel heater is placed back into an upright position, it will return to standby. Press Power/Wi-Fi button once to commence operation. The panel heater operates from the last setting except the timer function. The timer resets to 0 hour setting.
Assembly
BEFORE FIRST USE
Before using your Breville panel heater for the first time, remove all packaging material and promotional labels.
ASSEMBLING YOUR BREVILLE PANEL HEATER
There are 2 ways your Breville panel heater can be assembled depending on preference. The panel heater can be mounted on the wall using the wall bracket included, or it can be situated on the floor using the included feet, with or without the lockable wheels. Ensure the panel heater is positioned away from obstructions, furniture and other appliances before operation.
WALL MOUNT
When selecting a location to wall mount the panel heater, choose a position that takes advantage of the maximum volume of air and the space is suitable for mounting, leaving enough space around the panel heater. Ensure your wall is capable of holding the weight of this panel heater. Use the wall bracket, 4 plastic anchors and 4 screws provided. When selecting a wall mounting location, make sure the base of the heater is mounted between 25cm and 35cm from the floor. The side of the panel heater is placed at least 25cm from the corner of the wall. The top of the panel heater is at least 60cm from the ceiling to ensure there is adequate air ventilation (see Fig. 1).

CAUTION
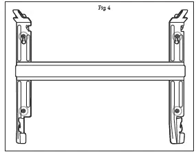
Before mounting the panel heater to the wall please ensure that all four attachment points are secured in either timber or concrete. Do NOT secure directly into plaster. Please contact a tradesman if you are unsure. Please see the Fig. 4 which illustrates the points of contact. Ensure that the panel heater is at least 25cm from the floor and corners of the wall.
NOTE
Before installing the panel heater, ensure the following:
- The panel heater is designed for indoor use only.
- Position the panel heater facing away from walls, furniture and other appliances.
- Do not fix the panel heater below a power outlet or power box.
- The power outlet can be easily reached by the plug and after installation.
- Keep away from curtains and/or other flammable items.
NOTE
- As a general safety guide, select a suitable location that is approximately 50cm from any furniture either side of the unit and 100cm from any furniture placed in front of the heater.
- The heater must be mounted horizontally.
- Visually inspect the air inlet and outlet to ensure no foreign material is blocking the outlets.
WARNING
Do not mount the panel heater below power outlets, curtains and/or other flammable items.
WARNING
Do not use this panel heater in the immediate surroundings of a bath, a shower or a swimming pool.
- The wall bracket comes preassembled to the panel heater and must be disassembled to mount.
- Pinch the tabs on the top of the two vertical bars and pull outwards (Fig. 2).

- Slide down the bottom of the vertical bars to remove the wall bracket (Fig. 3).

- Select a position on the wall to mount the panel heater and drill holes where required before securing the plastic anchors in the holes.
- Turn the wall bracket around so the prongs stick outwards. Using the 4 screw holes found on the back of the wall bracket (Fig. 4), screw the wall bracket to the wall, through the centre of the plastic anchors.

- Once the wall bracket is mounted firmly to the wall, secure the raised openings on the lower back of the panel heater to the two hooks located on the lower vertical bars of the wall mount bracket. Push the top half of the panel heater so the prongs on the top of the two vertical bars are locked to the holes located behind the panel heater (Fig. 5).

FLOOR STANDING
The panel heater comes with detachable feet and castor wheels which can be assembled or not, depending on preference. The castor wheels come with locking tabs to lock the wheels in place.
- If the castor wheels are not required, unscrew from the feet before assembling to the panel heater.
- To assemble the feet, carefully turn the panel heater upside down on a rug or soft surface in order to prevent damaging the paint finish. Align the hole found on the bottom of the panel heater with the hole on the centre of the feet (Fig. 6).

- Fit the screw and tighten to secure to the panel heater and repeat with the other foot.
- Return the panel heater back to the upright position.
WARNING
Do not use the panel heater without the feet attached if it is not mounted on the wall.
OPERATING YOUR BREVILLE PANEL HEATER
- Place the panel heater on a flat surface if using the feet with or without the castor wheels fitted.
- Insert the power plug into a 230V or 240V power outlet. Switch on the power outlet and press the main power switch to “I” position. The LED display will illuminate to display the current room temperature. The panel heater is now ready on standby.
- Touch the
button once on the control panel. The panel heater will automatically start in Smart Eco Mode with a default programmed temperature of 25°C when first turned on. The panel heater will operate on Smart ECO mode when the ambient room temperature falls below 25°C.
NOTE
To return to standby at any time during operation, touch the
button.
NOTE
The LED display will dim to a comfortable level after 15 seconds if no buttons on the control panel is touched. For ease in programming, the display will return to full illumination when any operating button on the control panel is touched.
WARNING
To avoid overheating or a fire, never cover the panel heater.
WARNING
Do not operate the panel heater if the panel heater has been damaged in any manner.
ROOM AMBIENT TEMPERATURE
Your Breville panel heater is fitted with a temperature sensor that detects the room temperature, which will be indicated on the LED display. The temperature on the LED display screen is only an indication of the room temperature and will vary depending on the location of the panel heater and the air ventilation condition in the room.
POWER INTERRUPTION PROTECTION
The panel heater is equipped with a power interruption protection feature. If a power interruption occurs while in operation, the panel heater will operate from the last setting except the timer function after commencing operation again. The timer will reset to 0 hour setting after resuming operation from a power interruption.
Functions
OPERATING MODES
This Breville panel heater has 4 operating modes: SMART ECO, LOW HEAT (H1), MEDIUM HEAT (H2) & HIGH HEAT (H3). The panel heater will default to Eco Mode when first used, thereafter starting in the last chosen mode before it was turned off. When operating, the display screen will show the current temperature. The
or is illuminated.
SMART ECO MODE![]()
Smart Eco Mode automatically adjusts the operating mode based on the room temperature aligned to both operating efficiency and comfort. Smart Eco Mode is the default operating mode when the panel heater is first used.
- When on Smart Eco mode
will illuminate. - The default temperature setting is 25°C
- unless manually selected
HEAT MODES H1, H2, H3
To manually select a heat setting, press to choose a heat setting between Low ( H1 on display screen), Medium ( H2 on the display screen) and High ( H3 on the display screen). During operation, the built-in temperature sensor will turn the heating element on and off at the chosen heat setting to maintain the set temperature
PROGRAMMABLE TEMPERATURE CONTROL
The temperature on this panel heater can be set between 5 – 35°C on any operating mode.
- Select the operating mode, then press the – or + button to set the temperature between 5 – 35°C with 1°C decrement or increment.
- The °C will flash 3 times and then remain solid on the display screen. The selected temperature is set
NOTE
When using the panel heater for the first time, the panel heater may emit a smell or give off smoke. This is normal due to the protective substances on the heating element. It is advisable to let the panel heater run for at least 20 minutes on the High heat H3 setting and then ventilate the room. There is no need for concern and the smell or smoke will dissipate with use.
TIMER
The panel heater comes with a 12 hour TIMER that can be set in 1 hour interval. The panel heater will turn off the heating operation after the set number of hours have elapsed and then return to standby. The TIMER can be set on any operating mode.
- To set the timer, press the
once, then press – & + button repeatedly until the desired number of hours is displayed on the LED display and the
symbol will flash 3 times and illuminate. - The panel heater will operate on the selected mode and automatically turn off once the time has elapsed.
- The LED display will indicate the operating mode setting once the timer begins. To check the pre-set time left on the LED display, press the
once. - To cancel the time at any time, press the or button until 0 hour is selected on the LED display screen. The symbol
does not illuminate.
NOTE
- To run the panel heater continuously, do not set the timer or set the timer to 0 hour.
- All operating modes can be adjusted at any time after the timer is set.
- The panel heater will stop operating and return to standby once the set time has elapsed.
CHILD LOCK
When the CHILD LOCK is engaged, the buttons on the control panel are locked from use.
- To turn on, touch and hold the button for about 3 seconds until a beep sounds and the illuminates on the LED display panel.
- To cancel, repeat step 1 until the child lock icon no longer illuminates on the LED display panel.
REMOTE CONTROL
The panel heater comes with a remote control. This remote control features 6-button control with similar function as the control panel on the panel heater. There are timer button and child lock button on the remote control.
WARNING
Do not place the remote control on the hot metal panels of the heater when the heater is operating. The remote control has a magnetic back. To avoid misplacing your remote control, place the remote control on the panel area indicated below after the panel heater has completely cooled down or when storing.
- The remote control includes 1 x CR2032 3V Lithium battery. This Lithium battery is protected by an isolating slip. Before first using the remote control, remove the battery isolating slip by pulling the slip outwards away from the remote control.

- To check and/or to replace the battery, open up the battery compartment at the back of the remote control by forming a good grip of the remote control, pushing the small arched groove to the right and simultaneously pushing out the battery

NOTE
To use the remote control, it must be pointed at the control panel and must be used within five metres of the unit.
WARNING
KEEP BATTERIES OUT OF REACH OF CHILDREN Swallowing may lead to serious injury in as little as 2 hours or death, due to chemical burns and potential perforation of the oesophagus. If you suspect your child has swallowed or inserted a button battery immediately call the 24-hour Poisons Information Centre on 13 11 26 for fast, expert advice. Examine devices and make sure the battery compartment is correctly secured, e.g. that the screw or other mechanical fastener is tightened. Do not use if compartment is not secure. Dispose of used button batteries immediately and safely. Flat batteries can still be dangerous. Tell others about the risk associated with button batteries and how to keep their children safe.
Wi-Fi Connectivity
IMPORTANT
Remote operation using the Breville Home Connect app is only recommended for any Breville heating appliance when someone is on the premises. For safety reasons, this device requires re-pairing to the app if power is disconnected from the appliance. This Breville Home connected product can be controlled both through Wi-Fi and Bluetooth. While Wi-Fi allows for connectivity and control remotely, Bluetooth allows for control within range of the product, even without Wi-Fi. The Breville Smart Heat Control™ Panel Heater can offer remote operation by using a home Wi- Fi connection and the Breville Home Connect™ app downloaded to a compatible mobile phone through the Google Play store or Apple App store. To go straight to the appropriate app store, scan the QR code below.

For instructions on how to use the app, scan the QR code below, refer to the Quick Start Guide that can be found in the box or go to tinyurl.com/HomeConnectQuickStart

NOTE
The Breville Home Connect™ app is compatible with mobile phones running Android® 5.0 or later and iOS devices 11 or later.
NOTE
To control the panel heater using the app, the panel heater must be plugged into an active power outlet.
CONNECT YOUR PANEL HEATER
Choose from the options available to allow for easy pairing and use. Bluetooth connection has also been activated for this appliance, which will aid in the pairing process, providing a higher success rate when pairing.
WARNING
Ensure your Breville heater has sufficient space around the unit before pairing the heater through the Breville Home Connect™ App. Always ensure the air outlet is free and not blocked before remote controlling the Breville heater.
NOTE
If the power supply to the appliance is interrupted, disconnected or the tip-over switch is activated, Wi-Fi pairing will also be disconnected, and re-pairing with the Breville Home Connect™ App is required. Follow the steps outlined below.
- Ensure the mobile device is connected to a home Wi-Fi network.
- The panel heater must be on standby. Once on standby, press and hold the Power/Wi-Fi button on the panel heater for about 3 seconds until the light above the
symbol will flash, The panel heater is now ready to connect. - Log into your Breville Home Connect™ app account and stay on the “Home” page. To add the panel heater to the list, touch ‘Add Device’ or the symbol found in the top right-hand corner of the screen. Follow the prompts in the app.

- If the connection is successful, the panel heater will appear in the main page of the app and the
symbol on the panel heater will illuminate. - If connection is unsuccessful, the
light will not illuminate. Press and, hold the
button for about 3 seconds until the
light is flashing. Follow the prompts in the app to connect in a different pairing mode.
BLUETOOTH Bluetooth connectivity is an added feature of the Breville Smart Heat Control™ Panel Heater. When the light above the
is flashing when attempting to connect, the Breville Home Connect™ app should quickly recognise the unit without having to complete extra prompts. Refer to the Quickstart Guide in the box or on Breville.com for specific details on how to connect through Bluetooth
NOTE
Breville will endeavour to keep the Breville Home Connect app updated as devices and software continue to evolve. However, unknown future updates to technology and software means we cannot guarantee that as models age, their Wi-Fi operation will continue to be supported.
Voice Assistants
The Breville Smart Heat Control™ Panel Heater comes with the added feature of voice assistance, allowing you to control your panel heater using your voice by linking your Breville Home Connect™ app with Amazon Alexa and Google Home/Assistant. To link your Breville Home Connect™ app account with either Google Home/Assistant or Amazon Alexa, refer to the instructions on www.Breville.com or follow instructions found in the Breville Home Connect™ app under Me > Third-Party Voice Services > View more ways to link.
IMPORTANT NOTE
The recommended voice commands to operate the appliance’s functions differ between Amazon Alexa and Google Home/Assistant as listed. Variations of these commands may also be recognised, however, if a command fails, check against the recommended voice command.
NOTE
To control the panel heater using the Amazon Alexa or Google Home/Assistant app, the panel heater must be plugged in to an active power outlet and turned on
VOICE CONTROL WITH AMAZON ALEXA
Before you can voice control your Breville Smart Heat Control™ Panel Heater with Amazon Alexa, you need to link the Breville Home Connect™ account to the Amazon Alexa app as per the instructions.
Amazon Alexa Recommended Voice Commands for the Breville Smart Heat Control™ Panel Heater

NOTE
Currently, Amazon Alexa does not support the following settings: Timer and Child Lock
VOICE CONTROL WITH GOOGLE HOME/ASSISTANT
Before you can voice control your Breville Smart Heat Control™ Panel Heater with Google Home/ Assistant, you need to link the Breville Home Connect™ account to the Google Home/Assistant app as per the instructions.
Google Home/Assistant Recommended Voice Commands for the Breville Smart Heat Control™ Panel Heater

NOTE
Currently, Google Home/Assistant does not support the following settings: Timer and Child Lock.
TIPS for Amazon Alexa and Google Home/Assistants
- Configure your Amazon Alexa or Google Home/Assistant compatible devices with the “Alexa” or“Google Home/Assistant” app if using, or simply download onto your phone.
- You will find your device listed as the Breville product name in your Breville Home Connect™ app account. Tap on the device in the app to rename your device for more convenient voice commands, e.g. “Panel Heater Living Room” or give it a name, e.g. “Kenny”.
- Training your voice assistant – Voice Match – Teach your assistant to recognise your voice. This isn’t training it to understand English, but rather to recognise your voice as belonging to you. You can do this by going to the Settings menu in the voice assistant app on your phone.
- Routines – Amazon Alexa and Google Home/Assistant allow you to combine multiple actions in one voice command, to create a Routine, tap on the ‘Routines’ option via settings and follow the steps.
- Ensure the primary language is set to English (United States) for all apps
Care, Cleaning & Storage
Always turn off and then unplug the panel heater from the power outlet before cleaning. Use only a clean, dry cloth to clean the external surfaces of the panel heater. If the panel heater has collected excessive dust or dirt inside the unit or around the elements, have the panel heater cleaned by a qualified service agent. Do not operate the panel heater in this condition. Do not attempt to open the housing of the panel heater at any time as there are no customer serviceable parts inside.
STORAGE
When not in use, pack the panel heater in its original box for optimal protection and store in a cool, clean and dry location.
HINTS & TIPS TO RETAIN HEAT
- Don’t overheat your home. The temperature of a heated room in winter should be 18–21°C.
- Your heater will work more efficiently if you stick to Breville’s recommended clearance spaces.
- Choose the right size heater for the room type you want to heat.
- Zone off unoccupied rooms by closing doors and only heat the main living areas. Fit window coverings like curtains to halve winter heat loss.
- Put draft stoppers, such as a rolled up towel, at the bottom of outside doorways to keep out cold air.
- Keep the heat in and the cold out by installing wall and ceiling insulation.
- Avoid placing items too close to the heater (both at the front and back) for optimal air flow.
Troubleshooting
TROUBLESHOOTING GUIDE
Before carrying out any of the following service checks, unplug the unit from the power outlet.

TROUBLESHOOTING GUIDE FOR AMAZON ALEXA AND GOOGLE HOME/ASSISTANT

Breville Customer Service Centre
Australian Customers
- Phone: 1300 139 798
- Web: www.breville.com
New Zealand Customers
- Phone: 0800 273 845
- Web: www.breville.com
Breville, the Breville logo, Master Every Moment, Heat Control and, Breville Home Connect are trademarks of Breville Pty. Ltd. Copyright Breville Pty. Ltd. 2022. App Store is a trademark of Apple Inc. Google Play and the Google Play logo are trademarks of Google LLC. All other brands may be trademarks of their respective owners. Breville’s products are distributed in New Zealand under license A.B.N. 98 000 092 928. Due to continued product improvement, the products illustrated/photographed in this booklet may vary slightly from the actual product.

























