

Hardware User Manual
QIO Series Network Audio I/O Expanders: QIO-ML4i, QIO-L4o, QIO-ML2x2
QIO Series Network Control I/O Expanders: QIO-GP8x8, QIO-S4, QIO-IR1x4

EXPLANATION OF TERMS AND SYMBOLS
The term “WARNING” indicates instructions regarding personal safety. Failure to follow them may result in bodily injury or death.
The term “CAUTION” indicates instructions regarding possible damage to physical equipment. Failure to follow them may result in equipment damage to equipment that may not be covered under the warranty.
The term “IMPORTANT” indicates instructions or information that are vital to the successful completion of the procedure.
The term “NOTE” indicates additional useful information.
The lightning flash with an arrowhead symbol in a triangle alerts the user to the presence of uninsulated dangerous voltage within the product’s enclosure that may constitute a risk of electric shock to humans.
The exclamation point within a triangle alerts the user to important safety, operating, and maintenance instructions in this manual.
IMPORTANT SAFETY INSTRUCTIONS
WARNING!: TO PREVENT FIRE OR ELECTRIC SHOCK, DO NOT EXPOSE THIS EQUIPMENT TO RAIN OR MOISTURE.
- Elevated Operating Ambient – If installed in a closed or multi-unit rack assembly, the ambient operating temperature of the rack environment may be greater than room ambient. Consideration should be given to ensure that the maximum operating temperature range (0°C to 50°C (32°F to 122°F ) is not exceeded. However, if installing a GP8x8 in a multi-unit rack assembly with units on all sides, the maximum operating temperature should not exceed 40°C when devices are placed above or below.
- Reduced Air Flow – Installation of the equipment in a rack should be such that the amount of air flow required for safe operation of the equipment is not compromised.
- Read these instructions.
- Keep these instructions.
- Heed all warnings.
- Follow all instructions.
- Do not use this apparatus near water.
- Do not submerge the apparatus in water or liquids.
- Do not use any aerosol spray, cleaner, disinfectant or fumigant on, near or into the apparatus.
- Clean only with a dry cloth.
- Do not block any ventilation opening. Install in accordance with the manufacturer’s instructions.
- Keep all ventilation openings free of dust or other matter.
- Do not install near any heat sources such as radiators, heat registers, stoves, or other apparatus (including amplifiers) that produce heat.
- Do not unplug the unit by pulling on the cord, use the plug.
- Only use attachments/accessories specified by the manufacturer.
- Unplug this apparatus during lightning storms or when unused for long periods of time.
- Refer all servicing to qualified service personnel. Servicing is required when the apparatus has been damaged in any way, such as liquid has been spilled or objects have fallen into the apparatus, the apparatus has been exposed to rain or moisture, does not operate normally, or has been dropped.
- Adhere to all applicable, local codes.
- Consult a licensed, professional engineer when any doubt or questions arise regarding a physical equipment installation.
Maintenance and Repair
WARNING: Advanced technology, e.g., the use of modern materials and powerful electronics, requires specially adapted maintenance and repair methods. To avoid a danger of subsequent damage to the apparatus, injuries to persons and/or the creation of additional safety hazards, all maintenance or repair work on the apparatus should be performed only by a QSC authorized service station or an authorized QSC International Distributor. QSC is not responsible for any injury, harm or related damages arising from any failure of the customer, owner or user of the apparatus to facilitate those repairs.
IMPORTANT! PoE Power Input – IEEE 802.3af Type 1 PSE required on LAN (POE) or 24 VDC power supply required.
FCC Statement
This equipment has been tested and found to comply with the limits for a Class A digital device, pursuant to Part 15 of the FCC Rules. These limits are designed to provide reasonable protection against harmful interference when the equipment is operated in a commercial environment. This equipment generates, uses, and can radiate radio frequency energy and, if not installed and used in accordance with the instruction manual, may cause harmful interference to radio communications. Operation of this equipment in a residential area is likely to cause harmful interference in which case the user will be required to correct the interference at his own expense.
Environmental
- Expected Product Life Cycle: 10 years
- Storage Temperature Range: -20°C to +70°C
- Relative Humidity: 5 to 85% RH, non-condensing
RoHS Statement
The Q-SYS QIO Endpoints are in compliance with European Directive 2015/863/EU – Restriction of Hazardous Substances (RoHS).
The Q-SYS QIO Endpoints are in compliance with “China RoHS” directives per GB/T24672. The following chart is provided for product use in China and its territories:
| QSC Q-SYS 010 Endpoints | ||||||
| (Part Name) | (Hazardous Substances) | |||||
| (Pb) | (Hg) | (Cd) | (Cr(vi)) | (PBB) | (PBDE) | |
| (PCB Assemblies) | X | 0 | 0 | 0 | 0 | 0 |
| (Chassis Assemblies) | X | 0 | 0 | 0 | 0 | 0 |
SJ/T 11364
O: GB/T 26572
X: GB/T 26572。
This table is prepared following the requirement of SJ/T 11364.
O: Indicates that the concentration of the substance in all homogeneous materials of the part is below the relevant threshold specified in GB/T 26572.
X: Indicates that the concentration of the substance in at least one of all homogeneous materials of the part is above the relevant threshold specified in GB/T 26572.
(Replacement and reduction of content cannot be achieved currently because of technical or economic reasons.)
What’s in the Box
| |
![]() | |
| QIO-ML2x2 |
Introduction
The Q-SYS QIO Series offers multiple products that can serve numerous audio and control purposes.
QIO-ML4i
The Q-SYS ML4i is a network audio endpoint native to the Q-SYS Ecosystem, serving as a mic/line input that enables network-based audio distribution. The compact form factor includes surface mounting hardware permitting discreet and strategic mounting while an optional rack kit fits one to four devices into a standard 1U nineteen-inch format. The four-channel granularity locates the right amount of analog audio connectivity in desired locations without bulk or waste. Up to four devices may be daisy-chained off one access switch port, provided 24 VDC power is available. Alternatively, each may be individually powered over Ethernet.
QIO-L4o
The Q-SYS L4o is a network audio endpoint native to the Q-SYS Ecosystem, serving as a line output that enables network-based audio distribution. The compact form factor includes surface mounting hardware permitting discreet and strategic mounting while an optional rack kit fits one to four devices into a standard 1U nineteen-inch format. The four-channel granularity locates the right amount of analog audio connectivity in desired locations without bulk or waste. Up to four devices may be daisy-chained off one access switch port, provided 24 VDC power is available. Alternatively, each may be individually powered over Ethernet.
QIO-ML2x2
The Q-SYS ML2x2 is a network audio endpoint native to the Q-SYS Ecosystem, serving as a mic/line input, line output device, that enables network-based audio distribution. The compact form factor includes surface mounting hardware permitting discreet and strategic mounting while an optional rack kit fits one to four devices into a standard 1U nineteen-inch format. The four-channel granularity locates the right amount of analog audio connectivity in desired locations without bulk or waste. Up to four devices may be daisy-chained off one access switch port, provided 24 VDC power is available. Alternatively, each may be individually powered over Ethernet.
QIO-GP8x8
The Q-SYS GP8x8 is a network control endpoint native to the Q-SYS Ecosystem, providing General Purpose Input/Output (GPIO) connections that allow the Q-SYS network to interface with miscellaneous outside devices, such as LED indicators, switches, relays, and potentiometers, and with custom or third-party controls. The compact form factor includes surface mounting hardware permitting discreet and strategic mounting while an optional rack kit fits one to four devices into a standard 1U nineteen-inch format. Up to four devices may be daisy-chained off one access switch port, provided 24 VDC power is available. Alternatively, each may be individually powered over Ethernet.
QIO-S4
The Q-SYS S4 is a network control endpoint native to the Q-SYS Ecosystem, serving as an IP-to-serial bridge that enables network-based control distribution. The compact form factor includes surface mounting hardware permitting discreet and strategic mounting while an optional rack kit fits one to four devices into a standard 1U nineteen-inch format. Up to four devices may be daisy-chained off one access switch port, provided +24 VDC power is available. Alternatively, each may be individually powered over Ethernet.
QIO-IR1x4
The Q-SYS IR1x4 is a network control endpoint native to the Q-SYS Ecosystem, serving as an IP-to-IR bridge that enables network-based infrared control distribution. The compact form factor includes surface mounting hardware permitting discreet and strategic mounting while an optional rack kit fits one to four devices into a standard 1U nineteen-inch format. Up to four devices may be daisy-chained off one access switch port, provided +24 VDC power is available. Alternatively, each may be individually powered over Ethernet.
Power Requirements
The Q-SYS QIO Series offers a flexible power solution that allows the integrator to choose to use either a 24 VDC power supply or an 802.3af Type 1 PoE PSE. With either power solution, you must follow the safety instructions for the specific power supply or injector chosen. For details on the 24 VDC or PoE power supply requirements, refer to the product specifications.
WARNING: To avoid the risk of electric shock, this equipment must only be connected to a supply main with protective earth when using class I power supply.
Power over Ethernet (PoE)
NOTE: A device cannot provide daisy-chained power to an external device with Power over Ethernet. An external 24 VDC supply is required for power daisy-chaining applications. A device can provide Ethernet daisy-chaining with either power source.
24VDC External Supply and Daisy-Chained Devices
NOTE: When using the FG-901527-xx accessory power supply, up to four (4) devices may be powered.
Specifications and Dimensions
Product specifications and dimension drawings for the QIO Endpoints can be found online at www.qsc.com.
Connections and Callouts
QIO-ML4i Front Panel
- Power LED – Illuminates blue when the Q-SYS QIO-ML4i is powered on.
- ID LED – LED blinks green when placed into ID Mode via ID Button or Q-SYS Configurator.
- ID Button – Locates the QIO-ML4i in Q-SYS Designer Software and Q-SYS Configurator.
QIO-ML4i Rear Panel

- External Power Input 24 VDC 2.5 A – Auxiliary power, 24 VDC, 2.5 A, 2-pin Euro connector.
- Daisy-Chain Power Output 24 VDC 2.5 A – Auxiliary power, 24 VDC, 2.5 A 2-pin Euro connector.
- LAN [PoE] – RJ-45 connector, 802.3af PoE Type 1 Class 3 power, Q-LAN.
- LAN [THRU] – RJ-45 connector, Ethernet daisy-chaining.
- Device Reset – Use a paperclip or similar tool to restore default network settings and recover factory default settings. Before attempting a reset, refer to the Q-SYS Help for details.
- Mic/Line Inputs – Four channels, balanced or unbalanced, phantom power – orange.
QIO-L4o Front Panel
- Power LED – Illuminates blue when the Q-SYS QIO-L4o is powered on.
- ID LED – LED blinks green when placed into ID Mode via ID Button or Q-SYS Configurator.
- ID Button – Locates the QIO-L4o in Q-SYS Designer Software and Q-SYS Configurator.
QIO-L4o Rear Panel
- External Power Input 24V DC 2.5 A – Auxiliary power, 24 VDC, 2.5 A, 2-pin Euro connector.
- Daisy-Chain Power Output 24V DC 2.5 A – Auxiliary power, 24 VDC, 2.5 A 2-pin Euro connector.
- LAN [PoE] – RJ-45 connector, 802.3af PoE Type 1 Class 2 power, Q-LAN.
- LAN [THRU] – RJ-45 connector, Ethernet daisy-chaining.
- Device Reset – Use a paperclip or similar tool to restore default network settings and recover factory default settings. Before attempting a reset, refer to the Q-SYS Help for details.
- Line Outputs – Four channels, balanced or unbalanced – green.
QIO-ML2x2 Front Panel 
- Power LED – Illuminates blue when the Q-SYS QIO-ML2x2 is powered on.
- ID LED – LED blinks green when placed into ID Mode via ID Button or Q-SYS Configurator.
- ID Button – Locates the QIO-ML2x2 in Q-SYS Designer Software and Q-SYS Configurator.
QIO-ML2x2 Rear Panel 
- External Power Input 24V DC 2.5 A – Auxiliary power, 24 VDC, 2.5 A, 2-pin Euro connector.
- Daisy-Chain Power Output 24V DC 2.5 A – Auxiliary power, 24 VDC, 2.5 A 2-pin Euro connector.
- LAN [PoE] – RJ-45 connector, 802.3af PoE Type 1 Class 3 power, Q-LAN.
- LAN [THRU] – RJ-45 connector, Ethernet daisy-chaining.
- Device Reset – Use a paperclip or similar tool to restore default network settings and recover factory default settings. Before attempting a reset, refer to the Q-SYS Help for details.
- Line Outputs – Two channels, balanced or unbalanced – green.
- Mic/Line Inputs – Two channels, balanced or unbalanced, phantom power – orange.
QIO-GP8x8 Front Panel
- Power LED – Illuminates blue when the Q-SYS QIO-GP8x8 is powered on.
- ID LED – LED blinks green when placed into ID Mode via ID Button or Q-SYS Configurator.
- ID Button – Locates the QIO-GP8x8 in Q-SYS Designer Software and Q-SYS Configurator.
QIO-GP8x8 Rear Panel
- External Power Input 24V DC 2.5 A – Auxiliary power, 24 VDC, 2.5 A, 2-pin Euro connector.
- Daisy-Chain Power Output 24V DC 2.5 A – Auxiliary power, 24 VDC, 2.5 A 2-pin Euro connector.
- LAN [PoE] – RJ-45 connector, 802.3af PoE Type 1 Class 3 power, Q-LAN.
- LAN [THRU] – RJ-45 connector, Ethernet daisy-chaining.
- Device Reset – Use a paperclip or similar tool to restore default network settings and recover factory default settings. Before attempting a reset, refer to the Q-SYS Help for details.
- 12V DC .1A Out – For use with General Purpose Inputs and Outputs (GPIO). Uses black connector pins 1 and 11 (not numbered).
- GPIO Inputs – 8 inputs, 0-24V analog input, digital input, or contact closure (Pins labeled 1–8 equal pins 1–8 in the Q-SYS Designer Software GPIO Input component). Configurable pull-up to +12V.
- Signal Ground – For use with GPIO. Uses black connector pins 10 and 20 (not numbered).
- GPIO Outputs – 8 outputs, open collector (24V, 0.2A sink maximum) with pull-up to +3.3V (Pins labeled 1–8 equal pins 1–8 in the Q-SYS Designer Software GPIO Output component).
QIO-S4 Front Panel
- Power LED – Illuminates blue when the Q-SYS QIO-S4 is powered on.
- ID LED – LED blinks green when placed into ID Mode via ID Button or Q-SYS Configurator.
- ID Button – Locates the QIO-S4 in Q-SYS Designer Software and Q-SYS Configurator.
QIO-S4 Rear Panel
- External Power Input 24V DC 2.5 A – Auxiliary power, 24 VDC, 2.5 A, 2-pin Euro connector.
- Daisy-Chain Power Output 24V DC 2.5 A – Auxiliary power, 24 VDC, 2.5 A 2-pin Euro connector.
- LAN [PoE] – RJ-45 connector, 802.3af PoE Type 1 Class 1 power, Q-LAN.
- LAN [THRU] – RJ-45 connector, Ethernet daisy-chaining.
- Device Reset – Use a paperclip or similar tool to restore default network settings and recover factory default settings. Before attempting a reset, refer to the Q-SYS Help for details.
- COM 1 Serial Port – Configurable in Q-SYS Designer Software for RS232, RS485 Half-Duplex TX, RS485 Half-Duplex RX, or RS485/422 Full Duplex. See “QIO-S4 Serial Port Pinouts” on page 14.
- COM 2, COM 3, COM 4 Serial Ports – Dedicated to RS232 communication. See “QIO-S4 Serial Port Pinouts” on page 14.
QIO-S4 Serial Port Pinouts
The QIO-S4 features four serial ports:
- COM 1 is configurable in Q-SYS Designer Software for RS232, RS485 Half Duplex TX, RS485 Half Duplex RX, or
RS485/422 Full Duplex. - COM 2-4 ports are dedicated to RS232 communication.
RS232 Pinout: COM 1 (Configurable), COM 2-4 (Dedicated)
| Pin | Signal Flow | Description |
![]() | N/A | Signal ground |
| TX | Output | Transmit data |
| RX | Input | Receive data |
| RTS | Output | Ready to Send’ |
| CTS | Input | Clear to Send’ |
- When using hardware flow control.
RS485 Half Duplex TX or RX Pinout: COM 1 (Configurable)
| Pin | Signal Flow | Description |
![]() | N/A | Signal ground |
| TX | Input/Output | Differential B- |
| RX | (Unused) | (Unused) |
| RTS | Input/Output | Differential A+ |
| CTS | (Unused) | (Unused) |
RS485/422 Full Duplex: COM 1 (Configurable)
| Pin | Signal Flow | Description |
![]() | N/A | Signal ground |
| TX | Output | Differential Z- / Tx- |
| RX | Input | Differential A+ / Rx+ |
| RTS | Output | Differential Y+ / Tx+ |
| CTS | Input | Differential B- / Rx- |
QIO-IR1x4 Front Panel

- Power LED – Illuminates blue when the Q-SYS QIO-IR1x4 is powered on.
- ID LED – LED blinks green when placed into ID Mode via ID Button or Q-SYS Configurator.
- ID Button – Locates the QIO-IR1x4 in Q-SYS Designer Software and Q-SYS Configurator.
QIO-IR1x4 Rear Panel
- External Power Input 24V DC 2.5 A – Auxiliary power, 24 VDC, 2.5 A, 2-pin Euro connector.
- Daisy-Chain Power Output 24V DC 2.5 A – Auxiliary power, 24 VDC, 2.5 A 2-pin Euro connector.
- LAN [PoE] – RJ-45 connector, 802.3af PoE Type 1 Class 1 power, Q-LAN.
- LAN [THRU] – RJ-45 connector, Ethernet daisy-chaining.
- Device Reset – Use a paperclip or similar tool to restore default network settings and recover factory default settings. Before attempting a reset, refer to the Q-SYS Help for details.
- IR SIG LEDS – Indicate transmit activity for CH/IR Output 1-4.
- IR Outputs – Configurable in Q-SYS Designer Software as IR or Serial RS232. See “QIO-IR1x4 IR Port Pinouts” on page 16.
- IR Input – Provides 3.3VDC and receives IR data. See “QIO-IR1x4 IR Port Pinouts” on page 16.
QIO-IR1x4 IR Port Pinouts
The QIO-IR1x4 features four IR outputs and one IR input:
- Outputs 1-4 are configurable in Q-SYS Designer Software for IR or Serial RS232 mode.
- Input provides 3.3VDC and receives IR data.
IR Output 1-4: IR Mode Pinout
| Pin | Signal Flow | Description |
| SIG | Output | IR transmit data |
![]() | N/A | Signal reference |
IR Output 1-4: Serial RS232 Mode Pinout
| Pin | Signal Flow | Description |
| SIG | Output | RS232 transmit data |
![]() | N/A | Signal reference |
IR Input Pinout
| Pin | Signal Flow | Description |
| SIG | Input | IR receive data |
| + | Output | 3.3VDC |
![]() | N/A | Signal reference |
Rack Mount Installation
Q-SYS QIO Endpoints are designed to be mounted in a standard rack-mount unit using the Q-SYS 1RU rack tray (FG-901528-00). The rack
tray accommodates up to four QIO Endpoint units of either product length.
Rack Tray Hardware 
Attach the Retaining Clips
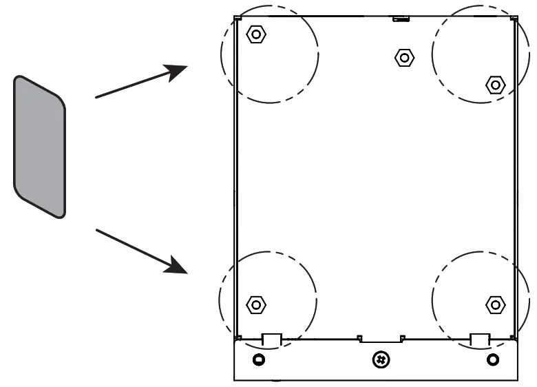
For each QIO Endpoint you are installing in the tray, insert and attach a retaining clip in either the short or long-length location using a flat head screw.
Attach the QIO Endpoints and Blanking Plates
Slide each QIO Endpoint into a retaining clip. Attach each unit with two flat head screws. Optionally attach the blanking plates, each with two flat head screws.
NOTE: Blanking plates are optional and can be used to facilitate proper rack airflow. Unused blanking plates can be attached at the rear of the tray if needed, as shown.
Surface Mount Installation
The QIO Endpoints can also be mounted under a table, on top of a table, or on a wall. For any of these mounting applications, use the surface mounting bracket and pan head screws included with the QIO Endpoint ship kit. The brackets are symmetrical to accommodate mounting right-side up to a ground-facing surface.
NOTE: Fasteners for attaching the bracket to a surface are pictured as an example but not provided.
Freestanding Installation
For freestanding installation on a table top, apply the four adhesive foam spacers to the underside of the unit.
QSC Self Help Portal
Read knowledge base articles and discussions, download software and firmware, view product documents and training videos, and create support cases.
https://qscprod.force.com/selfhelpportal/s/
Customer Support
Refer to the Contact Us page on the QSC website for Technical Support and Customer Care, including their phone numbers and hours of operation.
https://www.qsc.com/contact-us/
Warranty
For a copy of the QSC Limited Warranty, visit the QSC, LLC., website at www.qsc.com.
© 2022 QSC, LLC. All rights reserved. QSC and the QSC logo, Q-SYS, and the Q-SYS logo are registered trademarks of QSC, LLC in the U.S. Patent and
Trademark Office and other countries. Patents may apply or be pending. All other trademarks are the property of their respective owners.
www.qsc.com/patent

























