dahua ARM310-W2 Wireless Input Expander
Foreword
General
This manual introduces the functions and operations of the wireless input expander (hereinafter referred to as the “input expander”).
Safety Instructions
The following signal words might appear in the manual.
| Signal Words | Meaning |
| DANGER | Indicates a high potential hazard which, if not avoided, will result in death or serious injury. |
| WARNING | Indicates a medium or low potential hazard which, if not avoided, could result in slight or moderate injury. |
| CAUTION | Indicates a potential risk which, if not avoided, could result in property damage, data loss, reductions in performance, or unpredictable results. |
| TIPS | Provides methods to help you solve a problem or save time. |
| NOTE | Provides additional information as a supplement to the text.
|
Revision History
| Version | Revision Content | Release Time |
| V1.0.0 | First release. | October 2021 |
Privacy Protection Notice
As the device user or data controller, you might collect the personal data of others such as their face, fingerprints, and license plate number. You need to be in compliance with your local privacy protection laws and regulations to protect the legitimate rights and interests of other people by implementing measures which include but are not limited: Providing clear and visible identification to inform people of the existence of the surveillance area and provide required contact information.
About the Manual
- The manual is for reference only. Slight differences might be found between the manual and the product.
- We are not liable for losses incurred due to operating the product in ways that are not in compliance with the manual.
- The manual will be updated according to the latest laws and regulations of related jurisdictions. For detailed information, see the paper user’s manual, use our CD-ROM, scan the QR code or visit our official website. The manual is for reference only. Slight differences might be found between the electronic version and the paper version.
- All designs and software are subject to change without prior written notice. Product updates might result in some differences appearing between the actual product and the manual. Please contact customer service for the latest program and supplementary documentation.
- There might be errors in the print or deviations in the description of the functions, operations and technical data. If there is any doubt or dispute, we reserve the right of final explanation.
- Upgrade the reader software or try other mainstream reader software if the manual (in PDF format) cannot be opened.
- All trademarks, registered trademarks and company names in the manual are properties of their respective owners.
- Please visit our website, contact the supplier or customer service if any problems occur while using the device.
- If there is any uncertainty or controversy, we reserve the right of final explanation.
Important Safeguards and Warnings
This section introduces content covering the proper handling of the Device, hazard prevention, and prevention of property damage. Read carefully before using the Device, comply with the guidelines when using it, and keep the manual safe for future reference.
Operation Requirements
- Make sure that the power supply of the device works properly before use.
- Do not pull out the power cable of the device while it is powered on.
- Only use the device within the rated power range.
- Transport, use and store the device under allowed humidity and temperature conditions.
- Prevent liquids from splashing or dripping on the device. Make sure that there are no objects filled with liquid on top of the device to avoid liquids flowing into it.
- Do not disassemble the device.
Installation Requirements
warning
- Connect the device to the adapter before power on.
- Strictly abide by local electrical safety standards, and make sure that the voltage in the area is steady and conforms to the power requirements of the device.
- Do not connect the device to more than one power supply. Otherwise, the device might become damaged.
- Observe all safety procedures and wear required protective equipment provided for your use while working at heights.
- Do not expose the device to direct sunlight or heat sources.
- Do not install the device in humid, dusty or smoky places.
- Install the device in a well-ventilated place, and do not block the ventilator of the device.
- Use the power adapter or case power supply provided by the device manufacturer.
- The power supply must conform to the requirements of ES1 in IEC 62368-1 standard and be no higher than PS2. Note that the power supply requirements are subject to the device label.
- Connect class I electrical appliances to a power socket with protective earthing.
Introduction
Wireless input expander is a conversion device that connects to a detector through wired mode, and sends the message in wireless mode to the security system. It can be set up via the DMSS app for iOS and Android phones.
Checklist
Figure 2-1 Checklist
Table 2-1 Checklist
| No. | Item Name | Quantity | No. | Item Name | Quantity |
| 1 | Input expander | 1 | 4 | User’s manual | 1 |
| 2 | Double-sided adhesive tape | 1 | 5 | Legal and regulatory information | 1 |
| 3 | Cable | 1 | 6 | Screw package | 1 |
Design
Appearance
Figure 3-1 Appearance
Table 3-1 Structure
| No. | Name | Description |
|
1 |
Indicator | ● Flashes green quickly: Pairing mode. ● Solid green: Alarm event was triggered. ● Solid green for 2 seconds: Pairing successful. ● Slowly flashes green for 3 seconds: Pairing failed. |
| 2 | Peripheral port | Connect the peripheral with the alarm cable. |
| 3 | On/Off switch | Turn on or turn off the input expander. |
| 4 | Tamper switch | When the tamper switch is released, the tamper alarm will be triggered. |
| 5 | Lid | ● Normal status: Lid closed. ● Abnormal status: Lid open. |
Dimensions
Figure 3-2 Dimensions (mm [inch])
Connecting to the Hub
Before you connect it to the hub, install the DMSS app to your phone. This manual uses iOS as an example.
- Make sure the version of the DMSS app is 1.96 and later, and the hub is V1.001.0000000.4.R.211014 and later.
- Make sure that you have already created an account, and added the hub to DMSS.
- Make sure that the hub has a stable internet connection.
- Make sure that the hub is disarmed.
- Step 1
Go to the hub screen, and then tap to add the input expander. - Step 2
Tap to scan the QR code at the bottom of the input expander, and then tap Next. - Step 3
Tap Next after the input expander has been found. - Step 4
Follow the on-screen instructions and switch the input expander to on, and then tap Next. - Step 5
Wait for the pairing. - Step 6
Customize the name of the input expander, and select the area, and then tap Completed.
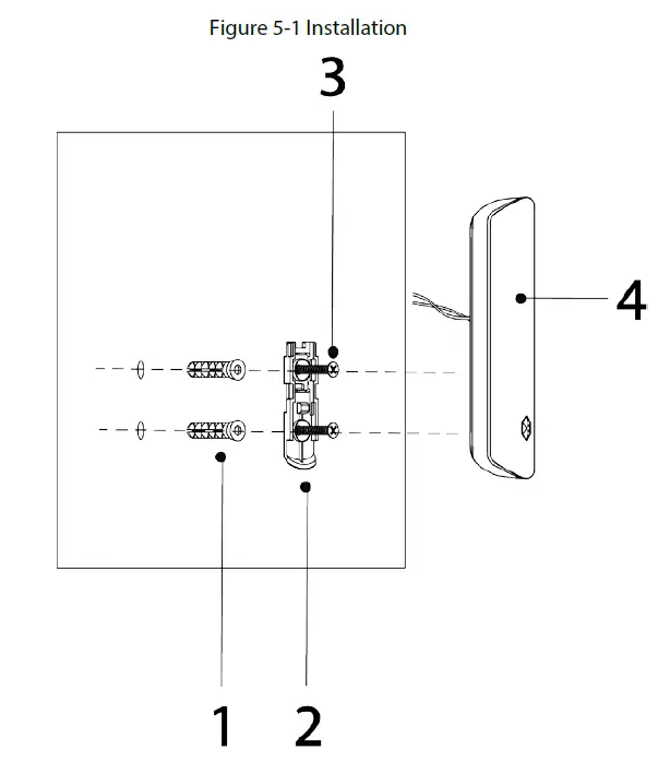
5 Installation
Prior to installation, connect the input expander to the hub and check the signal strength of the installation location. We recommend installing the input expander in a place with a signal strength of at least 2 bars.
We recommend using expansion screws when installing the input expander.
Make sure that you have inserted the provided cable into the input expander to connect it to the wired detector.
Figure 5-1 Installation
Table 5-1 Installation items
| No. | Item name | No. | Item name |
| 1 | Expansion bolt | 3 | ST3 × 18 mm self-tapping screw |
| 2 | Attachment panel | 4 | Input expander |
- Step 1
Drill 2 holes into the door according to the hole positions of the attachment panel. - Step 2
Put the expansion bolts into the holes. - Step 3
Align the screw holes on the plate with the expansion bolts. - Step 4
Secure the attachment panels with ST3 × 18 mm self-tapping screws. - Step 5
Put the input expander into the attachment panel.
Configuration
You can view and edit general information of the input expander.
Configuring the Input Expander
On the Hub screen, select the input expander as needed from the accessory list, and then tap to configure the parameters of the input expander.
Table 6-1 Parameter description
| Parameter | Description |
| Device Configuration | ● View device name, type, SN and device model. ● Edit device name, and then tap Save to save configuration. |
| Area | Select the area to which the input expander is assigned. |
|
Temporary Deactivate | ● Tap Enable, and then the function of the input expander will be enabled. Enable is set by default. ● Tap Only Disable Tamper Alarm, and then the system will only ignore tamper alarm messages. ● Tap Disable, and then the function of the input expander will be disabled. |
| 24 H Protection Zone | The accessory located in the 24 h protection zone is always active whether the security system is configured in the armed mode or not. |
| Home Mode | Enable the home mode, and then the selected accessories under the hub will be armed. |
|
Delay Mode under Home Mode | Enable the Delay Mode under Home Mode, the selected accessory under the hub will be armed and the alarm will not be triggered until the end of customized delay time.
Only enable Home Mode first can Delay Mode under Home Mode take effect. |
|
Delay Time | ● The system provides you with time to leave or enter the armed zone without alarm. ● Select from 0 s to 120 s.
The arming mode will be effective after the delay time. |
| Siren Linkage | When an alarm is triggered, the input expander will report the alarm events to the hub and alert with a siren. |
| Alarm-video Linkage | When an alarm is triggered, the input expander will report the alarm events to the hub and then associate with the video. |
| Video Channel | Select the video channel as needed. |
| Parameter | Description |
| External Detector Status | Select Normally Closed or Normally Open for the external detector. |
|
Alarm Type | Select an alarm type based on the external detector type, and then tap OK. ● Intrusion ● Fire Alarm ● Medical Help ● Panic Button ● Gas Alarm |
|
Alarm Input Type | Select an alarm input type for the external detector, and then tap OK. ● Detector. ● Tamper.
For example, if you select Tamper for the external detector, only tamper alarm messages will be sent to the alarm hub. |
|
LED Indicator | LED Indicator is enabled by default. For details on indicator behavior, see “3.1 Appearance”.
If LED Indicator is disabled, the LED indicator will remain off regardless of whether the input expander is functioning normally or not. |
| Signal Strength Detection | Test the current signal strength. |
| Detector Test | Detect whether the accessory works. |
| Transmit Power | ● Select from high, low, and automatic. ● The higher the transmission power, the farther the transmission and the higher power consumption. |
| Cloud Update | Update online. |
|
Delete | Delete the online accessory.
Go to the Hub screen, select the accessory from the list, and then swipe left to delete it. |
Status
On the Hub screen, select the input expander as needed from the accessory list to view the status of the input expander.
Table 6-2 Status
| Parameter | Value |
|
Temporary Deactivate | The status for whether the functions of the input expander are enabled or disabled. ● : Enable. ● : Only disable tamper alarm. ● : Disable. |
| Temperature | The temperature of the environment. |
|
Signal Strength | The signal strength between the hub and the input expander. ● : Low. ● : Weak. ● : Good. ● : Excellent. ● : No. |
|
Battery Level | The battery level of the detector. ● : Fully charged. ● : Sufficient. ● : Moderate. ● : Insufficient. ● : Low. |
| Anti-tampering Status | Anti-tampering status of the input expander. |
| Online Status | Online and offline status of the input expander. ● : Online. ● : Offline. |
| Entrance Delay Time | Entrance and exit delay time. |
| Exit Delay Time | |
| 24 H Protection Zone Status | Active status of the 24 h protection zone. ● : Enabled. ● : Disabled. |
| Relay Status | Yes or No. |
| Program Version | The program version of the input expander. |
dahua ARM310-W2 Wireless Input Expander

















