Danfoss 088U1100 Icon Expansion Module Cooling
![]()
OVERVIEW
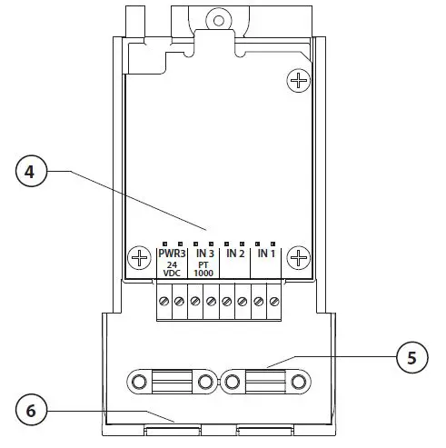
Perform wirring according to electrical diagram, then insert the Expansion Module into the Danfoss Icon™ Master Controller for extra features.
![]()
![]()
- Use this key to choose application. Press application key and then use
and
to choose application 1-11 and confirm with “OK”. See applications drawings to help you choose the correct application. - Use the key to set application specific settings. See in application description which settings are available for the chosen application.
- LED’s indicate the state of the inputs 1 to 3. See application description for the specific application.
- Terminals for connection of various wiring /external devices.
- Cable strain relief.
- Break away for wiring /cables.
APPLICATIONS
- Application 0001: 2-pipe system, fixed supply temperature, electronically controlled.
- Optional: Global standby
Application description
Floor heating system with electronic supply temperature control. The supply temperature is set to a fixed value. The system uses a PT1000 sensor to detect and control the supply temperature and is also used to ensure that the temperature does not exceed the max. allowed temperature. If connected, the system will control the circulation pump and the heat demand signal for e.g. a boiler or heat pump. The pump and heat demand signal will be on when minimum 1 circuit has a heat demand. Output 1 must be used for TWA on mixing shunt. The Global standby is a potential free input that can be used to remotely put the system in Global away mode e.g. via an external 3rd party GSM module. When global standby input is active, all rooms receive a 15 degree celcius setpoint
Settings
- “SET 1” = Set desired supply flow temperature [25-70°C]
- “SET 2” = Set desired safety cut-off temperature [30-75°C]
Note: temperature must be higher than flow temperature
![]()
Application test function
Enter the “Test” menu via the installer key. The Application test (APP test) is specific for each application. The test is split into steps to ensure that all components are installed correctly. Please follow the process
![]()
Test steps
Step 1:1 Go to mixing shunt control valve actuator, and verify that the valve opens fully (up to 3 minutes opening time can be expected). After 5 minutes, the mixing shunt valve actuator will close again. During the 5 minute test period, the display on the Master Controller will also show the measured supply flow temperature in the display.
Parts list
| Pos. 1 | 088U0093-96 | 1 pc. Danfoss FHM-Cx Mixing shunt |
| Pos. 2 | 088U05XX / 088U06XX / 088U07XX | 1 set Danfoss Manifold (types FHF or BasicPlus or SSM) |
| Pos. 3 | NC: 088H3110 / NO: 088H3111 | xx pcs. thermal actuator, 24 V TWA-A |
| Pos. 4 | 087B1165 | 1 pc. ESM-11 PT-1000 sensor |
| Pos. 5. | NC: 088H3110 / NC: 193B2148 | 1 pc. thermal actuator, 24 V (types TWA-A or ABN-FBH) |
- Application 0002: 2-pipe system with demand based supply temperature control.
- Optional: Global standby
Application description
Floor heating system with electronic supply temperature control. The demand based supply temperature is controlled depending on the heat demand from the rooms. The system uses a PT1000 sensor to detect the supply temperature and is also used to ensure that the temperature does not exceed the max. allowed temperature via a safety Tmax. If connected, the system will control the circulation pump and the heat demand signal for e.g. a boiler or heat pump. The pump and heat demand signal will be on when minimum 1 circuit has a heat demand. Output 1 must be used for TWA on mixing shunt. The Global standby is a potential free input that can be used to remotely put the system in Global away mode e.g. via an external 3rd party GSM module. When global standby input is active, all rooms receive a 15 degree celcius setpoint
Settings
- “SET 1” = Set desired min. supply flow temperature [25-65°C]
- “SET 2” = Set desired max. supply flow [30-70°C] Note: temperature cannot be set less than 5°C higher than min. supply flow temperature.
- “SET 3” = Set desired safety cut-off temperature [30-75°C] Note: temperature must be higher than flow temperature.
![]()
Application test function
Enter the “Test” menu via the installer key. The Application test (APP test) is specific for each application. The test is split into steps to ensure that all components are installed correctly. Please follow the process.
Test steps
Step 1:1 Go to mixing shunt control valve actuator, and verify that the valve opens fully (up to 3 minutes opening time can be expected). After 5 minutes, the mixing shunt valve actuator will close again. During the 5 minute test period, the display on the master controller will also show the measured supply flow temperature in the display
![]()
Parts list
| Pos. 1 | 088U0093-96 | 1 pc. Danfoss FHM-Cx Mixing shunt |
| Pos. 2 | 088U05XX / 088U06XX / 088U07XX | 1 set Danfoss Manifold (types FHF or BasicPlus or SSM) |
| Pos. 3 | NC: 088H3110 / NO: 088H3111 | xx pcs. thermal actuator, 24 V TWA-A |
| Pos. 4 | 087B1165 | 1 pc. ESM-11 PT-1000 sensor |
| Pos. 5. | NC: 088H3110 / NC: 193B2148 | 1 pc. thermal actuator, 24 V (types TWA-A or ABN-FBH) |
- Application 0003: 2-pipe system with automatic changeover for cooling based on supply temperature.
- Optional: Dewpoint sensor (recommended), Global standby, Circulation pump and heat demand signal.
Application description
Floor heating system with automatic changeover for cooling based on supply temperature input. The supply temperature is monitered using a PT1000 sensor. Based on the measurement, the system switches to heating or cooling. If connected, the system will control the circulation pump which will be turned on when minimum 1 room has a heat or cooling demand. The heat signal for e.g. a boiler or heat pump is only activated when the system is in heating mode and minimum 1 room has a heat demand. For cooling applications it is always recommended to have a dew point sensor installed in the system to prevent moisture damage to floor and installations in cases where the relative humidty exceeds dew point. The Global standby is a potential free input that can be used to remotely put the system in Global away mode e.g. via an external 3rd party GSM module. When global standby input is active, all rooms receive a 15 degree celcius setpoint
Settings
- “SET 1” = Set supply flow temperature for change-over to heating [25-55°C]
- “SET 2” = Set supply flow temperature for change-over to cooling [15-25°C]
Note: temperature cannot be set higher than 2°C lower than heating change-over temperature.
![]()
Settings on thermostat
Excluding rooms from cooling: To exclude a room from cooling – typically in bathrooms where cooling would be uncomfortable – go to thermostat and set menu
to
. See Thermostat Installation Guide for further information
Application test function
Enter the “Test” menu via the installer key. The Application test (APP test) is specific for each application. The test is split into steps to ensure that all components are installed correctly. Please follow the process.
![]()
Test steps
Step 1:1 During the 1 minute test period, the display on the master controller will show the measured supply flow temperature in the display.
Parts list
| Pos. 1 | 087B1165 | 1 pc. ESM-11 PT1000 sensor |
| Pos. 2 | 088U05XX / 088U06XX / 088U07XX | 1 set Danfoss Manifold (types FHF or BasicPlus or SSM) |
| Pos. 3 | NC: 088H3110 / NO: 088H3111 | xx pcs. thermal actuator, 24 V TWA-A |
| Pos. 4 | 088U0251 | 1 pc. dew point sensor, type CF-DS |
- Application 0004: 2 pipe system with heat pump controlled changeover to cooling.
- Optional: Dewpoint sensor (recommended), Circulation pump and heat demand signal.
Application description
Floor heating system with automatic changeover for cooling controlled by heat source e.g. heat pump. The heat pump provides the cooling signal to the Danfoss Icon™ Master, when the heat pump goes into cooling mode thus activating cooling mode. If connected, the system will control the circulation pump and it will be turned on when minimum 1 room has a heat or cooling demand. The heat signal for e.g. a boiler or heat pump is only activated when the system is in heating mode and minimum 1 room has a heat demand. For cooling applications it is always recommended to have a dew point sensor installed in the system to prevent moisture damage to floor and installations in cases where the relative humidty exceeds dew point.
Settings
No settings necessary
![]()
Settings on thermostat
- Excluding rooms from cooling: To exclude a room from cooling – typically in bathrooms where cooling would be uncomfortable – go to thermostat and set menu
to
. See Thermostat Installation Guide for further information. - Application test function Not relevant.
Parts list
| Pos. 1 | NA | 1 pc. heat pump |
| Pos. 2 | 088U05XX / 088U06XX / 088U07XX | 1 set Danfoss Manifold (types FHF or BasicPlus or SSM) |
| Pos. 3 | NC: 088H3110 / NO: 088H3111 | xx pcs. thermal actuator, 24 V TWA-A |
| Pos. 4 | 088U0251 | 1 pc. dew point sensor, type CF-DS |
- Application 0005: 2 pipe system with hybrid Air/water heat pump with integrated condensing boiler (example: Itho Cool Cube). Change over ordered from reference room thermostat.
- Optional: Dewpoint sensor (recommended) and Global standby
Application description
Floor heating system with cooling done via e.g. Coolcube used as heating and cooling source. The Icon™ system controls the heat and cooling demand by activating the corrosponding relay (PWR1 and potential free relay). For cooling applications it is always recommended to have a dew point sensor installed in the system to prevent moisture damage to floor and installations in cases where the relative humidty exceeds dew point. Four conditions must be true before cooling in a room is allowed:
- Reference room temperature must exceed the room setpoint + cooling hysterhesis.
- No room has called for heating within neutral time.
- The dew point sensor must not be active / no condensation risk present.
- The room thermostat must be enabled for cooling (default = enabled).
The Global standby is a potential free input that can be used to remotely put the system in Global away mode e.g. via an external 3rd party GSM module. When global standby input is active, all rooms receive a 15 degree celcius setpoint.
Settings
- “SET 1” = Set desired cooling hysterhesis for change-over [+2 to +4K]
- “SET 2” = Set neutral time that must pass without active heating or cooling, before change-over can be activated [3-6 Hrs.]
![]()
- Excluding rooms from cooling: To exclude a room from cooling – typically in bathrooms where cooling would be uncomfortable – go to thermostat and set menu
to
. See Thermostat Installation Guide for further information. - Choose reference room thermostat: To assign a thermostat as reference room thermostat, go to the desired reference room thermostat and in menu
set
to . - When selected the thermostat will control when the system goes from heating mode to cooling mode based on the actual temperature in the room.
- It is only possible to have one reference thermostat per system and if more than one thermostats are assigned as reference, the last assigned will overwrite the previous reference room thermostats and cause these to revert to normal function
Application test function
Enter the “Test” menu via the installer key. The Application test (APP test) is specific for each application. The test is split into steps to ensure that all components are installed correctly. Please follow the process.
![]()
Test steps
- Step 1:3 During the first minute of the test, the heat source is set to “heating mode” via “PWR1 output”. Check on heat source user interface that heating is active.
- Step 2:3 During the second minute of the test, the heat source is set to “cooling mode” via “Relay output”. Check on heat source user interface that cooling is active
- Step 3:3 During the third minute of the test, the heat source is set to “neutral mode”, neither heating nor cooling is active.
Parts list
| Pos. 1 | NA | 1 pc. e.g. Coolcube |
| Pos. 2 | 088U05XX / 088U06XX / 088U07XX | 1 set Danfoss Manifold (types FHF or BasicPlus or SSM) |
| Pos. 3 | NC: 088H3110 / NO: 088H3111 | xx pcs. thermal actuator, 24 V TWA-A |
| Pos. 4 | 088U0251 | 1 pc. dew point sensor, type CF-DS |
| Pos. 5. | NA | External relay (convert 230 V to potential free relay), not supplied by Danfoss |
- Application 0006: 3-pipe system with cooling control via motorized valve and common return, change over signal ordered by reference room thermostat.
- Optional: Dewpoint sensor (recommended), Global standby and heat demand signal relay
Application description
3 -pipe Floor heating system with cooling controlled via motorized valve and common return. The Icon™ system controls the heat and cooling demand by activating the corresponding relay (PWR1 and PWR2). For cooling applications it is always recommended to have a dew point sensor installed in the system to prevent moisture damage to floor and installations in cases where the relative humidty exceeds dew point. Four conditions must be true before cooling in a room is allowed:
- Reference room temperature must exceed the room setpoint + cooling hysterhesis.
- No room has called for heating within neutral time.
- The dew point sensor must not be active / no condensation risk present.
- The room thermostat must be enabled for cooling (default = enabled).
The Global standby is a potential free input that can be used to remotely put the system in Global away mode e.g. via an external 3rd party GSM module. When global standby input is active, all rooms receive a 15 degree celcius setpoint.
Settings
- “SET 1” = Set desired cooling hysterhesis for change-over [+2 to +4K]
- “SET 2” = Set neutral time that must pass without active heating or cooling, before change-over can be activated [3-6 Hrs.]
![]()
- Excluding rooms from cooling: To exclude a room from cooling – typically in bathrooms where cooling would be uncomfortable – go to thermostat and set menu
to
. See Thermostat Installation Guide for further information. - Choose reference room thermostat: To assign a thermostat as reference room thermostat, go to the desired reference room thermostat and in menu
set to
. When selected the thermostat will control when the system goes from heating mode to cooling mode based on the actual temperature in the room. It is only possible to have one reference thermostat per system and if more than one thermostats are assigned as reference, the last assigned will overwrite the previous reference room thermostats and cause these to revert to normal function.
Application test function
Enter the “Test” menu via the installer key. The Application test (APP test) is specific for each application. The test is split into steps to ensure that all components are installed correctly. Please follow the process
![]()
Test steps
- Step 1:2 During the first minute of the test, the AMZ 113 valve is set to “heating mode” via “PWR1 output going ON”. Check on valve/actuator that position is correct for “heating”.
- Step 2:2 During the second minute of the test, the AMZ 113 valve is set to “cooling mode” via “PWR1 output going OFF”. Check on valve/actuator that position is correct for “Cooling”.
Parts list
| Pos. 1 | DN15: 082G5511 DN20: 088G5512 | 1 pc. AMZ 113 (3 -way valve) |
| Pos. 2 | 088U05XX / 088U06XX / 088U07XX | 1 set Danfoss Manifold (types FHF or BasicPlus or SSM) |
| Pos. 3 | NC: 088H3110 / NO: 088H3111 | xx pcs. thermal actuator, 24 V TWA-A |
| Pos. 4 | 088U0251 | 1 pc. dew point sensor, type CF-DS |
- Application 0007: 3-pipe system with cooling control via thermal actuators and common return controlled by reference room thermostat.
- Optional: Dewpoint sensor (recommended), Global standby, pump relay and heat demand signal
Application description
3 -pipe Floor heating system with cooling controlled via thermal actuators and common return. The Icon™ system controls the heat and cooling demand by activating the corresponding outputs (M1 and M2). For cooling applications it is always recommended to have a dew point sensor installed in the system to prevent moisture damage to floor and installations in cases where the relative humidty exceeds dew point. Four conditions must be true before cooling in a room is allowed:
- Reference room temperature must exceed the room setpoint + cooling hysterhesis.
- No room has called for heating within neutral time.
- The dew point sensor must not be active / no condensation risk present.
- The room thermostat must be enabled for cooling (default = enabled).
The Global standby is a potential free input that can be used to remotely put the system in Global away mode e.g. via an external 3rd party GSM module. When global standby input is active, all rooms receive a 15 degree celcius setpoint.
Settings
- “SET 1” = Set desired cooling hysterhesis for change-over [+2 to +4K]
- “SET 2” = Set neutral time that must pass without active heating or cooling, before change-over can be activated [3-6 Hrs.]
![]()
- Excluding rooms from cooling: To exclude a room from cooling – typically in bathrooms where cooling would be uncomfortable – go to thermostat and set menu to . See Thermostat Installation Guide for further information.
- Choose reference room thermostat: To assign a thermostat as reference room thermostat, go to the desired reference room thermostat and in menu set to . When selected the thermostat will control when the system goes from heating mode to cooling mode based on the actual temperature in the room. It is only possible to have one reference thermostat per system and if more than one thermostats are assigned as reference, the last assigned will overwrite the previous reference room thermostats and cause these to revert to normal function.
Application test function
Enter the “Test” menu via the installer key. The Application test (APP test) is specific for each application. The test is split into steps to ensure that all components are installed correctly. Please follow the process
![]()
Test steps
- Step 1:3 During the first five minutes, the output 1 is set to “ON” = heating mode/hot flow side (up to 3 minutes opening time can be expected).
- Step 2:3 During next five minutes, the output 1 is set to “OFF”, and the outputs 3 & 4 are set to “ON” = cooling mode/cold flow side (up to 3 minutes opening time can be expected).
- Step 3:3 During last 5 minutes, all outputs 1 and 2 should close.
Parts list
| Pos. 1 | DN15: 013G3094 DN20: 013G3016 | 2 pcs. RA-C valve |
| Pos. 2 | 088U05XX / 088U06XX / 088U07XX | 1 set Danfoss Manifold (types FHF or BasicPlus or SSM) |
| Pos. 3 | NC: 088H3110 / NO: 088H3111 | xx pcs. thermal actuator, 24 V TWA-A |
| Pos. 4 | 088U0251 | 1pc. dew point sensor, type CF-DS |
| Pos. 5a & 5b | 088H3110 | 2 pcs. thermal actuator, 24 V TWA-A |
- Application 0008: 3-pipe system with cooling control via motorized actuators and common return controlled by reference room thermostat.
- Optional: Dewpoint sensor (recommended), Global standby, pump relay and heat demand signal
Application description
3 -pipe Floor heating system with cooling controlled via motorized actuators and common return. The Icon™ system controls the heat and cooling demand by activating the corrosponding outputs (PWR1 and potential free relay). For cooling applications it is always recommended to have a dew point sensor installed in the system to prevent moisture damage to floor and installations in cases where the relative humidty exceeds dew point. Four conditions must be true before cooling in a room is allowed:
- Reference room temperature must exceed the room setpoint + cooling hysterhesis.
- No room has called for heating within neutral time.
- The dew point sensor must not be active / no condensation risk present.
- The room thermostat must be enabled for cooling (default = enabled)
If no heating or cooling demand is present, the two shut-off valves will close (AMZ 112). The Global standby is a potential free input that can be used to remotely put the system in Global away mode e.g. via an external 3rd party GSM module. When global standby input is active, all rooms receive a 15 degree celcius setpoint
Settings
- “SET 1” = Set desired cooling hysterhesis for change-over [+2 to +4K]
- “SET 2” = Set neutral time that must pass without active heating or cooling, before change-over can be activated [3-6 Hrs.]
![]()
- Excluding rooms from cooling: To exclude a room from cooling – typically in bathrooms where cooling would be uncomfortable – go to thermostat and set menu
to
. See Thermostat Installation Guide for further information. - Choose reference room thermostat: To assign a thermostat as reference room thermostat, go to the desired reference room thermostat and in menu
set to
. When selected the thermostat will control when the system goes from heating mode to cooling mode based on the actual temperature in the room. It is only possible to have one reference thermostat per system and if more than one thermostats are assigned as reference, the last assigned will overwrite the previous reference room thermostats and cause these to revert to normal function.
Application test function
Enter the “Test” menu via the installer key. The Application test (APP test) is specific for each application. The test is split into steps to ensure that all components are installed correctly. Please follow the process
![]()
Test steps
- Step 1:3 During the first minute of the test, the AMZ 112 valve of the hot flow side is set to “heating mode” via “PWR1 output going ON”. Check on valve/actuator that position is correct for “heating”.
- Step 2:3 During the second minute of the test, the AMZ 112 valve on the cold flow side is set to “cooling mode” via “PWR1 output going OFF” and “Relay output” going ON. Check on valve/actuator that position is correct for “cooling”.
- Step 3:3 During last minute of the test, botm AMZ 112 valves are closed.
Parts list
| Pos. 1a & 1b | DN15: 082G5511 DN20: 082G5512 | 2 pcs. AMZ112 |
| Pos. 2 | 088U05XX / 088U06XX / 088U07XX | 1 set Danfoss Manifold (types FHF or BasicPlus or SSM) |
| Pos. 3 | NC: 088H3110 / NO: 088H3111 | xx pcs. thermal actuator, 24 V TWA-A |
| Pos. 4 | 088U0251 | 1 pc. dew point sensor, Type CF-DS |
- Application 0009: 4-pipe system with 6-port valve, automatic change over for cooling controlled by a reference room thermostat. (Require external 24 VAC PSU).
- Optional: Dewpoint sensor (recommended), shut-off function and Global standy
Application description
Floor heating system with automatic changeover for cooling via 6-way changeover valve controlled by a reference room thermostat. The system can be configured with optional shut off function via a Danfoss AMZ-112 2-way ball valve and Global standby. For cooling applications it is always recommended to have a dew point sensor installed in the system to prevent moisture damage to floor and installations in cases where the relative humidty exceeds dew point. Four conditions must be true before cooling in a room is allowed:
- Reference room temperature must exceed the room setpoint + cooling hysterhesis.
- No room has called for heating within neutral time.
- The dew point sensor must not be active / no condensation risk present.
- The room thermostat must be enabled for cooling (default = enabled).
If no heating or cooling demand is present, the shut-off valve will close. The Global standby is a potential free input that can be used to remotely put the system in Global away mode e.g. via an external 3rd party GSM module. When global standby input is active, all rooms receive a 15 degree celcius setpoint.
Settings
- “SET 1” = Set desired cooling hysterhesis for change-over [+2 to +4K]
- “SET 2” = Set neutral time that must pass without active heating or cooling, before change-over can be activated [3-6 Hrs.]
![]()
- Excluding rooms from cooling: To exclude a room from cooling – typically in bathrooms where cooling would be uncomfortable – go to thermostat and set menu
to
. See Thermostat Installation Guide for further information. - Choose reference room thermostat: To assign a thermostat as reference room thermostat, go to the desired reference room thermostat and in menu set to . When selected the thermostat will control when the system goes from heating mode to cooling mode based on the actual temperature in the room. It is only possible to have one reference thermostat per system and if more than one thermostats are assigned as reference, the last assigned will overwrite the previous reference room thermostats and cause these to revert to normal function.
Application test function
Enter the “Test” menu via the installer key. The Application test (APP test) is specific for each application. The test is split into steps to ensure that all components are installed correctly. Please follow the process
![]()
Test steps
- Step 1:3 During the first two minutes, the AMZ 112 valve goes to position “Flow” and the ChangeOver6 valve goes to position “Cooling” for 1 minute.
- Step 2:3 The ChangeOver6 valve now goes to position “Heating” for 1 minute.
- Step 3:3 The AMZ 112 valve goes to position “No Flow
Parts list
| Pos. 1 | DN 15: 003Z3150 / DN 20: 003Z31511 | 1 pc. Danfoss ChangeOver6 6-port valve |
| Pos. 2 | 003Z3155 | 1 pc. Danfoss ChangeOver6 actuator |
| Pos. 3 | DN15: 082G5501 / DN20: 082G55021 | 1 pc. AMZ 112 |
| Pos. 4 | 088U05XX / 088U06XX / 088U07XX | 1 pc. Danfoss manifold (types FHF or BasicPlus or SSM) |
| Pos. 5 | N/A | 1 pc. external power supply 230 V->24 VAC, not supplied by Danfoss. Minimum 5 VA output on 24 V side. |
| Pos. 6 | 088U0251 | 1 pc. dew point sensor, type CF-DS |
| Pos. 7 | NC: 088H3110 / NO: 088H3111 | xx pcs. thermal actuator, 24 V TWA-A |
- Application 0010: 4-pipe system with 2-way valves on supply pipes and automatic change over for cooling controlled by a reference room thermostat.
- Optional: Dewpoint sensor (recommended), circulation pump, heat demand signal and Global standby.
Application description
4-pipe system with 2-way valves on supply pipes and automatic change over for cooling controlled by reference room thermostat. The system activates cooling mode via 2-way valves with thermal actuators on supply and return side by activating the corresponding outputs (M1 – M4). Note: In this application outputs 1, 2, 3 & 4 on Danfoss Icon™ Master is used for the application and cannot be assigned to thermostats. For cooling applications it is always recommended to have a dew point sensor installed in the system to prevent moisture damage to floor and installations in cases where the relative humidty exceeds dew point. Four conditions must be true before cooling in a room is allowed:
- Reference room temperature must exceed the room setpoint + cooling hysterhesis.
- No room has called for heating within neutral time.
- The dew point sensor must not be active / no condensation risk present.
- The room thermostat must be enabled for cooling (default = enabled).
The Global standby is a potential free input that can be used to remotely put the system in Global away mode e.g. via an external 3rd party GSM module. When global standby input is active, all rooms receive a 15 degree celcius setpoint
Settings
- “SET 1” = Set desired cooling hysterhesis for change-over [+2 to +4K]
- “SET 2” = Set neutral time that must pass without active heating or cooling, before change-over can be activated [3-6 Hrs.]
![]()
- Excluding rooms from cooling: To exclude a room from cooling – typically in bathrooms where cooling would be uncomfortable – go to thermostat and set menu
to
. See Thermostat Installation Guide for further information. - Choose reference room thermostat: To assign a thermostat as reference room thermostat, go to the desired reference room thermostat and in menu
set
to . When selected the thermostat will control when the system goes from heating mode to cooling mode based on the actual temperature in the room. It is only possible to have one reference thermostat per system and if more than one thermostats are assigned as reference, the last assigned will overwrite the previous reference room thermostats and cause these to revert to normal function.
Application test function
Enter the “Test” menu via the installer key. The Application test (APP test) is specific for each application. The test is split into steps to ensure that all components are installed correctly. Please follow the process
![]()
Test steps
- Step 1:3 During the first five minutes, the outputs 1&2 are set to “ON” = heating mode/hot flow side (up to 3 minutes opening time can be expected).
- Step 2:3 During next five minutes, the outputs 1&2 are set to “OFF”, and the outputs 3 & 4 are set to “ON” = cooling mode/cold flow side (up to 3 minutes opening time can be expected).
- Step 3:3 During last 5 minutes, all outputs 1, 2, 3 and 4 should close
Parts list
| Pos. 1 | DN15: 013G3094 DN20: 013G3016 | 4 pcs. RA-C valve |
| Pos. 2 | 088U05XX / 088U06XX / 088U07XX | 1 pc. Danfoss manifold (types FHF or BasicPlus or SSM) |
| Pos. 3 | NC: 088H3110 / NO: 088H3111 | xx pcs. thermal actuator, 24 V TWA-A |
| Pos. 4 | 088U0251 | 1 pc. dew point sensor, type CF-DS |
| Pos. 5 | NC: 088H3110 | 2 pcs. thermal actuator, 24 V TWA-A |
| Pos. 6 | NC: 088H3110 | 2 pcs. thermal actuator, 24 V TWA-A |




















