CUT-65DS Air Plasma Cutter
User Manual

To help us serve you better, go towww.YesWelder.com
SAFETY
Precautions for installation
![]() | Beware of electric shock! •Install grounding device according to application standard. •Do not touch live parts with naked skin, wet gloves, or wet clothes. •Be sure you are insulated from the ground and workpiece. •Cover the cover plate of the machine before powering on to avoid an electric shock. •Confirm the safety of your working position. |
![]() | Beware of fire hazards! •Please install the machine on non-combustible materials to avoid a fire. •Make ensure there are no inflammable near the cutting position to avoid a fire. |
![]() | Beware of explosion! •Do not install the machine in an environment with explosive gas to avoid an explosion. |
Replacing the components can be dangerous.
- Only professionals can replace the components of the machine.
- Make sure there are no foreign bodies such as wire leads, screws, gaskets, and metal bars falling into the machine inside when replacing the components.
- Make sure the connecting wires inside the machine are correctly connected after replacing the PCBs, and then the machine can be run. Otherwise, there is a risk of damage to property.
Precautions for operation
![]() | Smoke may be harmful to your health! •Keep your head away from the smoke to avoid inhalation of waste gas in cutting. •Keep the working environment well ventilated with exhaust or ventilation equipment when cutting. |
![]() | Arc radiation may hurt your eyes and burn your skin! •Use a proper mask and wear protective clothing to protect your eyes and body. •Use a proper mask or curtain to protect onlookers from being injured. |
![]() | The magnetic field can make the cardiac pacemaker a bit wonky! •People with cardiac pacemakers should consult the doctor before carrying out cutting. •Stay away from the power source to reduce the effect of the magnetic field. |
![]() | Improper use and operation may result in a fire or an explosion! •Cutting spark may result in a fire, so please make ensure there are no inflammable near the cutting position and pay attention to fire safety. •Ensure there is a fire extinguisher nearby, and make sure someone has been trained to operate the fire extinguisher. •Do not weld closed containers. •Do not use this machine for pipe thawing. |
![]() | Hot workpieces can cause severe scald! •Do not touch hot workpiece with bare hands. •Cool the cutting torch for a while after continuously working. |
![]() | Excessive noise does great harm to people’s hearing! •Wear ear covers or other hearing protectors when cutting. •Give warning to onlookers that noise may be potentially hazardous to hearing. |
![]() | Moving parts may injure your body! •Please keep away from moving parts (like a fan). •Each door, panel, cover, baffle plate, protective device, or the like should be closed and located correctly. |
![]() | Seek professional support when trouble strikes! •When trouble strikes in installation and operation, please inspect according to related contents in this manual. •If you still cannot understand fully, or you still cannot solve the problem, please contact the dealer or the service center to obtain professional support. |
Precautions for discard
Pay attention to the following when discarding the cutting machine:
- Burning the electrolytic capacitors in the main circuit or on the PCBs may cause an explosion.
- Burning the plastic parts such as the front panel may produce poisonous gas.
- Dispose of it as industrial waste.
GENERAL DESCRIPTION
Model coding

Technical parameters
Table 1-1: General technical parameters
| CUT 65DS | ||||
| Rated input power supply | Single-phase AC220V 50Hz | Single-phase AC110V 50Hz | ||
| Rated input capacity(KVA) | 7.4 | 4.6 | ||
| Power factor | 0.7 | 0.7 | ||
| Rated output (NV) | 65/106 | 45/98 | ||
| Rated duty cycle(%) | 60 | 60 | ||
| No-load voltage(V) | 265 | 265 | ||
| Output current range (A) | 15-65 | |||
| Arc ignition mode | None HF | |||
| Post-flow time (S) | 20 | |||
| Gas pressure range (Mpa) | 0.5 | |||
| Insulation grade | F | |||
| Cooling mode | Air cooling | |||
| Enclosure ingress protection | IP21S | |||
| Efficiency (%) | 85 | |||
Size and weight
Table 1-2: Overall size and weight of the machine

Figure 1-2: Appearance and size of the machine (Unit: mm)
Composition and configuration of the cutting machine system
- Composition

Functions and characteristics of the cutting machine
This is a digital plasma cutting machine with perfect function, high performance, and advanced technology. CUT 65SD is an ultra-portable plasma cutting system suitable for a variety of application requirements. It can be used in handheld cutting and robot cutting as well. CUT 65DS can cut conductive metal, such as low carbon steel, stainless steel, and aluminum. The cutting thickness can reach up to 25 mm and perforating thickness can reach up to 16 mm.
The forward-looking design concept of this machine and the application of a large number of advanced and mature technologies can protect the user’s investment to the greatest extent.
* Advanced digital control mode
Plasma cutting machine CUT 65SD adopts international leading MCU intelligent digital control technology, and all its major parts are performed through software. It is a digital control plasma cutting machine, that improved a lot in its function and performance when compared with the traditional plasma cutting machine.
* Advanced inverter technology
With PWM technology and high power component IGBT, it inverts the DC voltage, which is rectified from 50Hz/60Hz input AC voltage, to 30K-100KHz AC high voltage. Then the voltage is dropped and rectified to output the high power DC power supply for cutting. The machine adopts switching power supply inverter technology, greatly reducing the volume and weight of the plasma cutter, and obviously enhancing the conversion efficiency. The switching frequency is beyond the audio range, which almost eliminates noise pollution.
* Good consistency and stable performance
Generally speaking, for a cutting machine with analog circuit control or with analog circuit & digital circuit control, the performance characteristics are decided by the parameters of various components. The cutting performance of the machines differs as a result of the inconsistent parameters of the components, so even for the cutting machines of the same brand, their parameters often differ from each other. In addition, the cutting performance of the machine may change to some extent, since the parameters of the components may vary according to the environment such as temperature and humidity, etc.
One of the characteristics of digital control is that it is not sensitive to the change of parameters; the performance of the cutting machine will not be affected by the change of the parameters of certain parts. Therefore, the consistency and stability of the digital control cutter are better than that of the traditional cutter.
* Powerful cutting performance
This machine is economic and practical since it can cut metals by adopting compressed air as the plasma gas source. The cutting speed has increased by 1.8 times when compared with oxyacetylene cutting. It can cut thick steel plates such as stainless steel, copper, cast iron, and aluminum conveniently and quickly. It is easy to ignite the arc by adopting HF arc ignition mode, and the post-flow function is available. With simple operation and high cutting speed, a smooth cutting surface can be obtained, and polishing is unnecessary.
System characteristics
- Duty cycle
Rated duty cycle refers to the percentage of the normal work time of the machine under-rated maximum current holding in the period when taking 10 minutes as a period. The rated duty cycle of this machine is 35%. Using the cutting machine continuously overrunning the rated load may lead to overheating of the machine, and frequently using the machine overrunning the rated load may accelerate the aging of the machine or even burn the machine.
- Output characteristics

INSTALLATION AND CONNECTION
Installation requirements
- Connection of input cable
In order to ensure personal safety and avoid electric shock, please send the product power plug the grounding and wiring box grounding device, reliable giounding protection.
A primary power supply cable is available for this cutting machine. Connect the power supply cable to the rated input power. The primary cable should be tightly connected to the correct socket to avoid oxidization. Check whether the voltage value varies in an acceptable range with a multi-meter.
The cross-section of the leads used in the switching box should meet the requirements of the maximum input capacity of the machine.
CUT 65D8 should be located close to the corresponding power socket.
Line disconnecting switch
Install a line disconnecting switch at each power supply, so that the power supply can be cut off immediately in case of an emergency. The disconnecting value of the switch should be equal to or greater than the continuous rating of the fuse. In addition, the switch should have the following feature:
. The power is cut off when the switch is at the “OFF” position. - Connection of output cable
Connection of cutting torch
Connect the center plug on the cutting torch to the center socket of the power supply, and tighten It clockwise to avoid gas leakage.
Connection of earth cable
Insert the quick plug on the earth cable into the output terminal “+” on the front panel of the machine, and tighten it clockwise. - Operation of the reducer valve
The embedded filter reducer is properly set when leaving the factory, and users do not need to set it themselves in general.
If users need to set the embedded filter reducer, the machine cover should be opened as shown in the above figure. The steps are as follows: start the gas flow; lift the pressure control knob upward; adjust the gas pressure to the desired value by rotating the knob (rotate to the “+” direction to increase gas pressure; rotate to the “-” direction to reduce gas pressure); press down the pressure control knob to get the knob locked. The water can be drained automatically for the auto-drain function is available for the embedded filter reducer. - Installation of the cutting torch
Insert one end of the electrode into the torch head.
Insert the other end of the electrode into the distributor.
Connect the nozzle with the electrode and distributor.
Connect the protective sleeve with the nozzle, screw it into the torch head, and tighten it.
Precautions
- Make sure the place to install the machine can bear the weight of the cutting machine.
- Do not install the machine at places where water droplet splash may be produced, such as near water pipes.
- Cutting should be carried out in dry environment with humidity of 90% or less.
- The temperature of the working environment should be between -10°C and 40°C.
- Avoid cutting in the open air unless sheltered from sunlight and rain. Keep it dry at all times and do not place it on wet ground or in puddles.
- Avoid cutting in dusty area or environment with corrosive chemical gas.
- Do not carry out cutting with the cutting machine placed on a platform with a pitch greater than 10°.
Overcurrent/overvoltage/overheating protection circuit is installed in this machine. When the mains voltage, output current or inner temperature exceeds the set standard, the machine will stop automatically. However, excessive use (e.g. too high voltage) of machine may also damage the machine, so please note:
Good ventilation
This cutting machine can create powerful cutting current and has strict cooling requirements that cannot be met with natural ventilation. Therefore the built-in fan is very important in enabling the machine to work stable with effective cooling. The operator should make sure that the louvers be uncovered and unblocked. The minimum distance between the machine and nearby objects should be 25cm.
Overvoltage is forbidden.
This machine is of automatic mains voltage compensation, which ensures that the cutting current varies within the given range. In case that the input mains voltage exceeds the tolerance value, it would possibly damage the machine. The operator should understand this circumstance fully and adopt relevant precautions.
Overload is forbidden.
Remember to observe the max load current at any moment (refer to the corresponding duty cycle). Make sure that the cutting current should not exceed the maximum load current. Overload could obviously shorten the machine’s lifespan, or even damage the machine. A sudden halt may occur with the yellow LED on the front panel on while the machine is of over-load status. Under this circumstance, it is unnecessary to restart the machine. Keep the built-in fan working to lower the temperature inside the machine. Cutting can be continued after the inner temperature falls into the standard range and the yellow LED is off.
OPERATION
Panel functions of CUT-65DS

| No. | Part name | Function |
| 1 | 2T/4T key | Two-step and Four-step’ Welding Mode Conversion |
| 2 | Mode select | Top for gas checking, bottom for cut |
| 3 | Gas-electric connector | Connect the cutting torch |
| 4 | Torch switch | Connect the control of cutting torch |
| 5 | Quick socket | Connect the earth cable |
| 6 | Pilot arc | Connect the pilot wire of torch |
| 7 | Current control knob | Adjust: adjust the value of output Press: switch the parameter of output |
| 8 | A display | Output current display |
| 9 | V display | Input voltage display |

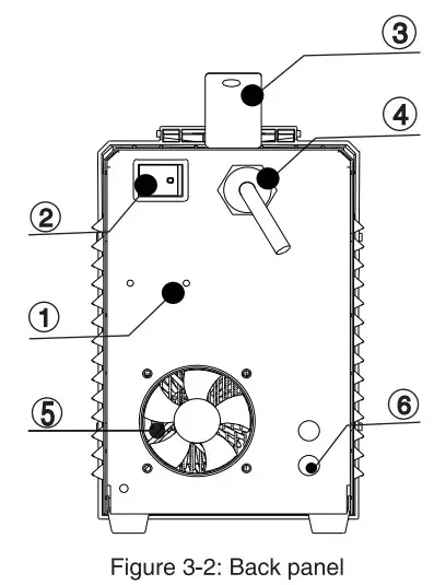
| No. | Part name | Function |
| 1 | Install screws | for air filter |
| 2 | Power switch | To control the ON/OFF of the input power of the machine. |
| 3 | Handle | Handle the machine |
| 4 | Power cable | To connect the power supply. |
| 5 | Cooling fan | Air cooling |
| 6 | air connector | connector for input cutting air |
Operation of Digital Panel CUT-65DS
- power on the machine then power indicator on front panel will on, A display meter will show the preset output current.
- check the display of machine ok or not, and select “2T” 4T” mode.
- press the cutting torch switch, solenoid valve will act and torch will have pilot arc.
- preset the cutting current according to the thickness of workpicec.keep distance 2-5mm between the torch and workpiece and cutting from the edge then press torch switch to start the plasma cutting.
| No. | Symbol | Function |
| 1 | Power indicator: It illuminates when the machine is powered on, and it glitters after arc is successfully ignited. | |
| 2 | Overheating indicator: It illuminates when the working temperature of the IGBT is overly high. Meanwhile, the machine stops working. | |
| 3 | Torch protection indicator: machine will stlop work and this LED on when the torch are not well installed or torch head is shorted | |
| 4 | ![]() | adjust the value of 4 parameters |
| 5 | 2T | 2T indicator: It illuminates when the machine is under 2T status. |
| 6 | 4T | 4T indicator: It illuminates when the machine is under 4T status. |
| 7 | Gas-check indicator: It illuminates when the machine is under gas-check status. At this moment, the machine cannot cut. | |
| 8 | Metal mesh cutting indicator: The machine can cut metal mesh when this indicator illuminates. | |
| 9 | Max. pilot arc time led: 12-20s | |
| 10 | Pilot arc current led: 12-25A | |
| 11 | Plasma cutting current led: 10-65A | |
| 12 | Postflow time led: 5-20s |
Operation method
- Turn on the power switch of the machine, and the power indicator illuminates.
- Select proper working mode and proper function. There are two working modes available on the machine panel: 2T and 4T. There are two functions available: normal cutting and metal mesh cutting. The electrode and nozzle are more easily to wear out in metal mesh cutting.
- Push the torch trigger on the cutting torch, the cutting machine works.
- Set cutting current according to the thickness of workpiece.
- Bring the copper nozzle of the cutting torch into contact with the workpiece (For models with pilot arc function, keep a distance of about 2mm between the copper nozzle of the torch and the workpiece.), and then push the torch trigger. After the arc is ignited and started, raise the cutting torch to the position about 1mm above the workpiece, and start cutting.
Notes for cutting operation
![]() | • It is recommended not to ignite the arc in the air if not necessary, for it will shorten the lifespan of the electrode and nozzle of the torch. |
![]() | •It is recommended to initiate the cutting from the edge of workpiece, unless penetration is needed. |
![]() | •Ensure spatters fly from the bottom of workpiece while cutting. If spatters fly from the top of workpiece, it indicates that the workpiece can not be fully cut because the cutting torch is moved too fast or the cutting current is too low. |
![]() | •Keep the nozzle slightly touching the workpiece or keep a short distance between the nozzle and workpiece. If the torch is pressed against the workpiece, the nozzle may stick to the workpiece, and smooth cutting is unavailable. |
![]() | •For cutting round workpiece or to meet precise cutting requirement, molding board or other assistant tools are needed. |
![]() | •It is recommended to pull the cutting torch while cutting. |
![]() | •Keep the nozzle of cutting torch upright over the workpiece, and check if the arc is moving with the cutting line. If the space is not enough, don’t bend the cable too much, step on or press upon the cable to avoid suffocating of gas flow. The cutting torch may be burned because the gas flow is too small. Keep the cutting cable away from edge tools. |
![]() | •Clean up the spatters on the nozzle timely, for it will affect the cooling effect of the nozzle. Clean up the dust and spatters on the torch head after using everyday to ensure good cooling effect. |
MAINTENANCE
Daily maintenance
warning
The power of the switching box and the cutting machine should be shut down before daily checking (except appearance checking without contacting the conductive body) to avoid personal injury accidents such as electric shock and burns.
Tips:
- Daily checking is very important in keeping the high performance and safe operation of this cutting machine.
- Do daily checking according to the table below, and clean or replace components when necessary.
- In order to ensure the high performance of the machine, please choose components provided or recommended when replacing components.
Table 4-1: Daily checking of the cutting machine
| Items | Checking requirements | Remarks |
| Front panel | Whether any of the components are damaged or loosely connected; Whether the output quick sockets are tightened; Whether the abnormity indicator illuminates. | If unqualified, check the interior of the machine, and tighten or replace the components. |
| Back panel | Whether the input power cable and buckle are in good condition; Whether the air intake is unobstructed. | |
| Cover | Whether the bolts are loosely connected. | If unqualified, tighten or replace the components. |
| Chassis | Whether the screws are loosely connected. | |
| Routine | Whether the machine enclosure has color fading or overheating problems; Whether the fan sounds normal when the machine is running; Whether there is abnormal smell, abnormal vibration or noise when the machine is running. | If abnormal, check the interior of the machine. |
Table 4-2: Daily checking of the cables
| Items | Checking requirements | Remarks |
| Earth cable | Whether the grounding wires (including workpiece GND wire and cutting machine GND wire) break off. | If unqualified, tighten or replace the components. |
| Cutting cable | Whether the insulating layer of the cable is worn, or the conductive part of the cable is exposed; Whether the cable is drawn by an external force; Whether the cable connected to the workpiece is well connected. | Use appropriate methods according to the work sitesituation to ensure safety and normal cutting. |
The workpiece is not cut fully. This may be caused by:
- The cutting current is too low.
- The cutting speed is too high.
- The electrode and nozzle of the torch are burned.
- The workpiece is too thick.
Molten slag drops from the bottom of workpiece. This may be caused by:
- The cutting speed is too low.
- The electrode and nozzle of the torch are burned.
- The cutting current is too high.
Cutting parameters table
Select proper current according to the cutting parameters table, workpiece material, cutting thickness and cutting speed, etc. (The figure in the below table is an approximation.)
Table 3-1: Cutting speed (m/min) when cutting current is 65A

Replacement of electrode and nozzle
When the phenomena below occur, the electrode and nozzle should be replaced. Otherwise, there will be strong arc in the nozzle, which will break down the electrode and the nozzle, or even burn the torch. Nozzles of different models are different, so ensure the nozzle is of the same model when replacing ii.
- Electrode wear> 1.5mm
- Distortion of the nozzle
- Cutting speed declining, arc with green flame
- Difficult in arc ignition
- Irregular cut
Periodic check
warning
Periodic check should be carried out by qualified professionals to ensure safety. Thepower of the switching box and the cutting machine should be shut down before periodic check to avoid personal injury accidents such as electric shock and burns. Due to the discharge of capacitors, checking should be carried out 5 minutes after the machine is powered off.
Tips:
![]() | Safety All maintenance and checking should be carry out after the power is completely cut off. Make sure the power plug of the machine is pulled out before uncovering the cutting machine. When the machine is powered on, keep hands, hair and tools away from the moving parts such as the fan to avoid personal injury or machine damage. |
![]() | Periodic check Check periodically whether inner circuit connection is in good condition (esp. plugs). Tighten the loose connection. If there is oxidization, remove it with sandpaper and then reconnect. Check periodically whether the insulating layer of all cables is in good condition. If there is any dilapidation, rewrap it or replace it. |
![]() | Beware of static In order to protect the semiconductor components and PCBs from the static damage, please wear antistatic device or touch the metal part of the enclosure to remove static in advance before contacting the conductors and PCBs of the machine internal wiring. |
![]() | Keep it dry Avoid rain, water and vapor infiltrating the machine. If there is, dry it and check the insulation of the cutting machine (including that between the connections and that between the connection and the enclosure) with an ohmmeter. Only when there are no abnormal phenomena anymore, can the machine be used. Put the machine into the original packing in dry location if it is not to be used for a long time. |
![]() | Pay attention to maintenance Periodic check should be carried out to ensure the long-term normal use of the machine. Be careful when doing the periodic check, including the inspection and cleaning of the machine interior. Generally, periodic check should be carried out every 6 months, and it should be carried out every 3 months if the cutting environment is dusty or with heavy oily smoke. |
![]() | Beware of corrosion Please clean the plastic parts with neutral detergent. |
TROUBLESHOOTING
The abnormity indicator on the front panel would illuminate in case of any failures inside the cutting machine.
| Malfunction Phenomena | Cause and Solution |
| Turn on the machine, the power indicator illuminates, the control PCB keys do not function, and there is no response when pushing the torch trigger. | The cutting machine crashes: Shut down the machine, and restart it. |
| Turn on the machine, the power indicator illuminates, the control PCB keys work normally, but there is no response when pushing the torch trigger. | 1)The LED1 on the main board is on: The control PCB is damaged. 2)The LED1 on the main board is off: Check the torch trigger and torch trigger wire. |
| Turn on the machine, the power indicator illuminates, and the fan works. When pushing the torch trigger, the solenoid valve functions, but there is no HF discharge rustling. | The arc ignition part fails: 1)The interelectrode distance of the discharge nozzle is too long. 2)There is leakage of the HF capacitor 102/10KV. 3)The relay is damaged. 4)The input voltage is too low. |
| Arc can not be ignited. | The air pressure is overly high or overly low. |














The embedded filter reducer is properly set when leaving the factory, and users do not need to set it themselves in general.
Insert one end of the electrode into the torch head.






























