Versa STUDIO
Versa STUDIO
GS2-24
Safety Information
Copyright © 2022 Roland DG Corporation http://www.rolanddg.com/
R1-220222TW
Roland DG Corporation
Safety Precautions
To Ensure Safe Use
Improper handling or operation of this machine may result in injury or damage to property. Points that must be observed to prevent such injury or damage are described as follows.
Meaning of WARNING and CAUTION
Used for instructions intended to alert the user to the risk of death or severe injury should the unit be used improperly.
WARNING
Used for instructions intended to alert the user to the risk of injury or material damage should the
CAUTION
Used for instructions intended to alert the user to the risk of injury or material damage should the unit be used improperly.
*Material damage refers to damage or other adverse effects caused with respect to the home and all its furnishings as well as to domestic animals or pets.
About the Symbols
| The The specific meaning of the symbol is determined by the design contained within the The | |
| The symbol alerts the user to items that must never be carried out (are forbidden). The specific meaning of the symbol is determined by the design contained within the symbol. The symbol at left means the unit must never be disassembled. | |
| The The specific meaning of the symbol is determined by the design contained within the The symbol at left means the power-cord plug must be unplugged from the outlet. |
This is a heavy machine.
CAUTION
Install in a level and stable location.
Failure to do so may result in falling of the machine, leading to injury.
Incorrect operation may cause injury
WARNING
Always unplug the power cord when attaching or removing parts and optional parts and when performing cleaning or maintenance that does not require the machine to be connected to a power source.
Attempting such operations while the machine is connected to a power source may result in injury or electrical shock.
Keep children away from the machine.
The machine includes areas and components that pose a hazard to children and may result in injury, blindness, choking, or other serious accident.
Never attempt to disassemble, repair, or modify the machine.
Doing so may result in fire, electrical shock, or injury. Entrust repairs to a trained service technician.
Be sure to follow the operation procedures described in the user’s manual. Never allow anyone unfamiliar with the usage or handling of the machine to touch it. Incorrect usage or handling may lead to an accident.
Never operate the machine while tired or after ingesting alcohol or any medication.
Operation requires unimpaired judgment. Operating with impaired judgment may result in an accident.
Never attempt to disassemble, repair, or modify the AC adapter.
Doing so may result in fire, electrical shock, or injury. Entrust repairs to a trained service technician.
CAUTION
Conduct operations in a clean, brightly lit location.
Working in a location that is dark or cluttered may lead to an accident, such as becoming caught in the machine as the result of an inadvertent stumble.
Never climb or lean on the machine.
The machine is not made to support a person. Climbing or leaning on the machine may dislodge components and cause a slip or fall, resulting in injury.
Caution: cutting tool.
This machine has a cutting tool. To avoid injury, handle the tool with care.
Never attempt operation while wearing a necktie, necklace, loose clothing, or gloves. Bind long hair securely.
Such items may become caught in the machine, resulting in injury.
Exercise caution to avoid being pinched or becoming caught.
Inadvertent contact with certain areas may cause the hand or fingers to be pinched or become caught. Use care when performing operations.
Danger of electrical short, electrical shock, or fire
WARNING
Connect to an electrical outlet that complies with this machine’s ratings (for volt‐age, frequency, and current).
Incorrect voltage or insufficient current may cause fire or electrical shock.
If sparks, smoke, burning odors, unusual sounds, or abnormal operation occur, immediately unplug the power cord. Never use if any component is damaged. Continuing to use the machine may result in fire, electrical shock, or injury. Contact your authorized Roland DG Corporation dealer.
Never use outside or in any location where exposure to water or high humidity may occur. Do not touch the power cord, plug, or electrical outlet with wet hands.
Doing so may result in fire or electrical shock.
Never allow any foreign object to get inside. Never expose the machine to liquid spills. Inserting objects such as coins or matches or allowing beverages to be spilled into the ventilation ports may result in fire or electrical shock. If anything gets inside, immediately disconnect the power cord and contact your authorized Roland DG Corporation dealer.
Never place any flammable object nearby. Never use a combustible aerosol spray nearby. Never use in any location where gases can accumulate.
Combustion or explosion could occur.
Handle the power cord, plug, and electrical outlet correctly and with care. Never use any article that is damaged.
Using a damaged article may result in fire or electrical shock.
When using an extension cord or power strip, use one that adequately satisfies the machine’s ratings (for voltage, frequency, and current).
Use of multiple electrical loads on a single electrical outlet or of a lengthy extension cord may cause fire.
Position the machine so that the power plug is within immediate reach at all times.
This is to enable quick disconnection of the power plug in the event of an emergency. Install the machine next to an electrical outlet. Also, provide enough empty space to allow immediate access to the electrical outlet.
For accessories (optional and consumable items, power cord, and the like), use only genuine articles compatible with this machine.
Incompatible items may lead to an accident.
Never use the machine for any purpose for which it is not intended, or use the machine in an excessive manner that exceeds its capacity.
Doing so may result in injury or fire.
Do not use the supplied power cord and AC adapter with any other product.
If the machine will not be used for a long period, disconnect the power cord.
This prevents an accident caused by unexpected electric leakage or unintentional start of the machine.
Important notes about the power cord, plug, and electrical outlet
![]()
Warning Labels
Warning labels are affixed to the machine to make areas of danger immediately clear. The meaning of this label is indicated below. Be sure to heed this warning. Also, never remove the labels or allow them to become dirty.

| 1 | Beware of moving carriage The cutting carriage is dangerous because it moves at high speed. Do not put hands near it. |
Disclaimers and Standard Information
Company names and product names are trademarks or registered trademarks of their respective holders.
Thank you very much for purchasing this product.
- To ensure correct and safe usage with a full understanding of this product’s performance, read through this manual completely and store it in a safe location.
- Unauthorized copying or transferal, in whole or in part, of this manual is prohibited.
- The contents of this operation manual and the specifications of this product are subject to change without notice.
- The operation manual and the product have been prepared and tested as much as possible. If you find any misprint or error, please inform Roland DG Corporation.
- DGSHAPE Corporation assumes no responsibility for any direct or indirect loss or damage which may occur through use of this product, regardless of any failure to perform on the part of this product.
- DGSHAPE Corporation assumes no responsibility for any direct or indirect loss or damage which may occur with respect to any article made using this product.
For the USA
FEDERAL COMMUNICATIONS COMMISSION RADIO FREQUENCY INTERFERENCE STATEMENT
Responsible Party: Roland DGA Corporation
Address: 15363 Barranca Parkway Irvine, CA 92618, U.S.A.
Telephone 949-727-2100
Type of Equipment: Cutting Plotter
Model Name: GS2-24
NOTE:
This equipment has been tested and found to comply with the limits for a Class A digital device, pursuant to part 15 of the FCC Rules. These limits are designed to provide reasonable protection against harmful interference when the equipment is operated in a commercial environment. This equipment generates, uses, and can radiate radio frequency energy and, if not installed and used in accordance with the instruction manual, may cause harmful interference to radio communications. Operation of this equipment in a residential area is likely to cause harmful interference in which case the user will be required to correct the interference at his own expense.
This device complies with part 15 of the FCC Rules. Operation is subject to the following two conditions: (1) This device may not cause harmful interference, and (2) this device must accept any interference received, including interference that may cause undesired operation.
FCC CAUTION Changes or modifications not expressly approved by the party responsible for compliance could void the user’s authority to operate the equipment.
Use only I/O cables that have been designed and manufactured specifically for this device.
For Canada
CAN ICES-3 (A)/NMB-3(A)
For EU Countries
![]()
Manufacturer:
ROLAND DG CORPORATION
1-6-4 Shinmiyakoda, Kita-ku, Hamamatsu-shi, Shizuoka-ken, 431-2103 JAPAN
The importer in the EU:
Roland DG EMEA N.V.
Bell Telephonelaan 2G, 2440 Gel, Belgium
For UK
![]()
Manufacturer:
ROLAND DG CORPORATION
1-6-4 Shinmiyakoda, Kita-ku, Hamamatsu-shi, Shizuoka-ken, 431-2103 JAPAN
The importer in the UK:
Roland DG (U.K.) Ltd.
Griffin House, Windmill Road, Cleve don Business Park, Cleve don, North Somerset, BS21 6UJ, United Kingdom
For EU Countries
WARNING Operation of this equipment in a residential environment could cause radio interference.
For EU Countries
This product must be disposed of separately at your local waste recycling center. Do not dispose of in household waste bin.
For California
WARNING
This product can expose you to chemicals including lead, which is known to the State of California to cause cancer and birth defects or other reproductive harm. For more information go to www.P65Warnings.ca.gov.
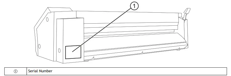
Locations of the Power Rating and Serial Number Labels
Serial Number
This is required when you seek maintenance, servicing, or support. Never peel off the label.

Power Rating
Use an electrical outlet that meets the requirements for voltage, frequency, and amperage given on the label.
![]()
















