
Manual IB-PCI2017-U2
U.2 / SATA PCIe Controller Card

Safety information IB-PCI2017-U2
Please read carefully the following information to prevent injuries, damage to material and device as well as data loss:
Warning levels
Signal words and safety codes indicate the warning level and provide immediate information in terms of the probability of occurrence as well as the type and severity of the consequences if the measures to prevent hazards are not complied with.
Warns of a directly hazardous situation causing death or serious injury.
Warns of a potentially hazardous situation that may cause death or serious injury.
Warns of a potentially hazardous situation that may cause minor injury.
Warns of a potential situation that may cause material or environmental damage and disrupt operative processes.
- Risk of electrical shock
Contact with parts conducting electricity
Risk of death by electrical shock
• Read the operating instructions prior to use
• Make sure the device has been de-energised prior to working on it
• Do not remove contact protection panels
• Avoid contact with conducting parts
• Do not bring plug contacts in contact with pointed and metal objects
• Use in intended environments only
• Operate the device using a power unit meeting the specifications of the type plate only!
• Keep the device/power unit away from humidity, liquid, vapour and dust
• Do not modify the device
• Do not connect the device during thunderstorms
• Approach specialist retailers if you require repairs - Hazards during assembly (if intended)
Sharp components
Potential injuries to fingers or hands during assembly (if intended)
• Read the operating instructions prior to assembly
• Avoid coming into contact with sharp edges or pointed components
• Do not force components together
• Use suitable tools
• Use potentially enclosed accessories and tools only - Hazards caused by a development of heat Insufficient device/power unit ventilation
Overheating and failure of the device/power unit
• Prevent externally heating up components and ensure an exchange of air
• Do not cover the fan outlet and passive cooling elements
• Avoid direct sunlight on the device/power unit
• Guarantee sufficient ambient air for the device/power unit
• Do not place objects on the device/power unit - Hazards caused by very small parts and packaging
Risk of suffocation
Risk of death by suffocation or swallowing
• Keep small parts and accessories away from children
• Store/dispose of plastic bags and packaging in an area that is inaccessible to children
• Do not hand over small parts and packaging to children - Potential data loss
Data lost during commissioning
Potentially irreversible data loss
• Always comply with the information in the operating instructions/quick installation guide
• Exclusively use the product once the specifications have been met
• Back up data prior to commissioning
• Back up data prior to connecting new hardware
• Use accessories enclosed with the product - Cleaning the device
Harmful cleaning agents
Scratches, discolouration, damage caused by moisture or short circuit in the device
• Disconnect the device prior to cleaning
• Aggressive or intense cleaning agents and solvents are unsuitable
• Make sure there is no residual moisture after cleaning
• We recommend cleaning devices using a dry, anti-static cloth - Disposing of the device
Environmental pollution, unsuitable for recycling
Potential environmental pollution caused by components, recycling circle interrupted
This icon on product and packaging indicates that this product must not be disposed of as part of domestic waste. In compliance with the Waste Electrical and Electronic Equipment Directive (WEEE) this electrical device and potentially included batteries must not be disposed of in conventional, domestic waste or recycling waste. If you would like to dispose of this product and potentially included batteries, please return it to the retailer or your local waste disposal and recycling point.
The included batteries must be completely discharged before return. Take precaution to protect the batteries from short circuits (e.g. by insulating the contact poles with adhesive tape).
If you have any questions, please do not hesitate to contact our support at [email protected] or visit our website at www.icybox.de.
Manual IB-PCI2017-U2
Dear Customer,
thank you for choosing an ICY BOX® product.
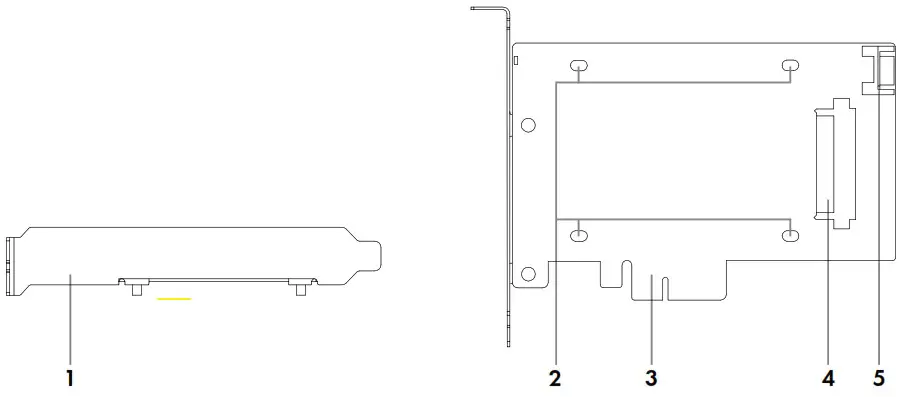
Product overview

- High-profile bracket
- 4x hole for 2.5″ SSD/HDD fixation
- PCI-Express Generation 3.0 x4 slot interface
- U.2 connector
- 7 pin SATA data interface
Packing content
1x IB-PCI2017-U2
1x SATA data cable (42 cm)
4x Screw for 2.5″ SSD/HDD fixation
1x Screw driver
1x Manual
Key features
- Expands your desktop PC with a 2.5″ U.2 (SFF-8639) NVMe SSD to PCIe 3.0
- PCI-Express base specification revision 3.0, 4 lanes
- Fits in a PCIe x4, x8, x16 slot
- Perfect for server, workstation and desktop PC
- Supports U.2/PCIe 3.0 data transfer rates with up to 32 Gbit/s
- Additional support for SATA III 6G drives
- Supports SATA III data transfer rates with up to 6 Gbit/s
- Supports the following operating systems: Windows®
System Requirements:
- One available x4, x8 or x16 PCI-Express slot (PCI-Express Gen. 3.0, 4 lanes at least)
- Internal free SATA 7 pin plug for SATA connection
- Operating system: Windows®
- The full U.2/PCIe 3.0 transfer rate can only be achieved with an installed NVMe U.2 drive
- The IB-PCI2017-U2 is backwards compatible with PCIe 1.0 and 2.0
Note:
The IB-PCI2017-U2 adopts the PCIe Gen 3.0 x4 (32 Gbit/s) interface connector design. In order to get 32 Gbit/s performances, please use a PCIe slot based on PCI-Express Generation 3.0, 4 lanes for card installation. However, some PC systems do not support PCIe Gen 3.0 specification, so that IB-PCI2017-U2 cannot support full-power performance (32 Gbit/s). Please double-check with your PC system for system detail information or accept the lower data transfer rates.
Installation
Important: During PCIe card assembly all cabling has to be disconnected from the computer. Otherwise, it may cause electric shock accident or malfunction. Pay attention to electrostatics when installing the PCIe card! A static charge on the body can cause the unit to malfunction. Please touch a metal object to discharge or wear antistatic gloves before installation.
Attention!
- The PCB is a very sensitive component. Please insert the PCIe card carefully and make sure it is correctly aligned.
- Proceed with caution, as sharp edges inside the unit can cause injuries.
Follow the instructions below to pre-install the 2.5″ NVMe or SATA SSD to the PCIe card
- Carefully insert the 2.5″ SSD into the U.2 connector on the PCIe board.
Note: Ensure the correct orientation of the U.2 / SATA connector.
- Turn the card over and fix the 2.5″ SSD with the four screws supplied.

Follow the instructions below to install the PCI-Express card:
- Before starting the installation switch off your computer and all connected devices and remove the power cable from the back of your computer
- Remove the corresponding case cover
- Identify an empty PCIe 3.0 x4 slot and remove the associated slot bracket on the back of the computer by unscrewing it
- Carefully insert the card into the free PCI-Express slot
- Secure the PCIe card by screwing the screw you removed in the previous step back into place

- Carefully plug the 7 pin SATA data cable to a 7 pin SATA data connector on the motherboard and into the SATA data connector of the expansion card.
Note: Ensure the correct orientation of the SATA connector.
- Replace the cover to the computer
- Plug the power cable into a power outlet and start your computer.
Note: A new drive must first be initialized, partitioned and formatted by the operating system in order to be displayed by the system. If the drive is not recognized instantly by the operating system, please check:
- if the driver software is installed
- if the SSD is initialized, partitioned and formatted


© Copyright 2021 by RaidSonic Technology GmbH. All Rights Reserved.
The information contained in this manual is believed to be accurate and reliable. RaidSonic Technology GmbH assumes no responsibility for any errors contained in this manual. RaidSonic Technology GmbH reserves the right to make changes in the specifications and/or design of the above mentioned product without prior notice. The diagrams contained in this manual may also not fully represent the product that you are using and are there for illustration purposes only. RaidSonic Technology GmbH assumes no responsibility for any differences between the product mentioned in this manual and the product you may have.
This icon on product and packaging indicates that this product must not be disposed of as part of domestic waste. In compliance with the Waste Electrical and Electronic Equipment Directive (WEEE) this electrical device and potentially included batteries must not be disposed of in conventional, domestic waste or recycling waste. If you would like to dispose of this product and potentially included batteries, please return it to the retailer or your local waste disposal and recycling point.






















