ingersoll rand 80445703 Stationary Reciprocating Air Compressors

EXPLANATION OF SAFETY SIGNAL WORDS
- DANGER: Indicates an imminently hazardous situation that, if not avoided, will result in death or serious injury.
- WARNING: Indicates a potentially hazardous situation that, if not avoided, could result in death or serious injury.
- CAUTION: Indicates a potentially hazardous situation which, if not avoided, may result in minor or moderate injury or property damage.
- NOTICE: Indicates information or a company policy that relates directly or indirectly to the safety of personnel or protection of property.
RECEIPT & INSPECTION
Ensure adequate lifting equipment is available for unloading and moving the compressor to the installation site.
WARNING
- Lifting equipment must be properly rated for the weight of the compressor. Weight information is printed on a label attached to the shipping container.
- Lift the compressor by the shipping skid only.
- Do not use the motor lifting eye to lift the entire compressor. The motor lifting eye is for removing the motor from the compressor only.
- Do not work on or walk under the compressor while it is suspended.
- Use suitable lifting equipment (i.e. forklift) to lift and transport the compressor to the installation site. Ensure the lifting equipment, straps, etc. are capable of supporting the weight of the compressor.
Lifting Equipment and Straps

- Before signing the delivery receipt, inspect for damage and missing parts. If damage or missing parts are apparent, make the appropriate notation on the delivery receipt, then sign the receipt.
- Immediately contact the carrier for an inspection.
- All material must be held in the receiving location for the carrier’s inspection.
- Delivery receipts that have been signed without a notation of damage or missing parts are considered to be delivered “clear.” Subsequent claims are then considered to be concealed damage claims.
- Settle damage claims directly with the transportation company.
- If you discover damage after receiving the compressor (concealed damage), the carrier must be notified within 15 days of receipt and an inspection must be requested by telephone with confirmation in writing. On concealed damage claims, the burden of establishing that the compressor was damaged in transit reverts back to the claimant.
- Read the compressor nameplate to verify it is the model ordered, and read the motor nameplate to verify it is compatible with your electrical conditions.
- Make sure electrical enclosures and components are appropriate for the installation environment.
- Do not use a triple voltage three-phase motor for 200-208 voltage three-phase application. Use a 200-volt motor only.
GENERAL SAFETY RULES
DANGER
- INHALATION HAZARD. Will cause serious injury or death.
- Can contain carbon monoxide or other contaminants. Ingersoll Rand air compressors are not designed, intended, or approved for breathing air applications. Ingersoll Rand does not approve specialized equipment for breathing air application and assumes no responsibility or liability for compressors used for breathing air services.
- Do not directly inhale compressed air.
- Follow precautions on container labels before spraying materials such as paint, insecticide, and weed killer.
- Wear a respirator when spraying.
WARNING
- FLAMMABLE VAPORS. Can cause a fire or explosion and result in serious injury or death.
- Do not operate electric motor-driven compressors where flammable or explosive liquids or vapors such as gasoline, natural gas, and solvents are present.
- Do not operate gasoline engine-driven compressors near an open flame.
HAZARDOUS VOLTAGE. Can cause serious injury or death
- Disconnect power and relieve pressure from the tank before servicing.
- The compressor must be connected to a properly grounded circuit by a qualified electrician following applicable electrical codes. Refer to the ELECTRICAL CONNECTIONS section of this manual.
- Do not operate the compressor in wet conditions. Store indoors.
MOVING PARTS. Can cause serious injury
- Do not operate with guards or shields removed, damaged or broken.
- The machine may start automatically. Disconnect power before servicing.
- HOT SURFACES. Can cause serious injury. Burns may occur.
- Do not touch the compressor pump, motor or discharge tubing during or shortly after the operation. These parts become hot. Allow cooling before touching.
HIGH-PRESSURE AIR. Can cause serious injury
- Do not remove, adjust, bypass, change, modify or make substitutions for safety/relief valves or other pressure control-related devices.
- Rusted tanks can cause explosions and severe injury or death.
- Drain tank daily or after each use. Drain valve is located at bottom of the tank.
- Do not over-pressurize the receiver tank or similar vessels beyond design limits. Refer to the compressor nameplate for this information.
- Do not use a receiver tank or similar vessels that fail to meet the design requirements of the compressor. Contact your distributor for assistance.
- Do not drill into, weld or otherwise alter the receiver tank or similar vessels.
- Do not use air tools or attachments without first determining the maximum pressure recommended for that equipment.
- Do not point air nozzles or sprayers toward anyone.
RISK OF BURSTING. Can cause serious injury
- Use only suitable air handling parts acceptable for the pressure of not less than the maximum allowable working pressure of the machine. Refer to the compressor nameplate for this information.
FLYING DEBRIS. Can cause serious injury to the eyes
- Wear eye protection at all times.
NOISE HAZARD. Can cause serious injury to ears
- Wear ear protection at all times.
NOTICE: Do not remove, paint over or deface decals. Replace any missing decals.
SELECTING A LOCATION
ELECTRIC MOTOR COMPRESSORS
For most electric motor compressors, select a relatively clean and dry well lighted indoor area with plenty of space for proper ventilation, cooling airflow, and accessibility. Provide 1,000 cubic feet of fresh air per minute per 5 horsepower. Ventilation by gravity or mechanical means is approved. Locate the compressor at least 12 inches (30 cm) from the walls, and make sure the main power supply is clearly identified and accessible. Unless the electrical components of the compressor are specially protected for outdoor use, do not install an electric motor compressor outdoors or in an area that will expose the electrical components to rain, snow or sources of appreciable moisture.
WARNING
FOR COMPRESSORS EQUIPPED WITH ELECTRIC DRAIN VALVES The electric drain valve incorporates arcing or sparking parts, such as snap switches, receptacles and the like that tend to produce arcs or sparks and, therefore, when located in a garage, the compressor should be in a room or enclosure provided for the purpose, or the electric drain valve should be 18 inches (45 cm) or more above the floor. To relocate the valve, contact your local Ingersoll Rand dealer to obtain an electric drain valve relocation kit.
GASOLINE ENGINE COMPRESSORS
For gasoline engine compressors, keep the engine at least 3 feet (1 m) away from building walls and other equipment. Install the compressor in a location with plenty of space for proper ventilation, cooling airflow and accessibility. Do not install or operate a gasoline engine compressor in a confined area.
AMBIENT TEMPERATURE CONSIDERATIONS
Ideal operating temperatures are between 32°F and 100°F (0°C and 37.8°C). If temperatures consistently drop below 32°F (0°C), install the compressor in a heated area. If this is not possible, you must protect safety/relief valves and drain valves from freezing. If temperatures are consistently below 40°F (4.4°C), consider installing an external crankcase heater kit, especially if the compressor has difficulty starting.
CAUTION: Never operate the compressor in temperatures below -15°F (-26.1°C) or above 125°F (51.0°C).
HUMID AREAS
- In frequently humid areas, moisture may form in the pump and produce sludge in the lubricant, causing running parts to wear out prematurely.
- Excessive moisture is especially likely to occur if the compressor is located in an unheated area that is subject to large temperature changes.
- Two signs of excessive humidity are external condensation on the pump when it cools down and a “milky” appearance in petroleum lubricant.
- You may be able to prevent moisture from forming in the pump by increasing ventilation, operating for longer intervals or installing an external crankcase heater kit.
NOISE CONSIDERATIONS
- Consult local officials for information regarding acceptable noise levels in your area.
- To reduce excessive noise, use vibration isolator pads or intake silencers, relocate the compressor or construct total enclosures or baffle walls.
MOUNTING
WARNING: Remove the compressor from the skid before mounting. Refer to the RECEIPT & INSPECTION section of this manual for information on lifting and handling the compressor.
NOTICE
- Local codes may mandate specific mounting requirements including, but not limited to, the use of vibration isolation mounts or pads. Mounting kits including vibration isolation mounts or pads may be ordered through your Ingersoll Rand dealer if not included with the compressor. Consult your local Ingersoll Rand dealer for more information.
- Secure the compressor to a solid, flat, and level mounting surface.
- If vibration isolation mounts or pads are included with your compressor, they must be properly installed. Failure to install the compressor using the vibration isolation mounts or pads provided with the compressor and in accordance with the installation instructions may result in mechanical failure to the compressor and cancellation of warranty coverage.
- Do not install the compressor on I-beams, open-grid flooring systems, or non-solid surfaces.
- Ingersoll Rand shall bear no responsibility for equipment installed on non-approved vibration isolation mounts or pads or non-solid surfaces.
CONCRETE FLOORS (ELECTRIC MOTOR OR GASOLINE ENGINE POWERED COMPRESSORS)
NOTICE: Mounting hardware kit 46822243 is available for mounting 3-footed vertical tank compressors to concrete floors.
To mount the compressor to a concrete surface, use the following procedure
- Mark the location of the mounting holes.
- Drill 2-1/4” deep holes using a concrete drill bit sized per the following table.
Tank Size (Gal.)
- ≤ 120
- ≥ 240
Drill Bit Size (In.)
- 1/2
- 5/8
NOTICE: It may be helpful to use a piece of tape on the drill bit to mark the proper depth.
- Drill a hole through the center of each isolation pad (if supplied or mandated by local codes).
- Drive the anchors into the mounting holes with the threaded portion up.
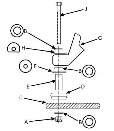
- Place the isolation pads over the anchors as shown in the illustration below.
- Position the compressor over the drilled holes and slowly lower the compressor feet over the holes.
- Install the foundation bolts.
- Install the nuts and torque each in a criss-cross pattern to 10 ft. lb.
Typical Mounting
- A = Mounting surface
- B = Foundation bolt / anchor
- C = Isolation pad (if supplied or required by local codes)
- D = Compressor mounting foot
- E = Washer
- F = Nut
After all mounting nuts are installed, check for receiver stress by loosening each nut individually to check for upward movement of the foot. Upward movement indicates the requirement for an appropriately sized metal shim to fill in the open elevation under the foot. After all required shims have been inserted, re-tighten the nuts to 10 ft. lb. Do not secure uneven feet tightly, as this will cause excessive stress on the receiver tank.
TRUCK BEDS (GASOLINE ENGINE-POWERED COMPRESSORS ONLY)
NOTICE
- Mounting hardware kit 46821641 is available for mounting gasoline engine compressors to truck beds.
- Gasoline engine compressors mounted on truck beds must be fastened securely without applying excessive stress on the receiver tank.
- Follow the general instructions for concrete floor installation in this section using appropriate mounting hardware.
Truck Bed Mounting
- A = Nut
- B = Washer (3 per foot)
- C = Mounting surface (truck bed)
- D = Isolation mount
- E = Spacer
- F = Washer
- G = Compressor mounting foot
- H = Washer
- J = Bolt
AIR INLET CONNECTIONS
CAUTION
- Do not operate the compressor without air inlet filtration.
- If the air around the compressor is relatively free of dirt, install the air inlet filter(s) at the inlet connection(s) at the compressor.
- If the air is dirty, pipe the filter(s) to a source of clean air. Refer to the manual for remote air inlet requirements.
AIR DISCHARGE CONNECTIONS
WARNING
- Do not use plastic pipe, soldered copper fittings, rubber hose, or lead-tin soldered joints anywhere in the compressed air system.
- All hoses, piping, fittings, air receiver tanks, etc. must be certified safe for at least the maximum working pressure and temperature of the compressor.
- DO NOT USE PVC PLASTIC IN THE COMPRESSED AIR DISCHARGE LINE.
CAUTION
- If you will be using synthetic compressor lubricant, all downstream piping material, and system components must be compatible.
- Refer to the following material compatibility list. If there are incompatible materials present in your system, or if there are materials not included in the list, contact Ingersoll Rand for recommendations.
SYNTHETIC COMPRESSOR LUBRICANT MATERIAL COMPATIBILITY LIST
SUITABLE
Viton®, Teflon®, Epoxy (Glass Filled), Oil Resistant Alkyd, Fluorosilicone, Fluorocarbon, Polysulfide, 2-Component Urethane, Nylon, Delrin®, Celcon®, High Nitrile Rubber (Buna N. NBR more than 36% Acrylonitrile), Polyurethane, Polyethylene, Epichlorohydrin, Polyacrylate, Melamine, Polypropylene, Baked Phenolics, Epoxy, Modified Alkyds (® indicates a trademark of DuPont Corporation)
NOT RECOMMENDED
Neoprene, Natural Rubber, SBR Rubber, Acrylic Paint, Lacquer, Varnish, Polystyrene, PVC, ABS, Polycarbonate, Cellulose Acetate, Low Nitrile Rubber (Buna N. NBR less than 36% Acrylonitrile), EPDM, Ethylene Vinyl Acetate, Latex, EPR, Acrylics, Phenoxy, Polysulfones, Styrene Acrylonitrile (San), Butyl.
NOTICE: All compressed air systems generate condensate which accumulates in any drain point (e.g. tanks, filters, drip legs, aftercoolers, dryers). This condensate contains lubricating oil and/or substances that may be regulated and must be disposed of in accordance with local, state, and federal laws and regulations.
GENERAL REQUIREMENTS
- Use flexible piping at the compressor’s discharge connection.
- Use hard-welded or threaded steel or copper pipes and cast iron fittings along the remaining air discharge line.
- Slope the piping downward in the direction of airflow to permit condensate to drain properly.
- Use pipe thread sealant on all threads, and secure joints tightly to prevent air leaks.
ELECTRICAL CONNECTIONS
PERMANENTLY CONNECTED ELECTRIC COMPRESSORS
WARNING: Electrical installation and service must be performed by a qualified electrician who is familiar with all applicable electrical codes.
GENERAL: The motor rating, as shown on the motor nameplate, and the power supply must have compatible voltage, phase, and hertz characteristics.
WIRE SIZE: The electrical wiring between the power supply and electric motor varies according to motor horsepower and other factors. Install adequately sized power leads to protect against excessive voltage drop during start-up. Refer to the applicable electric codes in your area for information on selecting the proper wire size and securing electrical connections. If you connect additional electrical equipment to the same circuit, consider the total electrical load when selecting the proper wire size. DO NOT USE UNDERSIZE WIRE.
MAGNETIC STARTER: If the motor installed on your compressor has a motor reset button, it does not require a magnetic starter. If the motor does not have this button and the compressor does not have a factory-installed starter, install a magnetic starter with thermal overload protection. Follow the manufacturer’s instructions for installation. Ingersoll Rand cannot accept responsibility for damages arising from failure to provide adequate motor protection.
FUSES Refer to applicable local codes to determine the proper fuse or circuit breaker rating required. When selecting fuses, remember the momentary starting current of an electric motor is greater than its full load current. Time delay or “slow-blow” fuses are recommended.
GROUNDING: In the event of an electrical short circuit, grounding reduces the risk of electric shock by providing an escape wire for the electric current. Ground terminals are identified with a ground symbol and/or the letters “G”, “GR” or “PE” (Potential Earth).
Ground Symbol
Compressors equipped with motor starters include a ground terminal inside the starter enclosure. For compressors with single-phase motors having thermal overload protection and no motor starter, the ground terminal is located inside the pressure switch. The ground must be established with a grounding wire sized according to the voltage and minimum branch circuit requirements printed on the compressor specifications decal. Ensure good bare metal contact at all grounding connection points, and ensure all connections are clean and tight.
WARNING: Improper grounding can result in electrical shock and can cause severe injury or death. This product must be connected to a grounded, metallic, permanent wiring system or an equipment-grounding terminal or lead. All grounding must be performed by a qualified electrician and comply with applicable electric codes.
NOTICE: Verify grounding connections after initial installation and periodically thereafter to ensure good contact and continuity has been maintained. Consult with a qualified electrician or service technician if the grounding instructions are not completely understood, or if in doubt as to whether the product is properly grounded.
Starter wiring
- To/from motor (factory connection)
- To/from pressure switch (factory connection)
- To/from the power supply (customer connection)
- Ground wires are not shown for clarity. Equipment must be properly grounded.
Pressure Switch Wiring (For Compressors Not Requiring a Starter)
- To/from motor (factory connection)
- To/from the power supply (customer connection)
- Ground wires are not shown for clarity. Equipment must be properly grounded.
IEC POWER CONNECTION AND OVERLOAD ADJUSTMENT
IEC Connection
- A = Incoming power leads
- B = Existing control circuit wires
- C = Contactor
- D = Thermal overload
- E = Stop/test button
- F = Incoming grounding lug (see note 2)
- G = Motor leads
- H = Reset button & selector switch (set for manual reset)
- J = Motor current setting (see note 5)
- K = Switch position indicator
- L = Coil voltage (see note 1)
- M = Incoming power connection (see notes 3 & 4)
- Confirm that the supply voltage matches the voltage rating of the starter/contactor.
- Connect the power supply to a properly grounded electrical circuit with specified voltage and fuse protection.
- When connecting the incoming power wires to the contractor, ensure that the existing control circuit wires remain under the terminal pressure plates and are secure after tightening the screw terminals.
- Refer to the torque values listed on side of the contactor when tightening the wire terminal screws.
- The overload current setting formula is as follows:
- Motor Nameplate Amps X Motor Service Factor = Overload Setting
Example: 10.0 (Motor Amps) x 1.15 (Service Factor) = 11.50 Overload Setting.
GASOLINE ENGINE COMPRESSORS
NOTICE: If you will be making connections to a remote battery, the engine on the compressor must be equipped with an alternator.
BATTERY: A 12-volt battery with a minimum current rating of 250 CCA (cold cranking amps) and minimum ampere-hour rating of 24 Ah should be sufficient for cranking most electric start engines.
BATTERY CABLES: Refer to the following table for size and length recommendations.
Cable Size (GA)
- 6
- 4
- 2
Maximum Length
- 5’ (1.5 m.)
- 7’-2.5” (2.1 m.)
- 12’ (3.6 m.)
CONNECTION PROCEDURES
- Connect the battery positive (+) cable (A) to the starter solenoid terminal (B).

Kohler Engine Battery (+) Positive cable connection point
Honda Engine Battery (+) Positive cable connection point.
NOTE: Circuit Fuse location at (D). Electric Start will not work if Fuse is blown. The unit can be rope started, however, will not charge the Battery if Fuse is blown.
- Connect the battery negative (-) cable (C) to the bolt shown in the following illustration. Secure the wire in place by screwing a suitably-sized nut onto the bolt and down onto the terminal.

- Connect the battery positive (+) cable (A) to the battery positive (+) terminal.
- Connect the battery negative (-) cable (C) to the battery negative (-) terminal.
- Coat the terminals and cable end with corrosion-preventive grease.
WARNING
- Remove the cable from the negative (-) side of the battery before servicing.
- Refer to the engine manufacturer’s instructions for more information.
COMPRESSOR LUBRICATION
CAUTION: Do not operate without lubricant or with inadequate lubricant. Ingersoll Rand is not responsible for compressor failure caused by inadequate lubrication.
RECOMMENDED LUBRICANT
- Ingersoll Rand recommends All Season Select® synthetic lubricant from startup. If you decide to use an alternate lubricant, refer to the main owner’s manual for specifications.
FILLING PROCEDURES
- Unscrew and remove the oil fill plug.
- Fill the crankcase with lubricant.
- Replace the oil fill plug HAND TIGHT ONLY.
CAUTION
- Do not remove the oil fill plug while the compressor is running.
- Use one of the following methods illustrated to determine when the crankcase is full.

- A = Oil fill opening,
- B = Sight glass,
- C = Dipstick
OPERATION
DAILY PRE-OPERATION CHECKS
- Drain condensate from air tank
- Check oil level(s) of compressor and engine (if applicable)
- Check cleanliness of air filter(s)
START-UP (ELECTRIC MOTOR-DRIVEN COMPRESSORS)
- Close the service valve.
- Apply power to the compressor. If the pressure switch is equipped with an “ON/AUTO-OFF” lever, flip the switch to the “ON/AUTO” position. If the compressor is equipped with a control panel “ON/OFF” switch, move the switch to the “ON” position.
- Slowly open the service valve.
CAUTION: Unusual noise or vibration indicates a problem. Do not continue to operate until you identify and correct the source of the problem.
NOTICE: Ensure the direction of rotation is correct per the arrow on the motor or on the belt guard above the motor. If the rotation is incorrect on three-phase compressors, disconnect the main power and contact a qualified electrician to interchange any two of the three leads per the ELECTRICAL CONNECTIONS section of this manual.
COMPRESSOR CONTROLS (ELECTRIC MOTOR COMPRESSORS)
AUTOMATIC START & STOP CONTROL
NOTICE: Automatic Start & Stop Control is intended for use when the motor will start no more than 6 times per hour.
When the receiver tank pressure reaches the factory preset maximum pressure, the pressure switch stops the compressor. When the receiver tank pressure drops below the factory preset minimum, the pressure switch resets and restarts the compressor.
STANDARD PRESSURE SWITCH: The Standard NEMA-1 Pressure Switch is Pre-set at the required pressures and the range and differential settings ARE NOT adjustable. These Pressure Switches should not be tampered with in any way and no attempt should be made to adjust the pressure settings as this could damage the Switch to the point of failure and/or void any warranty for the Pressure Switches.
DUAL CONTROL: Select either automatic start and stop control or constant speed control by adjusting the knob on the auxiliary valve. For automatic start and stop control, turn the knob on the auxiliary valve fully clockwise to disable the auxiliary valve. The pressure switch will then start and stop the compressor.
Auxillary Valve
NOTICE
- For dual control compressors, automatic start and stop is preferred.
- Select constant speed control if the compressor restarts in less than 10-minute intervals or runs more than 40 minutes per hour.
- Turn the knob fully counterclockwise to run the compressor continually.
NOTICE: The auxiliary valve is factory preset at 5 PSIG lower than the factory pressure switch setting.
CAUTION: Running unloaded for more than 20 minutes per hour or more than 15 minutes continually with the use of constant speed control will cause oil pumping and should be avoided.
START-UP (GASOLINE ENGINE COMPRESSORS)
WARNING: Do not operate gasoline engine compressors in an enclosed area.
- Release any residual tank pressure by slowly opening the manual drain valve.
- Turn on the engine gasoline supply.
- Put the choke in the “on” position.
- Close the service valve and put the unloader lever in the “unload” (A) position.
Unloader
- Start the engine, release the choke, and allow the engine to warm up for two to three minutes.
- Return the unloader lever to the “load” (B) position.
NOTICE
- Turn the gasoline supply off when the compressor is not being used.
- Some gasoline engine-driven compressors require 5-8 break-in hours of operation before reaching full capacity and speed.
COMPRESSOR CONTROLS (GASOLINE ENGINE COMPRESSORS)
CONSTANT SPEED CONTROL: This type of control applies to gasoline engine compressors.
When the receiver tank pressure reaches the factory preset maximum pressure, the unloader slows down the engine and the compressor stops pumping. When the receiver tank pressure drops to the factory preset minimum, the unloader resets, the engine returns to full speed, and the compressor resumes pumping.
Using QR
- Scan the QR code located on the compressor to download detailed installation, operation, maintenance, troubleshooting, and repair parts information not covered in this manual. More information is available at www.IRrecip.com.
- If Quick Start Manual or QR code label are damaged, and you wish to order paper copies of any of the documents, contact your local Ingersoll Rand dealer.
MATERIAL SAFETY DATA — ALL-SEASON SELECT
Effective Date: 01/01/2011
ALL-SEASON SELECT is a diester-based synthetic lubricant formulated for use in Ingersoll Rand reciprocating air compressors.
PRODUCT IDENTIFICATION
- Mixture-Chemical Family: Diester
HAZARDOUS INGREDIENTS
- The components of this product are not listed as hazardous or toxic according to OSHA (29 CFR OSHA 1910.1200), NTP, IARC and SARA 313.
- Hazardous Materials Identification System (HMIS):
- Health Flammability Reactivity Basis Hazard Ratings Key:
- 0 1 0 – 4 = Highest 0 = Lowest
PHYSICAL DATA
- Boiling Point: N/A Pour Point: -40°F
- Viscosity: 96.9 cSt @ 40°C Specific Gravity: 0.92
- Vapor Density: Greater than air Percent Volatile: Negligible
- Solubility in Water: Negligible
- Evaporation Rate: Not volatile, slower than Butyl
- Appearance: Light straw-colored fluid Acetate
- Odor: Mild ester odor
FIRE AND EXPLOSION HAZARD DATA:
- Flash Point: 480°F (249°C) Method Used: ASTM D92 Flammable Limits: Not established
- Fire Fighting Media: Water spray, dry chemical, foam or carbon dioxide Fire Fighting Procedures: Use water to keep fire-exposed container cool.
- Wear a self-contained positive pressure breathing apparatus and full protective gear to fight fire. Cool with water spray.
- Special Fire and Explosion Hazard: None expected.
HEALTH HAZARD
This product does not contain any components considered to be health hazards under the OSHA Hazard Communication Standards 29CFR 1910.1200 or under the WHMIS Controlled Product Regulations in Canada.
- Effects on exposure: Prolonged or repeated skin contact may tend to remove natural skin oils, thus leading to possible irritation and dermatitis. Medical Conditions Generally Aggravated by Exposure: May aggravate the previous skin condition.
- Skin Contact: With repeated contact, a skin defatted. May develop redness or mild irritation.
- Skin Absorption: Not established
- Ingestion (Acute): Can cause gastrointestinal irritation. No hazard is expected in normal use.
- Eyes: Mild irritation.
- Systemic & Other Effects: Not established.
REACTIVITY DATA
- Stability: Stable under normal storage conditions
- Incompatibility: Avoid contact with strong oxidizers such as liquid chlorine, concentrated oxygen, sodium hypochlorite or calcium hypochlorite.
- Hazardous Decomposition: Burning will produce toxic fumes.
- Hazardous Polymerization: Will not occur under normal conditions Conditions to Avoid: Open flames.
HANDLING AND STORAGE
- Exposure Guidelines: Not Established. OSHA TLV/TWA 5mg/m³ oil mist can be used.
- Ventilation: Local exhaust to capture vapor, mist or fumes, if necessary.
- Respiratory Protection: Use NIOSH-approved equipment: filter, fume or mist respirator under misty conditions.
- Skin Protection: For prolonged use, use chemical-resistant gloves to minimize skin contact.
- Eye Protection: Use safety glasses with side shields.
- Special Handling: If splashing occurs, use apron. Do not get in eyes, on skin or on clothing. Wash thoroughly after handling.
- Storage: Store in a cool, dry place. Keep containers closed when not in use.
ENVIRONMENTAL AND DISPOSAL INFORMATION:
Steps to be Taken in Case of Spills: Ventilate area. Prevent spread of spill. Absorb with sand or an inert, absorbing material. Sweep or scoop up and place in a disposal container. Do not contaminate any lakes, ponds, streams, ground water or soil. Waste Disposal Method: Dispose of in accordance with local, state or federal laws.
FIRST AID
- Eyes: Flush with water for at least 15 minutes. Hold eyelids open while flushing. If irritation persists get medical attention.
- Skin: Remove contaminated clothing and wash skin thoroughly with soap and water.
- Ingestion: Drink 8-10 ounces of water. Do not induce vomiting. Get medical attention immediately.
- Inhalation: Remove to fresh air. Get medical attention if discomfort persists.
PREPARED BY: Ingersoll
NOTE: This information is furnished without warranty, representation, inducement or license of any kind, except that it is accurate to the best of Ingersoll Rand’s knowledge or obtained from sources believed by Ingersoll Rand to be accurate, and Ingersoll Rand does not assume any legal responsibility for use or reliance upon same. Customers are encouraged to conduct their own tests. Before using any product, READ ITS LABEL.
Chemical Spill Emergency call
- Telephone: 1-800-424-9300
- Telex: 572584 IRACDSN DVDS
- 800-B Beaty Street
- Davidson, NC 28036






















