
1 TURN ON

2 FOLLOW PROMPTS
3 PRESS SHOCK BUTTON IF INSTRUCTED
AED Trainer | XFT-120C+ | Rev. 10
with Replaceable Language/Scenario Card
Directions for Use
- Thank you for purchasing XFT® AED Training Unit
- Please read the instruction manual carefully and thoroughly before operating this device
- Also please keep it available for future reference
Directions for Use

Product Introduction
The XFT-120C+ AED Trainer is designed to effectively train emergency responders in the use of an Automatic External Defibrillator (AED). This training unit provides a variety of pre-programmed scenarios to help responders become familiar with an AED and allow them to demonstrate the basic skills necessary to use an AED in an emergency.
XFT-120C+ AED Trainer provides simulated shock delivery. To ensure safety during training, it has no high-voltage capabilities, and cannot deliver a shock.
NOTE: Before using a real clinical AED, the responder should have completed an appropriate responder training program. Having completed such a course, they should demonstrate a proficiency in performing Basic Life Support skills; and knowledge of applicable medical protocols and procedures.
Set Language
Insert the plug-in card to install language

A replaceable language/scenario card is included. Users can purchase the basic unit, and then buy additional plug-in cards separately for different languages, such as English, Spanish, Italian, Dutch etc New cards will become available to support any change to AED Guidelines.
Overview
Product Contents:
Main Body, Remote Control, Plug-in Card,Training Pads, Wire Connectors, Instruction Manual, Storage Bag, Adapter.



- ON/OFF Button
- Pads Connector Socket
- Scenario Selection / Up
- Scenario Selection / Down
- Volume Control
- Shock Button
- DC input
- Audio out
- Pause / Play
- Language Selection
- Operating Scenario Display (LED)
- Metronome(LED)
AED Trainer Main Body
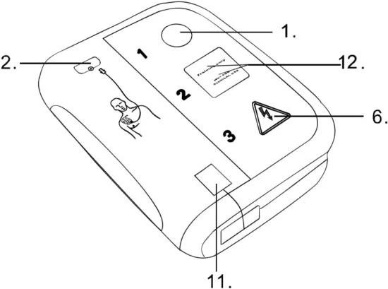
1. ON/OFF Button
Turn unit on and initiate voice prompts. Press once to turn on. Press again to turn off.
2. Pads Connector Socket
Insert the training pads connector into the pads connector socket. The LED flashes to indicate the socket location. The LED is covered when the defibrillator pad connector is properly inserted in the socket.
3. Scenario Selection / Up
Press this button, the display prompts scenario selection from 0 to 9.
4. Scenario Selection / Down
Press this button, the display prompts scenario selection from 9 to 0.
5. Volume Control
Control the voice prompt volume during use.
6. Shock button
Activate simulated shock delivery. The button flashes when the unit is ready to deliver a simulated shock.
7. DC input
To enable the AED Trainer to run from Mains Power.
Please use the adapter with DC4.5V/300mA.
(Note: Don’t use batteries while an adapter is connected)
8. Audio out
All external speakers can be connected to the AED Trainer.
DC INPUT AUDIO OUT

9. Pause/Play
The pause function can temporarily stop all operations of the unit.
Press once to pause. Press again to continue playing.
10. Language Selection
The XFT-120C+ AED Trainer can be bilingual. The user can change voice prompts in different language by this toggle switch. “
” or “
” will be displayed in the LED display window.
11. Operating Scenario Display (LED)
Display selected scenario number.
12. Metronome(LED)
Flash lights when the unit is counting out the 2 minutes during CPR.
Automatic Shut Off
- Under the 10 scenarios, if there is no operation after 5 cycles, the AED Trainer will be turned off automatically.
- If the remote control is used to simulate a shockable or a non-shockable rhythm, the AED Trainer will be turned off if there is no operation after 5 cycles.
- Low battery:
During the operation, if low power is detected, the AED Trainer will be turned off automatically after 10 seconds. - When paused with no operation, the AED Trainer will be turned off after 8 minutes.
Remote Control
Control buttons functions are described below (please refer to the diagram).

- Select scenarios by numbers
- Scenario selection/Up&Down
- Play
- Pause
- PRE-CONNECT activate key
- Simulate good electrodes connection
- Simulate loose electrodes connection
- Simulate motion artifact
- Simulate a shockable rhythm (defibrillate)
- Simulate a non-shockable rhythm (non-defibrillate)
- Semi auto/Fully auto scenarios selection
- Low battery
- Error button
1. Scenario Selection
Select scenarios by numbers.
2. Scenarios Selection / Up&Down
When either of these buttons are pressed, the display prompts a change in scenario selection.
3. Play Button: Resumes the activity from the point at which it was paused.
4. Pause Button: Freezes all activity in the trainer. Pause is indicated by “
” in the LED display window.
5. PRE-CONNECT activate key (optional)
Only used for Semi auto /Fully auto selectable program.
Before the user turns unit on, if the pads have been connected firmly, it will be Pre-connect Semi Auto or Pre-connect Fully Auto.
The voice prompts will not continue unless the”PRE-CONNECTED activate key” has been pressed.
6. Simulate good electrodes connection
During the training, if this button is pressed, “
” will be displayed on the main body. It simulates good electrodes connection. The user can choose related scenarios to practice.
7. Simulate loose electrodes connection
During the training, if this button is pressed, “
” will be displayed on the main body. It simulates loose electrodes connection. The user can choose related scenarios to practice.
8. Simulate motion artifact
During the training, if this button is pressed, “
” will be displayed on the main body.
9. Simulate a shockable rhythm
During the training, if this button is pressed, “
” will be displayed on the main body. It simulates a shockable rhythm. The user can choose related scenarios to practice.
10. Simulate a non-shockable rhythm
During the training, if this button is pressed, “
” will be displayed on the main body. It simulates a non-shockable rhythm. The user can choose related scenarios to practice.
11. Semi auto/Fully auto scenarios selection (optional)
Select between semi automatic scenarios and fully automatic scenarios.
12 . Low Battery
During the training, if this button is pressed, “
” will be displayed on the main body. A voice prompts “low battery, and then the current scenario is continued.
13 Error Button
During the training, if this button is pressed, it gives ” tick ” sound, and “
” is displayed on the main body, the voice prompts are stopped, the ” Tick ” sound is given again after 10 seconds and will be continued until the AED Trainer is turned off.
Other Components
Training Pads Wire Connector Plug-in card

Instruction Manual Storage Bag

Battery Insertion
1) Open the battery compartment following the arrowhead direction.
2) Put in 3 AA batteries, and note the polarity. (Note: The real clinical AED maybe use different batteries.)
3) Reposition the battery compartment’s cover.
4) Please use good quality batteries , to avoid malfunctions caused by leakage.
5) The AED Trainer prompts users to replace batteries when the run low.

Training Pads
– Adult


– Child


Note: The training pads are for training use only and will not function with an actual clinical AED.
Operating Instruction
First, turn on the trainer and select a training scenario
Turn on the unit, then press the scenario selection button to select a preprogrammed training scenario, The operating scenario is displayed in the LED display window.
Note: The last setting will be stored and maintained even if the unit has been turned off.

Second, connect pads
1) Take out the training pads.
2) Connect the wire with training pads.
3) Place pads on the chest in the position shown on the pad diagrams. Remember, the Yellow connector is for the Adult pads and the Pink connector is for Paediatric pads.
4) When prompted, plug the connector to the AED Trainer using the socket with a flashing orange LED.
(1) (2)


(3) (4)

Note:
- Don’t bend or stretch wires excessively.
- Please hold the pad connector when pulling it out of the trainer.
Third, follow the voice prompts
According to the selected scenario, operate the trainer by following the voice prompts.

Storage Guidance
Pad Maintenance
- Keep the Gel side of pads clean and free of dust.
- After use, please stick pads with their original cover.
- If the stickiness of pads declines, users can try washing the pads with water for a few seconds, and then leaving to dry thoroughly.
- Don’t wipe the Gel side of pads with paper and cloth.
- Don’t scrape the Gel side of pads with nail and brush.
- The pads should last for several training sessions.
- Don’t wash pads frequently, and don’t use detergent and hot water.
- Don’t store pads in places subjected to direct sunlight, high temperature or humidity.
Main Body Maintenance
- Wipe clean the main body routinely.
- After shutting off power, make sure to pull out the pad connector from the main body.
- If the main body is dirty, use a soft damp cloth with water or neutral detergent and wipe softly. If necessary, clean or sterilize it with a cloth soaked in medical alcohol (75% concentration max ).
- Do not use abrasive cleaning substances.
- Use only damp non-abrasive cloth for cleaning. Do not soak the AED training unit with any fluid.
Storage Precautions
- Do not store near spirits or gasoline.
- Do not store in locations subjected to direct sunlight, high temperature, moisture, dust or corrosive gas.
- Store the main body, electrode pads, wire leads and instruction manual in the bag provided.
* Failure to comply with the above instructions may void the warranty.
10 Pre-programmed Scenarios
10 preprogrammed scenarios in XFT-120C+ AED Trainer.
| Scenarios | Description | Operation |
0 | Ventricular Fibrillation- With single-shock conversion | Shockable rhythm 1 shock Non-shockable rhythm |
1 | Ventricular Fibrillation- With multiple shocks required for conversion | Shockable rhythm 4 shocks Non-shockable rhythm |
2 | Troubleshooting Skills- Defibrillation pads | Poor pad connection Shockable rhythm 1 shock Non-shockable rhythm |
3 | Ventricular Fibrillation- With two shocks required for conversion | Shockable rhythm 2 shock Non-shockable rhythm |
4 | Non-Shockable Rhythm | Non-shockable rhythm throughout |
5 | Ventricular Fibrillation- With two shocks required for conversion | Shockable rhythm 2 shocks Non-shockable rhythm |
6 | Ventricular Fibrillation- With three shocks required for conversion | Shockable rhythm 3 shocks Non-shockable rhythm |
7 | Troubleshooting Skills- Defibrillation pads with two shocks required for conversion | Poor pad connection Shockable rhythm 2 shocks Non-shockable rhythm |
8 | Ventricular Fibrillation | Ventricular fibrillation throughout |
9 | Troubleshooting Skills- Motion, low battery, with one shock required for conversion | Motion artifacts Shockable rhythm 1 shock Non-shockable rhythm Battery low |
Replacement of the Language/Scenarios Card
Note: Please take out the batteries before replace the card.
1. Remove the battery cover. Unscrew the two screws on the compartment cover to access the plug in card.

2. Use left hand to buttress the trainer body, put the thumb of right hand on the upper left side, push sideways hard to take out of the card.

3. As showed in the following figure, use right hand to grip the card, to push inward firmly.

4. Replace the compartment cover and the main battery cover. Turn on the unit to test. If an error occurs, unplug the card and push in again.

Specification and Product Contents
Model No. : XFT-120C+
Name: AED Trainer with Replaceable Language/Scenario Card
Power Supply: DC 4.5V / 3*AA battery
Product Size: 190*150*46mm
Static Current: <10μA
Maximum Current: <300mA
Remote Control
Power Supply: DC 3V / 2*AAA battery
Static Current: <5 μA
Maximum Current: <10mA
Product Contents:
NO. | Contents | Quantity | Unit | Remark |
1 | Main Body | 1 | pc | |
2 | Plug-in Card | 1 | pc | |
3 | Remote Control | 1 | pc | |
4 | Wire Connector | 2 | pcs | 1 yellow connector,1 pink connector |
5 | Adult Pads | 1 | pair | These pads can be used repeatedly |
6 | Child Pads | 1 | pair | These pads can be used repeatedly |
7 | Instruction Manual | 1 | pc | |
8 | Storage Bag | 1 | pc | Nylon bag |
9 | Adapter | 1 | pc | DC4.5V / 300mA |
Vertrieb/Distributed by:
SANISMART GmbH
Zum Schacht 8
45731 Waltrop, Germany
Tel: +49 2309 649 95 09
Fax: +49 2309 649 55 75
[email protected]
www.sanismart.de
Manufacturer: Shenzhen XFT Medical Limited
Tel: 86-755-2988 8818 Fax: 86-755-2831 2625
Web: www.xft-china.com Mail: [email protected]
Date: 2018/04/12
Doc. no.: XFT-120C+(10)-A
Version: C


















