MaxLite MLVT Series MLVT24D30WCSCR ArcMax LED Troffer Instruction Manual
Operating Instructions
General Safety Information
- To reduce the risk of death, personal injury or property damage from fire, electric shock, falling parts, cuts/abrasions, and other hazards read all warnings and instructions included with and on the fixture box and all fixture labels.
- Before installing, servicing, or performing routine maintenance upon this equipment, follow these general precautions.
- Commercial installation, service and maintenance of luminaires should be performed by a qualified licensed electrician.
- For Residential installation: If you are unsure about the installation or maintenance of the luminaires, consult a qualified licensed electrician and check your local electrical code.
- DO NOT INSTALL DAMAGED PRODUCT
- This fixture is intended to be connected to a properly installed and grounded UL listed junction box.
WARNING:
- Risk of Fire – Supply conductors (power wires) connecting the fixture must be rated minimum 90℃.
If uncertain consult an electrician. - Risk of fire or electric shock. installation requires knowledge of luminaires electrical systems.
- Risk of Fire/Electric Shock – If not qualified, do not attempt installation. Contact a qualified electrician.
- Do not use in high humidity conditions.
- Keep away from flammable and explosive environment.
- Don’t cover the fixture with insulation liner or similar material.
- Don’t install where fixture is loose or only partially supported.
- Don’t impact or exert pressure on the fixture surface face or rear, as damage may occur.
- This product must be installed in accordance with the applicable installation code by a person familiar with the construction and operation of the product and the harzards involved
- Vapor barrier must be suitable for 90°C
CAUTION:
- For your safety read and understand instructions completely before starting installation.
- To prevent wiring damage or abrasion, do not expose wiring to edges of sheet metal or other sharp objects.
- Before attempting installation, check your local electrical code, as it sets the wiring standards for your locality
NOTES:
- If luminaire (fixture) is to be switched from a wall switch, make sure black power supply wire is connected to the switch. DO NOT connect the white supply wire to the switch.
- Make certain no bare wires are exposed outside the wire nut connectors.
- Do not make or alter any open holes in an enclosure of wiring or electrical components during kit installation.
Illustrations on the manual are for installation purposes only.
It may not be identical to the fixture purchased.
Models:
This instruction manual applies to the ArcMax (MLVT) Series
Included in the box:
- LED Troffer Fixture
- Instructions
Accessories sold separately:
- Flange Kit: ML14G4FK / ML22G4FK / ML24G4FK
- Surface Mount Kit: MLVT14SMK / MLVT22SMK / MLVT24SMK
- Cable Kit: MLG4CHK / ML2G4CHK
Setting Color Temperature & Wattage
Note: Applicable to models ending in WCS. Models are shipped at the lowest wattage at 4000K by default.
Color settings:
- Left, stands for 3500K;
- Middle, stands for 4000K;
- Right, stands for 5000K;

Wattage settings:
- Left, stands for Low;
- Middle, stands for Medium;
- Right, stands for High;

Color Select Models – Setting Color Temperature
Note: Applicable to models ending in CS. Wattage switch not available.
Color settings:
- Left, stands for 3500K;
- Middle, stands for 4000K;
- Right, stands for 5000K;

Standard Installation Instructions
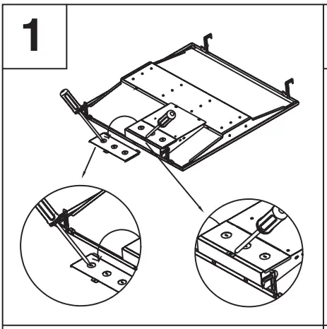
- Remove the original ceiling tile for the troffer.

- Loosen the screw in the backside cover of the driver with screw driver.
Using screw driver (flat) enter in the rectangular groove on knockout. Pull in the right or left side directions until the knockout comes off enabling you to proceed with the wiring connections.
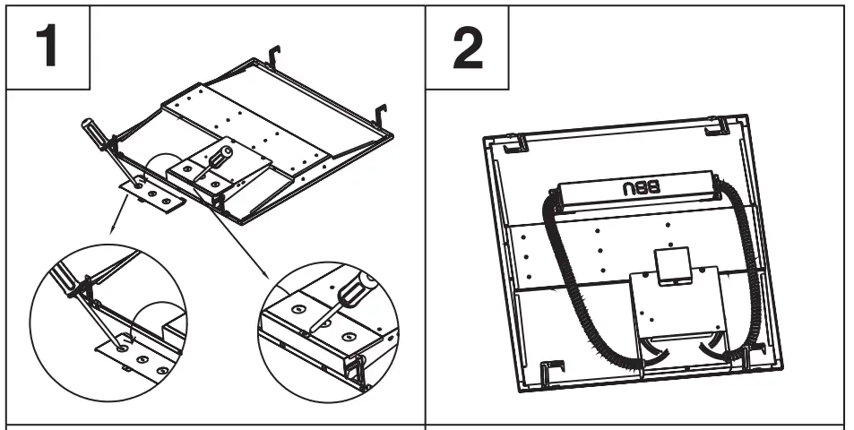
- Use the following wiring diagram.
Make sure the connection is reliable and solid. After the power is checked, install the screw back to the backside cover board with screw driver. Energize light fixture.
- Adjusted appropriate location in the T bar.

Standard Wiring Diagram

Note: Leave orange wire capped.
Note: Dimming wires to 0-10V IEC Compliant Control.
Motion Sensor Model Installation Instructions
- Use a screw driver to open the junction box and remove the desired knockout.

- Feed the supply wire through the junction box.

- Connect the luminaire to power using the above wiring diagram. Connect the hot to the black line wire, connect the common/neutral wire to the white neutral wire, and connect the green wire to ground.

Emergency Backup Model Installation Instructions
- Use a screw driver to open the junction box and remove the desired knockout.
- Feed the power supply wires through the desired knockout of the junction box.


Surface Mount Installation (Sold Separately)
Surface mount kits sold separately:
- MLVT14SMK
- MLVT22SMK
- MLVT24SMK
(Not for use on EM models)
- Fix A1/A2/B1/B2 by screws, make it a complete frame. Loosen the screws at B1 as they will come off in step 3.
- Fix the frame at the ceiling
- Unscrew B1 and take down the single frame.
- Push the luminaire up into the frame seamlessly
- Add screw at B1.
- Installation is complete.

Surface Mount & Cable Installation (Sold Separately)
Cable kits sold separately:
- MLG4CHK
- ML2G4CHK
- Drill two holes into the ceiling and put the anchors into the hole. Next, insert the wire rope and screw.
- Fasten the wire rope to the ceiling.
- Push the luminaire up into the frame seamlessly
- Add screw at B1
- Hook the four holes of the frame with the four hooks of the wire rope.
- Installation is complete.

Flange Installation
Flange sold separately:
- ML14G4FK
- ML22G4FK
- ML24G4FK
The Recess Troffer Flange Mounting Kit is designed for recess installation in drywall ceiling applications.
Dimensions

|
Item # | Flange Kit Size After Assembly (inches) | Ceiling Cut Out Size (inches) | ||||||
| A (Width) | B (Width) | C (Width) | D (Length) | E (Length) | F (Length) | A+1/4” (Width) | D+1/4” (Length) | |
| ML14G4FK | 12.84” | 13.5” | 11.35” | 48.66” | 49.36” | 47.2” | 13.09” | 48.91” |
| ML22G4FK | 24.65” | 25.31” | 23.16” | 24.65” | 25.3” | 23.1” | 24.90” | 24.90” |
| ML24G4FK | 24.65” | 25.31” | 23.16” | 48.66” | 49.36” | 47.2” | 24.90” | 48.91” |
Installation Instructions
- For installation in plaster ceilings, cut an opening of the appropriate size, and then connect the panel light to an incoming power line.
- Rotate the panel light by 45 degrees.
- Pass the panel through the ceiling surface.
- Lay in the panel light on the ceiling or grid.

Wire Support

Controls Ready (CR) Model Standard Wiring Diagram
Warning
Risk of fire or electric shock, installation requires knowledge of the lighting luminaires electrical systems. If not qualified, do not attempt installation and contact a qualified electrician.

Note: Leave orange wire capped
Controls Ready (CR) Model Daisy-Chained Wiring Diagram

Note: Leave orange wire capped
- Remove Dim+ and Dim- from the USB-C receptacle from the Child-Fixtures to connect to the Dim+, Dimof the parent fixture.
- The USB-C receptacle will no longer function on the Child-Fixtures.
- No more then 8 fixtures total when daisy chaining.
c-Max™ node Installation Instructions (Applicable only on CR models)
- Remove the silicone plugs from the USB-C receptacle and the screw hole (see Fig. 1).

- Plug the c-Max™ into the USB-C receptacle via the USB connection (see Fig. 2).

- Secure the c-Max™ node in place by fastening the included M3 button head screw with a Hex (Allen) key (not included). Once the screw is secured, cover it with the included silicone cap (see Fig. 3 – drawing for illustration only, actual screw may look different.)

Note: For samples including a hex screw, use a 2.5mm Allen key or SAE equivalent 3/32.
Note: In motion sensor models, the USB-C receptacle if present would no longer be functional.
Warranty Information
Warranty Information
10-Year standard warranty with labor allowance*
(see terms at www.maxlite.com/warranties)
- Warranty Limitations: Product must be rated for application per the Product Data Sheet (PDS); operated ≤16 hrs.; in ambient temperatures -4°F to 77°F.
- Up to $25/unit; registration required. Additional coverage may be available for purchase; contact Max Lite.
- Excludes EM/MS versions; component warranty applies.
- If ambient temperatures fall outside the -4°F to 77°F range; product is warrantied for 5 years according to the operating temperature range specified on the PDS
Limitation of Liability
THE FOREGOING WARRANTY IS EXCLUSIVE, AND IS THE SOLE REMEDY FOR ANY AND ALL CLAIMS, WHETHER IN CONTRACT, IN TORT OR OTHERWISE ARISING FROM THE FAILURE OF PRODUCT AND IS IN LIEU OF ALL OTHER WARRANTIES, EXPRESS OR IMPLIED, INCLUDING ALL WARRANTIES OF MERCHANTABILITY OR FITNESS FOR A PARTICULAR PURPOSE, WHICH WARRANTIES ARE HEREBY EXPRESSLY DISCLAIMED TO THE EXTENT PERMITTED BY LAW AND, IN ANY EVENT, SHALL BE LIMITED TO THE WARRANTY PERIOD SPECIFIED ABOVE. THE LIABILITY OF MAXLITE SHALL BE LIMITED TO THE TERMS OF THE EXPRESS WARRANTY SET FORTH HEREIN. IN NO EVENT WILL MAXLITE BE LIABLE FOR ANY SPECIAL, INCIDENTAL OR CONSEQUENTIAL DAMAGES INCLUDING, WITHOUT LIMITATION, DAMAGES RESULTING FROM LOSS OF USE, PROFITS, BUSINESS OR GOODWILL, LABOR COSTS, EMOVAL OR INSTALLATION COSTS, DECREASE IN THE LIGHT OUTPUT OF THE LAMP, AND/OR DETERIORATION IN THE LAMP’S PERFORMANCE, WHETHER OR NOT MAXLITE HAS BEEN ADVISED OF THE POSSIBILITY THEREOF. UNDER NO CIRCUMSTANCES SHALL MAXLITE’S ENTIRE LIABILITY FOR A DEFECTIVE PRODUCT EXCEED THE PURCHASE PRICE OF THAT PRODUCT. WARRANTY SERVICES PROVIDED UNDER THESE TERMS AND CONDITIONS DO NOT ENSURE THE UNINTERRUPTED OPERATION OF PRODUCTS; MAXLITE SHALL NOT BE LIABLE FOR DAMAGES CAUSED BY ANY DELAYS INVOLVING WARRANTY SERVICE.
This Limited Warranty gives you specific legal rights and you may also have other rights that may vary from state to state. Because some states or jurisdictions do not allow the exclusion or limitation of liability for consequential or incidental damages, this limitation may not apply to you.





































