MAXLITE LED Medium Area Light 
General Safety Information
- This fixture is designed for outdoor lighting service, and should not be used in areas of limited ventilation, or in high ambient temperatures.
- Before installing light fixtures, read and understand all cautions, warnings, instructions, and product labels. Failure to do so could
result in injury and/or void the warranty. - Installation should be done by a qualified electrician. Make sure power is OFF before installing or maintaining fixture.
- Risk of injury or damage. Unit will fall if not installed properly.
- Follow installation instructions.
- To reduce the risk of death, personal injury or property damage from fire, electric shock, falling parts, cuts/abrasions, and other hazards read all warnings and instructions included with and on the fixture box and all fixture labels.
- Before installing, servicing, or performing routine maintenance upon this equipment, follow these general precautions.
- Commercial installation, service and maintenance of luminaires
should be performed by a qualified licensed electrician. - DO NOT INSTALL DAMAGED PRODUCTS!
- This fixture is intended to be connected to a properly installed and grounded UL-listed junction box.
WARNING:
RISK OF ELECTRICAL SHOCK - Turn off electrical power at fuse or circuit breaker box before wiring fixture to the power supply.
- Turn off the power when you perform any maintenance.
- Verify that the supply voltage is correct by comparing it with the luminaire label information.
- Make all electrical and grounded connections in accordance with the National Electrical Code and any applicable local code requirements.
- All wiring connections should be capped with UL-approved wire connectors.
CAUTION:
RISK OF INJURY - The unit will fall if not installed properly. Follow installation instructions.
- Wear gloves and safety glasses at all times when removing luminaire from carton, installing, servicing or performing maintenance.
- Avoid direct eye exposure to the light source while it is on.
- Account for small parts and destroy packing material, as these may be hazardous to children.
CAUTION:
RISK OF FIRE - Keep combustible and other materials that can burn away from luminaire and lamp/lens.
- MIN 90°C SUPPLY CONDUCTORS
Models:
Example: AR60, AR75, AR100, AR145, AR200, and AR310 Series - Operating characteristics:
Operating temperature: -40°C to 40°C
Input voltage range: 100-277Vac, 277-480Vac, 50/60Hz
Setting Color Temperature
- Remove the 1/2 NPT knock-out plug from the driver compartment cover (see FIG. A).

- Adjust the CCT switch to the desired CCT and replace the 1/2 NPT plug. Make sure that the plug and gasket are closed tightly to prevent water leaks (see FIG. B).

Follow the appropriate installation instructions based on your selected mounting method:
- Flexible Arm mounting
- Slipfitter mounting
- Fixed Arm mounting
- Trunnion mounting
- Wall mounting with bracket
Installation & Operation
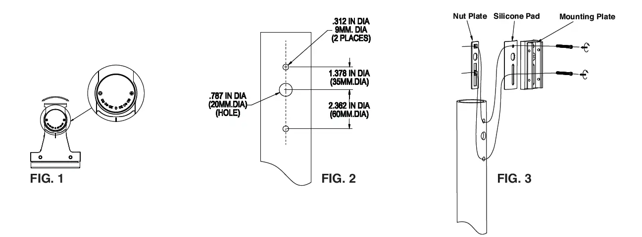
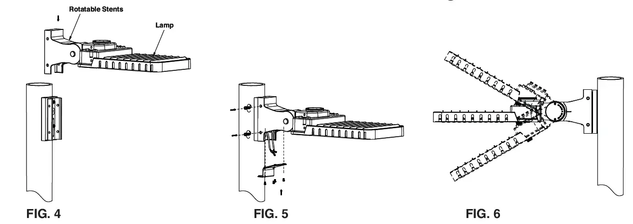
Flexible Arm Mounting:
This fixture can be mounted to a pole with an adapter mounting plate that is included. The flexible arm can be aimed 0 to 60° both
upward and downward in 20° increments (see FIG. 1). The mounting plate has a slot pattern that will cover many existing hole patterns on poles, install in accordance with FIG. 3. If there is no existing hole pattern or the holes are outside of the slot range on the pole, drill holes according to the pattern in FIG. 2.
Different adapters are available, including square pole adapter, 3” round pole adapter (RPA), 4” RPA, and 5” RPA.
- Tighten the nut plate and adapter on the pole. (See FIG. 3)
- Insert the fixture into the adapter. (See FIG. 4)
- Tighten the 4pcs M8 *20 bolts on the flexible arm and secure it to the adapter. Connect the power leads properly according to the wiring diagrams below. Make wiring connections inside the flexible arm, and tighten the bottom cover with 4pcs M4*12 screws (see FIG. 5). The wiring connections can also be made inside the pole.
- To aim the fixture, loosen the M12x40 center knuckle bolt on the arm, adjust the aim 0 to 60° both upward and downward
(see FIG. 6) - Inspect installation to ensure fixture is secure.


Slipfitter Mounting:
This fixture can be mounted 0 to 60° in either direction aiming in 20 increments (see FIG. 7)
- Connect the power leads properly, make the wiring connections (see Wiring Diagrams below) and lay the wires in the pole. Once completed, insert the slipfitter onto the pole (see FIG. 8).
- Tighten the four M8x25 bolts on the slipfitter and secure it to the pole (see FIG. 9).
- To aim the fixture, loosen the M12x40 center knuckle bolt on the arm, adjust the aim 0 to 60° in either direction (see FIG. 10)
- Inspect installation to ensure fixture is secure.

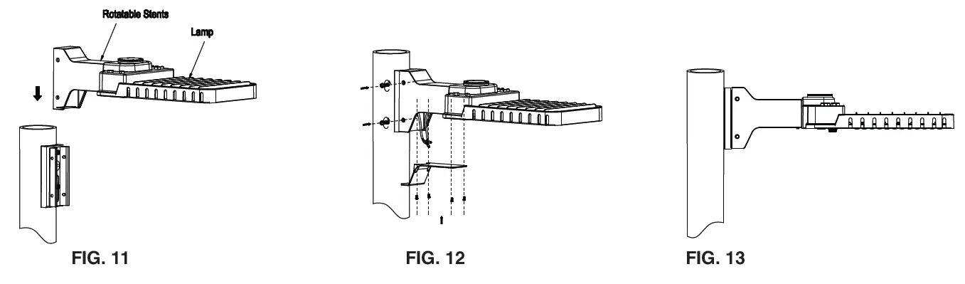
Fixed Arm Mounting:
This fixture can be mounted to a pole with an adapter mounting plate that is included. The mounting plate has a slot pattern that
will cover many existing hole patterns on poles, install in accordance with FIG. 3. If there is no existing hole pattern or the holes are outside of the slot range on the pole, drill holes according to the pattern in FIG. 2.
Different adapters are available, including square pole adapter, 3”round pole adapter (RPA), 4”RPA, and 5”RPA.
- Tighten the nut plate and adapter on the pole. (see FIG. 3)
- Insert the fixture onto the adapter (see. FIG. 11)
- Tighten the four M8*20 bolts on the fixed arm and secure it to the adapter. Connect the power leads properly (see Wiring Diagrams below), make wiring connections inside the fixed arm, and secure the bottom cover with screws (see FIG. 12). The wiring connections can also be made inside the pole.
- Inspect installation to ensure fixture is secure.

Trunnion Mounting:
This fixture can be mounted to a tenon pole or tenon adapter.
- Tighten the fixture to the tenon pole or tenon adapter by two M12 bolts (see FIG. 14).
- Loosen the center bolts and the adjusting screws on the sides of the trunnion mount. Adjust the fixture to the desired angle, maximum is 60° (see FIG. 15).
- Make wiring connections (see Wiring Diagrams below).
- Inspect installation to ensure fixture is secure.

Wall Mounting Bracket:
The fixture can be configured to mount to wall.
- Loosen the 4 M5*12 screws as FIG. 16, then take off the back plate of the bracket.
- If the wires need to go through the 1/2 NPT knockout hole on the bracket back plate, remove the knockout plug.
- Drill holes on the bracket back plate based on the junction box pattern used in the application. Fix the bracket back plate to the wall with four screws (see FIG. 17)
- Fix one end of the metal cord to the bracket back plate with a screw, and attach the other end of the cord to the fixture
(see FIG. 18). This is for safety while making wiring connections and can be removed afterwards. - Connect the power leads to the driver compartment. Take off the metal cord from the bottom bracket and fixture. Tighten the fixture to the wall by the 4 M5*12 Screws. (see FIG. 19).
- Use side knockout hole for conduit installation (see FIG. 20).
- Remove the mount cover plate and loosen the center bolt to adjust the mount to the desired angle (see FIG. 21).
- Inspect installation to ensure fixture is secure.

Wiring Instructions
CAUTION: Make sure power is OFF before replacing or disassembling fixture. Make sure the wiring is correct and properly connected before switching on power.
Note:
- Verify that supply voltage is correct by comparing it to claimed voltage on the product label.
- All Wiring inside the fixture use WAGO connector of 5 PIN, 3 PIN and 2 PIN (See FIG. 22). If need to remove or replace any component in the driver compartment, please keep the WAGO connector for future use.
- The FIG. 23 to FIG. 26 demonstrates the interior wiring of four different configurations in the driver compartment (When need to remove or replace any component in the driver compartment, please refer to the below wiring FIG. 25 to FIG. 28 and base on the actual condition, resume using the fixture by wire connecting).
- Disconnect the AC power supply to prevent electric shock when making wiring or installation, removing or replacing any component in the fixture. Make sure to use WAGO connector properly to ensure proper and secure wiring, make sure of correct wiring before restoring power supply to light up the fixture.

Fixture Wiring Diagram
- FIG. 23 is for wirings when only one LED driver is used in driver compartment, no options.
NOTE: The Vaux- wire is only on AR200 and AR310 models. - FIG. 24 is for wirings when photocell sensor is used

NOTE: The Vaux- wire is only on AR200 and AR310 models. - FIG. 25 is for wirings when motion sensor is used.

NOTE: The Vaux- wire is only on AR200 and AR310 models. - FIG. 26 is for wirings when motion sensor and photocell sensor are used.
NOTE: The Vaux- wire is only on AR200 and AR310 models.
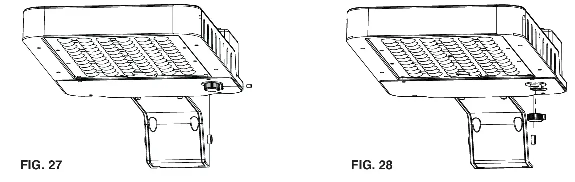
c-Max™ node Installation Instructions (Applicable only on CR models)
- Remove the set screw from the round c- Max™ USB-C receptacle with 1.5M Allen Wrench. (see FIG. 27).
- Remove the USB-C receptacle cover by turning it 90° (see FIG. 28).

- Plug the c-Max™ control node into the USB-C receptacle (see FIG. 29).
- Rotate the outer ring until the arrows align (see FIG. 30).

- Secure the control node in place with the provided set screw. (1.5M Allen Wrench.)
Maintenance
The unit is designed for years with minimum care. For optimum performance, periodically clean lens with a mild, non-abrasive glass cleaner and soft cloth. Do NOT use solvents or cleaners containing abrasive agents. When cleaning the fixture, make sure you have the power turned off and do not spray liquid cleaner directly onto the LED, or wiring.
Warranty Information
MaxLite Inc. warrants its products for a minimum period of TEN (10) years from the date of original purchase from MaxLite or its authorized distributor/dealer (the “Warranty Period”), as follows: If a Product fails to operate during the Warranty Period as a result of defects in materials or workmanship, MaxLite will, at its option, repair it, replace it with the same or like Product.
Please refer to Maxlite’s website (at http://maxlite.com/resources/warranties) for the complete
terms and conditions of our warranty.
Limitation of Liability
THE FOREGOING WARRANTY IS EXCLUSIVE, AND IS THE SOLE REMEDY FOR ANY AND ALL CLAIMS, WHETHER IN CONTRACT, IN TORT OR OTHERWISE ARISING FROM THE FAILURE OF PRODUCT AND IS IN LIEU OF ALL OTHER WARRANTIES, EXPRESS OR IMPLIED, INCLUDING ALL WARRANTIES OF MERCHANTABILITY OR FITNESS FOR A PARTICULAR PURPOSE, WHICH WARRANTIES ARE HEREBY EXPRESSLY DISCLAIMED TO THE EXTENT PERMITTED BY LAW AND, IN ANY EVENT, SHALL BE LIMITED TO THE WARRANTY PERIOD SPECIFIED ABOVE. THE LIABILITY OF MAXLITE SHALL BE LIMITED TO THE TERMS OF THE EXPRESS WARRANTY SET FORTH HEREIN. IN NO EVENT WILL MAXLITE BE LIABLE FOR ANY SPECIAL, INCIDENTAL OR CONSEQUENTIAL DAMAGES INCLUDING, WITHOUT LIMITATION, DAMAGES RESULTING FROM LOSS OF USE, PROFITS, BUSINESS OR GOODWILL, LABOR COSTS, REMOVAL OR INSTALLATION COSTS, DECREASE IN THE LIGHT OUTPUT OF THE LAMP, AND/OR DETERIORATION IN THE LAMP’S PERFORMANCE, WHETHER OR NOT MAXLITE HAS BEEN ADVISED OF THE POSSIBILITY THEREOF. UNDER NO CIRCUMSTANCES SHALL MAXLITE’s ENTIRE LIABILITY FOR A DEFECTIVE PRODUCT EXCEED THE PURCHASE PRICE OF THAT PRODUCT. WARRANTY SERVICES PROVIDED UNDER THESE TERMS AND CONDITIONS DO NOT ENSURE THE UNINTERRUPTED OPERATION OF PRODUCTS; MAXLITE SHALL NOT BE LIABLE FOR DAMAGES CAUSED BY ANY DELAYS INVOLVING WARRANTY SERVICE.
This Limited Warranty gives you specific legal rights and you may also have other rights that may vary from state to state. Because some states or jurisdictions do not allow the exclusion or limitation of liability for consequential or incidental damages, this limitation may not apply to you.
© Copyright 2021. MaxLite, Inc. All Rights Reserved.
12 York Ave, West Caldwell, NJ 07006 Tel: 800-555-5629 Fax: 973-244-7333 Email: [email protected]












NOTE: The Vaux- wire is only on AR200 and AR310 models.

NOTE: The Vaux- wire is only on AR200 and AR310 models.




















