BE16 Voltage Detector
Instruction Manual
Notes regarding the operating manual
Symbols
Warning of electrical voltage
This symbol indicates dangers to the life and health of persons due to electrical voltage.
Warning
This signal word indicates a hazard with an average risk level that, if not avoided, can result in serious injury or death.
Caution
This signal word indicates a hazard with a low-risk level which, if not avoided, can result in minor or moderate injury.
Note
This signal word indicates important information (e.g. material damage), but does not indicate hazards.
Info
Information marked with this symbol helps you to carry out your tasks quickly and safely.
Follow the manual
Information marked with this symbol indicates that the operating manual must be observed.
You can download the current version of the operating manual and the EU declaration of conformity via the following link:
https://hub.trotec.com/?id=41858
Safety
Read this manual carefully before starting or using the device. Always store the manual in the immediate vicinity of the device or its site of use.
Warning
Read all safety warnings and all instructions.
Failure to follow the warnings and instructions may result in electric shock, fire, and/or serious injury.
Save all warnings and instructions for future reference.
- Do not use the device in potentially explosive rooms or areas and do not install it there.
- Do not use the device in an aggressive atmosphere.
- Protect the device from permanent direct sunlight.
- Do not remove any safety signs, stickers, or labels from the device. Keep all safety signs, stickers, and labels in legible condition.
- Do not open the device.
- Observe the storage and operating conditions (see Technical data).
Intended use
Only use the device for detecting alternating voltages whilst adhering to the technical data.
To use the device for its intended use, only use accessories and spare parts which have been approved by Trotec.
Foreseeable misuse
The device is not suitable for the accurate measurement of voltages. Do not try to detect direct current voltages with the device.
The device may not be used in potentially explosive atmospheres, when wet or very humid.
Do not use the device in potentially explosive atmospheres, when wet or very humid.
Unauthorized modifications of the device are forbidden.
Personnel qualifications
People who use this device must:
- master the 5 safety rules
– 1. De-energise
– 2. Secure against restart
– 3. Verify de-energized state (bipolar)
– 4. Earth and short-circuit
– 5. Cover neighboring live parts - use the voltage detector following safe working procedures.
- be aware of the dangers that occur when working with electric devices in damp areas.
- take measures to protect themselves from direct contact with live parts.
- have read and understood the operating manual, especially the Safety chapter.
Residual risks
Warning of electrical voltage
Electric shock due to insufficient insulation! Check the device for damages and proper functioning before each use.
If you detect damages, do not use the device any longer.
Do not use the device when wither the device or your hands are damp or wet!
Do not use the device when the battery compartment or the housing is open.
Warning of electrical voltage
Electric shock due to contact with live parts! Do not touch any live parts. Secure neighboring live parts by covering them or by switching them off.
Warning of electrical voltage
There is a risk of a short-circuit due to liquids penetrating the housing!
Do not immerse the device and the accessories in water. Make sure that no water or other liquids can enter the housing.
Warning of electrical voltage
Work on the electrical components must only be carried out by an authorized specialist company!
Warning
Risk of suffocation!
Do not leave the packaging lying around. Children may use it as a dangerous toy.
Warning
The device is not a toy and does not belong in the hands of children.
Warning
Dangers can occur at the device when it is used by untrained people in an unprofessional or improper way!
Observe the personnel qualifications!
Caution
Keep a sufficient distance from heat sources.
Note
Test the device for proper functioning at a known voltage source before each measurement.
Note
To prevent damage to the device, do not expose it to extreme temperatures, extreme humidity, or moisture.
Note
Do not use abrasive cleaners or solvents to clean the device.
Information about the device
Device description
The voltage detector BE16 detects an alternating voltage (AC) and indicates it to the user via a flashing LED and an acoustic signal.
The device can be used for finding a cable break or determining the presence of alternating voltage in fuses, wires, and cables. Additionally, the measuring device is equipped with an integrated LED torch.
Device depiction

| No. | Designation |
| 1 | Thumbwheel (switch-on/-off, regulation of the measurement sensitivity) |
| 2 | LED torch power button |
| 3 | LED torch |
| 4 | Measuring tip |
| 5 | Battery compartment |
| 6 | Protective collar |
Technical data
| No. | Designation |
| 1 | Thumbwheel (switch-on/-off, regulation of the measurement sensitivity) |
| 2 | LED torch power button |
| 3 | LED torch |
| 4 | Measuring tip |
| 5 | Battery compartment |
| 6 | Protective collar |
Scope of delivery
1 x Voltage detector BE16
2 x 1.5 V battery AAA (Micro)
1 x Quick guide
Transport and storage
Note
If you store or transport the device improperly, the device may be damaged.
Note the information regarding the transport and storage of the device.
Transport
For transporting the device, use the bag included in the scope of delivery in order to protect the device from external influences.
Storage
When the device is not being used, observe the following storage conditions:
- dry and protected from frost and heat
- protected from dust and direct sunlight
- with a cover to protect it from invasive dust if necessary
- the storage temperature complies with the values specified in the Technical data
- Remove the batteries from the device.
Operation
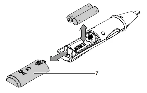
Inserting the batteries
Note
Make sure that the surface of the device is dry and the device is switched off.
Insert the batteries contained in the scope of delivery (2 x 1.5 V AAA) before first use.
Please proceed as follows to insert the batteries into the device:
- Pull the battery compartment cover (7) back.
- Insert the batteries into the battery compartment (5) with the correct polarity.
- Slide the battery compartment cover (7) back onto the device and make sure that it clicks into place.

Switching the device on
- Switch the device on by turning the thumbwheel (1) towards the measuring tip.
Two brief beeps are emitted and the measuring tip (4) lights up twice in red.
Info
After the switch-on, the device’s measurement sensitivity is always set to the maximum of 5 V. Turning the thumbwheel (1) towards the measuring tip reduces the device’s measurement sensitivity.
Note
The device cannot detect AC voltages below 5 V or above 1000 V.
Setting the measurement sensitivity
You can adjust the device’s measurement sensitivity by means of the thumbwheel (1). The device can detect AC voltages between 5 V and 1000 V directly after a switch-on.
Turn the thumbwheel (1) towards the measuring tip of the device in order to reduce the measurement sensitivity. If you have turned the thumbwheel towards the measuring tip all the way to the stop, the device’s measurement sensitivity has been maximally reduced. Now the device can only detect AC voltages of up to 1000 V. With this sensitivity setting the device will no longer respond to low AC voltages.

Checking the device’s functionality before measuring
Charged batteries have been inserted into the device.
- Switch the device on.
The measuring tip (4) flashes twice in red. Two acoustic signals will also be emitted.
Afterward, the indicator LED briefly flashes twice at regular intervals, however, without an acoustic signal. The indicator LED does not flash if the charging status of the inserted batteries is too low. If so, do not perform another measurement and change the batteries immediately!
You can now use the device to detect AC voltages. - Check the voltage detector for proper functioning before each measurement. To do so, hold the measuring tip (4) to a known voltage source.

Detecting AC voltage
After successfully testing the device’s functionality, you can use the device to detect AC voltages. To do so, please proceed as follows:
Charged batteries have been inserted into the device.
The device’s functionality has been tested successfully.
- Switch the device on.
- Select the desired sensitivity level.
- Hold the device near the AC voltage source to be measured.

If there is an AC voltage within the selected sensitivity range present at the source, the measuring tip (4) will flash and a repetitive beep will be emitted.
Switching on the torch
Please proceed as follows to use the torch:
Charged batteries have been inserted into the device.
- Press and hold the LED torch power button (2).
The LED torch (3) will be illuminated for as long as the LED torch power button (2) is pressed. - Let go of the LED torch power button (2) to switch off the LED torch.

Maintenance and repair
Battery change
A battery change is required when the device can no longer be switched on or the result of the function test is negative (see section Inserting the batteries in chapter Operation.).
Cleaning
Clean the device with a soft, damp, and lint-free cloth. Make sure that no moisture enters the housing. Do not use any sprays, solvents, alcohol-based cleaning agents or abrasive cleaners, but only clean water to moisten the cloth.
Repair
Do not modify the device or install any spare parts. For repairs or device testing, contact the manufacturer.
Disposal
The icon with the crossed-out waste bin on waste electrical or electronic equipment stipulates that this equipment must not be disposed of with the household waste at the end of its life. You will find collection points for free return of waste electrical and electronic equipment in your vicinity. The addresses can be obtained from your municipality or local administration. You can also find out about other return options that apply to many EU countries on the website https://hub.trotec.com/?id=45090.
Otherwise, please contact an official recycling center for electronic and electrical equipment authorized for your country.
The separate collection of waste electrical and electronic equipment aims to enable the re-use, recycling, and other forms of recovery of waste equipment as well as to prevent negative effects on the environment and human health caused by the disposal of hazardous substances potentially contained in the equipment.![]()
In the European Union, batteries and accumulators must not be treated as domestic waste but must be disposed of professionally in accordance with Directive 2006/66/EC of the European Parliament and of the Council of 6 September 2006 on batteries and accumulators. Please dispose of batteries and accumulators according to the relevant legal requirements.
Trotec GmbH
Grebbener Str. 7
D-52525 Heinsberg
+49 2452 962-400
+49 2452 962-200
[email protected]
www.trotec.com




















