
GKS Professional ![]()
18V-68 GC I 18V-68 C

Original instructions
![]()
GKS Professional Circular Saw








Safety Instructions
General Power Tool Safety Warnings
WARNING Read all safety warnings, instructions, illustrations, and specifications provided with this power tool. Failure to follow all instructions listed below may result in electric shock, fire, and/ or serious injury.
Save all warnings and instructions for future reference.
The term “power tool” in the warnings refers to your mains-operated (corded) power tool or battery-operated (cordless) power tool.
Work area safety
- Keep work area clean and well-lit. Cluttered or dark areas invite accidents.
- Do not operate power tools in explosive atmospheres, such as in the presence of flammable liquids, gases, or dust. Power tools create sparks which may ignite the dust or fumes.
- Keep children and bystanders away while operating a power tool. Distractions can cause you to lose control.
Electrical safety
- Power tool plugs must match the outlet. Never modify the plug in any way. Do not use any adapter plugs with earthed (grounded) power tools. Unmodified plugs and matching outlets will reduce risk of electric shock.
- Avoid body contact with earthed or grounded surfaces, such as pipes, radiators, ranges, and refrigerators. There is an increased risk of electric shock if your body is earthed or grounded.
- Do not expose power tools to rain or wet conditions. Water entering a power tool will increase the risk of electric shock.
- Do not abuse the cord. Never use the cord for carrying, pulling, or unplugging the power tool. Keep cord away from heat, oil, sharp edges or moving parts. Damaged or entangled cords increase the risk of electric shock.
- When operating a power tool outdoors, use an extension cord suitable for outdoor use. Use of a cord suitable for outdoor use reduces the risk of electric shock.
- If operating a power tool in a damp location is unavoidable, use a residual current device (RCD) protected supply. Use of an RCD reduces the risk of electric shock.
Personal safety
- Stay alert, watch what you are doing, and use common sense when operating a power tool. Do not use a power tool while you are tired or under the influence of drugs, alcohol or medication. A moment of inattention while operating power tools may result in serious personal injury.
- Use personal protective equipment. Always wear eye protection. Protective equipment such as a dust mask, non-skid safety shoes, hard hat or hearing protection used for appropriate conditions will reduce personal injuries.
- Prevent unintentional starting. Ensure the switch is in the off-position before connecting to power source and/or battery pack, picking up or carrying the tool. Carrying power tools with your finger on the switch or energising power tools that have the switch on invites accidents.
- Remove any adjusting key or wrench before turning the power tool on. A wrench or a key left attached to a rotating part of the power tool may result in personal injury.
- Do not overreach. Keep proper footing and balance at all times. This enables better control of the power tool in unexpected situations.
- Dress properly. Do not wear loose clothing or jewellery. Keep your hair and clothing away from moving parts. Loose clothes, jewellery or long hair can be caught in moving parts.
- If devices are provided for the connection of dust extraction and collection facilities, ensure these are connected and properly used. Use of dust collection can reduce dust-related hazards.
- Do not let familiarity gained from frequent use of tools allow you to become complacent and ignore tool safety principles. A careless action can cause severe injury within a fraction of a second.
Power tool use and care
- Do not force the power tool. Use the correct power tool for your application. The correct power tool will do the job better and safer at the rate for which it was designed.
- Do not use the power tool if the switch does not turn it on and off. Any power tool that cannot be controlled with the switch is dangerous and must be repaired.
- Disconnect the plug from the power source and/or remove the battery pack, if detachable, from the power tool before making any adjustments, changing accessories, or storing power tools. Such preventive safety measures reduce the risk of starting the power tool accidentally.
- Store idle power tools out of the reach of children and do not allow persons unfamiliar with the power tool or these instructions to operate the power tool. Power tools are dangerous in the hands of untrained users.
- Maintain power tools and accessories. Check for misalignment or binding of moving parts, breakage of parts, and any other condition that may affect the power tool’s operation. If damaged, have the power tool repaired before use. Many accidents are caused by poorly maintained power tools.
- Keep cutting tools sharp and clean. Properly maintained cutting tools with sharp cutting edges are less likely to bind and are easier to control.
- Use the power tool, accessories and tool bits, etc. in accordance with these instructions, taking into account the working conditions and the work to be performed. Use of the power tool for operations different from those intended could result in a hazardous situation.
- Keep handles and grasping surfaces dry, clean, and free from oil and grease. Slippery handles and grasping surfaces do not allow for safe handling and control of the tool in unexpected situations.
Battery tool use and care
- Recharge only with the charger specified by the manufacturer. A charger that is suitable for one type of battery pack may create a risk of fire when used with another battery pack.
- Use power tools only with specifically designated battery packs. Use of any other battery packs may create a risk of injury and fire.
- When battery pack is not in use, keep it away from other metal objects, like paper clips, coins, keys, nails, screws, or other small metal objects, that can make a connection from one terminal to another. Shorting the battery terminals together may cause burns or a fire.
- Under abusive conditions, liquid may be ejected from the battery; avoid contact. If contact accidentally occurs, flush with water. If liquid contacts eyes, additionally seek medical help. Liquid ejected from the battery may cause irritation or burns.
- Do not use a battery pack or tool that is damaged or modified. Damaged or modified batteries may exhibit unpredictable behaviour resulting in fire, explosion, or risk of injury.
- Do not expose a battery pack or tool to fire or excessive temperature. Exposure to fire or temperature above 130°C may cause explosion.
- Follow all charging instructions and do not charge the battery pack or tool outside the temperature range specified in the instructions. Charging improperly or at temperatures outside the specified range may damage the battery and increase the risk of fire.
Service
- Have your power tool serviced by a qualified repair person using only identical replacement parts. This will ensure that the safety of the power tool is maintained.
- Never service damaged battery packs. Service of battery packs should only be performed by the manufacturer or authorized service providers.
Safety instructions for circular saws
Cutting procedures
DANGER: Keep hands away from cutting area and the blade. Keep your second hand on auxiliary handle, or motor housing. If both hands are holding the saw, they cannot be cut by the blade.- Do not reach underneath the workpiece. The guard cannot protect you from the blade below the workpiece.
- Adjust the cutting depth to the thickness of the workpiece. Less than a full tooth of the blade teeth should be visible below the workpiece.
- Never hold the workpiece in your hands or across your leg while cutting. Secure the workpiece to a stable platform. It is important to support the work properly to minimise body exposure, blade binding, or loss of con- trol.
- Hold the power tool by insulated gripping surfaces, when performing an operation where the cutting tool may contact hidden wiring. Contact with a “live” wire will also make exposed metal parts of the power tool “live” and could give the operator an electric shock.
- When ripping always use a rip fence or straight-edge guide. This improves the accuracy of cut and reduces the chance of blade binding.
- Always use blades with correct size and shape (diamond versus round) of arbour holes. Blades that do not match the mounting hardware of the saw will run off centre, causing loss of control.
- Never use damaged or incorrect blade washers or bolt. The blade washers and bolt were specially designed for your saw, for optimum performance and safety of operation.
Kickback causes and related warnings
– kickback is a sudden reaction to a pinched, jammed or misaligned saw blade, causing an uncontrolled saw to lift up and out of the workpiece toward the operator;
– when the blade is pinched or jammed tightly by the kerf closing down, the blade stalls and the motor reaction drives the unit rapidly back toward the operator;
– if the blade becomes twisted or misaligned in the cut, the teeth at the back edge of the blade can dig into the top surface of the wood causing the blade to climb out of the kerf and jump back toward the operator.
Kickback is the result of saw misuse and/or incorrect operating procedures or conditions and can be avoided by taking proper precautions as given below.
- Maintain a firm grip with both hands on the saw and position your arms to resist kickback forces. Position your body to either side of the blade, but not in line with the blade. Kickback could cause the saw to jump backwards, but kickback forces can be controlled by the operator, if proper precautions are taken.
- When blade is binding, or when interrupting a cut for any reason, release the trigger and hold the saw motionless in the material until the blade comes to a complete stop. Never attempt to remove the saw from the work or pull the saw backward while the blade is in motion or kickback may occur. Investigate and take corrective actions to eliminate the cause of blade binding.
- When restarting a saw in the workpiece, center the saw blade in the kerf so that the saw teeth are not engaged into the material. If a saw blade binds, it may walk up or kick back from the workpiece as the saw is restarted.
- Support large panels to minimise the risk of blade pinching and kickback. Large panels tend to sag under their own weight. Supports must be placed under the panel on both sides, near the line of cut, and near the edge of the panel.
- Do not use dull or damaged blades. Unsharpened or improperly set blades produce narrow kerf causing excessive friction, blade binding, and kickback.
- Blade depth and bevel-adjusting locking levers must be tight and secure before making the cut. If blade adjustment shifts while cutting, it may cause binding and kickback.
- Use extra caution when sawing into existing walls or other blind areas. The protruding blade may cut objects that can cause kickback. Lower guard function
- Check the lower guard for proper closing before each use. Do not operate the saw if the lower guard does not move freely and close instantly. Never clamp or tie the lower guard into the open position.If the saw is accidentally dropped, the lower guard may be bent. Raise the lower guard with the retracting handle and make sure it moves freely and does not touch the blade or any other part, in all angles and depths of cut.
- Check the operation of the lower guard spring. If the guard and the spring are not operating properly, they must be serviced before use. Lower guard may operate sluggishly due to damaged parts, gummy deposits, or a build-up of debris.
- The lower guard may be retracted manually only for special cuts such as “plunge cuts” and “compound cuts”. Raise the lower guard by the retracting handle and as soon as the blade enters the material, the lower guard must be released.For all other sawing, the lower guard should operate automatically.
- Always observe that the lower guard is covering the blade before placing the saw down on bench or floor. An unprotected, coasting blade will cause the saw to walk backwards, cutting whatever is in its path. Be aware of the time it takes for the blade to stop after switch is released. Additional safety warnings
- Do not allow the chip ejector to come into contact with your hands. You may be injured by rotating parts.
- Do not use the saw above the level of your head. Doing so will mean you have inadequate control of the power tool.
- Use suitable detectors to determine if there are hidden supply lines or contact the local utility company for assistance. Contact with electric cables can cause fire and electric shock. Damaging gas lines can lead to explosion. Breaking water pipes causes property damage.
- Hold the power tool firmly with both hands and make sure you have a stable footing. The power tool can be more securely guided with both hands.
- Do not operate the power tool when stationary. It is not suitable for operation with a saw table.
- When performing plunge cuts which are not right-angled, secure the guide plate of the saw so that it will not shift sideways. In the event of a sideways shift, the saw blade may become jammed, which could lead to kickback.
- Secure the workpiece. A workpiece clamped with clamping devices or in a vice is held more secure than by hand.
- Always wait until the power tool has come to a complete stop before placing it down. The application tool can jam and cause you to lose control of the power tool.
- Do not use HSS saw blades. Such saw blades can easily break.
- Do not saw any ferrous metals. Hot chips may ignite the dust extractor.
- Wear a dust mask.
- In case of damage and improper use of the battery, vapours may be emitted. The battery can set alight or explode. Ensure the area is well-ventilated and seek medical attention should you experience any adverse effects. The vapours may irritate the respiratory system.
- Do not open the battery. There is a risk of short-circuiting.
- The battery can be damaged by pointed objects such as nails or screwdrivers or by force applied externally. An internal short circuit may occur, causing the battery to burn, smoke, explode or overheat.
- Only use the battery with products from the manufacturer. This is the only way in which you can protect the battery against dangerous overload.
Protect the battery against heat, e.g. against continuous intense sunlight, fire, dirt, water, and moisture. There is a risk of explosion and short-circuiting. - Caution! When using the power tool with Bluetooth®, a fault may occur in other devices and systems, aeroplanes, and medical devices (e.g. pacemakers, hearing aids). Also, damage to people and animals in the immediate vicinity cannot be completely excluded. Do not use the power tool with Bluetooth® in the vicinity of medical devices, petrol stations, chemical plants, areas with a potentially explosive atmosphere, or in blasting areas. Do not use the power tool with Bluetooth ® in aircraft. Avoid using the product near your body for extended periods.
The Bluetooth® word mark and logos are registered trademarks owned by Bluetooth SIG, Inc. and any use of such marks by Robert Bosch Power Tools GmbH is under license.
Product Description and Specifications
Read all the safety and general instructions.
Failure to observe the safety and general instructions may result in electric shock, fire, and/or serious injury.
Please observe the illustrations at the beginning of this operating manual.
Intended use
The power tool is intended for making straight cuts in wood with and against the grain and mitre cuts in wood while resting firmly against the workpiece.
With the Bluetooth ® Low Energy Module GCY 42 inserted, power tool data and settings can be transferred between the power tool and a mobile device by means of Bluetooth ® wireless technology.
Product features
The numbering of the product features refers to the diagram of the power tool on the graphics page.
| (1) Lock-off function for on/off switch (2) On/off switch (3) User Interface a) (4) Auxiliary handle (5) Adjusting lever for mitre/bevel angle preselection (6) Wing bolt for parallel guide (7) Scale for mitre/bevel angles (8) Cut mark 45° (0° on GKS 18V-68 GC) (9) Cut mark 0° (45° on GKS 18V-68 GC) (10) Spindle lock button (11) Parallel guide (12) Retracting blade guard (13) Base plate (14) Adjusting lever for retracting blade guard (15) Wing bolt for mitre/bevel angle preselection a) (16) Protective guard (17) Cutting-depth scale (18) Chip ejector (19) Rechargeable battery (20) Cover for GCY 42 Bluetooth® Low Energy Module (21) Bluetooth® Low Energy Module GCY 42 b) (22) Button for cutting depth preselection a) (23) Lever for cutting-depth preselection | (24) Handle (insulated gripping surface) (25) Saw spindle (26) Mounting flange (27) Circular saw blade b) (28) Clamping flange (29) Clamping bolt with washer (30) Rechargeable battery release button b) (31) Hex key (32) Dust/chip box b) (33) Pair of screw clamps b) (34) Battery charge indicator (user interface) a) (35) ECO mode indicator (user interface) a) (36) Speed preselection button (user interface) a) (37) Speed setting/mode indicator (user interface) a) (38) Smartphone symbol (user interface) a) (39) Power tool status indicator (user interface) a) (40) Temperature indicator (user interface) a) (41) Guide rail b) (42) Extraction hose b) (43) Connection piece a)b) (44) Groove for Bosch and Mafell guide rail systems a) (45) Groove for Festool and Makita guide rail systems a) |
a) only for GKS 18V-68 GC
b) Accessories shown or described are not included with the product as standard. You can find the complete selection of accessories in our accessories range.
Technical data
| Hand-held circular saw | GKS 18V-68 GC | GKS 18V-68 GC | GKS 18V-68 GC | |
| Article number | 3 601 FB5 10. | 3 601 FB5 14. | 3 601 FB5 1B. | |
| Rated voltage | V= | 18 | 18 | 18 |
| No-load speed A) | min –1 | 2500–5000 | 2500–5000 | 2500–5000 |
| Max. cutting depth | ||||
| – at a 0° mitre/bevel angle | mm | 68 | 68 | 68 |
| – at a 45° mitre/bevel angle | mm | 49.8 | 49.8 | 49.8 |
| – at a 50° mitre/bevel angle | mm | 45.8 | 45.8 | 45.8 |
| Spindle lock | ● | ● | ● | |
| Use with FSN guide rail system | ● | ● | ● | |
| Base plate dimensions | mm | 206 x 346 | 206 x 346 | 206 x 346 |
| Max. saw blade diameter | mm | 190 | 190 | 190 |
| Min. saw blade diameter | mm | 184 | 184 | 184 |
| Max. base blade thickness | mm | 2 | 2 | 2 |
| Min. base blade thickness | mm | 1 | 1 | 1 |
| Locating bore | mm | 30 | 30 | 30 |
| Weight according to EPTA-Procedure 01:2014 B) | kg | 4.7–5.5 | 4.7–5.5 | 4.7–5.5 |
| Recommended ambient temperature during charging | °C | 0 to +35 | 0 to +35 | 0 to +35 |
| Permitted ambient temperature during operation C) and during storage | °C | –20 to +50 | –20 to +50 | –20 to +50 |
| Compatible rechargeable batteries | GBA 18V…ProCORE18V… | GBA 18V…ProCORE18V… | GBA 18V…ProCORE18V… | |
| Recommended rechargeable batteries for maximum performance | ProCORE18V… ≥ 5.5 Ah | ProCORE18V… ≥ 5.5 Ah | ProCORE18V… ≥ 5.5 Ah | |
| Recommended chargers | GAL 18… GAX 18… GAL 36… | GAL 18… GAX 18… GAL 36… | GAL 18… GAX 18… GAL 36… | |
| Data transfer | ||||
| Bluetooth® | Bluetooth® 4.2 (Low Energy) D) | Bluetooth ® 4.2 (Low Energy) D) | Bluetooth ® 4.2 (Low Energy) D) | |
| Signal interval | s | 8 | 8 | 8 |
| Max. signal range E) | m | 30 | 30 | 30 |
A) Measured at 20–25 °C with rechargeable battery ProCORE18V 8.0Ah.
B) Depends on battery in use
C) Limited performance at temperatures < 0 °C
D) The mobile terminal devices must be compatible with Bluetooth® Low Energy devices (version 4.2) and support the Generic Access Profile (GAP).
E) The signal range may vary greatly depending on external conditions, including the receiving device used. The Bluetooth® range may be significantly weaker inside closed rooms and through metallic barriers (e.g. walls, shelving units, cases, etc.).
| Hand-held circular saw | GKS 18V-68 GC | GKS 18V-68 GC | GKS 18V-68 GC | |
| Article number | 3 601 FB5 10. | 3 601 FB5 14. | 3 601 FB5 1B. | |
| Rated voltage | V= | 18 | 18 | 18 |
| No-load speed A) | min –1 | 2500–5000 | 2500–5000 | 2500–5000 |
| Max. cutting depth | ||||
| – at a 0° mitre/bevel angle | mm | 68 | 68 | 68 |
| – at a 45° mitre/bevel angle | mm | 49.8 | 49.8 | 49.8 |
| – at a 50° mitre/bevel angle | mm | 45.8 | 45.8 | 45.8 |
| Spindle lock | ● | ● | ● | |
| Use with FSN guide rail system | ● | ● | ● | |
| Base plate dimensions | mm | 206 x 346 | 206 x 346 | 206 x 346 |
| Max. saw blade diameter | mm | 190 | 190 | 190 |
| Min. saw blade diameter | mm | 184 | 184 | 184 |
| Max. base blade thickness | mm | 2 | 2 | 2 |
| Min. base blade thickness | mm | 1 | 1 | 1 |
| Locating bore | mm | 30 | 30 | 30 |
| Weight according to EPTA-Procedure 01:2014 B) | kg | 4.7–5.5 | 4.7–5.5 | 4.7–5.5 |
| Recommended ambient temperature during charging | °C | 0 to +35 | 0 to +35 | 0 to +35 |
| Permitted ambient temperature during operation C) and during storage | °C | –20 to +50 | –20 to +50 | –20 to +50 |
| Compatible rechargeable batteries | GBA 18V…ProCORE18V… | GBA 18V…ProCORE18V… | GBA 18V…ProCORE18V… | |
| Recommended rechargeable batteries for maximum performance | ProCORE18V… ≥ 5.5 Ah | ProCORE18V… ≥ 5.5 Ah | ProCORE18V… ≥ 5.5 Ah | |
| Recommended chargers | GAL 18… GAX 18… GAL 36… | GAL 18… GAX 18… GAL 36… | GAL 18… GAX 18… GAL 36… | |
| Data transfer | ||||
| Bluetooth® | Bluetooth® 4.2 (Low Energy) D) | Bluetooth ® 4.2 (Low Energy) D) | Bluetooth ® 4.2 (Low Energy) D) | |
| Signal interval | s | 8 | 8 | 8 |
| Max. signal range E) | m | 30 | 30 | 30 |
A) Measured at 20–25 °C with rechargeable battery ProCORE18V 8.0Ah.
B) Depends on battery in use
C) Limited performance at temperatures < 0 °C
D) The mobile terminal devices must be compatible with Bluetooth® Low Energy devices (version 4.2) and support the Generic Access Profile (GAP).
E) The signal range may vary greatly depending on external conditions, including the receiving device used. The Bluetooth® range may be significantly weaker inside closed rooms and through metallic barriers (e.g. walls, shelving units, cases, etc.).
Noise/Vibration Information
Noise emission values determined according to EN 62841-2-5.
Typically, the A-weighted noise level of the power tool is: Sound pressure level 98 dB(A); sound power level 109 dB(A). Uncertainty K = 3 dB.
Wear hearing protection!
Vibration total values ah (triax vector sum) and uncertainty K determined according to EN 62841-2-5: Sawing wood: ah < 2.5 m/s 2, K = 1.5 m/s 2
The vibration level and noise emission value given in these instructions have been measured in accordance with a standardised measuring procedure and may be used to compare power tools. They may also be used for a preliminary estimation of vibration and noise emissions.
The stated vibration level and noise emission value represent the main applications of the power tool. However, if the power tool is used for other applications, with different application tools or is poorly maintained, the vibration level and noise emission value may differ. This may significantly
increase the vibration and noise emissions over the total working period.
To estimate vibration and noise emissions accurately, the times when the tool is switched off or when it is running but not actually being used should also be taken into account.
This may significantly reduce vibration and noise emissions over the total working period.
Implement additional safety measures to protect the operator from the effects of vibration, such as servicing the power tool and application tools, keeping their hands warm, and organising workflows correctly.
Rechargeable battery
Bosch sells some cordless power tools without a rechargeable battery. You can tell whether a rechargeable battery is included with the power tool by looking at the packaging.
Charging the battery
- Use only the chargers listed in the technical data. Only these chargers are matched to the lithium-ion battery of your power tool.
Note: Lithium-ion rechargeable batteries are supplied partially charged according to international transport regulations. To ensure full rechargeable battery capacity, fully charge the rechargeable battery before using your tool for the first time.
Inserting the Battery
Push the charged battery into the battery holder until it clicks into place.
Removing the Battery
To remove the rechargeable battery, press the battery release button and pull the battery out. Do not use force to do this.
The rechargeable battery has two locking levels to prevent the battery from falling out if the battery release button is pressed unintentionally. The rechargeable battery is held in place by a spring when fitted in the power tool.
Battery charge indicator
The green LEDs on the battery charge indicator indicate the state of charge of the battery. For safety reasons, it is only possible to check the state of charge when the power tool is not in operation. Press the button for the battery charge indicator
to show the state of charge. This is also possible when the battery is removed.
If no LED lights up after pressing the button for the battery charge indicator, then the battery is defective and must be replaced.
The state of charge of the battery is also displayed on the user interface (see “Status indications”, page 28).
Battery model GBA 18V…
![]()
| LED | Capacity |
| 3× continuous green light | 60–100 % |
| 2× continuous green light | 30–60 % |
| 1× continuous green light | 5–30 % |
| 1× flashing green light | 0–5 % |
Battery model ProCORE18V…
![]()
| LED | Capacity |
| 5 × continuous green light | 80–100 % |
| 4 × continuous green light | 60–80 % |
| 3 × continuous green light | 40–60 % |
| 2 × continuous green light | 20–40 % |
| 1 × continuous green light | 5–20 % |
| 1 × flashing green light | 0–5 % |
Recommendations for Optimal Handling of the Battery
Protect the battery against moisture and water.
Only store the battery within a temperature range of −20 to 50 °C. Do not leave the battery in your car in the summer, for example.
Occasionally clean the ventilation slots on the battery using a soft brush that is clean and dry.
A significantly reduced operating time after charging indicates that the battery has deteriorated and must be replaced.
Follow the instructions on correct disposal.
Fitting
- Only use saw blades the maximum permitted speed of which is higher than the no-load speed of the power tool.
Using the Bluetooth® Low Energy Module GCY 42
Read the corresponding operating instructions for information about the Bluetooth® Low Energy Module GCY 42.
Inserting/changing the circular saw blade
- Remove the battery from the power tool before carrying out work on the power tool (e.g. maintenance, changing tool, etc.). The battery should also be removed for transport and storage. There is risk of injury from unintentionally pressing the on/off switch.
- Wear protective gloves when fitting the saw blade. Danger of injury when touching the saw blade.
- Only use saw blades that match the specifications given in this operating manual and that are tested and marked in accordance with EN 847-1
- The permitted speed of the application tool must be at least equal to the maximum speed marked on the power tool. If accessories run faster than their rated speed, they may break and fly off.
- Do not use abrasive wheels as the application tool under any circumstances.
Selecting the saw blade
You will find an overview of recommended saw blades at the end of these operating instructions.
Removing the saw blade (see figure A)
To change tools, we recommend that you place the power tool down on the front side of the motor housing.
- Press and hold the spindle lock button (10).
► Do not press the spindle lock button (10) while the saw spindle is moving. The power tool may become damaged if this happens. - Use the hex key (31) to undo the clamping bolt (29) in rotational direction ➊.
- Swing the retracting blade guard (12) back and hold on to it firmly.
- Remove the clamping flange (28) and the saw blade (27) from the saw spindle (25).
Fitting the saw blade (see figure A)
To change tools, we recommend that you place the power tool down on the front side of the motor housing.
- Clean the saw blade (27) and all the clamping elements to be fitted.
- Swing the retracting blade guard (12) back and hold on to it firmly.
- Place the saw blade (27) on the mounting flange (26). The cutting direction of the teeth (direction of the arrow on the saw blade) must match the rotational direction of the arrow on the retracting blade guard (12).
- Attach the clamping flange (28) and screw in the clamping bolt (29) in rotational direction ➋. Ensure that the mounting flange (26) and clamping flange (28) are installed in the correct position.
- Press and hold the spindle lock button (10).
- Use the hex key (31) to tighten the clamping bolt (29) in rotational direction ➋. The tightening torque should be 6–9 Nm, which corresponds to hand-tight plus ¼ turn.
Dust/chip extraction
The dust from materials such as lead paint, some types of wood, minerals and metal can be harmful to human health. Touching or breathing in this dust can trigger allergic reactions and/or cause respiratory illnesses in the user or in people in the near vicinity.
Certain dusts, such as oak or beech dust, are classified as carcinogenic, especially in conjunction with wood treatment additives (chromate, wood preservative). Materials containing asbestos may only be machined by specialists.
- Use a dust extraction system that is suitable for the material wherever possible.
- Provide good ventilation at the workplace.
- It is advisable to wear a P2 filter class breathing mask.
The regulations on the material being machined that apply in the country of use must be observed.
► Avoid dust accumulation at the workplace. Dust can easily ignite.
Chip ejector (see figure B)
The chip ejector (18) can turn freely.
An extraction hose with a diameter of 35 mm or a dust/chip box (32) can be connected to the chip ejector (18).
To ensure optimum extraction, the chip ejector (18) must be cleaned regularly.
External dust extraction
Connect the dust extraction hose (42) to a dust extractor (accessory). You will find an overview of how to connect to various dust extractors at the end of these operating instructions.
The dust extractor must be suitable for the material being worked.
When extracting dry dust that is especially detrimental to health or carcinogenic, use a special dust extractor.
Operation
- Remove the battery from the power tool before carrying out work on the power tool (e.g. maintenance, changing tool, etc.). The battery should also be removed for transport and storage. There is risk of injury from unintentionally pressing the on/off switch.
Operating modes
- Remove the battery before carrying out any work on the power tool.
Setting the cutting depth (see figures D–E)
- Adapt the cutting depth to the thickness of the workpiece. A space of less than the height of one full tooth should be visible under the workpiece.
GKS 18V-68 GC The cutting depth can be set using the button for cutting depth preselection (22).
GKS 18V-68 C
The cutting depth can be set using the lever for cutting depth preselection (23).
For a smaller cutting depth, pull the saw away from the base plate (13); for a larger cutting depth, push the saw towards the base plate (13). Set the required cutting depth on the scale (17).
Adjusting the mitre/bevel angle
We recommend that you place the power tool down on the front side of the protective guard (16).
GKS 18V-68 GC
Loosen the adjusting lever for mitre/bevel angle preselection (5) and the wing bolt (15). Swivel the saw to the side. Set the required mitre angle on the scale (7). Retighten the adjusting lever (5) and the wing bolt (15).
Note: When making mitre cuts, the cutting depth is less than the value shown on the cutting depth scale (17).
GKS 18V-68 C
Loosen the adjusting lever for mitre/bevel angle preselection (5). Swivel the saw to the side. Set the required mitre/bevel angle on the scale (7). Screw the adjusting lever (5) back on again.
Note: When making mitre cuts, the cutting depth is less than the value shown on the cutting depth scale (17).
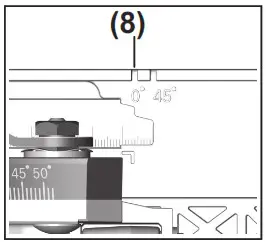
Cut Marks
GKS 18V-68 GC

The 0° cut mark (8) indicates the position of the saw blade when making a right-angled cut. The 45° cut mark (9) indicates the position of the saw blade when making a 45° cut.
For a precise cut, place the circular saw against the workpiece as shown in the figure. We recommend making a test cut.
GKS 18V-68 C

The 0° cut mark (9) indicates the position of the saw blade when making a right-angled cut. The 45° cut mark (8) indicates the position of the saw blade when making a 45° cut.
For a precise cut, place the circular saw against the workpiece as shown in the figure. We recommend making a test cut.
Using the FSN Guide Rail System
GKS 18V-68 GC
When using the FSN guide rail system, the power tool can stay in the holder for the guide rail when making mitre cuts.

Use only cut marks (8) when making a right-angled cut and a 45º cut with the guide rail.
Start-up
Switching on/off
To start the power tool, first press the lock-off switch (1), then press and hold the on/off switch (2).
To switch off the power tool, release the on/off switch (2).
Note: For safety reasons, the on/off switch (2) cannot be locked; it must remain pressed during the entire operation.
Protection Against Deep Discharging
The lithium-ion battery is protected against deep discharge by the Electronic Cell Protection (ECP). When the battery is discharged, the power tool is switched off by means of a protective circuit: The application tool no longer rotates.
ECO Mode
GKS 18V-68 GC
If the power tool is operated in the energy-saving ECO mode, the battery life may be up to 30 % longer.
If the ECO mode is active, the symbol E is shown on the speed setting/mode indicator (37).
User Interface (see figure C)
GKS 18V-68 GC
The user interface (3) is used to preselect the speed and to indicate the status of the power tool.
Speed preselection
GKS 18V-68 GC
Six-speed settings and the ECO mode are preset in the basic settings. Using a special application (Bosch Toolbox app), two to six-speed settings can be programmed.
The information in the table below describes the preset speeds (default settings) for each programmed number of levels.
| Basic speed setting at level | ||||||
| 1 | 2 | 3 | 4 | 5 | 6 | |
| [min -¹] | [min -¹] | [min -¹] | [min -¹] | [min -¹] | [min -¹] | |
| Number of speed settings | ||||||
| ECO | 3630 A) | – | – | – | – | – |
| 2 | 2500 | 5000 | – | – | – | – |
| 3 | 2500 | 3800 | 5000 | – | – | – |
| 4 | 2500 | 3300 | 4200 | 5000 | – | – |
| 5 | 2500 | 3100 | 3800 | 4400 | 5000 | – |
| 6 | 2500 | 3000 | 3500 | 4000 | 4500 | 5000 |
A) ±25 %
You can use the button for speed preselection (36) to preselect the required speed, even during operation.
Status indications
GKS 18V-68 GC
| Battery charge indicator (user interface) (34) | Meaning/cause | Solution |
| Green (2 to 5 bars) | Battery charged | – |
| Yellow (1 bar) | Battery almost empty | Replace or charge battery soon |
| Red (1 bar) | Battery empty | Replace or charge battery |
| Temperature indicator (40) | Meaning/cause | Solution |
| Yellow | Critical temperature has been reached (motor, electronics, battery) | Run the power tool at no load and allow it to cool down |
| Red | Power tool is overheated and will switch off | Leave the power tool to cool down |
| Power tool status indicator (39) | Meaning/cause | Solution |
| Green | Status OK | – |
| Yellow | Critical temperature has been reached or battery is almost empty | Run the power tool at no load and allow it to cool down, or replace or charge the battery soon |
| Red | Power tool is overheated or battery is empty | Allow the power tool to cool down, or replace or charge the battery |
| Flashing red | Restart protection is triggered | Turn the power tool off and on again; if necessary, remove the battery and einsert it. |
Connectivity functions
GKS 18V-68 GC
In conjunction with the Bluetooth® Low Energy Module GCY 42, the following connectivity functions are available for the power tool:
- Registration and personalisation
- Status check, output of warning messages
- General information and settings
- Management
- Setting the speed levels
Further information can be found under the Power tool status display (39) on a mobile device if it is connected via Bluetooth® wireless technology.
Read the corresponding operating instructions for information about the Bluetooth® Low Energy Module GCY 42.
GKS 18V-68 C
In conjunction with the Bluetooth® Low Energy Module GCY 42, the following connectivity functions are available for the power tool:
- Registration and personalisation
- Status check, output of warning messages
- General information
- Management
Read the corresponding operating instructions for information about the Bluetooth® Low Energy Module GCY 42.
Practical advice
- With the Bluetooth® Low Energy Module GCY 42, the power tool is equipped with a radio interface. Local operating restrictions, e.g. in aircraft or hospitals, must be observed.
- In areas where the Bluetooth® wireless technology is not allowed to be used, the Bluetooth® Low Energy Module GCY 42 and the button cell must be removed.
The width of cut varies depending on the saw blade used. Protect saw blades against shock and impact.
Guide the power tool evenly, pushing it gently in the cutting direction. Applying too much pressure to the power tool when moving it in the cutting direction significantly reduces the service life of the application tools and can damage the power tool.
The sawing performance and the quality of the cut essentially depend on the condition and the tooth shape of the saw blade. This is why you should only use sharp saw blades that are suitable for the material being machined.
Sawing wood
Choosing the right saw blade depends on the wood type, wood quality, and whether cuts with or against the grain are required.
Making cuts in spruce with the grain produces long, spiralshaped chips.
Beech and oak dust is especially detrimental to health. Therefore, work only with dust extraction.
Sawing with a parallel guide (see figure F)
The parallel guide (11) allows you to make precise cuts along the edge of a workpiece and cut strips with the same dimensions. Slide the guide rod of the parallel guide (11) through the guide into the base plate (13). Mount the parallel guide (11) with the wing bolt (6).
Sawing with an auxiliary guide (see figure G)
For working on large workpieces or for cutting straight edges, you can securely fasten a board or rail to the workpiece as an auxiliary guide. The circular saw can be guided along the path of this auxiliary guide with the base plate.
Sawing with the guide rail (see figures H – I)
GKS 18V-68 GC
You can use the guide rail (41) to produce straight cuts.
The adhesive layer prevents the guide rail from slipping and preserves the surface of the workpiece. The guide rail’s coating allows the power tool to glide more easily.
Place the circular saw directly on the guide rail (41). Fasten the guide rail (41) to the workpiece using suitable clamping devices, e.g. screw clamps, so that the narrow side of the guide rail (41) is facing the saw blade. The guide rail (41) must not protrude over the edge of the workpiece being sawn into.
Switch on the power tool and push it gently in the cutting direction, guiding it evenly.
The connector (43) can be used to join two guide rails. The four screws in the connector are used for the purpose of clamping.
The groove (44) is suitable for guide rail systems from Bosch and Mafell.
The groove (45) is suitable for guide rail systems from Festool and Makita.
Maintenance and Service
Maintenance and Cleaning
- Remove the battery from the power tool before carrying out work on the power tool (e.g. maintenance, changing tool, etc.). The battery should also be removed for transport and storage. There is risk of injury from unintentionally pressing the on/off switch.
- To ensure safe and efficient operation, always keep the power tool and the ventilation slots clean.
The retracting blade guard must always be able to move freely and retract automatically. It is therefore important to keep the area around the retracting blade guard clean at all times. Remove dust and chips with a paintbrush. Non-coated saw blades can be protected against corrosion using a thin layer of acid-free oil. Remove the oil again before sawing as failure to do so will stain the wood. Resin or glue residue on the saw blade has a detrimental effect on the quality of the cut. You should therefore clean saw blades straight after use.
After-Sales Service and Application Service
Our after-sales service responds to your questions concerning maintenance and repair of your product as well as spare parts. You can find explosion drawings and information on spare parts at: www.bosch-pt.com
The Bosch product use advice team will be happy to help you with any questions about our products and their accessories.
In all correspondence and spare parts orders, please always include the 10‑digit article number given on the nameplate of the product.
Great Britain
Robert Bosch Ltd. (B.S.C.)
P.O. Box 98
Broadwater Park North Orbital Road Denham Uxbridge UB 9 5HJ
At www.bosch-pt.co.uk you can order spare parts or arrange the collection of a product in need of servicing or repair.
Tel. Service: (0344) 7360109
E-Mail: [email protected]
You can find further service addresses at:
www.bosch-pt.com/serviceaddresses
Transport
The recommended lithium-ion batteries are subject to legislation on the transport of dangerous goods. The user can transport the batteries by road without further requirements.
When shipping by third parties (e.g.: by air transport or forwarding agency), special requirements on packaging and labelling must be observed. For preparation of the item being shipped, consulting an expert for hazardous material is required.
Dispatch battery packs only when the housing is undamaged. Tape or mask off open contacts and pack up the battery in such a manner that it cannot move around in the packaging. Please also observe the possibility of more detailed national regulations.
Disposal
Power tools, rechargeable batteries, accessories and packaging should be sorted for environmental-friendly recycling.
Do not dispose of power tools and batteries/rechargeable batteries into household waste!
Only for EU countries:
According to the Directive 2012/19/EU on waste electrical and electronic equipment and its transposition into national law, power tools that are no longer usable, and, according to the Directive 2006/66/EC, defective or drained batteries must be collected separately and disposed of in an environmentally correct manner.
If disposed incorrectly, waste electrical and electronic equipment may have harmful effects on the environment and human health, due to the potential presence of hazardous substances.
Only for United Kingdom:
According to The Waste Electrical and Electronic Equipment Regulations 2013 (SI 2013/3113) (as amended) and the Waste Batteries and Accumulators Regulations 2009 (SI 2009/890) (as amended), products that are no longer usable must be collected separately and disposed of in an environmentally friendly manner.
Battery packs/batteries: Li-ion:
Please observe the notes in the section on transport (see “Transport”, page 30).




Expert ![]()
Licenses
Copyright © 2012–2020 STMicroelectronics
All rights reserved.
Redistribution and use in source and binary forms, with or without modification, are permitted provided that the following conditions are met:
- Redistributions of source code must retain the above copyright notice, this list of conditions, and the following disclaimer.
- Redistributions in binary form must reproduce the above copyright notice, this list of conditions, and the following disclaimer in the documentation and/or other materials provided with the distribution.
- Neither the name of STMicroelectronics nor the names of its contributors may be used to endorse or promote products derived from this software without specific prior written permission.
THIS SOFTWARE IS PROVIDED BY THE COPYRIGHT HOLDERS AND CONTRIBUTORS “AS IS” AND ANY EXPRESS OR IMPLIED WARRANTIES, INCLUDING, BUT NOT LIMITED TO, THE IMPLIED WARRANTIES OF MERCHANTABILITY AND FITNESS FOR A PARTICULAR PURPOSE ARE DISCLAIMED. IN NO EVENT SHALL THE COPYRIGHT OWNER OR CONTRIBUTORS BE LIABLE FOR ANY DIRECT, INDIRECT, INCIDENTAL, SPECIAL, EXEMPLARY, OR CONSEQUENTIAL DAMAGES (INCLUDING, BUT NOT LIMITED TO, PROCUREMENT OF SUBSTITUTE GOODS OR SERVICES; LOSS OF USE, DATA, OR PROFITS; OR BUSINESS INTERRUPTION) HOWEVER CAUSED AND ON ANY THEORY OF LIABILITY, WHETHER IN CONTRACT, STRICT LIABILITY, OR TORT (INCLUDING NEGLIGENCE OR OTHERWISE) ARISING IN ANY WAY OUT OF THE USE OF THIS SOFTWARE, EVEN IF ADVISED OF THE POSSIBILITY OF SUCH DAMAGE.
Copyright © 2009–2020 ARM LIMITED
All rights reserved.
Redistribution and use in source and binary forms, with or without modification, are permitted provided that the following conditions are met:
- Redistributions of source code must retain the above copyright notice, this list of conditions, and the following disclaimer.
- Redistributions in binary form must reproduce the above copyright notice, this list of conditions, and the following disclaimer in the documentation and/or other materials provided with the distribution.
- Neither the name of ARM nor the names of its contributors may be used to endorse or promote products derived from this software without specific prior written permission.
THIS SOFTWARE IS PROVIDED BY THE COPYRIGHT HOLDERS AND CONTRIBUTORS “AS IS” AND ANY EXPRESS OR IMPLIED WARRANTIES, INCLUDING, BUT NOT LIMITED TO, THE IMPLIED WARRANTIES OF MERCHANTABILITY AND FITNESS FOR A PARTICULAR PURPOSE ARE DISCLAIMED. IN NO EVENT SHALL THE COPYRIGHT OWNER OR CONTRIBUTORS BE LIABLE FOR ANY DIRECT, INDIRECT, INCIDENTAL, SPECIAL, EXEMPLARY, OR CONSEQUENTIAL DAMAGES (INCLUDING, BUT NOT LIMITED TO, PROCUREMENT OF SUBSTITUTE GOODS OR SERVICES; LOSS OF USE, DATA, OR PROFITS; OR BUSINESS INTERRUPTION) HOWEVER CAUSED AND ON ANY THEORY OF LIABILITY, WHETHER IN CONTRACT, STRICT LIABILITY, OR TORT (INCLUDING NEGLIGENCE OR OTHERWISE) ARISING IN ANY WAY OUT OF THE USE OF THIS SOFTWARE, EVEN IF ADVISED OF THE POSSIBILITY OF SUCH DAMAGE.
Apache 2.0 License
Copyright © 2009-2019 Arm Limited. All rights reserved.
Version 2.0, January 2004
http://www.apache.org/licenses/
TERMS AND CONDITIONS FOR USE, REPRODUCTION, AND DISTRIBUTION
- Definitions.
“License” shall mean the terms and conditions for use, reproduction, and distribution as defined by Sections 1 through 9 of this document.
“Licensor” shall mean the copyright owner or entity authorized by the copyright owner that is granting the License.
“Legal Entity” shall mean the union of the acting entity and all other entities that control, are controlled by, or are under common control with that entity. For the purposes of this definition, “control” means (i) the power, direct or indirect, to cause the direction or management of such entity, whether by contract or otherwise, or (ii) ownership of fifty percent (50%) or more of the outstanding shares, or (iii) beneficial ownership of such entity.
“You” (or “Your”) shall mean an individual or Legal Entity exercising permissions granted by this License.
“Source” form shall mean the preferred form for making modifications, including but not limited to software source code, documentation source, and configuration files.
“Object” form shall mean any form resulting from mechanical transformation or translation of a Source form, including but not limited to compiled object code, generated documentation, and conversions to other media types.
“Work” shall mean the work of authorship, whether in Source or Object form, made available under the License, as indicated by a copyright notice that is included in or attached to the work (an example is provided in the Appendix below).
“Derivative Works” shall mean any work, whether in Source or Object form, that is based on (or derived from) the Work and for which the editorial revisions, annotations, elaborations, or other modifications represent, as a whole, an original work of authorship. For the purposes of this License, Derivative Works shall not include works that remain separable from, or merely link (or bind by name) to the interfaces of, the Work and Derivative Works thereof.
“Contribution” shall mean any work of authorship, including the original version of the Work and any modifications or additions to that Work or Derivative Works thereof, that is intentionally submitted to Licensor for inclusion in the Work by the copyright owner or by an individual or Legal Entity authorized to submit on behalf of the copyright owner. For the purposes of this definition,
“submitted” means any form of electronic, verbal, or written communication sent to the Licensor or its representatives, including but not limited to communication on electronic mailing lists, source code control systems, and issue tracking systems that are managed by, or on behalf of, the Licensor for the purpose of discussing and improving the Work, but excluding communication that is conspicuously marked or otherwise designated in writing by the copyright owner as “Not a Contribution.”
“Contributor” shall mean Licensor and any individual or Legal Entity on behalf of whom a Contribution has been received by Licensor and subsequently incorporated within the Work. - Grant of Copyright
License. Subject to the terms and conditions of this License, each Contributor hereby grants to You a perpetual, worldwide, non-exclusive, no-charge, royalty-free, irrevocable copyright license to reproduce, prepare Derivative Works of, publicly display, publicly perform, sublicense, and distribute the Work and such Derivative Works in Source or Object form. - Grant of Patent License. Subject to the terms and conditions of this License, each Contributor hereby grants to You a perpetual, worldwide, non-exclusive, no-charge, royalty-free, irrevocable (except as stated in this section) patent license to make, have made, use, offer to sell, sell, import, and otherwise transfer the Work, where such license applies only to those patent claims licensable by such Contributor that are necessarily infringed by their Contribution(s) alone or by combination of their Contribution(s) with the Work to which such Contribution(s) was submitted. If You institute patent litigation against any entity (including a cross-claim or counterclaim in a lawsuit) alleging that the Work or a Contribution incorporated within the Work constitutes direct or contributory patent infringement, then any patent licenses granted to You under this License for that Work shall terminate as of the date such litigation is filed.
- Redistribution.You may reproduce and distribute copies of the Work or Derivative Works thereof in any medium, with or without modifications, and in Source or Object form, provided that You meet the following conditions:
• You must give any other recipients of the Work or Derivative Works a copy of this License; and
• You must cause any modified files to carry prominent notices stating that You changed the files; and
• You must retain, in the Source form of any Derivative Works that You distribute, all copyright, patent, trademark, and attribution notices from the Source form of the Work, excluding those notices that do not pertain to any part of the Derivative Works; and
• If the Work includes a “NOTICE” text file as part of its distribution, then any Derivative Works that You distribute must include a readable copy of the attribution notices contained within such NOTICE file, excluding those notices that do not pertain to any part of the Derivative Works, in at least one of the following places: within a NOTICE text file distributed as part of the Derivative Works; within the Source form or documentation, if provided along with the Derivative Works; or, within a display generated by the Derivative Works, if and wherever such third-party notices normally appear. The contents of the NOTICE file are for informational purposes only and do not modify the License. You may add Your own attribution notices within Derivative Works that You distribute, alongside or as an addendum to the NOTICE text from the Work, provided that such additional attribution notices cannot be construed as modifying the License. You may add Your own copyright statement to Your modifications and may provide additional or different license terms and conditions for use, reproduction, or distribution of Your modifications, or for any such Derivative Works as a whole, provided Your use, reproduction, and distribution of the Work otherwise complies with the conditions stated in this License. - Submission of Contributions. Unless You explicitly state otherwise, any Contribution intentionally submitted for inclusion in the Work by You to the Licensor shall be under the terms and conditions of this License, without any additional terms or conditions. Notwithstanding the above, nothing herein shall supersede or modify the terms of any separate license agreement you may have executed with Licensor regarding such Contributions.
- Trademarks. This License does not grant permission to use the trade names, trademarks, service marks, or product names of the Licensor, except as required for reasonable and customary use in describing the origin of the Work and reproducing the content of the NOTICE file.
- Disclaimer of Warranty. Unless required by applicable law or agreed to in writing, Licensor provides the Work (and each Contributor provides its Contributions) on an “AS IS” BASIS, WITHOUT WARRANTIES OR CONDITIONS OF ANY KIND, either express or implied, including, without limitation, any warranties or conditions of TITLE, NON-INFRINGEMENT, MERCHANTABILITY, or FITNESS FOR A PARTICULAR PURPOSE. You are solely responsible for determining the appropriateness of using or redistributing the Work and assume any risks associated with Your exercise of permissions under this License.
- Limitation of Liability. In no event and under no legal theory, whether in tort (including negligence), contract, or otherwise, unless required by applicable law (such as deliberate and grossly negligent acts) or agreed to in writing, shall any Contributor be liable to You for damages, including any direct, indirect, special, incidental, or consequential damages of any character arising as a result of this License or out of the use or inability to use the Work (including but not limited to damages for loss of goodwill, work stoppage, computer failure or malfunction, or any and all other commercial damages or losses), even if such Contributor has been advised of the possibility of such damages.
- Accepting Warranty or Additional Liability. While redistributing the Work or Derivative Works thereof, You may choose to offer, and charge a fee for, acceptance of support, warranty, indemnity, or other liability obligations and/or rights consistent with this License. However, in accepting such obligations, You may act only on Your own behalf and on Your sole responsibility, not on behalf of any other Contributor, and only if You agree to indemnify, defend, and hold each Contributor harmless for any liability incurred by, or claims asserted against, such Contributor by reason of your accepting any such warranty or additional liability.
END OF TERMS AND CONDITIONS
EU Declaration of Conformity
Hand-held circular saw
Article number
We declare under our sole responsibility that the stated products comply with all applicable provisions of the directives and regulations listed below and are in conformity with the following standards.
Technical file at: *
| GKS 18V-68 GC GKS 18V-68 GC GKS 18V-68 C | 3 601 FB5 101 3 601 FB5 100 3 601 FB5 000 | 2006/42/EC 2014/30/EU 2011/65/EU | EN 62841-1:2015 EN 62841-2-5:2014 EN 55014-1:2017+A11:2020 EN 55014-2:2015 EN IEC 63000:2018 |
| * Robert Bosch Power Tools GmbH (PT/ECS) 70538 Stuttgart GERMANY | |||
| Henk Becker Chairman of Executive Management ![]() | Helmut Heinzelmann Head of Product Certification ![]() | ||
| Robert Bosch Power Tools GmbH, 70538 Stuttgart, GERMANY Stuttgart, 05.05.2022 | |||
Declaration of Conformity
| Hand-held circular saw GKS 18V-68 GC GKS 18V-68 C | Article number 3 601 FB5 100 3 601 FB5 000 |
We declare under our sole responsibility that the stated products comply with all applicable provisions of the regulations listed below and are in conformity with the following standards.
Technical file at: Robert Bosch Ltd. (PT/SOP-GB), Broadwater Park, North Orbital Road, Uxbridge UB9 5HJ, United Kingdom
| The Supply of Machinery (Safety) Regulations 2008 The Electromagnetic Compatibility Regulations 2016 The Restriction of the Use of Certain Hazardous Substances in Electrical and Electronic Equipment Regulations 2012 EN 62841-1:2015 EN 62841-2-5:2014 EN 55014-1:2017+A11:2020 EN 55014-2:2015 EN IEC 63000:2018 | |
| Robert Bosch Power Tools GmbH, 70538 Stuttgart, Germany represented (in terms of the above regulations) by Robert Bosch Limited, Broadwater Park, North Orbital Road, Uxbridge UB9 5HJ, United Kingdom | |
| Vonjy Rajakoba Managing Director – Bosch UK ![]() | Martin Sibley Head of Sales Operations and Aftersales ![]() |
| Robert Bosch Ltd. Broadwater Park, North Orbital Road, Uxbridge UB9 5HJ, United Kingdom, as authorised representative acting on behalf of Robert Bosch Power Tools GmbH, 70538 Stuttgart, Germany | |
Place of issue: Uxbridge
Date of issue: 06/05/2022
Robert Bosch Power Tools GmbH 70538 Stuttgart GERMANY
www.bosch-pt.com
1 609 92A 7RA (2022.07) O / 403

References
My Blog
Početna strana | Bosch u Srbiji
dz.com
pt.com
Skånevik Ølen Kraftlag AS
Licenses
Inicio | Bosch en Argentina
baohanhbosch-pt.com.vn
Ferramentas elétricas Bosch | Bosch Professional
ЕлектроінÑтрументи Bosch | Bosch Professional
ÐлектроинÑтрументы Bosch | Bosch Professional
Bosch Power Tools | Bosch Power Tools
Bosch Power Tools | Bosch Power Tools
Select your country | Bosch Power Tools
首页
博世電動工具 | 博世電動工具
Bosch Power Tools | Bosch Power Tools
Bosch Power Tools | Bosch Power Tools
Bosch Power Tools | Bosch Power Tools
Bosch Power Tools | Bosch Power Tools
Електроинструменти на Bosch | Електроинструменти на Bosch
Service worldwide
Bosch Elektrowerkzeuge und Zubehör | Bosch Elektrowerkzeuge
Bosch-sähkötyökalut | Bosch-sähkötyökalut
Outillage électroportatif Bosch | Outillage électroportatif Bosch
Bosch elektromos kéziszerszámok | Bosch elektromos kéziszerszámok
Elektronarzędzia Bosch | Elektronarzędzia Bosch
Scule electrice Bosch | Scule electrice Bosch
Bosch električni alati | Bosch električni alati
bosch-pt.ru
EU Declaration of Conformity




















