BOSCH GKS 190 Professional Handheld Circular Saw Instruction Manual
Safety Instructions
General Power Tool Safety Warnings
WARNING Read all safety warnings, instructions, illustrations and specifications provided with this power tool. Failure to follow all instructions listed below may result in electric shock, fire and/ or serious injury.
Save all warnings and instructions for future reference.
The term “power tool” in the warnings refers to your mainsoperated (corded) power tool or battery-operated (cordless) power tool.
Work area safety
- Keep work area clean and well lit. Cluttered or darkareas invite accidents.
- Do not operate power tools in explosive atmospheres, such as in the presence of flammable liquids, gases or dust. Power tools create sparks which may ignite the dust or fumes.
- Keep children and bystanders away while operating a power tool. Distractions can cause you to lose control.
Electrical safety
- Power tool plugs must match the outlet. Never modify the plug in any way. Do not use any adapter plugs with earthed (grounded) power tools. Unmodified plugs and matching outlets will reduce risk of electric shock.
- Avoid body contact with earthed or grounded surfaces, such as pipes, radiators, ranges and refrigerators. There is an increased risk of electric shock if your body is earthed or grounded.
- Do not expose power tools to rain or wet conditions. Water entering a power tool will increase the risk of electric shock.
- Do not abuse the cord. Never use the cord for carrying, pulling or unplugging the power tool. Keep cord away from heat, oil, sharp edges or moving parts. Damaged or entangled cords increase the risk of electric shock.
- When operating a power tool outdoors, use an extension cord suitable for outdoor use. Use of a cord suitable for outdoor use reduces the risk of electric shock.
- If operating a power tool in a damp location is unavoidable, use a residual current device (RCD) protected supply. Use of an RCD reduces the risk of electric shock.
Personal safety
- Stay alert, watch what you are doing and use common sense when operating a power tool. Do not use apower tool while you are tired or under the influence of drugs, alcohol or medication. A moment of inattention while operating power tools may result in serious personal injury.
- Use personal protective equipment. Always wear eye protection. Protective equipment such as a dust mask, non-skid safety shoes, hard hat or hearing protection used for appropriate conditions will reduce personal injuries.
- Prevent unintentional starting. Ensure the switch is in the off-position before connecting to power source and/or battery pack, picking up or carrying the tool. Carrying power tools with your finger on the switch or energising power tools that have the switch on invites accidents.
- Remove any adjusting key or wrench before turning the power tool on. A wrench or a key left attached to a rotating part of the power tool may result in personal injury.
- Do not overreach. Keep proper footing and balance at all times. This enables better control of the power tool in unexpected situations.
- Dress properly. Do not wear loose clothing or jewellery. Keep your hair and clothing away from moving parts. Loose clothes, jewellery or long hair can be caught in moving parts.
- If devices are provided for the connection of dust extraction and collection facilities, ensure these are connected and properly used. Use of dust collection can reduce dust-related hazards.
- Do not let familiarity gained from frequent use of tools allow you to become complacent and ignore tool safety principles. A careless action can cause severe injury within a fraction of a second.
Power tool use and care
- Do not force the power tool. Use the correct power tool for your application. The correct power tool will do the job better and safer at the rate for which it was designed.
- Do not use the power tool if the switch does not turn it on and off. Any power tool that cannot be controlled with the switch is dangerous and must be repaired.
- Disconnect the plug from the power source and/or remove the battery pack, if detachable, from the powertool before making any adjustments, changing accessories, or storing power tools. Such preventive safety measures reduce the risk of starting the power tool accidentally.
- Store idle power tools out of the reach of children and do not allow persons unfamiliar with the power tool or these instructions to operate the power tool. Power tools are dangerous in the hands of untrained users.
- Maintain power tools and accessories. Check for misalignment or binding of moving parts, breakage of parts and any other condition that may affect the power tool’s operation. If damaged, have the power tool repaired before use. Many accidents are caused by poorly maintained power tools.
- Keep cutting tools sharp and clean. Properly maintained cutting tools with sharp cutting edges are less likely to bind and are easier to control.
- Use the power tool, accessories and tool bits etc. in accordance with these instructions, taking into account the working conditions and the work to be performed. Use of the power tool for operations different from those intended could result in a hazardous situation.
- Keep handles and grasping surfaces dry, clean and free from oil and grease. Slippery handles and grasping surfaces do not allow for safe handling and control of the tool in unexpected situations.
Service
- Have your power tool serviced by a qualified repair person using only identical replacement parts. This will ensure that the safety of the power tool is maintained.
Safety instructions for circular saws
Cutting procedures
DANGER: Keep hands away from cutting area and the blade. Keep your second hand on auxiliary handle, or motor housing. If both hands are holding the saw, they cannot be cut by the blade.- Do not reach underneath the workpiece. The guard cannot protect you from the blade below the workpiece.
- Adjust the cutting depth to the thickness of the workpiece. Less than a full tooth of the blade teeth should be visible below the workpiece.
- Never hold the workpiece in your hands or across your leg while cutting. Secure the workpiece to a stable platform. It is important to support the work properly to minimise body exposure, blade binding, or loss of control.
- Hold the power tool by insulated gripping surfaces, when performing an operation where the cutting tool may contact hidden wiring or its own cord. Contact with a “live” wire will also make exposed metal parts of the power tool “live” and could give the operator an electric shock.
- When ripping always use a rip fence or straight edge guide. This improves the accuracy of cut and reduces the chance of blade binding.
- Always use blades with correct size and shape (diamond versus round) of arbour holes. Blades that do not match the mounting hardware of the saw will run offcentre, causing loss of control.
- Never use damaged or incorrect blade washers or bolt. The blade washers and bolt were specially designed for your saw, for optimum performance and safety of operation.
Kickback causes and related warnings
- kickback is a sudden reaction to a pinched, jammed or misaligned saw blade, causing an uncontrolled saw to lift up and out of the workpiece toward the operator;
- when the blade is pinched or jammed tightly by the kerf
closing down, the blade stalls and the motor reaction drives
the unit rapidly back toward the operator; - if the blade becomes twisted or misaligned in the cut, the teeth at the back edge of the blade can dig into the top surface of the wood causing the blade to climb out of the kerf and jump back toward the operator.
Kickback is the result of saw misuse and/or incorrect operating procedures or conditions and can be avoided by taking proper precautions as given below.
- Maintain a firm grip with both hands on the saw and position your arms to resist kickback forces. Position your body to either side of the blade, but not in line with the blade. Kickback could cause the saw to jump backwards, but kickback forces can be controlled by the operator, if proper precautions are taken.
- When blade is binding, or when interrupting a cut for any reason, release the trigger and hold the saw mo tionless in the material until the blade comes to a complete stop. Never attempt to remove the saw from the work or pull the saw backward while the blade is in motion or kickback may occur. Investigate and take corrective actions to eliminate the cause of blade binding.
- When restarting a saw in the workpiece, centre the saw blade in the kerf so that the saw teeth are not engaged into the material. If a saw blade binds, it may walk up or kickback from the workpiece as the saw is restarted.
- Support large panels to minimise the risk of blade pinching and kickback. Large panels tend to sag under their own weight. Supports must be placed under the panel on both sides, near the line of cut and near the edge of the panel.
- Do not use dull or damaged blades. Unsharpened or improperly set blades produce narrow kerf causing excessive friction, blade binding and kickback.
- Blade depth and bevel adjusting locking levers must be tight and secure before making the cut. If blade adjustment shifts while cutting, it may cause binding and kickback.
- Use extra caution when sawing into existing walls or other blind areas. The protruding blade may cut objects that can cause kickback.
Lower guard function
- Check the lower guard for proper closing before each use. Do not operate the saw if the lower guard does not move freely and close instantly. Never clamp or tie the lower guard into the open position.If the saw is accidentally dropped, the lower guard may be bent. Raise the lower guard with the retracting handle and make sure it moves freely and does not touch the blade or any other part, in all angles and depths of cut.
- Check the operation of the lower guard spring. If the guard and the spring are not operating properly, they must be serviced before use. Lower guard may operate sluggishly due to damaged parts, gummy deposits, or a build-up of debris.
- The lower guard may be retracted manually only for special cuts such as “plunge cuts” and “compound cuts”. Raise the lower guard by the retracting handle and as soon as the blade enters the material, the lower guard must be released.For all other sawing, the lower guard should operate automatically.
- Always observe that the lower guard is covering the lade before placing the saw down on bench or floor.An unprotected, coasting blade will cause the saw to walk backwards, cutting whatever is in its path. Be aware of the time it takes for the blade to stop after switch is released.
Additional safety warnings
- Do not allow the chip ejector to come into contact with your hands. You may be injured by rotating parts
- Do not use the saw above the level of your head. Doing so will mean you have inadequate control of the power tool.
- Use suitable detectors to determine if utility lines are hidden in the work area or call the local utility company for assistance. Contact with electric lines can lead to fire and electric shock. Damaging a gas line can lead to explosion. Penetrating a water line causes property damage or may cause an electric shock.
- Hold the power tool firmly with both hands and make sure you have a stable footing. The power tool can be more securely guided with both hands.
- Do not operate the power tool when stationary . It is not suitable for operation with a saw table.
- When performing plunge cuts which are not rightangled, secure the guide plate of the saw so that it will
not shift sideways.In the event of a sideways shift, the saw blade may become jammed, which could lead to kickback. - Secure the workpiece. A workpiece clamped with clamping devices or in a vice is held more secure than by hand.
- Always wait until the power tool has come to a complete stop before placing it down. The application tool can jam and cause you to lose control of the power tool.
- Do not use HSS saw blades. Such saw blades can easily break.
- Do not saw any ferrous metals. Hot chips may ignite the dust extractor.
- Wear a dust mask
Products sold in GB only:
Your product is fitted with an BS 1363/A approved electric plug with internal fuse (ASTA approved to BS 1362).
If the plug is not suitable for your socket outlets, it should be cut off and an appropriate plug fitted in its place by an authorised customer service agent. The replacement plug should have the same fuse rating as the original plug.
The severed plug must be disposed of to avoid a possible shock hazard and should never be inserted into a mains socket elsewhere.
Product Description and Specifications

Read all the safety and general instructions.
Failure to observe the safety and general instructions may result in electric shock, fire and/or serious injury.
Please observe the illustrations at the beginning of this operating manual. Intended use
The power tool is intended for making straight cuts in wood with and against the grain and mitre cuts in wood while resting firmly against the workpiece.
The power tool must not be used to cut ferrous metals.
Product features
The numbering of the product features refers to the diagram of the power tool on the graphics page.

- On/off switch
- Lock-off switch for on/off switch
- Auxiliary handle (insulated gripping surface)
- Spindle lock button
- Scale for mitre/bevel angles
- Wing bolt for mitre/bevel angle preselection
- Wing bolt for parallel guide
- Cut mark 45°
- Cut mark 0°
- Parallel guide
- Retracting blade guard
- Base plate
- Adjusting lever for retracting blade guard
- Chip ejector
- Protective guard
- Handle (insulated gripping surface)
- Hex key
- Clamping bolt with washer
- Clamping flange
- Circular saw bladea)
- Mounting flange
- Saw spindle
- Dust extraction adaptera)
- Clamping lever for cutting depth preselection
- Cutting depth scale
- Wing bolt for mitre/bevel angle preselection
- Pair of screw clampsb)
Technical data
| Article number | 3 601 F23 0.0 | 3 601 F23 0.1 | |
| Rated power input | W | 1400 | 1400 |
| No-load speed | min-1 | 5500 | 5500 |
| – at a 0° mitre/bevel angle | mm | 70 | 67 |
| – at a 45° mitre/bevel angle | mm | 50 | 49 |
| Spindle lock | ● | ● | |
| Base plate dimensions | mm | 302 x 140 | 302 x 140 |
| Max. saw blade diameter | mm | 190 | 184 |
| Min. saw blade diameter | mm | 184 | 184 |
| Max. base blade thickness | mm | 2.0 | 2.5 |
| Locating bore | mm | 30 | 16 |
| Weight according to EPTA-Procedure 01:2014 | kg | 4.2 | 4.2 |
| Protection class | / II | / II |
The specifications apply to a rated voltage [U] of 230 V. These specifications may vary at different voltages and in countryspecific models.
Noise/vibration information
Noise emission values determined according to EN 62841-2-5.
Typically, the A-weighted noise level of the power tool is:
Sound pressure level 96 dB(A); sound power level 107 dB(A). Uncertainty K = 3 dB.
Wear hearing protection!
Vibration total values ah (triax vector sum) and uncertainty K
determined according to EN 62841-2-5: Sawing wood: ah < 2.5 m/s2 , K = 1.5 m/s2
The vibration level and noise emission value given in these instructions have been measured in accordance with a standardised measuring procedure and may be used to compare power tools. They may also be used for a preliminary estimation of vibration and noise emissions.
The stated vibration level and noise emission value represent the main applications of the power tool. However, if the power tool is used for other applications, with different application tools or is poorly maintained, the vibration level and noise emission value may differ. This may significantly increase the vibration and noise emissions over the total working period.
To estimate vibration and noise emissions accurately, the times when the tool is switched off or when it is running but not actually being used should also be taken into account. This may significantly reduce vibration and noise emissions over the total working period.
Implement additional safety measures to protect the operator from the effects of vibration, such as servicing the power tool and application tools, keeping their hands warm, and organising workflows correctly.
Fitting
Only use saw blades the maximum permitted speed of which is higher than the no-load speed of the power tool.
Inserting/changing the circular saw blade
- Pull the plug out of the socket before carrying out any work on the power tool.
- Wear protective gloves when fitting the saw blade. Danger of injury when touching the saw blade.
- Only use saw blades that match the specifications given in this operating manual and on the power tool and that have been tested and marked in accordance with EN 847-1:2017.
- The permitted speed of the application tool must be at least equal to the maximum speed marked on the power tool. If accessories run faster than their rated speed, they may break and fly off.
- Do not use abrasive wheels as the application tool under any circumstances.
Selecting the saw blade
You will find an overview of recommended saw blades at the end of these operating instructions.
Removing the saw blade (see figure A)
To change tools, we recommend that you place the power tool down on the front side of the motor housing.
- Press and hold the spindle lock button (4).
- Do not press the spindle lock button (4) while the saw spindle is moving. The power tool may become damaged if this happens.
- Use the hex key (17) to undo the clamping bolt (18) in rotational direction.
- Swing the retracting blade guard (11) back and hold on to it firmly.
- Remove the clamping flange (19) and the saw blade (20) from the saw spindle (22).
Fitting the saw blade (see figure A)
To change tools, we recommend that you place the power tool down on the front side of the motor housing.
- Clean the saw blade (20) and all the clamping elements to be fitted.
- Swing the retracting blade guard (11) back and hold on to it firmly.
- Place the saw blade (20) on the mounting flange (21). The cutting direction of the teeth (direction of the arrow on the saw blade) must match the rotational direction of the arrow on the protective guard (11).
- Attach the clamping flange (19) and screw in the clamping bolt (18) in rotational direction. Ensure that the mounting flange (21) and clamping flange (19) are installed in the correct position.
- Press and hold the spindle lock button (4).
- Use the hex key (17) to tighten the clamping bolt (18) in rotational direction. The tightening torque should be 6–9 nm, which corresponds to hand-tight plus ¼ turn.
Dust/chip extraction
The dust from materials such as lead paint, some types of wood, minerals and metal can be harmful to human health.
Touching or breathing in this dust can trigger allergic reactions and/or cause respiratory illnesses in the user or in people in the near vicinity.
Certain dusts, such as oak or beech dust, are classified as carcinogenic, especially in conjunction with wood treatment additives (chromate, wood preservative). Materials containing asbestos may only be machined by specialists.
- Use a dust extraction system that is suitable for the material wherever possible.
- Provide good ventilation at the workplace.
- It is advisable to wear a P2 filter class breathing mask.
The regulations on the material being machined that apply in the country of use must be observed.
Avoid dust accumulation at the workplace. Dust can easily ignite.
Fitting the dust extraction adapter (see figure B)

Push the dust extraction adapter (23) onto the chip ejector (14) until it clicks into place.
A dust extraction hose with a diameter of 35 mm can be connected to the dust extraction adapter (23).
- The dust extraction adapter must only be fitted if an external dust extraction system is connected. Otherwise the extraction duct can become clogged.
- No dust bags should be connected to the dust extraction adapter. Otherwise the extraction system can become clogged.
To ensure optimum extraction, the dust extraction adapter (23) must be cleaned regularly.
External dust extraction
Connect the dust extraction hose to a dust extractor (accessory). You will find an overview of connecting to various dust extractors at the end of these operating instructions.
The power tool can be directly connected to the socket of a
Bosch all-purpose dust extractor with remote starter. This dust extractor is started up automatically when the power tool is switched on. The dust extractor must be suitable for the material being worked.
When extracting dry dust that is especially detrimental to health or carcinogenic, use a special dust extractor
Operation
- Pull the plug out of the socket before carrying out any work on the power tool.
Operating modes
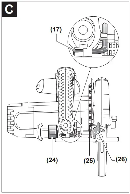
Setting the cutting depth (see figure C)

- Adapt the cutting depth to the thickness of the workpiece. A space of less than the height of one full tooth should be visible under the workpiece.
Loosen the clamping lever (24). For a smaller cutting depth, pull the saw away from the base plate (12); for a larger cutting depth, push the saw towards the base plate (12). Adjust the desired cutting depth at the cutting-depth scale. Retighten the clamping lever (24).
If you are unable to fully adjust the cutting depth after loosening the clamping lever (24), pull the clamping lever (24) away from the saw and swivel it downwards. Loosen the clamping lever (24) again. Repeat this process until the required cutting depth can be set.
If you are unable to adequately fix the cutting depth after tightening the clamping lever (24), pull the clamping lever (24) away from the saw and swivel it upwards. Loosen the clamping lever (24) again. Repeat this process until the cutting depth is fixed.
Adjusting the mitre/bevel angle
Loosen the wing bolts (6) and (26). Swivel the saw to the side. Set the required mitre angle on the scale (5). Retighten the wing bolts (6) and (26).
Note: When making mitre cuts, the cutting depth is less than the value shown on the cutting depth scale (25).
Cut marks

The 0° cut mark (9) indicates the position of the saw blade when making a right-angled cut. The 45° cut mark (8) indicates the position of the saw blade when making a 45° cut. For a precise cut, place the circular saw against the workpiece as shown in the figure. We recommend making a test cut.
Start-up
- Pay attention to the mains voltage. The voltage of the power source must match the voltage specified on the rating plate of the power tool. Power tools marked with 230 V can also be operated with 220 V.
- Products that are only sold in AUS and NZ: Use a residual current device (RCD) with a nominal residual current of 30 mA or less.
Switching on/off
To start the power tool, first press the lock-off switch (2), then press and hold the on/off switch (1).
To switch off the power tool, release the on/off switch (1).
Note: For safety reasons, the on/off switch (1) cannot be locked; it must remain pressed during the entire operation.
Practical advice
Pull the plug out of the socket before carrying out any work on the power tool.
The width of cut varies depending on the saw blade used.
Protect saw blades against shock and impact. Guide the power tool evenly, pushing it gently in the cutting direction. Applying too much pressure to the power tool when moving it in the cutting direction significantly reduces the service life of the application tools and can damage the power tool.
The sawing performance and the quality of the cut essentially depend on the condition and the tooth shape of the saw blade. This is why you should only use sharp saw blades that are suitable for the material being machined.
Sawing wood
Choosing the right saw blade depends on the wood type, wood quality and whether cuts with or against the grain are required.
Making cuts in spruce with the grain produces long, spiralshaped chips. Beech and oak dust is especially detrimental to health. Therefore, work only with dust extraction.
Sawing with a parallel guide (see figure D)

The parallel guide (10) allows you to make precise cuts along the edge of a workpiece and cut strips with the same dimensions.
Loosen the wing bolt (7) and slide the scale of the parallel guide (10) through the guide in the base plate (12). Adjust the desired cutting width as a scale value at the corresponding (9) or (8) cut mark, see the section “Cut marks”. Retighten the wing bolt (7).
Sawing with an auxiliary guide (see figure E)

For working on large workpieces or for cutting straight edges, you can securely fasten a board or rail to the workpiece as an auxiliary guide. The circular saw can be guided along the path of this auxiliary guide with the base plate.
Maintenance and Service
Maintenance and Cleaning
- Pull the plug out of the socket before carrying out any work on the power tool.
- To ensure safe and efficient operation, always keep the power tool and the ventilation slots clean
In order to avoid safety hazards, if the power supply cord needs to be replaced, this must be done by Bosch or by an after-sales service centre that is authorised to repair Bosch power tools.
The retracting blade guard must always be able to move freely and retract automatically. It is therefore important to keep the area around the retracting blade guard clean at all times. Remove dust and chips with a paintbrush. Non-coated saw blades can be protected against corrosion using a thin layer of acid-free oil. Remove the oil again before sawing as failure to do so will stain the wood.
Resin or glue residue on the saw blade has a detrimental effect on the quality of the cut. You should therefore clean saw blades straight after use.
After-Sales Service and Application Service
Our after-sales service responds to your questions concerning maintenance and repair of your product as well as spare parts. You can find explosion drawings and information on spare parts at: www.bosch-pt.com
The Bosch product use advice team will be happy to help you with any questions about our products and their accessories.
In all correspondence and spare parts orders, please always include the 10‑digit article number given on the nameplate of the product.
- Great Britain
- Robert Bosch Ltd. (B.S.C.)
- P.O. Box 98
- Broadwater Park
- North Orbital Road
- Denham Uxbridge
- UB 9 5HJ
At www.bosch-pt.co.uk you can order spare parts or arrange the collection of a product in need of servicing or repair.
Tel. Service: (0344) 7360109
E-Mail: [email protected]
You can find further service addresses at: www.bosch-pt.com/serviceaddresses
Disposal
The power tool, accessories and packaging should be recycled in an environmentally friendly manner.

Do not dispose of power tools along with household waste.
Only for EU countries:
According to the European Directive 2012/19/EU on Waste Electrical and Electronic Equipment and its implementation into national law, power tools that are no longer usable must be collected separately and disposed of in an environmentally friendly manner.
If disposed incorrectly, waste electrical and electronic equipment may have harmful effects on the environment and human health, due to the potential presence of hazardous substances.
Only for United Kingdom:
According to The Waste Electrical and Electronic Equipment Regulations 2013 (SI 2013/3113) (as amended), products that are no longer usable must be collected separately and disposed of in an environmentally friendly manner.
Instrcutions





| EU Declaration of Conformity Hand-held Article numbercircular saw | We declare under our sole responsibility that the stated products comply with all applicable provisions of the directives and regulations listed below and are in conformity with the following standards.Technical file at: * |
| GKS 190 | 3 601 F23 0.0 | 2006/42/EC 2014/30/EU 2011/65/EU | EN 62841-1:2015 EN 62841-2-5:2014 EN 55014-1:2017+A11:2020 EN 55014-2:2015 EN IEC 61000-3-2:2019 EN 61000-3-3:2013+A1:2019 EN IEC 63000:2018 |
| GKS 190 | 3 601 F23 0.1 | * Robert Bosch Power Tools GmbH (PT/ECS) 70538 Stuttgart GERMANY | |
| Henk Becker Chairman of Executive Management | Helmut Heinzelmann Head of Product Certification![]() | ||
| Robert Bosch Power Tools GmbH, 70538 Stuttgart, GERMANY Stuttgart, 01.10.2020 | |||

Declaration of Conformity
Hand-held circular saw: Article number
GKS 190 3: 601 F23 060 3 601 F23 070
We declare under our sole responsibility that the stated products comply with all applicable provisions of the regulations listed below and are in conformity with the following standards.
Technical file at: Robert Bosch Ltd. (PT/SOP-GB), Broadwater Park, North Orbital Road, Uxbridge UB9 5HJ, United Kingdom
Supply of Machinery (Safety) Regulations 2008
Electromagnetic Compatibility Regulations 2016 The Restriction of the Use of Certain Hazardous Substances in Electrical and Electronic Equipment Regulations 2012
- EN 62841-1:2015
- EN 62841-2-5:2014
- EN 55014-1:2017+A11:2020
- EN 55014-2:2015
- EN IEC 61000-3-2:2019
- EN 61000-3-3:2013+A1:2019
- EN IEC 63000:2018′
Robert Bosch Power Tools GmbH, 70538 Stuttgart, Germany represented (in terms of the above regulations) by Robert Bosch Limited, Broadwater Park, North Orbital Road, Uxbridge UB9 5HJ, United Kingdom
Vonjy Rajakoba
Managing Director – Bosch UK

Martin Sibley
Head of Sales Operations and Aftersales

Robert Bosch Ltd. Broadwater Park, North Orbital Road, Uxbridge UB9 5HJ, United Kingdom, as authorised representative acting on behalf of Robert Bosch Power Tools GmbH, 70538 Stuttgart, Germany
Place of issue: Uxbridge
Date of issue: 27/05/2021

References
Invented for life | Bosch Global
My Blog
Početna strana | Bosch u Srbiji
Skånevik Ølen Kraftlag AS
ЕлектроінÑтрументи Bosch | Bosch Professional
ÐлектроинÑтрументы Bosch | Bosch Professional
Bosch Power Tools | Bosch Power Tools
Select your country | Bosch Power Tools
Електроинструменти на Bosch | Електроинструменти на Bosch
Service worldwide
Elektrické nářadí Bosch | Elektrické nářadí Bosch
Bosch Elektrowerkzeuge und Zubehör | Bosch Elektrowerkzeuge
Bosch el-værktøj | Bosch el-værktøj
Bosch-sähkötyökalut | Bosch-sähkötyökalut
Outillage électroportatif Bosch | Outillage électroportatif Bosch
Ηλεκτρικά εργαλεία Bosch | Ηλεκτρικά εργαλεία Bosch
Bosch elektromos kéziszerszámok | Bosch elektromos kéziszerszámok
Elektronarzędzia Bosch | Elektronarzędzia Bosch
Scule electrice Bosch | Scule electrice Bosch
Bosch električni alati | Bosch električni alati
bosch-pt.ru
Elektrické náradie Bosch | Elektrické náradie Bosch
Invented for life | Bosch Global
Ana Sayfa | Bosch Türkiye
Početna | Bosch u Hrvatskoj
Domov | Bosch v Sloveniji
herramientasbosch.net

















